STIHL KB-MM MultiTool Bristle Brush
MultiSystem
In the STIHL MultiSystem, various MultiEngines and MultiTools are combined to form a machine. In this Instruction Manual, the functional unit of MultiEngine and MultiTool is referred to as a machine. Accordingly, the instruction manuals for the Mul‐tiEngine and the MultiTool constitute the entire Instruction Manual for the machine. Always read both manuals carefully before using your machine for the first time and keep them safe for future reference.
Guide to Using this Manual
Pictograms
All the pictograms attached to the machine are shown and explained in this manual.
Symbols in text
WARNING
Warning where there is a risk of an accident or personal injury or serious damage to property.
NOTICE: Caution where there is a risk of damaging the machine or its individual components.
Engineering improvements
STIHL’s philosophy is to continually improve all of its products. For this reason we may modify the design, engineering and appearance of our products periodically. Therefore, some changes, modifications and improvements may not be covered in this manual
Safety Precautions and Working Techniques
Special safety precautions must be observed when working with the sweeper drum assembly and bristle brush. Always read and make sure you understand both user manuals (Multi‐Engine and MultiTool) before using your power tool for the first time, and keep them in a safe place for future reference. Non-compliance with the user manuals may cause serious or even fatal injury. Lend or rent your power tool only to persons who are familiar with this model and its operation – do not lend or rent your power tool without the Multi‐Engine and MultiTool user manuals. Use the bristle brush only for sweeping areas and paths, including uneven and jointed surface, and natural stone paving. Use the sweeper drum assembly only for sweeping areas and paths, moving wet materials, such as leaves or dirt to a central point, clearing snow and removing standing water from solid surfaces. Safety Precautions and Working Techniques The machine must not be used for any other purposes – the risk of accident! Only use attachments and accessories that are explicitly approved for this power tool model by STIHL or are technically identical. If you have any questions in this respect, consult your dealer. Use only high-quality parts and accessories. in order to avoid the risk of accidents and damage to the machine. STIHL recommends the use of genuine STIHL tools and accessories. They are specifically designed to match the product and meet your performance requirements. The deflector on this power tool cannot protect the operator from all objects thrown by the attachment (stones, glass, wire, etc.). Ejected objects may also ricochet and strike the operator. Never attempt to modify your power tool in any way since this may increase the risk of personal injury. STIHL excludes all liability for personal injury and damage to property caused while using unauthorized attachments. Do not use a high-pressure washer to clean the power tool. The solid jet of water may damage parts of the unit.
Clothing and Equipment
Wear proper protective clothing and equipment. Clothing must be sturdy but allow complete freedom of movement. Wear close-fitting clothes such as a boiler suit, not a loose jacket. Do not wear clothing that could become trapped in wood, brush, or moving parts of the machine. Do not wear a scarf, necktie, or jewelry. Tie up and secure long hair above your shoulders. Wear sturdy shoes with non-slip soles.
WARNING
To reduce the risk of eye injuries, wear close-fitting safety glasses in accordance with European Standard EN 166. Make sure the safety glasses are a snug fit. Wear “personal” sound protection, e.g. ear defenders. Wear sturdy protective gloves made of a resistant material (e. g. leather).STIHL offers a comprehensive range of personal protective equipment.
Transporting the machine
Always stop the engine. Carry your power tool by the handle, attachment in front of you. Do not touch hot parts of the machine – the risk of burn injury! By vehicle: When transporting in a vehicle, prop‐erly secure your machine to prevent turnover, damage and fuel spillage.
Before starting
Check that your power tool is properly assembled and in good condition – refer to the appropriate chapters in the MultiEngine and MultiTool user manuals.
- Sweeping attachments: correctly fitted, secure, and in perfect condition
- Both sweeping attachments must be mounted.
- Both deflector extensions are fitted for a bristle brush.
- Inspect the deflectors for damage and wear. Do not operate the machine with a damaged deflector
- replace damaged parts.
- Never attempt to modify the controls or safety devices.
- Keep the handles dry and clean – free from oil and dirt – this is important for safe control of the machine.
- Swing the bike handle to the normal operating
- position and tighten it down firmly with the rotary knob. See chapter on “Adjusting the Bike Handle” in the MultiEngine user manual.
- The power tool must only be operated when it is in good operating condition – Risk of accident!
- Check the gearbox for the correct position, and adjust if necessary. This helps reduce the risk of injury from the MultiTool rotating in the wrong direction. See also notes on “Mounting the MultiTool”.

If you use sweeping attachments, position the gearbox so that the axle is above the drive shaft. Use this position for:
- KB-MM bristle brush
- KW-MM sweeper drum assembly
Holding and Guiding the Tool
Make sure you always have a firm and secure footing.
Always hold the unit firmly with both hands on the handles. Right hand on the control handle, left hand on grip on the handlebar.
While Working
In the event of impending danger or in an emergency, switch off the engine immediately by moving the slide control / stop switch/button to 0 or STOP.
To reduce the risk of injury from contact with the tool and ejected objects, do not allow any other persons within a radius of 5 meters of your own position. This distance must also be maintained in relation to objects (vehicles, window panes) –the risk of property damage! The correct engine idle speed is important to ensure that the work tool stops moving when you let go of the throttle trigger. Check and correct the idle speed setting at regular intervals. If the attachment still rotates when the engine is idling, have your dealer check your machine and make proper adjustments or repairs – see MultiEngine user manual. To reduce the risk of injury from thrown objects or contact with the attachment, never operate the unit without a properly mounted deflector designed specifically for the unit and the attachments. Always stand behind the deflector or to one side of the machine during operation – never in front of the attachment. Electrostatic charges may build up when working on synthetic surfaces – the risk of electric shock and accidents! Dust, fumes and smoke produced while working may be hazardous to health! If dust levels are high, wear a suitable respirator. To reduce the risk of a dust explosion, spray very dusty surfaces with water before sweeping. Take special care in slippery conditions – damp, snow, ice, on slopes, or on uneven ground.o reduce the risk of accidents or injury, remove all obstacles and objects from the work area. Check the work site – rocks, metal objects, etc. may be caught up and ejected – the risk of injury. Operate your power tool at a normal walking pace only. Be extremely cautious when pulling the power tool towards you because of the risk of injury from contact with the rotating attachment. Make sure you always have a firm and secure footing. Be extremely cautious when changing direction with the power tool – especially on slopes. On slopes, always work parallel to the gradient to reduce the risk of injury from slipping or contact with the attachment. Never work on steep slopes because of the risk of injury through loss of control of the power tool. Special care must be taken when working in overgrown terrain. When clearing leaves, take care not to harm small animals. Be particularly alert and cautious when wearing ear protection because your ability to hear warnings (shouts, alarms, etc.) is impaired. Take breaks when you start getting tired or feeling fatigued – the risk of accidents! Work calmly and carefully – in daylight conditions and only when visibility is good. Proceed with caution, do not put others in danger. If your power tool is subjected to unusually high loads for which it was not designed (e.g. heavy impact or a fall), always check that it is in good condition before continuing work – see also “Before Starting”. Make sure the safety devices are working properly. Never use a power tool that is no longer safe to operate. In case of doubt, contact a dealer. Do not touch the attachment while the engine is running. If the attachment becomes jammed by an obstruction, switch off the engine immediately before attempting to remove the obstruction – otherwise, risk of injury! Opening the throttle while the attachment is blocked increases the load and reduces engine speed. The clutch then slips continuously and this causes overheating and damage to the import tant components (e.g. clutch, polymer housing components) – and this can increase the risk of injury from the attachment moving while the engine is idling. Check the sweeping attachments at regular short intervals during operation or immediately if there is a sudden change in behavior:
- Shut off the engine, hold the machine securely.
- Check condition and proper mounting.
- Replace damaged sweeping attachments immediately.
Clean the attachment and deflector at regular intervals during operation.
- Shut off the engine
- Use gloves
- Remove debris from between the sweeping attachments and from the area around the gearbox and deflector.
To reduce the risk of injury, shut off the engine before changing attachments.
After Finishing Work
After finishing work or before leaving the power tool unattended: Shut off the engine.
Maintenance and Repairs
Service the machine regularly. Do not attempt any maintenance or repair work not described in the MultiTool and MultiEngine instruction manual. Have all other work performed by a servicing dealer? STIHL recommends that you have servicing and repair work carried out exclusively by an authorized STIHL servicing dealer. STIHL dealers are regularly given the opportunity to attend training courses and are supplied with the necessary technical information. Only use high-quality replacement parts in order to avoid the risk of accidents and damage to the power tool. If you have any questions in this respect, consult a servicing dealer. STIHL recommends the use of original STIHL replacement parts. They are specifically designed to match your model and meet your performance requirements. To reduce the risk of injury, always shut off the engine before carrying out any maintenance or repairs or cleaning the machine.
Using the Unit
Sweeping Attachments
MultiTools for sweeping and cleaning are available in 2 versions: KB‑MM bristle brush KW‑MM PowerSweep
Preparations
If the surface to be cleaned is dry, spray it with water to reduce the amount of dust created.
WARNING
Clear away all obstacles and solid objects from the work area.

The MultiEngine with sweeping attachment is operated in the forward direction only. Check the correct position of the gearbox – see “Mounting the MultiTool”.
Bristle Brush
The KB‑MM bristle brush MultiTool is used for cleaning areas and paths, including uneven and jointed surfaces, and natural stone paving.
WARNING
Never work without the properly mounted deflector and two extensions. These devices divert material away from the machine and the operator.
- Secure the handlebar in the normal operating position.
- Starting the Engine
- Push the bristle brush steadily at a normal walking pace.

- Always hold and guide the tool at a shallow angle.
WARNING
The steeper the angle shown above, the more difficult it is to control the tool.
- Guide the bristle brush at right angles to the direction of travel (1). Sweepings are thrown forwards, ahead of the operator.
WARNING
- The bristle brush pushes back towards the operator.
PowerSweep
The KW‑MM PowerSweep MultiTool is used for sweeping areas and paths, moving wet materials, such as leaves or dirt to a central point, clearing snow, and removing standing water from solid surfaces.
- Secure the handlebar in the normal operating position.
- Starting the Engine
- Push the PowerSweep steadily at a normal walking pace.

- Always hold and guide the tool at a shallow angle.
WARNING
The steeper the angle shown above, the more difficult it is to control the tool.
- Guide the PowerSweep at right angles to the direction of travel (1). Sweepings are thrown forwards, ahead of the operator.
WARNING
The bristle brush pushes back towards the operator.
Set of Wheels (Special Accessory)
The set of wheels simplifies the handling of the sweeping attachment – see notes on “Wheels” in the MultiEngine instruction manual.
Cleaning the Sweeping Attachment
Clean away any dirt and debris that has accumulated between the sweeping attachments, around the gearbox, or between the sweeping attachments and the deflector:
- Shut off the engine.
- Pull the hitch pins out of the axle.
- Remove the sweeping attachments from the axle and clean them.
- Clean away dirt and debris from the machine.
Refer to “Mounting the MultiTool” for mounting instructions.
Approved MultiEngines
Only use MultiEngines supplied by STIHL or expressly approved by STIHL for use with the MultiTool. This MultiTool may only be used in combination with the STIHL MM 56 MultiEngine.
Mounting the MultiTool
Removing Existing MultiTools
WARNING
Wear gloves – the risk of injury from sharp-pointed MultiTools and/or hot gearbox surfaces.
- Remove the hitch pins and pull the MultiTools (if fitted) off the axle – see also “Installing the MultiTool” in the User Manual of the other Mul‐tiTool.
- Clean the gearbox if necessary
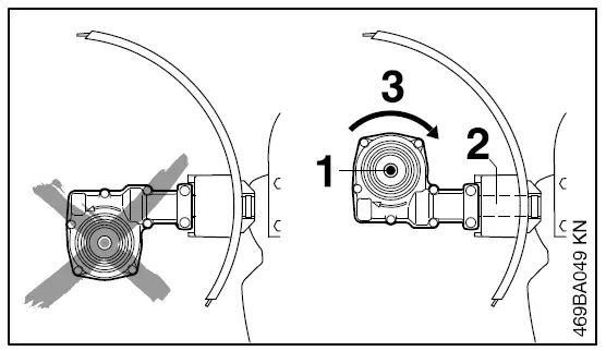
Checking Position of Gearbox
WARNING
Check and potentially adjust the gearbox position – the risk of injury by the MultiTool rotating in the wrong direction! The axle (1) must be above the shaft (2). The direction of rotation (3) of MultiTool.
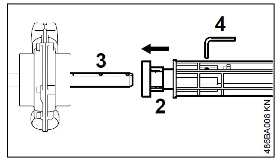
Adjusting Position of Gearbox
- Loosen clamp screws on the gearbox.
- Turn the gearbox 180°.
- Line up the gearbox in the correct position
- Tighten the two clamping screws as illustrated in the diagram below:
- Tighten the first screw slightly
- Tighten the second screw slightly
- Tighten the first screw securely
- Tighten the second screw securely
NOTICE
It must not be possible to rotate the gearbox on the shaft.
Installing the MultiTool
- Push the grass shield (1) onto the axle (2) as far as the limit stop
- Push the axle (2) onto the drive shaft (3) as far as the limit stop

- Insert and engage the pin (4) in the axle and through the drive shaft
Installing the Bristle Brushes
- Push the bristle brush (5) onto the axle (2)
- Insert the hitch pin (6) in the hole at the end of the axle and fold it flat
- Use the same procedure to install the other bristle brush
WARNING
Always install both bristle brushes!
Installing the Sweeper Drum Assembly
- Push the sweeper drum assembly (5) onto the axle (2) – as shown
- Insert the hitch pin (6) in the hole at the end of the axle and fold it flat
- Use the same procedure to install the other sweeper drum assembly
WARNING
Always install both sweeper drum assemblies!
Deflector Extensions
Deflector extensions come standard with the bristle brush and are available as special accessories for the sweeper drum assembly.
The left and right deflector extensions are different.
Installing the Deflector Extensions
- Slide the right-hand extension onto the deflector, push it up to the limit stop at the top and bottom and engage the tab (1).
- Slide the left-hand extension onto the deflector, push up to the limit stop at the top and bottom and engage the tab (1).
Removing the Deflector Extensions
Use the combination wrench to disengage the tabs (1) and then pull off the extensions.
Starting / Stopping the
Starting the Engine
Always follow the starting procedure described in the MultiEngine instruction manual.
- Secure the handlebar in the normal operating position.
- Retract the wheels, if fitted – see chapter on “Wheels” in MultiEngine instruction manual.
- Retract the spur, if fitted.
- Check that the MultiTool is not touching the ground or any other obstacles. The unit must rest on the engine flange and the support on the frame.
- Make sure you have good balance and secure footing – as shown in the illustration.
WARNING
To reduce the risk of injury from contact with the rotating attachment, always stand to the side of the power tool, never in front of the attachment.
- With your left hand on the loop handle, press the unit firmly against the ground – do not touch the throttle trigger or lockout lever.
NOTICE
Do not stand or kneel on the handlebar or frame.
WARNING
The attachment may begin to move as soon as the engine starts. For this reason, blip the throttle after starting – the engine returns to idling speed.Now follow the starting procedure described in the MultiEngine instruction manual.
Stopping the Engine
- See MultiEngine instruction manual.
Storing the Machine
For periods of about 30 days or longer
- Remove, clean and inspect the sweeping attachments and deflector extensions (if fitted).
- Store the machine in a dry and secure location Keep out of the reach of children and other unauthorized persons
Maintenance and Care
The following intervals apply to normal operating conditions only. If your daily working time is longer or operating conditions are difficult (very dusty work area, etc.), shorten the specified intervals accordingly.
All accessible screws and nuts
- Retighten if necessary Sweeping attachments and deflectors
- Visual inspection, check tightness before starting work and after every refueling stop
- Replace if damaged Safety labels
- Replace illegible safety labels
Minimize Wear and Avoid Damage
Observing the instructions in this manual and the MultiEngine manual helps reduce the risk of unnecessary wear and damage to the power tool. The power tool must be operated, maintained, and stored with the due care and attention described in these instruction manuals. The user is responsible for all damage caused by non-observance of the safety precautions operating and maintenance instructions. This includes in particular:
- Alterations or modifications to the product not approved by STIHL.
- Using tools or accessories which are neither approved or suitable for the product or are of poor quality.
- Using the product for purposes for which it was not designed.
- Using the product for sports or competitive events.
- Consequential damage is caused by continuing to use the product with defective components.
Maintenance Work
All the operations described in the chapter on “Maintenance and Care” must be performed on a regular basis. If these maintenance operations cannot be performed by the owner, they should be performed by a servicing dealer. STIHL recommends that you have servicing and repair work carried out exclusively by an authorized STIHL servicing dealer. STIHL dealers are regularly given the opportunity to attend training courses and are supplied with the necessary technical information. If these maintenance operations are not carried out as specified, the user assumes responsibility for any damage that may occur. Among other parts, this includes:
- Corrosion and other consequential damage resulting from improper storage.
- Damage to the product resulting from the use of poor quality replacement parts.
Parts Subject to Wear and Tear
Some parts of the power tool are subject to normal wear and tear even during regular operation in accordance with instructions and, depending on the type and duration of use, have to be replaced in good time. Among other parts, this includes:
- Sweeping attachment (sweeper belts, roller brushes)
- Deflector, deflector extensions (standard with a bristle brush, special accessory for Power‐Sweep)
Main Parts
Bristle Brush, Sweeper Drum Assembly
- Shield
- Axle
- Hitch pin
- Right-hand deflector extension (standard with bristle brush, special accessory for Sweeper Drum Assembly)
- Left-hand deflector extension (standard with bristle brush, special accessory for Sweeper Drum Assembly)
Bristle brush - Brush roller
Sweeper drum assembly - Sweeper drum assembly with sweeper belt
Specifications
Attachment
KB‑MM
Two roller brushes
- Diameter: 250 mm
- Working width: 600 mm
KW‑MM
Two sweeping drums
- Diameter: 270 mm
- Working width: 600 mm
Weight
MultiTool complete with axle and grass shield
- KB‑MM with deflector extensions:4.2 kg
- KW‑MM: 3.9 kg
Maintenance and Repairs
Users of this machine may only carry out the maintenance and service work described in this user manual. All other repairs must be carried out by a servicing dealer. STIHL recommends that you have servicing and repair work carried out exclusively by an authorized STIHL servicing dealer. STIHL dealers are regularly given the opportunity to attend training courses and are supplied with the necessary technical information. When repairing the machine, only use replacement parts that have been approved by STIHL for this power tool or are technically identical. Only use high-quality replacement parts in order to avoid the risk of accidents and damage to the machine. STIHL recommends the use of original STIHL replacement parts. Original STIHL parts can be identified by the STIHL part number, the { logo, and the STIHL parts symbol K (the symbol may appear alone on small parts).
Disposal
Contact the local authorities or your STIHL servicing dealer for information on disposal. Improper disposal can be harmful to health and pollute the environment.
- Take STIHL products including packaging to a suitable collection point for recycling in accordance with local regulations.
- Do not dispose with domestic waste.
STIHL KB-MM MultiTool Bristle Brush


















