MS 151 TC Lightest Arborist Saw
Instruction Manual

Guide to Using this Manual
This STIHL MS 151 refers to a STIHL chain saw, also called a machine in this Instruction Manual.
1.1Pictograms
Pictograms that appear on the machine are explained in this Instruction Manual. Depending on the machine and equipment ver‐ sion, the following pictograms may appear n the machine.
| Fuel tank; fuel mixture of gasoline and engine oil | |
| Tank for chain oil; chain oil | |
| Engage and release chain brake | |
| Coasting brake | |
| Direction of chain travel | |
| Ematic; chain oil flow adjustment | |
| Tension saw chain | |
| Intake air baffle: winter operation | |
| Intake air baffle: summer operation | |
| Handle heating | |
| Actuate decompression valve | |
| Actuate manual fuel pump |
1.2 Symbols in text
WARNING
Warning where there is a risk of an accident or personal injury or serious damage to property.
NOTICE
Caution where there is a risk of damaging the machine or its individual components.
1.3 Engineering improvements
STIHL’s philosophy is to continually improve all of its products. For this reason we may modify the design, engineering and appearance of our products periodically. Therefore, some changes, modifications and improvements may not be covered in this manual.
Safety Precautions
This special chain saw shall be used only by persons who are trained in special cutting and working techniques.
Due to the special handle design (closely spaced handles) there is an increased risk of injury using this kind of saw (cut injuries due to uncontrol‐ led reactive forces of the ain saw). Special safety precautions must be observed to reduce the risk of personal injury when working with a chainsaw because of the very high chain speed and very harp cutters.
It is important that you read the instruction manual before first use and keep it in a safe place for future reference. Non-observance of the instruction manual may result in erious or even fatal injury.
2.1 General
Observe all applicable local safety regulations, standards and ordinances. The use of noise emitting power tools may be restricted to certain times by national or local regulations. If you have not used this model before: Have your dealer or other experienced user show you how to operate your machine or attend a special course in its operation. Minors should never be allowed to use a chain‐ saw. Exceptions to this rule are young persons older than 16 who have been trained in special cutting techniques with the tree surgery saw. Keep bystanders, especially children, and animals away from the work area. The user is responsible for avoiding injury to third parties or damage to their property. Do not lend or rent your chain saw without the instruction manual. All users must be specially trained in tree surgery work with a tree surgery saw and be familiar with this model and its operation. To operate a chain saw you must be rested, in good physical condition and mental health. If you have any condition that might be aggravated by strenuous work, check with your doctor before operating a chainsaw. Do not operate the chain saw if you are under the influence of any substance (drugs, alcohol) which might impair vision, dexterity or judgment. To reduce the risk of accidents or injury, put off the work in poor weather conditions (rain, snow, ice, wind). Persons with pacemakers only: The ignition system of your chainsaw produces an electromagnetic field of a very low intensity. This field may interfere with some pacemakers. To reduce health risks, STIHL recommends that persons with pacemakers consult their physician and the pacemaker manufacturer before operating this power tool.
2.2 Intended Use
Tree surgery chainsaws are special chainsaws with a handle on the top especially for tree sur‐ gery and cutting tasks in the crowns of living trees. Tree maintenance tasks may only be carried out with appropriate safeguards (e. g. lift bucket, per‐ sonal protective equipment, fall arrest system). The chainsaw may be used for cutting wood and wooden objects only. The ring serves to secure the chainsaw on a chainsaw stop featuring overload protection and to transport the saw into the tree at the strap or using a rope. Do not the chainsaw for any other purpose – risk of accidents! They are not for typical tree felling or cutting fire‐ wood. Conventional chainsaws with wider spaced handles must be used for these tasks. Never attempt to modify your chainsaw in any way since this may increase the risk of personal injury. STIHL excludes all liability for personal injury and damage to property caused while using unauthorized attachments. This chainsaw is designed for tree maintenance work, e.g. pruning small branches. It is therefore equipped as standard without the spiked bumper. A spiked bumper (available as special accessory) may be mounted if required.
2.3 Clothing and Equipment
Wear proper protective clothing and equipment. Clothing must be sturdy and snug-fit‐ ting, but allow complete freedom of movement. Wear snug-fitting clothing with cut-retardant pads for feet, legs, hands and forearms – an overall, not a loose-fitting jacket. Avoid clothing that could get caught on branches, brush or moving parts of the machine. Do not wear a scarf, necktie or jeweler . Tie up and confine long hair (headscarf, cap, hard hat, etc.).
Wear suitable safety shoes – with cu retardant material, non-slip soles and steel toe caps.
WARNING
To reduce the risk of eye injuries, wear tight-fitting safety goggles con‐ forming to standard EN 166. Make sure that the safety goggles fit correctly. Wear a face shield and make sure it fits correctly. Wear “personal” hearing protection – for example, ear defenders. Wear a hard hat with a chin strap wherever there is any risk of falling objects.
Wear sturdy protective gloves made of a resistant material (e.g. leather) – with cut-retardant material.
STIHL can supply a comprehensive range of personal protective clothing and equipment. Use a personal fall arrest system. Use only certified equipment that is suitable for the application concerned. Check the condition of the equipment before use and replace broken parts.
2.4 Transporting
Always stop the engine, engage the chain brake and fit the chain guard (scabbard) before carry‐ ing the saw short distances. This avoids the risk of the chain running unintentionally.

Always carry the saw by the control handle – with the hot muffler away from your body – the guide bar must point to the rear. To reduce the risk of serious burn injuries, void touching hot parts of the machine, especially the surface of the muffler. In vehicles: Properly secure your saw to prevent turnover, fuel spillage and damage.
2.5 Cleaning
Clean plastic parts with a cloth. Harsh detergents can damage the plastic. Clean the dust and dirt off the machine – do not use any grease solvents for this purpose. Clean the ventilation slots if necessary. Do not use a high-pressure cleaner to clean the machine. The hard jet of water can damage parts of the machine.
2.6 Accessories
Only use those tools, guide bars, chains, chain sprockets, accessories or technically equivalent components that have been approved by STIHL for this machine. If you have any questions in this respect, consult a servicing dealer. Use only high quality tools and accessories. Otherwise, there may be a risk of accidents and damage to the machine. STIHL recommends the use of genuine STIHL tools, guide bars, chains, chain sprockets and accessories. They are specifically designed to match your model and meet your performance requirements.
2.7 Refueling
Gasoline is an extremely flammable fuel – keep clear of naked flames and fire – do not spill any fuel – no smock‐ ing. Switch off the engine before refueling. Never refuel the machine while the engine is still hot – the fuel may spill over – risk of fire! Open the fuel filler cap carefully so that any excess pressure is relieved gradually and fuel does not splash out. The machine may only be refueled in a well vend‐ dilated place. Clean the machine immediately if fuel is spilled. Do not spill fuel over your clothing – contaminated clothing must be changed mimed‐ daintily.
The machines can be equipped with the following filler caps as standard: Clip lock filler cap (bayonet-type)
Place the clip lock filler cap (bayou neotype) in position, turn as far as stop and fold the clip lock down.
This helps reduce the risk of unit vibrations causing an incorrectly tightened filler cap to loosen or come off and spill quantities of fuel.
Look out for leaks! Never start the engine if fuel has been spilled or is leaking – Fatal burns may result!
2.8Before Starting Work
Check that your chainsaw is properly assembled and in good condition
- refer to appropriate chapters in the User Manual.
- Check the fuel system for leaks, paying special attention to visible parts such as the fuel cap, hose connections and the manual fuel pump (on chainsaws with manual fuel pump). Do not start the engine if there are leaks or damage
- risk of fire! Have your chainsaw repaired by an authorized dealer before using it again.
- Functional chain brake, front hand guard
- Correctly mounted guide bar Correctly tensioned saw chain
- Ring is not damaged
- Throttle trigger and throttle trigger lockout must move easily
- throttle trigger must return to initial position when released
- Master control lever can be easily set to STOP, 0 or Check that the spark plug boot is secure – a loose boot may cause sparking that could ignite combustible fumes and cause a fire!
- Never attempt to modify the controls or safety devices.
- Keep the handles dry and clean – free from oil and dirt important for safely guiding the chainsaw.
- Use chainsaw with an undamaged ring
- Make sure there is sufficient fuel and chain lubricant in the tanks Exclusively use the chainsaw in a safe condition
- risk of accident!
2.9 Starting the Saw
Start the saw on level ground only. Make sure you have a firm footing. Hold the saw firmly. To reduce the risk of injury from the rotating chain, English check that the cutting attachment is not touching any object or the ground . The chainsaw is a one-person saw. Do not allow other persons in the work area – even when starting. Do not attempt to start the saw when the saw chain is in a cut. Starting the saw in a tree is very dangerous since the user may lose control of the machine – risk of injury. The tree surgery saw should be checked, fueled, started and warmed up by an assistant on the ground before it is transported up to the operator in the tree. Start the engine at least 3 meters from the fueling spot, outdoors only. To reduce risk of chain rotation and personal injury, lock the chain with the chain brake before starting. Do not drop start the power tool – start the engine as described in the instruction manual.
2.10 While Working
When working in a tree, always secure the tree surgery chainsaw with a rope (tie to hinged ring) and attach it to the lifeline. Always engage the chain brake before releasing the chainsaw and allowing it to hang on the rope. Secure chainsaw with a chainsaw stop installed using the ring. Chainsaw stop must be equipped with overload protection. Suitable accessories are available from authorized dealers

Hold chainsaw with both hands – increased risk of accident: right hand on control handle – even if you are left-handed. To ensure safe control, wrap your fingers tightly around both handles.
One-handed operation is particularly dangerous, e.g. when cutting dry, knotty and dead wood, the chain may not enter the cut properly.
The resultant reactive forces may cause the saw to skate or bounce on the limb and slide out of control. Increased risk of kickback – risk of fatal injury!
Use the tree surgery chainsaw with one hand only:
- if two-handed cutting is not possible and
- if one hand is required for support during the cut and
- if the chainsaw is held firmly and
- if all parts of your body are clear of the extended swiveling range of the chainsaw.
During one-handed cutting:
- never support yourself on the limb being cut – never cut with the bar nose
- Do not try to hold falling branches Make sure you always have a firm and secure footing.
Take special care when the bark is wet – danger of slipping!
In the event of impending danger or in an emergency, switch off the engine immediately by mov‐ ing the master control lever/stop switch to STOP0 or † .
Do not let the chainsaw run unattended. Exercise caution with slippery surfaces, water, snow, ice, steep slopes, uneven ground or green wood that has just been stripped of its bark – danger of slipping! Exercise caution with tree stumps, roots and ditches – tripping hazard! Do not work alone – keep within calling distance of others who are trained in emergency proce‐ dures and can provide help in an emergency.
Helpers at the cutting site must also wear protec‐ tive clothing (hard hat) and stand well clear of the branches being cut. Be particularly alert and cautious when wearing hearing protection because your ability to hear warnings (shouts, alarms, etc.) is restricted. Take breaks when you start getting tired or feel‐ ing fatigue – risk of accidents!
Dust (e. g., sawdust), fumes and smoke produced while using the machine may be hazard‐ ous to health. Wear a dust mask in case of dust production.
When the engine is running:
Note that the saw chain continues to rotate for a short period after you let go of the throttle trigger – coasting effect. No smoking when working with or near the chainsaw – risk of fire! Combustible fuel vapor may escape from the fuel system. Check the saw chain at regular short intervals during operation or immediately if there is a noticeable change in cutting behavior:
- Shut off the engine and wait until the saw chain comes to a complete standstill.
- Check condition and proper mounting.
- Ensure that the cutting blades are sharp Do not touch the saw chain while the engine is running. If the saw chain becomes jammed by an obstruction, switch off the engine immediately before attempting to remove the obstruction
- risk of injury.
Always turn off the engine before leaving the chainsaw unattended. Switch off the engine to change the saw chain. Risk of injury from the motor starting unintentional ally! Keep highly flammable materials (e. g. wood chips, bark, dry grass, fuel) away from hot exhaust gases and hot mufflers – risk of fire! Mufflers with catalytic converters can become especially hot.
Never work without chain lubrication monitor the oil level in the oil tank.
Stop work immediately if the oil level in the oil tank is too low and top up with chain oil see also “Topping up with chain oil” and “Checking chain lubricant”. If the chainsaw is subjected to unusually high loads for which it was not designed (e. g. heavy impact or a fall), always check that it is in good condition before continuing work – see also “Before starting work”.
Check in particular that the fuel system has no leaks and the safety equipment is fully operative. Do not continue using a chainsaw that is not in perfect working order. In case of doubt, contact a dealer.
Make sure the idle speed setting is correct. The saw chain must not run when the engine is idling with the throttle trigger released. Check and correct the idle speed setting at regular intervals. If the saw chain still moves, have your dealer check your machine and make proper adjustments or repairs.
Safety Precautions
The chain saw produces poisonous exhaust gases as soon as the engine starts. These gases may be colorless and odorless and may contain unburnt hydrocarbons and benzene. Never work with the machine indoors or in poorly ventilated areas, even if your machine is equipped with a cata‐ lytic converter.
Ensure proper ventilation when working in trenches, hollows or other confined locations – risk of fatal injury from breathing toxic fumes! If you feel sick, have a headache, vision problems (e. g., your field of vision gets smaller), hearing problems, dizziness or inability to concentrate, stop work immediately. Such symptoms may be caused by an excessively high concentration of exhaust emissions – risk of accident! Know more about STIHE Click
2.11 After finishing work
Switch off the motor, engage the chain brake and attach the chain scabbard.
2.12 Storage
When the machine is not in use, it should be stored in such a way that no-one is endangered. Secure the machine against unauthorized use. Store the machine in a safe, dry room.
2.13 Vibrations
Prolonged use of the power tool may result in vibration-induced circulation problems in the hands (whitefinger disease). No general recommendation can be given for the length of usage because it depends on several factors. The period of usage is prolonged by:
- Hand protection (wearing warm gloves)
- Work breaks The period of usage is shortened by:
- Any personal tendency to suffer from poor circulation (symptoms: frequently cold fingers, tingling sensations).
- Low outside temperatures.
- The force with which the handles are held (a tight grip restricts circulation). Continual and regular users should monitor closely the condition of their hands and fingers. If any of the above symptoms appear (e.g. tingling sensation in fingers), seek medical advice.
2.14 Maintenance and repairs
Always switch off the engine before any repair, cleaning or maintenance work and any work on the chain. Risk of injury if the engine starts inadvertently! Exception: adjustment of carburetor and idle speed. The machine must be serviced regularly. Do not attempt any maintenance or repair work not described in the Instruction Manual. All other work should be carried out by a servicing dealer. STIHL recommends that maintenance and repair work be carried out only by authorized STIHL dealers. STIHL dealers receive regular training and are supplied with technical information. Use only high-quality spare parts. Otherwise, there may be a risk of accidents and damage to the machine. If you have any questions in this respect, consult a servicing dealer. Do not modify the machine in any way – this may increase the risk of personal injury –risk of accidents! To reduce the risk of fire due to ignition outside the cylinder, move the master control level to STOP, 0 or † before turning the engine over on the starter when the spark plug boot is removed or the spark plug is unscrewed! Do not service or store the machine near a naked flame – risk of fire due to the fuel. Check fuel cap regularly for tightness. Use only spark plugs that are in perfect condition and have been approved by STIHL – see “Specifications”. Check ignition lead (insulation in good condition, secure connection). Check that the muffler is in perfect working condition. Do not use the machine if the muffler is damaged or missing – risk of fire, damage to hearing! Never touch a hot muffler – risk of burns! The condition of the anti-vibration elements influences vibration behavior – inspect anti-vibration elements periodically. Inspect chain catcher replace if damaged.
Switch off the engine
- To check the chain tension
- To retention the chain
- To replace the chain
- For remedying malfunctions
Observe sharpening instructions – for safe and proper handling, always keep the chain and guide bar in flawless condition. Keep the chain properly sharpened, tensioned and well lubricated. Change chain, guide bar and chain sprocket in due time. Regularly check that the clutch drum is in perfect working condition. Always store fuel and chain lubricant only in the specified type of containers and ensure they are correctly labelled. Store in a dry, cool and secure place protected against light and sunlight. In the event of a chain brake malfunction, switch off the machine immediately – risk of injury! Con‐ sult a servicing dealer – do not use the machine until the malfunction has been remedied, see “Chain brake”.
Reactive Forces
The most common reactive forces that occur during cutting are: kickback, pushback and pull-in.
3.1Dangers of kickback
Kickback can result in serious or fatal injury.
![]()
(Kickback) occurs when the saw is suddenly thrown up and back in an uncontrolled arc towards the operator.
3.2 Kickback occurs if, e. g.,
– when the upper quadrant of the bar nose unintentionally contacts wood or another solid object, e.g. when another limb is touched accidentally during lambing.
– when the chain at the nose of the guide bar is pinched in the cut.
3.3 Quickstep chain brake:
This device reduces the risk of injury in certain situations – it cannot prevent kickback. When activated, the chain brake stops the saw chain within a fraction of a second
– see the section “Saw chain” in this Instruction Manual.
3.4 To reduce the risk of kickback
- Work cautiously and avoid situations which could cause kickback.
- Hold the saw firmly with both hands and main tain a secure grip.
- always cut at full throttle.
- Be aware of the location of the guide bar nose at all times. – do not cut with the bar nose.
- Take special care with small, tough limbs, they may catch the chain.
- never cut several limbs at once.
- do not overreach.
- never cut above shoulder height.
- Use extreme caution when re-entering a previous cut.
- Do not attempt plunge cuts if you are nonexperience in this cutting technique.
- be alert for shifting of the log or other forces that may cause the cut to close and pinch the chain.
- always cut with a correctly sharpened, prop‐ erly tensioned chain – the depth gauge setting must not be too large.
- Use a low kickback chain and a narrow radius guide bar.
3.5 Pull-in (A)

Pull-in may occur when the chain on the bottom of the bar is suddenly pinched, caught or encounters a foreign object in the wood. The reaction of the chain pulls the saw forward – STIHL recommends retrofitting the spiked bumper when working on impervious wood and thus to securely engage the motor saw.
3.6 Pushback (B)

Pushback occurs when the Hain on the top of the bar is suddenly pinched, caught or encounters a foreign object in the wood. The reaction of the chain drives the saw straight back toward the operator – to avoid this risk:
- Be alert to situations that may cause the top of the guide bar to be pinched
- Do not twist the guide bar in the cut
Working Techniques
4.1 Sawing
Do not operate your saw in the starting throttle position. Engine speed cannot be controlled with the throttle trigger in this position. Work calmly and carefully – in daylight conditions and only when visibility is good. Ensure you do not endanger others – stay alert at all times. Use the shortest possible guide ar: The chain, guide bar and chain sprocket must match each other and your saw.

Position the saw so that your body is clear of the cutting attachment.

If conditions allow, work from a lift bucket. Never work on a ladder or on any other insecure support, do not work above shoulder height. Cordon off the work area in order to reduce the risk of injuries and damage to bystanders or property (e. g. motor vehicles) from falling branches. When working with a lifeline there is a risk of cut‐ ting through the rope – to reduce the risk of fall injuries, always use double lifelines.
Take special care when cutting through a limb. Hold the machine firmly to control and counteract the feed force. At the end of the cut, the chain saw is no longer supported by the cutting attachment in the cut.
You have to take the full weight of the chainsaw since it might otherwise go out of control!
Make sure your saw does not touch any foreign materials: Stones, nails, etc. may be flung off and damage the saw chain.
The chain saw may kick back unexpectedly – risk of accident! If a rotating saw chain hits a stone or another hard object, sparks may be generated which may ignite easily flammable materials under certain conditions. Also dried-out plants and brushwood are combustible, above all in hot and dry weather. If there is a risk of fire, do not use the chain saw in the vicinity of easily combustible materials, dry plants or scrub. It is mandatory that you ask the responsible forestry office about the current fire hazard.
Caution! To avoid risk of electrocution, take extra precautions when cut‐ ting near power lines. Have the power switched off before starting cutting work in the immediate vicinity of power lines.
Do not underbacks freely hanging limbs because the chain may get pinched and cause kickback and loss of control. Be careful when cutting scrub and young trees. Thin shoots can be scooped up by the chain saw and hurled towards the user. Be careful when cutting splintered wood – Risk of injury from ejected pieces of wood! After finishing a cut, activate the chain brake to lock the chain or shut down the engine before moving the saw to another position in the tree. Cutting techniques: Begin cutting with the chain saw at full throttle. Always pull the saw out of the cut with the chain running. – Cut straight through thin limbs – In case of thick limbs, first perform relieving cut from below (approx. 1/5 of diameter), then buck from above
- Support and secure heavy branches with ropes. If the saw gets pinched in the cut:
- Shut off the engine and secure the saw to the tree
- in direction of trunk.
- Carefully free the saw from the cut, using another saw if necessary.
Limbs under tension:

► Always start relieving cut (1) at compression side (A)
► Then make bucking cut (2) at the tension side (B) into the direction of the log – other‐ wise the chain saw may pinch or kick back If not otherwise possible, make the ducking cut from the bottom upwards (underback) – be wary of pushback.
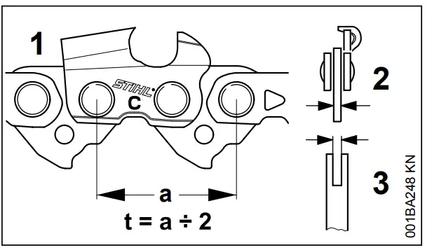
Cutting Attachment
A cutting attachment consists of the saw chain, guide bar and chain sprocket. The cutting attachment that comes standard is signed to exactly match the chain saw.

- The pitch (t) of the saw chain (1), chain sprocket and the nose sprocket of the Dolomitic guide bar must match.
- The drive link gauge (2) of the saw chain (1) must match the groove width of the guide bar (3). If non-matching components are used, the cut‐ ting attachment may be damaged beyond repair after a short period of operation.
5.1 Chain Scabbard

Your saw comes standard with a chain scabbard that matches the cutting attachment. If guide bars of different lengths are mounted to the saw, always use a chain scabbard of he correct length which covers the complete guide bar.
The length of the matching guide bars is marked on the side of the chain scabbard.
Mounting the Bar and Chain
6.1 Disengage the chain brake.

► Pull the hand guard towards the front handle until there is an audible click – the chain brake is disengaged.
6.2 Removing the chain sprocket cover

► Unscrew the nut (1) and remove the chain sprocket cover (2)
6.3 Mounting the Guide Bar

► Turn the screw (1) to the left until the tensioner slide (2) butts against the left end of the housing slot

► Fit the guide bar over the stud (3) and engage the peg of the tensioner slide in the hole (4).
6.4 Fitting the saw chain
WARNING
Wear work gloves to protect your hands from the sharp cutters.

► Fit chain around the sprocket (1) and over the guide bar – the cutting edges on top of the bar must point to the bar nose.

► Turn the screw (2) clockwise until there is very little chain sag on the underside of the bar – and the drive link tangs are engaged in the bar groove.

► Refit the sprocket cover – the pivot pin on the hand guard must engage the guard on the engine housing – and then screw the nut onto the stud fingerite.
► Go to chapter “Tensioning the Chain”
Tensioning the Saw Chain (side chain tensioner)

Retensioning during cutting work:
► Shut down the engine.
► Loosen the nut.
► Hold the bar nose up.
► Use a screwdriver to turn the tensioning screw (1) clockwise until the chain fits snugly against the underside of the bar.
► While still holding the bar nose up, tighten down the nut firmly.
► Go to “Checking Chain Tension”.
A new chain has to be pretensioner more often than one that has been in use for some time.
► Check chain tension frequently – see chapter on “Operating Instructions”.
Checking Chain Tension

► Shut down the engine.
► Wear work gloves to protect your hands.
► The chain must fit snugly against the underside of the bar and it must still be possible to pull the chain along the bar by hand when the chain brake is released.
► If necessary, retention the chain.
A new chain has to be pretensioner more often than one that has been in use for some time.
► Check chain tension frequently – see chapter on “Operating Instructions”.
Fuel
The engine requires a mixture of gasoline and engine oil.
WARNING
Avoid direct skin contact with fuel and breathing in of gasoline fumes.
9.1 STIHL Moto Mix
STIHL recommends using STIHL Moto Mix. This pre-blended fuel is free of benzene and lead, is distinguished by a high octane rating, and always provides the proper mixing ratio.
STIHL Moto Mix uses STIHL HP Ultra two-stroke engine oil for optimum engine life.
Moto Mix is not available in all markets.
9.2 Mixing fuel
NOTICE
Unsuitable fuels or a mixing ratio that deviates from the specification can lead to severe engine damage. The engine, seals, fuel lines and fuel tank may be damaged if low-quality gasoline or engine oil is used.
9.2.1 Gasoline
Use only high-quality gasoline with an octane rating of at least 90 ROC – leaded or unleaded.
Gasoline with an alcohol component exceeding 10% can cause impaired engine performance in engines with manually adjustable carburetors and thus should not be used in these engines.
Engines with M-Tronic deliver full engine performance using gasoline with an alcohol component of up to 27% (E27).
9.2.2 Engine oil
If you mix the fuel yourself, use only STIHL twostroke engine oil or another high-performance engine oil classified as JASO FB, JASO FC, JASO FD, ISO-L-EGB, ISO-L-EGC or ISO-LEGD.
STIHL specifies STIHL HP Ultra two-stroke engine oil or an equivalent high-performance engine oil in order to maintain emission limits over the machine’s service life.
9.2.3 Mixing ratio
with STIHL two-stroke engine oil 1:50; 1:50 = 1 part oil + 50 parts gasoline
9.2.4 Examples
| Quantity of gasoline | STIHL two-stroke engine oil 1:50 | |
| Liters | Liters | (ml) |
| 1 | 0.02 | -20 |
| 5 | 0.1 | -100 |
| 10 | 0.2 | -200 |
| 15 | 0.3 | -300 |
| 20 | 0.4 | -400 |
| 25 | 0.5 | -500 |
► Pour oil into an approved safety fuel canister first, then add gasoline and mix thoroughly
9.3 Storing fuel mixture
Store in approved safety fuel canisters only in a dry, cool and secure place protected against light and sunlight.
Fuel mixture deteriorates with age – mix only as much as needed for a few weeks. Do not store fuel mixture for longer than 30 days. The fuel mixture can become unusable more quickly if exposed to light, sunlight or low or high temperatures.
STIHL Moto Mix however can be stored for up to 5 years without any problems.
► Shake the canister containing the fuel mixture thoroughly before refueling
WARNING
Pressure may have built up in the canister open it carefully.
► The fuel tank and the canister in which fuel mixture is stored should be cleaned thoroughly from time to time
Residual fuel and the liquid used for cleaning must be disposed of in accordance with regulations and without harming the environment!
Fueling
10.1 Preparations

► Before fueling, clean the filler cap and the area around it to ensure that no dirt falls into the fuel tank.
► Position the machine so that the filler cap faces up.
10.2 Opening

► Raise grip to vertical position.

► Turn the cap counterclockwise (about a quarter turn).

Marks on tank cap and fuel tank must line up.

► Remove the tank cap.
10.3 Filling Up with Fuel
Take care not to spill fuel while fueling and do not overfill the tank.
STIHL recommends you use the STIHL filler nozzle for fuel (special accessory).
► Fill the fuel tank.
10.4 Closing

Grip must be vertical:
► Fit the cap – marks on tank cap and fuel tank must line up.
► Press the cap down as far as stop.

► While holding the cap depressed, turn it clockwise until it engages in position.

The marks on the tank cap and fuel tank are then in alignment.

► Fold the grip down.

Tank cap is locked.
10.5 If the tank cap cannot be locked in the fuel tank opening
Bottom of cap is twisted in relation to top.
► Remove the cap from the fuel tank and check it from above.

| Left: | Bottom of cap is twisted – inner mark (1) in line with outer mark. |
| Right: | Bottom of cap in correct position –inner mark is under the grip. It is not in line with the outer mark. |

► Place the cap on the opening and rotate it counterclockwise until it engages the filler neck.
► Continue rotating the cap counterclockwise (about a quarter turn) – this causes the bottom of the cap to be turned to the correct position.
► Turn the cap clockwise and lock it in position – see section on “Closing”.
Chain Lubricant
For automatic and reliable lubrication of the chain and guide bar – use only an environmentally compatible quality chain and bar lubricant. Rapidly biodegradable STIHL Bioplays is recommended.
NOTICE
Biological chain oil must be resistant to aging (e.g. STIHL Bioplays), since it will otherwise quickly turn to resin. This results in hard deposits that are difficult to remove, especially in the area of the chain drive and chain. It may even cause the oil pump to seize.
The service life of the chain and guide bar depends on the quality of the lubricant. It is therefore essential to use only a specially formulated chain lubricant.
WARNING
Do not use waste oil. Renewed contact with waste oil can cause skin cancer. Moreover, waste oil is environmentally harmful.
NOTICE
Waste oil does not have the necessary lubricating properties and is unsuitable for chain lubrication.
Filling Chain Oil Tank
12.1 Preparations

► Thoroughly clean the oil filler cap and the area around it to ensure that no dirt falls into the tank.
► Position the machine so that the filler cap faces up.
► Open the filler cap.
12.2 Filling up with chain oil
► Refill the chain oil tank every time you refuel.
Take care not to spill chain oil while refilling and do not overfill the tank.
STIHL recommends you use the STIHL filler nozzle for chain oil (special accessory).
► Closing the Tank Cap
There must still be a small amount of oil in the oil tank when the fuel tank is empty.
If the oil level in the tank does not go down, the reason may be a fault in the oil supply system:
Check chain lubrication, clean the oilways, contact your dealer for assistance if necessary STIHL recommends that you have servicing and repair work carried out exclusively by an authorized STIHL servicing dealer.
Checking Chain Lubrication

The saw chain must always spin off a small amount of oil.
NOTICE
Never operate your machine without chain lubrication. If the saw chain runs dry, the cutting attachment may very quickly be damaged beyond repair. Before starting work, always check the chain lubrication and oil level in the tank.
Every new saw chain needs a run-in time of 2 to 3 minutes.
After the saw chain has run in, check the tension of the chain and correct if necessary – see “Checking the chain tension”.
Chain Brake
14.1 Locking the Chain

- in an emergency
- when starting
- at idling speed
The chain brake is activated by pushing the hand guard toward the bar nose with your left hander by inertia in certain kickback situations: The chain is stopped and locked.
14.2 Disengaging the Chain Brake

► Pull the hand guard towards the front handle until there is an audible click – the chain brake is disengaged.
NOTICE
Always disengage chain brake before accelerating the engine (except when checking its operation) and before starting cutting work.
High revs with the chain brake engaged (chain locked) will quickly damage the powerhead and chain drive (clutch, chain brake).
The chain brake is also activated by the inertia of the front hand guard if the kickback force of the saw is high enough: The hand guard is accelerated toward the bar nose.
The chain brake will operate only if the hand guard has not been modified in any way.
14.3 Checking Operation of the Chain Brake
Before starting work: Run engine at idle speed, engage the chain brake (push hand guard towards bar nose) and open the throttle wide for no more than 3 seconds – the chain must not rotate. The hand guard must be free from dirt and move freely.
14.4 Chain Brake Maintenance
The chain brake is subject to normal wear. It is necessary to have it serviced and maintained regularly by trained personnel. STIHL recommends that you have servicing and repair work carried out exclusively by an authorized STIHL servicing dealer. Maintain the following servicing intervals:
Full-time usage: every 3 months
Part-time usage: every 6 months
Starting / Stopping the Engine
15.1 Positions of the Master Control lever

Stop 0 – engine off – the ignition is switched off
Normal run position (I) – engine runs or can fire.
Starting throttle
– for starting the engine
15.2 Positions of Choke Shutter

Choke shutter closed![]()
- for starting the engine
- if the engine is cold
- if the engine stalls during opening of throttle after starting
- If the fuel tank was run until empty (engine stopped).
Choke shutter open![]()
- for starting the engine
- if engine is warm (once the engine has been running for approx. one minute)
- When Engine Begins to Fire
- after ventilation of the combustion chamber, if the engine was flooded
15.3 Adjust Master Control lever
To move the Master Control lever from the nor‐mal run position (I) to starting throttle (
), press down the throttle trigger lockout and squeeze the throttle trigger at the same time and hold them in that position – now set the Master Control lever.
The Master Control lever moves from the starting throttle position (
) to the run position (I) when you press down the throttle trigger lockout and blip the throttle trigger at the same time.
To switch off the engine, set the master control lever to Stop 0.
15.4 Manual fuel pump
The manual fuel pump bulb must be pressed:
- When starting for the first time
- If the fuel tank was run until empty (engine stopped).
15.5 Holding the Chain Saw

► Place your saw on the ground. Make sure you have a firm footing – check that the chain is not touching any object or the ground.
► Hold the control handle of the chain saw firmly in the right hand
► Support the right knee on the carburetor cover
15.6 Actuating
► Pull the starter grip slowly with your right hand until you feel it engage – and then give it a brisk strong pull and push down the control handle at the same time. Do not pull out the starter rope to full length – it might otherwise break. Do not let the starter grip snap back. Guide it slowly back into the housing so that the starter rope can rewind properly.
15.7 Starting the Chainsaw
WARNING
Bystanders must be well clear of the general work area of the saw.

► Press the manual fuel pump bulb at least 9 times – even when bulb is filled with fuel

► Push the hand guard (1) forward – the chain is locked.
► Press down the trigger lockout (2) and pull the throttle trigger (3) at the same time. Set Mas‐ter Control lever (4) to starting throttle position (
).
► Set choke lever to required position.
Position choke shutter closed![]()

– if engine is cold (even if the engine has stalled during opening of throttle after starting)
Choke shutter open (
)

– if engine is warm (once the engine has been running for approx. one minute)
► Hold and start your saw as described.
15.8 When Engine Begins to Fire

► Move the choke lever to the open position (
).
► Hold and start your saw as described.
15.9 As Soon As the Engine Runs

► Press down the trigger lockout and blip the throttle trigger (3) – the Master Control lever (4) moves to the run position (I) and the engine settles down to idling speed.

► Pull the hand guard toward the control handle to disengage the chain brake.
NOTICE
Open the throttle only when the chain brake is off. Increased engine speeds with the chain brake on (saw chain is stationary) will quickly damage the clutch and chain brake.
► After a cold start, warm up the engine at varying speeds – your saw is ready for operation.
15.10 At Very Low Outside Temperatures
In case of erratic idling behavior or poor acceleration
► Readjust carburetor if necessary, see “Adjusting the Carburetor”.
► If your saw is very cold (frost or ice on machine), start the engine and keep it at a high idle speed (with chain brake disengaged) until it reaches normal operating temperature.
15.11 Shut off the engine

► Move Master Control lever to Stop 0.
15.12 If Engine Does Not Start
If you did not move the Master Control lever from the choke closed position (
) to the choke open position (
) quickly enough after the engine began to fire, the engine is probably flooded.
► Move Master Control lever to Stop 0.
► Remove the spark plug – see “Spark Plug”.
► Dry the spark plug
► Crank the engine several times with the starter to clear the combustion chamber.
► Refit the spark plug – see “Spark Plug”.
► Set the master control lever to starting acceleration
– even if the engine is cold
► Restart the engine
15.13 If Fuel Tank Has Been Run Completely Dry and Then Refueled
► Press the bellows of the manual fuel pump at least 9x
► Set the Master Control lever to the starting throttle position (
).
► Move the choke lever to the closed position (
)
► Continue cranking 2x
► Move the choke lever to the open position (
).
► Restart the engine
Operating Instructions
16.1 During the break-in period
A factory new machine should not be run at high revs (full throttle off load) for the first three tank fillings. This avoids unnecessarily high loads during the break-in period. As all moving parts have to bed in during the break-in period, the frictional resistances in the short lock are greater during this period. The engine develops its maximum power after about 5 to 15 tank fillings.
16.2 During work
NOTICE
Do not make the mixture leaner to achieve an apparent increase in power – this could damage the engine – see “Adjusting the Carburetor”.
NOTICE
Open the throttle only when the chain brake is off. Running the engine at high revs with the chain brake engaged (chain locked) will quickly damage the short lock and chain drive (clutch, chain brake).
16.2.1 Check chain tension frequently
A new saw chain must be pretensioner more frequently than one that has been in use already for an extended period.
16.2.2 Chain cold
Tension is correct when the chain fits snugly against the underside of the bar but can still be pulled along the bar by hand. Pretension if necessary – see “Tensioning the Saw Chain”.
16.2.3 Chain at operating temperature
The chain stretches and begins to sag. The drive links must not come out of the bar groove on the underside of the bar – the chain may otherwise jump off the bar. Retention the chain – see “Tensioning the Saw Chain”.
NOTICE
The chain contracts as it cools down. If it is not slackened off, it can damage the crankshaft and bearings.
16.2.4 After a long period of full-throttle operation
After a long period of full-throttle operation, allow engine to run for a while at idle speed so that the heat in the engine can be dissipated by flow of cooling air. This protects engine-mounted components (ignition, carburetor) from thermal overload.
16.3 After finishing work
► Slacken off the chain if you have pretensioner it at operating temperature during work.
NOTICE
Always slacken off the chain again after finishing work. The chain contracts as it cools down. If it is not slackened off, it can damage the crankshaft and bearings.
16.3.1 Short-term storage
Wait for engine to cool down. Keep the machine with a full tank of fuel in a dry place, well away from sources of ignition, until you need it again.
16.3.2 Long-term storage
See “Storing the machine”
Taking Care of the Guide Bar

► Turn the guide bar over – every time you sharpen the chain and every time you replace the chain – this helps avoid one-sided wear, especially at the nose and underside of the bar.
► Regularly clean the oil inlet hole (1), the oilway (2) and the bar groove (3)
► Measure the groove depth – with the scale on the filing gauge (special accessory) – in the area used most for cutting
| Chain type | Chain pitch | Minimum groove depth |
| Picco | 1/4″ P | 4.0 mm |
| Rapid | 1/4“ | 4.0 mm |
| Picco | 3/8″ P | 5.0 mm |
| Rapid | 3/8“; 0.325“ | 6.0 mm |
| Rapid | 0.404“ | 7.0 mm |
If groove depth is less than specified:
► Replace the guide bar
The drive link tangs will otherwise scrape along the bottom of the groove – the cutters and tie straps will not ride on the bar rails.
Cleaning the Air Filter
18.1 If there is a noticeable loss of engine power

► Turn the twist lock 90° counterclockwise.
► Remove the shroud upwards.

► Remove the air filter upwards.
► Wash the filter in STIHL special cleaner (special accessory) or a clean, non-flammable solution (e.g. warm soapy water) and then dry.
NOTICE
Do not use a brush to clean the filter.
Always replace a damaged filter.
Adjusting the Carburetor
19.1 General Information
The carburetor comes from the factory with a standard setting.
This setting provides an optimum fuel-air mixture under most operating conditions.
19.2 Preparations
► Shut off the engine.
► Check the air filter and clean or replace if necessary.
► Check the spark arresting screen (not in all models, country-specific) in the muffler and clean or replace if necessary.
19.3 Standard Setting

► Turn high speed screw (H) counterclockwise as far as stop (no more than 3/4 turn).
► Turn the low speed screw (L) clockwise as far as stop, then turn it back 1/4 turn.
19.4 Adjusting Idle Speed
► Carry out the standard setting.
► Start the engine.
Warm up the engine. Allow engine to idle for 10 seconds before adjusting the idle speed.

Engine stops while idling
► Turn the idle speed screw (LA) clockwise until the chain begins to run – then back it off 4 turns.
Saw chain runs while engine is idling
► Turn the idle speed screw (LA) counterclockwise until the chain stops moving – allow engine to run at idle speed for 10 seconds.
► Turn the idle speed screw (LA) clockwise until the chain begins to run – then back it off 4 turns.
WARNING
If the chain continues moving when the engine is idling, have your saw checked and repaired by your servicing dealer.
Erratic idling behavior, poor acceleration (even though standard setting of low speed screw is correct)
Idle setting is too lean
► Turn the low speed screw (L) carefully counterclockwise, no further than stop, until the engine runs smoothly and accelerates well.
It is usually necessary to change the setting of the idle speed screw (LA) after every correction to the low speed screw (L).
19.5 Fine Tuning for Operation at High Altitude
A slight correction of the setting may be necessary if the engine does not run satisfactorily:
► Carry out the standard setting.
► Warm up the engine.
► Turn high speed screw (H) slightly clockwise (leaner) – no further than stop.
NOTICE
After returning from high altitude, reset the carburetor to the standard setting.
If the setting is too lean there is a risk of engine damage due to insufficient lubrication and overheating.
Spark Plug
► If the engine is down on power, difficult to start or runs poorly at idle speed, first check the spark plug.
► Fit a new spark plug after about 100 operating hours – or sooner if the electrodes are badly eroded. Install only suppressed spark plugs of the type approved by STIHL – see “Specifications”.
20.1 Removing the Spark Plug
► Move the Master Control lever to 0 or STOP.

► Disengage the chain brake.

► Unscrew the nut (1) and remove the sprocket cover (2).

► Pull off the spark plug boot.
► Unscrew the spark plug.
20.2 Checking the Spark Plug

► Clean dirty spark plug.
► Check electrode gap (A) and readjust if necessary – see “Specifications”.
► Rectify the problems which have caused fouling of the spark plug.
Possible causes are:
- Too much oil in fuel mix.
- Dirty air filter.
- Unfavorable running conditions.

WARNING
Arcing may occur if the adapter nut (1) is loose or missing. Working in an easily combustible or explosive atmosphere may cause a fire or an explosion. This can result result in serious injuries or damage to property.
► Use resistor type spark plugs with a properly tightened adapter nut.
20.3 Installing the spark plug
► Install the spark plug and connect the spark plug boot (press it down firmly) – reassembly all other parts in the reverse sequence.
Storing the Machine
For periods of about 30 days or longer
► Drain and clean the fuel tank in a wellventila ted area.
► Dispose of fuel properly in accordance with local environmental requirements.
► If a manual fuel pump is fitted: Press the manual fuel pump at least 5 times.
► Start the engine and run it at idling speed until it stops.
► Remove saw chain and guide bar; clean and spray with protective oil
► Thoroughly clean the machine – pay special attention to the cylinder fins and air filter
► When using biological chain oil (e.g. STIHL Bioplays), fill the lubricant oil tank
► Store the machine in a dry and secure location Keep out of the reach of children and other unauthorized persons
Checking the Chain Sprocket
► Disengage the chain brake: Pull the hand guard toward the front handle.
► Remove chain sprocket cover, saw chain and guide bar
22.1 Replace the chain sprocket

– replace after using two saw chains or sooner
– if the wear marks (arrows) on the sprocket are deeper than approx. 0.5 mm since this would reduce the life of the chain. You can use a gauge (special accessory) to check the depth of the wear marks.
Using two saw chains in alternation helps preserve the chain sprocket.
STIHL recommends use of original STIHL chain sprockets in order to ensure optimal functioning of the chain brake.
Have the chain sprocket replaced by an authorized dealer. STIHL recommends that maintenance and repair work be carried out only by authorized STIHL dealers.
Maintaining and Sharpening the Saw Chain
23.1 Sawing effortlessly with a properly sharpened saw chain
A properly sharpened saw chain cuts through wood effortlessly even with very little pushing.
Never use a dull or damaged saw chain – this leads to increased physical strain, increased vibration load, unsatisfactory cutting results and increased wear.
► Clean the saw chain
► Check the saw chain for cracks and damaged rivets
► Replace damaged or worn chain components and adapt these parts to the remaining parts in terms of shape and level of wear – rework accordingly
Carbide-tipped (Duro) saw chains are especially wear-resistant. For an optimal sharpening result, STIHL recommends STIHL servicing dealers.
WARNING
Compliance with the angles and dimensions listed below is absolutely necessary. An improperly sharpened saw chain – especially depth gauges that are too low – can lead to increased kickback tendency of the chain saw – risk of injury!
23.2 Chain pitch

The chain pitch marking (a) is embossed in the area of the depth gauge of each cutter.
| Marking (a) | Chain pitch | |
| Inches | mm | |
| 7 | 1/4 P | 6.35 |
| 1 or 1/4 | 4-Jan | 6.35 |
| 6, P or PM | 3/8 P | 9.32 |
| 2 or 325 | 0.325 | 8.25 |
| 3 or 3/8 | 8-Mar | 9.32 |
| 4 or 404 | 0.404 | 10.26 |
The diameter of file to be used depends on the chain pitch – see table “Sharpening tools”.
The angles of the cutter must be maintained during rehappening.
23.3 Sharpening and side plate angles

A Sharpening angle
STIHL saw chains are sharpened with a 30° sharpening angle. Ripping chains, which are sharpened with a 10° sharpening angle, are exceptions. Ripping chains have an X in the designation.
B Side plate angle
The correct side plate angle results automatically when the specified file holder and file diameter are used.
| Tooth shapes | Angle (°) | |
| A | B | |
| Micro = semi-chisel tooth, e. g., 63 PM3, 26 RM3, 36 RM | 30 | 75 |
| Super = full chisel tooth, e. g., 63 PS3, 26 RS, 36 RS3 | 30 | 60 |
| Ripping chain, e. g., 63 PMX, 36 RMX | 10 | 75 |
The angles must be identical for all cutters in the saw chain. Varying angles: Rough, uneven running of the saw chain, increased wear – even to the point of saw chain breakage.
23.4 File holder

► Use a file holder
Always use a file holder (special accessory, see table “Sharpening tools”) when sharpening saw chains by hand. File holders have markings for the sharpening angle.
Use only special saw chain files! Other files are unsuitable in terms of shape and type of cutting.
23.5 To check the angles

STIHL filing gauge (special accessory, see table “Sharpening tools”) – a universal tool for checking sharpening and side plate angles, depth gauge setting, and tooth length, as well as cleaning grooves and oil inlet holes.
23.6 Proper sharpening
► Select sharpening tools in accordance with chain pitch
► Clamp guide bar if necessary
► Block saw chain – push the hand guard forward
► To advance the saw chain, pull the hand guard toward the handlebar: The chain brake is disengaged. With the Quickstep Super chain brake system, additionally press the throttle trigger lockout
► Sharpen frequently, removing little material two or three strokes of the file are usually sufficient for simple rehappening

► Guide the file: horizontally (at a right angle to the side surface of the guide bar) in accordance with the specified angle – according to the markings on the file holder – rest the file holder on the tooth head and the depth gauge
► File only from the inside outward
► The file only sharpens on the forward stroke lift the file on the backstroke
► Do not file tie straps and drive links
► Rotate the file a little periodically in order to avoid uneven wear
► To remove file burr, use a piece of hardwood
► Check angle with file gauge
All cutters must be equally long.
With varying cutter lengths, the cutter heights also vary and cause rough running of the saw chain and chain breakage.
► All cutters must be filed down equal to the length of the shortest cutter – ideally, one should have this done by a servicing dealer using an electric sharpener
23.7 Depth gauge setting

The depth gauge determines the depth to which the cutter penetrates the wood and thus the chip thickness.
a Required distance between depth gauge and cutting edge
When cutting softwood outside of the frost season, the distance can be increased by up to 0.2 mm (0.008″).
| Chain pitch | Depth gauge Distance (a) | ||
| Inches | (mm) | mm | (Inches) |
| 1/4 P | (6.35) | 0.45 | -0.018 |
| 4-Jan | (6.35) | 0.65 | -0.026 |
| 3/8 P | (9.32) | 0.65 | -0.026 |
| 0.325 | (8.25) | 0.65 | -0.026 |
| 3/8 | (9.32) | 0.65 | -0.026 |
| 0.404 | (10.26) | 0.8 | -0.031 |
23.8 Lowering the depth gauges
The depth gauge setting is lowered when the cutter is sharpened.
► Check the depth gauge setting after each sharpening
► Lay the appropriate file gauge (1) for the chain pitch on the saw chain and press it against the cutter to be checked – if the depth gauge protrudes past the file gauge, the depth gauge must be reworked
Saw chains with humped drive link (2) – upper part of the humped drive link (2) (with service mark) is lowered at the same time as the depth gauge of the cutter.
WARNING
The rest of the humped drive link must not be filed; otherwise, this could increase the tendency of the chain saw to kick back.

► Rework the depth gauge so that it is flush with the file gauge

► Afterwards, dress the leading edge of the depth gauge parallel to the service mark (see arrow) – when doing this, be careful not to further lower the highest point of the depth gauge
WARNING
Depth gauges that are too low increase the kickback tendency of the chain saw.

► Lay the file gauge on the saw chain – the highest point of the depth gauge must be flush with the file gauge
► After sharpening, clean the saw chain thoroughly, removing any filings or grinding dust – lubricate the saw chain thoroughly
► In the event of extended periods of disuse, store saw chains in cleaned and oiled condition
| Sharpening tools (special accessories) | ||||||||
| Chain pitch | Round file Ø | Round file | File holder | File gauge | Taper square file | Sharpening set1) | ||
| Inches | (mm) | (mm) | (Inches) | Part number | Part number | Part number | Part number | Part number |
| 1/4P | (6.35) | 3.2 | (1/8) | 5605 771 3206 | 5605 750 4300 | 0000 893 4005 | 0814 252 3356 | 5605 007 1000 |
| 1/4 | (6.35) | 4.0 | (5/32) | 5605 772 4006 | 5605 750 4327 | 1110 893 4000 | 0814 252 3356 | 5605 007 1027 |
| 3/8 P | (9.32) | 4.0 | (5/32) | 5605 772 4006 | 5605 750 4327 | 1110 893 4000 | 0814 252 3356 | 5605 007 1027 |
| 0.325 | (8.25) | 4.8 | (3/16) | 5605 772 4806 | 5605 750 4328 | 1110 893 4000 | 0814 252 3356 | 5605 007 1028 |
| 3/8 | (9.32) | 5.2 | (13/64) | 5605 772 5206 | 5605 750 4329 | 1110 893 4000 | 0814 252 3356 | 5605 007 1029 |
| 0.404 | (10.26) | 5.5 | (7/32) | 5605 772 5506 | 5605 750 4330 | 1106 893 4000 | 0814 252 3356 | 5605 007 1030 |
| 1)consisting of file holder with round file, taper square file and file gauge | ||||||||
Maintenance and Care
| The following maintenance intervals apply for normal operating conditions only. When working under difficult conditions (high accumulation of dust, highly resinous lumber, lumber from tropical trees, etc.) or longer than normal each day, the specified intervals must be shortened accordingly. If you only use the tool occasionally, extend the intervals accordingly. | Before starting work | At the end of work and/or daily | Whenever tank is refilled | Ap$ee | Monthly | Annually | If faulty! | If damaged | As required | |
| Complete machine | Visual inspection (condition, leaks) | X | Ix | |||||||
| Clean | X | |||||||||
| Throttle trigger, throttle trigger lockout, choke lever, stop switch, master control lever (dependent on equipment) | Function test | X | X | |||||||
| Chain brake | Function test | X | X | |||||||
| Have checked by dealer¹) | X | |||||||||
| Manual fuel pump (if present) | check | X | ||||||||
| Have repaired by a specialist dealer¹) | X | |||||||||
| Fuel pick-up body / filter in fuel tank | check | X | ||||||||
| Clean, replace filter insert | X | X | ||||||||
| replace | X | X | X | |||||||
| Fuel tank | Clean | X | ||||||||
| Lubricating oil tank | Clean | X | ||||||||
| Chain lubrication | check | X | ||||||||
| Saw chain | Check, pay attention to sharpness | X | X | |||||||
| Checking the chain tension | X | X | ||||||||
| sharpen | X | |||||||||
| Guide bar | Check (wear, damage) | X | ||||||||
| Clean and turn over | X | |||||||||
| Deburr | X | |||||||||
| replace | X | X | ||||||||
| Chain sprocket | check | X | ||||||||
| Air filter | Clean | X | X | |||||||
| replace | ||||||||||
| Anti-vibration elements | check | X | X | |||||||
| Have replaced by servicing dealer¹) | X | |||||||||
1) STIHL recommends STIHL servicing dealer
2) When using professional chainsaws (with a power output of 3.4 kW or more) for the first time, tighten the cylinder block screws after 10 to 20 hours of operation
| The following maintenance intervals apply for normal operating conditions only. When working under difficult conditions (high accumulation of dust, highly resinous lumber, lumber from tropical trees, etc.) or longer than normal each day, the specified intervals must be shortened accordingly. If you only use the tool occasionally, extend the intervals accordingly. | Before starting work | At the end of work and/or daily | Whenever tank is refilled | Apieem | Monthly | Annually | If faulty’ | If damaged | As required | |
| Air intake on fan housing | Clean | X | X | X | ||||||
| Cylinder fins | Clean | X | X | X | ||||||
| Carburetor | Check idle adjustment – saw chain must not rotate | X | X | |||||||
| Set the idle speed; if required have the chainsaw repaired by a specialist dealer¹) | X | |||||||||
| Spark plug | Adjust electrode gap | X | ||||||||
| Replace after 100 hours of operation | ||||||||||
| Accessible screws and nuts (except adjusting screws) | Tighten2) | X | ||||||||
| Chain catcher | check | X | ||||||||
| replace | X | |||||||||
| Safety information label | replace | X | ||||||||
Minimize Wear and Avoid Damage
Observing the instructions in this manual helps reduce the risk of unnecessary wear and dam‐age to the power tool.
The power tool must be operated, maintained and stored with the due care and attention described in this owner’s manual.
The user is responsible for all damage caused by non-observance of the safety precautions, operating and maintenance instructions in this manual. This includes in particular:
- Alterations or modifications to the product not approved by STIHL.
- Using tools or accessories which are neither approved or suitable for the product or are of a poor quality.
- Using the product for purposes for which it was not designed.
- Using the product for sports or competitive events.
- Consequential damage caused by continuing to use the product with defective components.
25.1 Maintenance Work
All the operations described in the “Maintenance Chart” must be performed on a regular basis. If these maintenance operations cannot be performed by the owner, they should be performed by a servicing dealer.
STIHL recommends that you have servicing and repair work carried out exclusively by an authorized STIHL servicing dealer. STIHL dealers are regularly given the opportunity to attend training courses and are supplied with the necessary technical information.
If these maintenance operations are not carried out as specified, the user assumes responsibility
1)STIHL recommends STIHL servicing dealer
2)When using professional chainsaws (with a power output of 3.4 kW or more) for the first time, tighten the cylinder block screws after 10 to 20 hours of operation 0458-508-0121-C for any damage that may occur. Among other parts, this includes:
- Damage to the engine due to neglect or deficient maintenance (e.g. air and fuel filters), incorrect carburetor adjustment or inadequate cleaning of cooling air inlets (intake ports, cylinder fins).
- Corrosion and other consequential damage resulting from improper storage.
- Damage to the machine resulting from the use of poor quality replacement parts.
25.2 Parts Subject to Wear and Tear
Some parts of the power tool are subject to normal wear and tear even during regular operation in accordance with instructions and, depending on the type and duration of use, have to be replaced in good time. Among other parts, this includes:
- Saw chain, guide bar
- Drive components (clutch, clutch drum, chain sprocket)
- Filters (air, oil, fuel)
- Starter mechanism
- Spark plug
- Components of antivibration system
Main Parts

| 1. Control handle 2. Throttle trigger lockout 3. Master Control lever 4 Throttle trigger 5. Carburetor adjusting screws 6 Spark plug boot 7. Muffler 8. Chain sprocket cover 9. Chain sprocket 10. Chain brake 11. Chain tensioner 12. Chain catcher 13. Spiked bumper1) | 14. Guide bar 15. Diplomatic chain 16. Oil filler cap 17. Fuel filler cap 18. Hand guard 19. Handlebar 20. Starter grip 21. Choke lever 22. Manual fuel pump 23. Carburetor box cover 24. Carburetor box cover twist lock 25. Ring for rope # Serial number |
Specifications
27.1 Engine
Single-cylinder two-stroke engine
| Displacement: | 23.6cm |
| Cylinder bore: | 34 mm |
| Piston stroke: | 26 mm |
| Engine power to ISO 7293: | 1.1 kW (1.5 HP) at 10000 rpm |
| Idling speed:¹ | 3000 rpm |
27.2 Ignition system
Electronic magneto ignition
| Spark plug (suppressed): | NGK CMR 6 H, BOSCH USR 4AC |
| Electrode gap: | 0.5 mm |
27.3 Fuel system
All-position diaphragm carburetor with integral fuel pump
| Fuel tank capacity: | 200 cm³ (0.2 l) |
27.4 Chain lubrication
Fully automatic, speed-controlled oil pump
| Oil tank capacity: | 150 cm³ (0.15 l) |
27.5 Weight
dry, without cutting attachment
| MS 151 TC: | 2.6 kg |
27.6 Cutting attachment
The actual cutting length may be less than the specified cutting length.
27.6.1 Dolomitic E Mini guide bars
| Cutting lengths: | 25, 30 cm |
| Pitch: | 1/4” P (6.35 mm) |
| Groove width: | 1.1 mm |
| Sprocket nose: | 8-tooth |
1) available as special accessory
1) according to ISO 11681 +/- 50 1/min
27.6.2 Carving E guide bars
| Cutting lengths: | 30 cm |
| Pitch: | 1/4” P (6.35 mm) |
| Groove width: | 1.1 mm |
27.6.3 Saw chains 1/4″ P
Picco Micro 3 (71 PM3) Type 3670
| Pitch: | 1/4” P (6.35 mm) |
| Drive link gauge: | 1.1 mm |
27.6.4 Chain sprocket
8-tooth for 1/4″ (spur chain sprocket)
| Max. chain speed according to ISO 11681: | 22.5 m/s |
| Chain speed at maximum power: | 16.9 m/s |
27.7 Noise‑ and Vibration Data
For further details on compliance with Vibration Directive 2002/44/EC, see www.stihl.com/vib
27.7.1 Sound pressure level Lpeq in accordance with ISO 22868
96 dB(A)
27.7.2 Sound power level Lweq in accordance with ISO 22868
109 dB(A)
27.7.3 Vibration measurement ahv, eq in accordance with ISO 22867
| Handle, left: | 4.9 m/s² |
| Handle, right: | 4.9 m/s² |
The K‑factor in accordance with Directive 2006/42/EC is 2.0 dB(A) for the sound pressure level and sound power level; the K‑factor in accordance with Directive 2006/42/EC is 2.0 m/s² for the vibration level.
27.8 REACH
REACH is an EC regulation and stands for the Registration, Evaluation, Authorization and Restriction of Chemical substances.
For information on compliance with the REACH regulation (EC) No. 1907/2006 see www.stihl.com/reach
27.9 Exhaust Emissions
The CO₂ value measured in the EU type approval procedure is specified at www.stihl.com/co₂ in the product-specific technical data.
The measured CO2 value was determined on a representative engine in accordance with a standardized test procedure under laboratory conditions and does not represent either inexplicit or implied guarantee of the performance of a specific engine.
The applicable exhaust emission requirements are fulfilled by the intended usage and maintenance described in this User Manual. The operating license shall be void if the engine is modified in any way.
Special Accessories
- Spiked bumper
- File holder with round file
- Filing gauge
- Reference gauges
- STIHL lubricating grease
- STIHL filler nozzle for fuel – helps avoid spills and overfilling during refueling
- STIHL filler nozzle for chain oil – helps avoid spills and overfilling
Contact your STIHL dealer for more information on these and other special accessories.
28.1 Mounting the Spiked Bumper

► Secure the spiked bumper (1) to the engine housing with the two screws (2).
Ordering Spare Parts
Please enter your saw model, serial number as well as the part numbers of the guide bar and saw chain in the spaces provided. This will make re-ordering simpler.
The guide bar and saw chain are subject to normal wear and tear. When purchasing these parts, always quote the saw model, the part numbers and names of the parts.
Model
Serial number
Guide bar part number
Chain part number
Maintenance and Repairs
Users of this machine may only carry out the maintenance and service work described in this user manual. All other repairs must be carried out by a servicing dealer.
STIHL recommends that you have servicing and repair work carried out exclusively by an authorized STIHL servicing dealer. STIHL dealers are regularly given the opportunity to attend training courses and are supplied with the necessary technical information.
When repairing the machine, only use replacement parts which have been approved by STIHL for this power tool or are technically identical. Only use high-quality replacement parts in order to avoid the risk of accidents and damage to the machine.
STIHL recommends the use of original STIHL replacement parts.
Original STIHL parts can be identified by the STIHL part number, the
logo and the STIHL parts symbol
(the symbol may appear alone on small parts).
Disposal
Contact the local authorities or your STIHL servicing dealer for information on disposal.
Improper disposal can be harmful to health and pollute the environment.

► Take STIHL products including packaging to a suitable collection point for recycling in accordance with local regulations.
► Do not dispose with domestic waste.
EC Declaration of Conformity
ANDREAS STIHL AG & Co. KG
Badstr. 115
D-71336 Waiblingen
Germany
declare under our sole responsibility that
| Designation: | Chainsaw |
| Make: | STIHL |
| Series: | MS 151 TC |
| Serial identification | 1146 |
| Displacement: | 23.6 cm³ |
conforms to the relevant provisions of Directives 2011/65/EU, 2006/42/EC, 2014/30/EU and 2000/14/EC and has been developed and manufactured in compliance with the following standards in the versions valid on the date of production: EN ISO 11681‑2, EN 61000‑6‑1, EN 55012
The measured and the guaranteed sound power level have been determined in accordance with Directive 2000/14/EC, Annex V, and standard ISO 9207.
Measured sound power level
| MS 151 TC | 109 dB(A) |
Guaranteed sound power level
| MS 151 TC | 111 dB(A) |
The EC type examination was carried out by DPLF
Deutsche Prüf- und Zertifizierungsstelle für Landed Forsttechnik GbR (NB 0363)
Premerger Straße 1
D-64823
Groß-Umstadt
Certification No.: K‑EG‑2018/8636
Technical documents deposited at: ANDREAS STIHL AG & Co. KG
Produktzulassung
The year of manufacture and serial number are applied to the product.
Done at Waiblingen, 03.02.2020
ANDREAS STIHL AG & Co. KG
pp
Dr. Jürgen Hoffmann
Director Product Certification & Regulatory Affairs![]()
UKCA Declaration of Conformity
ANDREAS STIHL AG & Co. KG
Badstr. 115
D-71336 Waiblingen
Germany
declare under our sole responsibility that
| Designation: | Chainsaw |
| Make: | STIHL |
| Series: | MS 151 TC |
| Serial identification | 1146 |
| Displacement: | 23.6 cm³ |
conforms to the relevant provisions of UK regulations The Restriction of the Use of Certain Hazardous Substances in Electrical and Electronic Equipment Regulations 2012, Supply of Machinery (Safety) Regulations 2008, Electromagnetic Compatibility Regulations 2016 and Noise Emission in the Environment by Equipment for use Outdoors Regulations 2001 and has been manufactured in compliance with the following standards in the versions valid on the date of production:
EN
ISO 11681‑2, EN
61000‑6‑1, EN
55012.
The measured and guaranteed sound power levels have been determined in accordance with UK regulation Noise Emission in the Environment by
Equipment for use Outdoors Regulations 2001, Annex 8, using the ISO 9207 standard.
Measured sound power level
| MS 151 TC | 109 dB(A) |
Guaranteed sound power level
| MS 151 TC | 111 dB(A) |
The type examination was carried out by
Intertek Testing & Certification Ltd, Academy
Place, 1 – 9 Brook Street, Brentwood Essex,
CM14 5NQ, United Kingdom
Certification No. ITS UK MCR 64
Technical documents deposited at: ANDREAS STIHL AG & Co. KG
The year of manufacture and serial number are applied to the product.
Waiblingen, 31.03.2022
ANDREAS STIHL AG & Co. KG
pp
Dr. Jürgen Hoffmann
Director Product Certification & Regulatory
Affairs![]()
33 UKCA Declaration of Conformity
0458-508-0121-C
www.stihl.com













