MODEL BA1411
14-INCH TWO-SPEED
BAND SAW
Instruction Manual
BA1411 14 Inch Two Speed Band Saw
NEED HELP? CONTACT US!
Have product questions? Need technical support? Please feel free to contact us:
1-800-232-1195 (M-F 8AM-5PM CST)
[email protected]
IMPORTANT: Your new tool has been engineered and manufactured to WEN’s highest standards for dependability, ease of operation, and operator safety. When properly cared for, this product will supply you years of rugged, trouble-free performance. Pay close attention to the rules for safe operation, warnings, and cautions. If you use your tool properly and for its intended purpose, you will enjoy years of safe, reliable service.
For replacement parts and the most up-to-date instruction manuals, visit WENPRODUCTS.COM
To purchase accessories for your tool, visit WENPRODUCTS.COM
Bandsaw Blades (Models BB9312, BB9325, BB9337, BB9350)
Heavy Duty 500-Pound Capacity Universal Mobile Base (Model MB500)
WELCOME
INTRODUCTION
Thanks for purchasing the WEN Band Saw. We know you are excited to put your tool to work, but first, please take a moment to read through the manual. Safe operation of this tool requires that you read and understand this operator’s manual and all the labels affixed to the tool. This manual provides information regarding potential safety concerns, as well as helpful assembly and operating instructions for your tool.
SAFETY ALERT SYMBOL: Indicates danger, warning, or caution. The safety symbols and the explanations with them deserve your careful attention and understanding. Always follow the safety precautions to reduce the risk of fire, electric shock or personal injury. However, please note that these instructions and warnings are not substitutes for proper accident prevention measures.
NOTE: The following safety information is not meant to cover all possible conditions and situations that may occur. WEN reserves the right to change this product and specifications at any time without prior notice.
At WEN, we are continuously improving our products. If you find that your tool does not exactly match this manual, please visit wenproducts.com for the most up-to-date manual or contact our customer service at 1-800-232-1195.
Keep this manual available to all users during the entire life of the tool and review it frequently to maximize safety for both yourself and others.
SPECIFICATIONS
| Model Number | BA1411 |
| Motor | 110-120V / 220-240V, 60 Hz, 11 / 5.5A |
| Table Size | 14 in. x 14 in. |
| Table Height | 43-5/16 in. |
| Working Capacity | 6 in. x 13-1/2 in. |
| Blade Size | 93-1/2 in. x 3/8 in. x 0.025 in., 6 TPI |
| Blade Speed | 1700 FPM / 3000 FPM |
| Dust Port Size | 4 Inches |
| Miter Gauge Range | Left 60°, Right 60° |
| Table Bevel | Left 15°, Right 45° |
| Product Dimensions | 20-1/2 in. x 26-3/8 in. x 66-1/2 in. |
| Product Weight | 178 Pounds |
SAFETY
GENERAL SAFETY RULES
WARNING! Read all safety warnings and all instructions. Failure to follow the warnings and instructions may result in electric shock, fire and/or serious injury.
Safety is a combination of common sense, staying alert and knowing how your item works. The term “power tool” in the warnings refers to your mains-operated (corded) power tool or battery-operated (cordless) power tool.
SAVE THESE SAFETY INSTRUCTIONS.
WORK AREA SAFETY
- Keep work area clean and well lit. Cluttered or dark areas invite accidents.
- Do not operate power tools in explosive atmospheres, such as in the presence of flammable liquids, gases or dust. Power tools create sparks which may ignite the dust or fumes.
- Keep children and bystanders away while operating a power tool. Distractions can cause you to lose control.
ELECTRICAL SAFETY
- Power tool plugs must match the outlet. Never modify the plug in any way. Do not use any adapter plugs with earthed (grounded) power tools. Unmodified plugs and matching outlets will reduce risk of electric shock.
- Avoid body contact with earthed or grounded surfaces such as pipes, radiators, ranges and refrigerators. There is an increased risk of electric shock if your body is earthed or grounded.
- Do not expose power tools to rain or wet conditions. Water entering a power tool will increase the risk of electric shock.
- Do not abuse the cord. Never use the cord for carrying, pulling or unplugging the power tool. Keep cord away from heat, oil, sharp edges or moving parts. Damaged or entangled cords increase the risk of elec- tric shock.
- When operating a power tool outdoors, use an extension cord suitable for outdoor use. Use of a cord suitable for outdoor use reduces the risk of electric shock.
- If operating a power tool in a damp location is unavoidable, use a ground fault circuit interrupter (GFCI) protected supply. Use of a GFCI reduces the risk of electric shock.
PERSONAL SAFETY
- Stay alert, watch what you are doing and use common sense when operating a power tool. Do not use a power tool while you are tired or under the influence of drugs, alcohol or medication. A moment of inattention while operating power tools may result in serious personal injury.
- Use personal protective equipment. Always wear eye protection. Protective equipment such as a respiratory mask, non-skid safety shoes and hearing protection used for appropriate conditions will reduce the risk of personal injury.
- Prevent unintentional starting. Ensure the switch is in the off-position before connecting to power source and/or battery pack, picking up or carrying the tool. Carrying power tools with your finger on the switch or energizing power tools that have the switch on invites accidents.
- Remove any adjusting key or wrench before turning the power tool on. A wrench or a key left attached to a rotating part of the power tool may result in personal injury.
- Do not overreach. Keep proper footing and balance at all times. This enables better control of the power tool in unexpected situations.
- Dress properly. Do not wear loose clothing or jewelry. Keep your hair and clothing away from moving parts. Loose clothes, jewelry or long hair can be caught in moving parts.
- If devices are provided for the connection of dust extraction and collection facilities, ensure these are connected and properly used. Use of dust collection can reduce dust-related hazards.
POWER TOOL USE AND CARE
- Do not force the power tool. Use the correct power tool for your application. The correct power tool will do the job better and safer at the rate for which it was designed.
- Do not use the power tool if the switch does not turn it on and off. Any power tool that cannot be controlled with the switch is dangerous and must be repaired.
- Disconnect the plug from the power source and/or the battery pack from the power tool before making any adjustments, changing accessories, or storing power tools. Such preventive safety measures reduce the risk of starting the power tool accidentally.
- Store idle power tools out of the reach of children and do not allow persons unfamiliar with the power tool or these instructions to operate the power tool. Power tools are dangerous in the hands of untrained users.
- Maintain power tools. Check for misalignment or binding of moving parts, breakage of parts and any other condition that may affect the power tool’s operation. If damaged, have the power tool repaired before use. Many accidents are caused by poorly maintained power tools.
- Keep cutting tools sharp and clean. Properly maintained cutting tools with sharp cutting edges are less likely to bind and are easier to control.
- Use the power tool, accessories and tool bits, etc. in accordance with these instructions, taking into account the working conditions and the work to be performed. Use of the power tool for operations different from those intended could result in a hazardous situation.
- Use clamps to secure your workpiece to a stable surface. Holding a workpiece by hand or using your body to support it may lead to loss of control.
- KEEP GUARDS IN PLACE and in working order.
SERVICE
- Have your power tool serviced by a qualified repair person using only identical replacement parts. This will ensure that the safety of the power tool is maintained.
CALIFORNIA PROPOSITION 65 WARNING
Some dust created by power sanding, sawing, grinding, drilling, and other construction activities may contain chemicals, including lead, known to the State of Califor- nia to cause cancer, birth defects, or other reproductive harm. Wash hands after handling. Some examples of these chemicals are:
- Lead from lead-based paints.
- Crystalline silica from bricks, cement, and other masonry products.
- Arsenic and chromium from chemically treated lumber.
Your risk from these exposures varies depending on how often you do this type of work. To reduce your exposure to these chemicals, work in a well-ventilated area with approved safety equipment such as dust masks specially designed to filter out microscopic particles.
SPECIFIC RULES FOR YOUR BANDSAW
WARNING! Do not operate the power tool until you have read and understood the following instructions and the warning labels.
SAW BLADE SAFETY
- Always wear protective gloves when handling saw blades.
- Only use blades with correct size and type for both your band saw and your workpiece.
- See the blade specifications. Make sure the blade is installed in the proper direction.
- Never use damaged or deformed saw blades. Only use sharp blades.
- Install the saw blade in the correct orientation indicated in the instructions.
- Keep hands out of path of saw blade. Never use your hands to remove sawdust or scrap wood. Use a brush at all times.
- Never reach around saw blade or reach in back of the saw blade.
- The use of accessories or attachments not recommended by the manufacturer may result in a risk of personal injury.
PERSONAL SAFETY
- Operate in a well ventilated area. Keep the floor area around the band saw level and free of slippery substances or other tripping hazards.
- Wear ANSI Z87.1-approved safety goggles to protect your eyes from saw dust. Use hearing protection to protect yourself from hearing loss.
- People with pacemakers should consult their physician(s) before use. Electromagnetic fields in close proximity to pacemakers could cause pacemaker interference or pacemaker failure.
- Wear work gloves when handling saw blades. DO NOT wear gloves, neckties, jewelry, or loose clothing while operating the saw.
- Saw dust is harmful to your health. Use NIOSH-approved dust masks or other respiratory protection during operation and cleaning.
- Always turn off and unplug the band saw before making any adjustments or repair tasks. Never adjust the band saw or the workpiece while the saw is running.
- Only use the band saw to cut wood.
PREPARING THE BAND SAW
- When transporting the band saw, never carry the device by its guards or its accessories.
- Examine the band saw for any damaged or missing parts. Replace or repair damaged parts before operation. Periodically check that all nuts, bolts and other fasteners are properly tightened.
SECURE YOUR WORKPIECE
- To avoid blade binding or loss of control, always secure the workpiece to a stable platform, ensuring that body exposure is minimized.
- Ensure that work is correctly supported. Supports must be placed under the workpiece on both sides, close to the line of cut and near the edge of the workpiece.
- For accuracy of cut, and to avoid blade binding, always use a rip fence or straight edge guide.
- Use extra caution with very large, very small, or awkwardly-shaped workpieces. Small pieces should be secured with clamps. Do not hold small pieces with your hand because your fingers might go under the blade guard.
- Never hand-hold a workpiece that is too small to be clamped, as it can be launched away and cause injury. Use proper support and guides to secure the small workpiece.
- Support round work properly (use a V block or press it against the miter gauge) to prevent it from rolling and the blade from biting.
- Plan intricate or small work carefully to avoid pinching the blade. Avoid awkward operations and hand positions to prevent accidental contact with the blade.
DURING CUTTING OPERATIONS
- Always stand to one side when operating the saw. Never have any part of the body in line with the path of the saw. Never hold a workpiece in your hand or across your legs while cutting.
- Ensure hands are away from the cutting area and blade.
- Feed work into the blade against the direction of rotation of the blade only.
- If you are interrupted when operating the saw, complete the process and switch the saw off before looking up.
- Power tools must always be held by the insulated gripping surfaces when performing an operation, ensuring protection if the cutting tool makes contact with its own cord or hidden wiring. Contact with a ‘live’ wire will make exposed metal parts of the power tool ‘live’ and shock the operator if the insulated gripping surfaces are not used.
- Do not use the band saw unless all guards are in place. Do not operate with any guard disabled, damaged, or removed. Moving guards must move freely and close instantly.
- Blade guide, supports, bearings, and blade tension must be properly adjusted to avoid accidental blade contact and to minimize blade breakage. To maximize blade support, always adjust the upper blade guide and blade guard so that it barely clears the workpiece.
- Turn on the band saw and let it reach full speed, then slowly slide the workpiece into the blade. This will help produce safer and cleaner cuts.
- Never cut more than one piece at a time. Do not stack workpieces together. Do not attempt to cut material thicker than specified on page 3 of this manual. Adjust the upper blade guide to suit the thickness of the workpiece.
- If a cut does not extend to the edge of the workpiece, or if the blade binds in the cut, allow the blade to come to a complete stop and lift the workpiece away from the blade.
- Turn off tool and wait for saw blade to stop before moving workpiece or changing settings. Do not slow or stop a blade with a piece of wood or by hand. Let the blade come to rest naturally. Do not attempt to free a jammed blade while the machine is still running and connected to power.
- Always adjust the upper blade guide to cover the blade after use.
ELECTRICAL INFORMATION
GROUNDING INSTRUCTIONS
In the event of a malfunction or breakdown, grounding provides the path of least resistance for an electric current and reduces the risk of electric shock. This tool is equipped with an electric cord that has an equipment grounding conductor and a grounding plug. The plug MUST be plugged into a matching outlet that is properly installed and grounded in accordance with ALL local codes and ordinances.
- Do not modify the plug provided. If it will not fit the outlet, have the proper outlet installed by a licensed electrician.
- Improper connection of the equipment grounding conductor can result in electric shock. The conductor with the green insulation (with or without yellow stripes) is the equipment grounding conductor. If repair or replacement of the electric cord or plug is necessary, DO NOT connect the equipment grounding conductor to a live terminal.
- Check with a licensed electrician or service personnel if you do not completely understand the grounding instructions or whether the tool is properly grounded.
- Use only three-wire extension cords that have three-pronged plugs and outlets that accept the tool’s plug. Repair or replace a damaged or worn cord immediately.
CAUTION! In all cases, make certain the outlet in question is properly grounded. If you are not sure, have a licensed electrician check the outlet.
GUIDELINES AND RECOMMENDATIONS FOR EXTENSION CORDS
When using an extension cord, be sure to use one heavy enough to carry the current your product will draw. An undersized cord will cause a drop in line voltage resulting in loss of power and overheating. The table below shows the correct size to be used according to cord length and ampere rating. When in doubt, use a heavier cord. The smaller the gauge number, the heavier the cord.
| AMPERAGE | REQUIRED GAUGE FOR EXTENSION CORDS | |||
| 25 ft. | 50 ft. | 100 ft. | 150 ft. | |
| 11A (110V – 120V Operation) | 16 gauge | 16 gauge | 14 gauge | 12 gauge |
| AMPERAGE | REQUIRED GAUGE FOR EXTENSION CORDS | |||
| 25 ft. | 50 ft. | 100 ft. | 150 ft. | |
| 5.5A (220V – 2240V Operation) | Not Recommended | |||
- Examine extension cord before use. Make sure your extension cord is properly wired and in good condition.
Always replace a damaged extension cord or have it repaired by a qualified person before using it. - Do not abuse extension cord. Do not pull on cord to disconnect from receptacle; always disconnect by pulling on plug. Disconnect the extension cord from the receptacle before disconnecting the product from the extension cord. Protect your extension cords from sharp objects, excessive heat and damp/wet areas.
- Use a separate electrical circuit for your tool. This circuit must not be less than a 12-gauge wire and should be protected with a 15A time-delayed fuse. Before connecting the motor to the power line, make sure the switch is in the OFF position and the electric current is rated the same as the current stamped on the motor nameplate. Running at a lower voltage will damage the motor.
VOLTAGE CONVERSION
This machine is prewired for operation on a 110V – 120V, 60Hz circuit, but can be converted to operate on a properly-grounded, 220V – 240V, 60Hz AC circuit, rated for not less than 15 amps. The voltage conversion MUST be performed by a licensed professional electrician according to the instructions here.
To perform the conversion, remove the existing plug, install a new plug, and rewire the motor according to the wiring diagram provided below. The motor wiring is located in the junction box on the side of the motor.
To convert the machine:
- Disconnect the machine from power.
- Replace the NEMA 5-15P plug on the power cord with a NEMA 6-15P plug (not included).
- Re-wire the motor as shown in the wiring diagram below.
- Verify that all connections are correct and secure.
- Connect the machine to a properly-wired NEMA 6-15R receptacle. DO NOT use an extension cord when the machine is running off 220V – 240V power.
WIRING DIAGRAM
BEFORE OPERATING
UNPACKING & PACKING LIST
WARNING! Do not plug in or turn on the tool until it is fully assembled according to the instructions. Failure to follow the safety instructions may result in serious personal injury.
UNPACKING
With the help of a friend or trustworthy foe, carefully remove the band saw from the packaging. Make sure to take out all contents and accessories. Do not discard the packaging until everything is removed. Check the packing list below to make sure you have all of the parts and accessories. If any part is missing or broken, please contact our customer service at 1-800-232-1195 (M-F 8-5 CST), or email [email protected].
| Fence Hardware 1. M6x20 Fence Stand-Off (1) 2. M8x20 Lock Handle (1) 3. M6x16 Cap Screws (2) 4. M6x20 Hex Bolts (2) 5. 6mm Lock Washers (2) 6. 6mm Flat Washers (2) 7. M8 Hex Nut (1) 8. M6 Hex Nut (1) | Stand Hardware 1. M6x16 Hex Bolts (8) 2. 6mm Flat Washers (8) 3. M6 Flange Nuts (8) 4. M8x16 Carriage Bolts (8) 5. M8 Flange Nuts (8) Stand Feet Hardware 1. Stand Feet (4) 2. Hex Nuts (8) 3. Flat Washers (8) | Bandsaw Hardware 1. M8x35 Hex Bolts (4) 2. 8mm Flat Washers (8) 3. 8mm Lock Washers (4) 4. M8 Hex Nuts (4) Trunnion Hardware 1. M8x30 Hex Bolts (2) 2. 8mm Lock Washers (2) Positive Stop Hardware 1. M8x80 Hex Bolt (1) 2. M8 Hex Nut (1) |
KNOW YOUR BANDSAW
TOOL PURPOSE
Make continuous and precise cuts with your WEN Band Saw. Refer to the following diagrams to become familiarized with all the parts and controls of your band saw. The components will be referred to later in the manual for assembly and operation instructions.
ASSEMBLY & ADJUSTMENTS
WARNING! Do not plug in or turn on the tool until it is fully assembled according to the instructions. Read through and become familiarized with the following procedures of handling and adjusting your tool. Failure to follow the safety instructions may result in serious personal injury.
ASSEMBLING THE STAND
Tools Needed (Not Included):
- 10mm Socket or Combination Wrench (2)
- 13mm Socket or Combination Wrench (2)
- 9/16 or 14mm Combination Wrench (1)
- Bubble Level (1)
- Lay one stand leg (Fig. 1 – 1) flat on a level surface. Attach the two stand braces (Fig. 1 – 2) to the stand leg using four M6x16 hex bolts (Fig. 1 – 3), four 6mm flat washers (Fig. 1 – 4), and four M6 flange nuts (Fig. 1- 5).
NOTE: Hand tighten the stand fasteners only. Once the stand is completely assembled, you can then fully tighten the stand fasteners. - Repeat step 1 to attach the remaining stand leg to the other sides of the two stand braces.
- Flip the stand over so that the four feet brackets (Fig. 2 – 1) are facing up. Place a hex nut (Fig. 2 – 2) and a flat washer (Fig. 2 – 3) onto the threaded end of a stand foot (Fig. 2 – 4) before placing the foot through the foot bracket. Secure the foot to the foot bracket using a flat washer and a hex nut as shown in Fig. 2.
- Repeat step 3 for the remaining three feet.
- Flip the stand to the upright position so that the feet are on the floor. Attach the stand top (Fig. 3 – 1) to the stand legs using eight M8x16 Carriage Bolts (Fig. 3 – 2) and eight M8 hex nuts (Fig. 3 – 3).
- Place a level (not included) on the stand top and adjust the stand feet as necessary. Make sure that both hex nuts on the feet are tight against the stand. Make sure to level the stand from both front to back and side to side.
![]() | ![]() | ![]() |
MOUNTING THE BANDSAW TO THE STAND
![]() | ![]() |
![]() | ![]() |
- Locate the four mounting holes on the top of the stand. With the help of a friend, or trustworthy foe, carefully lift the bandsaw onto the stand and align the four holes with the four mounting bracket holes (Fig. 4 – 1) on the saw.
- Place an 8mm lock washer (Fig. 4 – 2) and an 8mm flat washer (Fig. 4 – 3) onto the threaded end of a M8x35 hex bolt (Fig. 4 – 4) before fitting it through the mounting bracket and stand mounting hole. Secure the hex bolt with a flat washer and an M8 hex nut (Fig. 4 – 5) as shown in Fig. 4. Do not tighten mounting fasteners fully yet.
- Repeat step 2 for the remaining three mounting holes.
- Align the band saw so it is square to the base, then tighten all mounting fasteners.
ASSEMBLING THE BANDSAW TABLE
NOTE: The table comes with a protective coating to prevent rust. To remove this coating, while wearing gloves, wipe off the coating with a rag, then apply a small amount of acetone (nail polish remover) to a shop towel and clean the table. Apply a coat of good-quality paste wax to the table to protect it from rust.
- Position the table trunnion (Fig. 5 – 1) onto the bandsaw as shown in Fig. 5. Secure the trunnion to the bandsaw using two M8x30 hex bolts and two 8mm lock washers (Fig. 5 – 2).
- Place an M8 hex nut onto the threaded end of the M8x80 positive stop hex bolt (Fig. 5 – 3). Thread the bolt into the trunnion, leaving about two inches visible above the trunnion, as shown in Fig. 5. Once the table is installed, it will rest level on the positive stop hex bolt.
- Remove the table insert (Fig. 6 – 1) and the table pin (Fig. 6 – 2).
- Align the blade with the table slot (Fig. 6 – 3) and carefully slide it into the center of the table. Turn the table 90º counterclockwise and set it on the trunnions, so that the two mounting bolts protrude downward through the trunnions.
- Secure the table by installing the two table lock knobs (Fig. 7 – 1) onto the two protruding trunnion bolts as shown in Fig. 7.
- Replace the table insert and table pin. Make sure the table insert sits flush with the table top.
ASSEMBLING THE FENCE
![]() | ![]() |
![]() | ![]() |
- Install the front fence rail (Fig. 8 – 1) on the front side of the table using two M6x20 hex bolts, two 6mm lock washers, and two 6mm flat washers (Fig. 8 – 2).
NOTE: There are two sets of threaded holes on the front of the table. Install the bolts in the lower set of holes.
NOTE: Do not fully tighten the hardware until the front fence rail is completely installed. Position the rail evenly along the table before fully tightening the hardware. - Install the rear fence rail (Fig. 9 – 1) on the rear side of the table using two M6x16 cap screws (Fig. 9 – 2). Secure them using the included hex wrench.
- Place the M8 hex nut onto the threaded end of the fence lock handle (Fig. 10 – 1). Attach the fence lock handle to the fence (Fig. 10 – 2) and secure it by tightening the hex nut against the fence.
- Make sure that the fence lock handle is in the UP (unlocked) position. Position the fence between the blade and column as shown in Fig. 11 and place it on the front fence rail. Push the lock handle DOWN to the locked position to secure the fence to the rail.
- Place the M6 hex nut onto the fence stand-off (Fig. 11 – 1) and thread it into the underside of the fence so that it rests on the rear fence rail (Fig. 11 – 2). Make sure that the fence is level all the way across. Tighten the hex nut against the fence to secure the stand-off in place.
NOTE: The fence may not be perfectly flush against the table when it is leveled. This is normal.
SAW BLADE TENSION & TRACKING
Before initial cutting and after every blade change, check and adjust blade tracking so that the blade runs on the center of the wheels.
- Turn off the band saw and unplug it from the power source. Make sure that the blade is not moving, then adjust the upper and lower blade guides away from the blade. See “BLADE GUIDES ADJUSTMENT” section on the next page.
- Push the blade tension quick release lever (Fig. 12 – 1) to the UP (unlocked) position. Use the blade tension adjustment knob (Fig. 12 – 2) to move the red indication arrow on the blade tension scale (Fig. 12 – 3) to the correct setting for the width of blade being used.
- To tension the blade, pull the blade tension quick release lever to the DOWN (locked) position.
- Open the upper wheel cover (Fig. 13 – 1). Carefully rotate the upper wheel manually for at least three rotations (making sure not to touch the blade) and watch the blade travel. If the blade sits in the center of the tire: (Fig. A): The bandsaw is tracked properly and you do not need to make any other adjustments. If the blade is veering off to either side of the tire: Follow the next steps to adjust the blade tracking.
- Loosen the wing nut on the blade tracking knob (Fig. 12 – 4). Continue to rotate the wheel, and slowly turn the blade tracking knob in the desired direction until the blade is centered over the wheels. As viewed from the right side of the band saw, turning the blade tracking knob towards you shifts the blade to the left, and turning it away from you shifts the blade to the right.
NOTE: When adjusting the tracking knob, make small adjustments at a time. This will make the process much easier. - Once you have the blade centered, tighten the wing nut on the blade tracking adjustment knob and close the upper wheel cover.
CONNECTING TO DUST COLLECTION
Connect your band saw to the dust collection system of your choice (not included) using the dust port (Fig. 14 – 1) on the back of the unit. The dust port diameter is four inches. Hose adapters or hose clamps (not included) may be needed depending on the size of your dust hose.
NOTE: Always operate in a well-ventilated area and always use a dustcollection system. Failure to do so will cause sawdust to build up inside the machine, possibly damage the machine, and void the warranty.
![]() | ![]() |
![]() | ![]() |
BLADE GUIDE BEARING ADJUSTMENT
The blade guide bearings need to be readjusted after every blade change or blade tracking adjustment.
![]() | ![]() |
![]() | ![]() |
- Upper Thrust Bearing:
1. Loosen the assembly lock lever (Fig. 15 – 1) and ensure that the blade guide assembly is perpendicular to the blade. Retighten the assembly lock lever.
2. Loosen the thumbscrew to the left of the thrust bearing (Fig. 15 – 2) and use the knurled knob (Fig. 15 – 3) to adjust the position of the thrust bearing (Fig. 15 – 2) running along the back of the blade. The bearing should be positioned 0.5 mm from the back of the blade (Fig. B). Retighten the thumbscrew. - Upper Side Bearings:
1. Loosen the thumb screw to the right of the side bearings. Use the knurled knob (Fig. 16 – 1) to adjust the side bearings laterally so that the bearing faces are just behind the teeth of the blade (Fig. B). Retighten the thumbscrew.
2. Use the included hex wrench to loosen the guide bearing lock screw (Fig. 16 – 3), then use it to rotate the adjustment cap screws (Fig. 16 – 2). The side bearings should be positioned 0.25 mm away from the blade (Fig. C). Retighten the lock screw.
LOWER BLADE GUIDE ADJUSTMENT
The lower blade guide bearings also need to be readjusted after every blade change or blade tracking adjustment. The lower blade guide bearing assembly is located below the table. The adjustments are the same as the upper blade guide bearings.
TIP: Remove the table insert for better visibility when adjusting the lower blade guide bearings.
BLADE GUARD ADJUSTMENT
The height of the upper blade guard should be adjusted prior to every operation to accommodate the height of the workpiece.
NOTE: The bottom of the blade guard should be no more than 1/8 inch above the upper face of the workpiece.
- Loosen the guide post lock knob (Fig. 17 – 1) to adjust the entire assembly up or down. Make sure that the lock knob is tight before beginning operation.
TILTING THE TABLE
- Unlock the two table lock knobs (Fig. 18 – 1). Use the bevel scale indicator (Fig. 18 – 2) to adjust the table to the correct angle. The table can be beveled to the right 45° and to the left 15°.
- If tilting the table to the left, the positive stop bolt will need to be lowered. Follow the directions below to reset the positive stop bolt.
To set the positive stop bolt:
- Make sure that the tool is OFF and disconnected from the power source.
- Make sure that the blade is properly tensioned. Refer to the ” SAW BLADE TENSION & TRACKING” section.
- Unlock the two table lock knobs and loosen the hex nut on the positive stop bolt.
- Raise the blade guard by unlocking the guide post lock knob (Fig. 17 – 1).
- Place a machinist’s square (not included) flat on the table against the blade. Raise or lower the positive stop bolt (Fig. 19 – 1) until the table is level and square with the blade. Retighten the hex nut on the positive stop bolt.
- Rest the table on the positive stop bolt and retighten the table lock knobs. Check that the bevel scale indicator is pointing to “0” on the bevel scale. If not, loosen the bevel scale indicator screw (Fig. 18 – 2) and reposition it to point to “0”. Retighten the screw.
ALIGNING THE TABLE
When first installing the table, it is important to make sure that the blade is parallel to the miter gauge slot on the table.
- Make sure that the tool is OFF and disconnected from the power source.
- Make sure that the blade is properly tensioned. Refer to the ” SAW BLADE TENSION & TRACKING” section.
- Place a straight edge along the blade. The straight edge should be lightly touching the front and back of the blade (Fig. 20).
- Measure from both ends of the straight edge to the miter gauge slot. If the measurements are the same, the blade and table are parallel and no further adjustments are needed. If the measurements are not the same, continue on to step 5.
- Loosen the six flange bolts (Fig. 21 – 1) (3 of 6 shown) that secure the table to the trunnion brackets.
- Adjust the table until both measurements are equal.
- Retighten the six flange bolts.
![]() | ![]() |
![]() | ![]() |
ALIGNING THE FENCE
- Make sure that the tool is OFF and disconnected from the power source.
- Make sure that the table is aligned with the blade. See “ALIGNING THE TABLE”.
- Install the fence on the right side of the blade and align it against the miter gauge slot. Lock the fence in place using the fence lock lever (Fig. 22 – 1).
- If the fence is parallel with the miter gauge slot, no further adjustments are needed.
If the fence is not parallel with the miter gauge slot, continue on to step 5. - Loosen the four fence adjustment cap screws (Fig. 22 – 2) and adjust the fence parallel to the miter gauge slot. Retighten the fence adjustment cap screws.
ADJUSTING THE BLADE SPEED
Your band saw can run with blade speeds of either 1700 or 3000 FPM.
Use the chart below to determine which speed setting is correct for your operation:
To adjust the blade speed:
- Make sure that the tool is OFF and disconnected from the power source.
- Open the lower wheel cover and loosen the motor mount adjustment cap screw (Fig. 23 – 1).
- Adjust the motor so that the motor adjustment cap screw slides to the right of the slot. The tension on the ribbed v-belt (Fig. 23 – 2) will be released.
NOTE: If the motor is difficult to move, loosen the pivot cap screw (Fig. 23 – 3) slightly. - Place the v-belt on the pulleys based on your desired speed (Fig. 24). Make sure that the v-belt is properly seated in the grooves of the pulleys before beginning operation.
- Reposition the motor so that the motor adjustment cap screw slides to the left of the slot, then tighten the screw to secure tension on the belt. Lightly press the belt with a finger; it should deflect about 1/8″ (3mm). If adjustments are needed, repeat step 5.
- Make sure all screws are tightened and the belt is properly tightened, then close the lower wheel cover.
![]() | ![]() | ![]() |
| Cutting Operation | Blade Speed (FPM) | Cutting Operation | Blade Speed (FPM) |
| Most Species of Wood | 3000 | Rough Edges Acceptable | 3000 |
| Dense Hardwood | 1700 | Requires Smooth Edges | 1700 |
| Fast or Average Feed Rate | 3000 | Quick Cuts | 3000 |
| Slow Feed Rate | 1700 | Detailed Cuts | 1700 |
WARNING! The blade is extremely sharp. Only handle the blade when wearing protective gloves.
REMOVING & REPLACING THE BLADE
Removing the blade:
- Make sure that the tool is OFF and disconnected from the power source.
- Push the blade tension quick release lever to the UP position to release the tension on the blade.
- Move the blade guard all the way up by loosening the blade guide locking knob.
- Remove the fence, miter gauge, table insert, and table pin from the table.
- Open the upper and lower wheel covers.
- Only handle the blade when wearing protective gloves. Carefully remove the blade from the wheels, rotate the blade 90º, and slip it out from the table through the table slot.
Replacing the blade:
- Make sure that the tool is OFF and disconnected from the power source.
- Only handle the blade when wearing protective gloves. Position the blade so that the teeth are pointing right and down toward the table. Rotate the blade 90º and place it over the wheels while making sure that it’s fitted between the blade guides.
- Use the blade tension adjustment knob to tension the blade. See “SAW BLADE TENSION & TRACKING”. Pull the blade tension quick release lever DOWN to lock the tension.
- Check and adjust the blade tracking. See “SAW BLADE TENSION & TRACKING”.
- Check and adjust blade guide bearings. See “BLADE GUIDE BEARING ADJUSTMENT”.
- Close the wheel covers, replace the table pin, insert, miter gauge, and fence.
OPERATION & MAINTENANCE
OPERATION
![]() | ![]() | ![]() |
TURNING THE SAW ON / OFF
The bandsaw can be powered ON and OFF by pressing the ON / OFF switch (Fig. 25 – 1).
The ON / OFF switch can also be disabled and locked by inserting a padlock through the hole in the ON button (Fig. 25 – 2). This prevents accidental start-ups by unauthorized operators. The padlock should have a shaft diameter of 0.12″ – 0.15″.
USING THE MITER GAUGE
- Place the miter gauge into the slot on the table (Fig. 26 – 1).
- Loosen the knob on the gauge to set a new miter angle (between 0 and 60 degrees).
- Tighten the knob firmly before cutting begins.
NOTE: A 0° cut is a straight cut that is perpendicular to the blade.
USING THE FENCE (FIG. 27)
The fence acts as a guide for making straight cuts. Position the fence onto the work table with the side face parallel to the blade. Adjust the distance of the fence to the blade depending on the length you would like to cut. Make sure the fence is locked down before operation.
ADJUSTING THE FENCE POINTER
The fence pointer can be adjusted if it does not indicate zero. Set the side face of the fence against the blade, and ensure the pointer is aligned with the “0” mark on the fence scale. If it is not, loosen the two Phillips-head mounting screws (Fig. 26 – 2), adjust the pointer, and tighten the screws.
GENERAL CUTTING
WARNING! Operating a band saw involves a certain amount of risk. Make sure to read all the instructions and plan your work before cutting a workpiece. Wear safety goggles to protect your eyes from possible injury.
NOTE: Before cutting the actual workpiece, it’s best to use a scrap piece of lumber to check the settings and to get the feel of operating the band saw.
- Your band saw should now have been properly set up and tuned according to the Assembly & Adjustments instructions. Position the workpiece on the table and adjust the upper blade guard so that it barely clears the workpiece. The bottom of the blade guard should be no more than 1/8 inch above the upper face of the workpiece. Do not turn the power on until all adjustments have been made.
- Use the band saw for straight line operations such as cross-cutting, ripping, miter cutting, beveling, compound cutting, and resawing. To avoid twisting the blade, do not turn sharp corners; instead, saw around corners. A band saw is not capable of doing intricate inside cutting as can be done with a scroll saw. Refer to the Circle Cutting Guide for the minimum radius you can cut based on the width of the blade installed on your band saw.
WARNING! Do not use this band saw to cut any kind of metals.
CIRCLE CUTTING GUIDEBLADE WIDTH 1/8 in. 3/16 in. 1/4 in. 3/8 in. 1/2 in. 3/4 in. MINIMUM RADIUS 3/16 in. 5/16 in. 5/8 in. 1-1/2 in. 2-1/2 in. 5-1/2 in. - Slowly feed the workpiece into the saw blade. Light contact permits easier cutting and prevents unwanted friction and heating of the blade. Steadily move the workpiece through the blade without forcing it against the blade. Never position your hand in line with the cut. Always keep your hand at a safe distance from the saw blade. Use a push stick to assist cutting small workpieces.
- When the cutting operation is complete, turn off the machine and wait for the blade to come to a complete stop before leaving the work area.
MAINTENANCE
WARNING! For your own safety, turn the switch OFF and remove the plug from the electrical outlet before performing maintenance or lubricating the band saw.
- Clean off the pitch and dust which accumulates on the table, blade guides, and bearings.
- Remove pitch and dust from the upper and lower wheels using a stiff brush. Do not use solvents.
- Routinely remove the sawdust from the inside of the housing. Blow out the sawdust from the motor.
NOTE: Always use a dust collection system. Failure to do so can cause dust to build up inside the saw, possibly damaging it and voiding the warranty. - Periodically check the table top to see if the coat of paste wax applied during initial setup has worn. Re-apply a thin coat if needed to seal the table, prevent rust, and provide a smooth surface.
- Regularly inspect the machine for any damaged or missing parts. Replace blades and the wheel tires when worn.
Replace the power cord immediately if it is worn, cut, or damaged in any way. Release tension on the blade if the saw will not be used for longer than a week.
EXPLODED VIEW & PARTS LIST
BANDSAW
BANDSAW
| No. | Pad No. | Description | Qty. | No. | Pad No. | Description | Qty. |
| 1 | BA1411-1001 | Base | 1 | 74 | BA1411-1074 | Nut, M8 | 4 |
| 2 | BA1411-1002 | Hex Bolt, M6x55 | 1 | 75 | BA1411-1075 | Cord Clamp | 1 |
| 3 | BA1411-1003 | Flat Wax 40 16mm, 2 | 76 | BA1411-1076 | Phillips Head Screw, M5x12 | 1 | |
| 4 | BA1411-1004 | Nut, M16 | 1 | 79 | BA1411-1079 | Upper Blade Guide Support Block | 1 |
| 5 | BA1411-1005 | Pin | 4 | 80 | BA1411-1080 | Thumb Screw, M6x16 | 4 |
| 6 | BA1411-1006 | Lower Wheel Shaft | 1 | 81 | BA1411-1081 | Upper Thrust Bearing Post | 2 |
| 7 | BA1411-1007 | Ball Bearing, 6204LLU | 2 | 82 | BA1411-1082 | Ball Bearing, 6000ZZ | 2 |
| 8 | BA1411-1008 | Key, 5x5x25 | 2 | 83 | BA1411-1083 | Flange Screw, M 6×8 | 2 |
| 9 | BA1411-1009 | Flat Washer 8mm, x 30 | 1 | 84 | BA1411-1084 | Upper Bl Guide Rod | 1 |
| 10 | BA1411-1010 | Socket Head Button Screw, M8x16 | 1 | 85 | BA1411-1085 | Spring Washer, 5mm | 2 |
| 11 | BA1411-1011 | Motor | 1 | 86 | BA1411-1086 | Socket Head Cap Screw, M5x40 | 2 |
| N.P. | BA1411-1011.4 | Start Capacitor, 200uF 250VAC | 1 | 88 | BA1411-1088 | Lower Blade Guard | 1 |
| N.P. | BA1411-1011.6 | Centrifugal Switch | 1 | 89 | BA1411-1089 | Upper Roller Bearing Bracket | 2 |
| N.P. | BA1411-1011.11 | Run Capacitor, 20uF 250VAC | 1 | 90 | BA1411-1090 | Right Blade Guard | 1 |
| 12 | BA1411-1012 | Motor Pulley | 1 | 91 | BA1411-1091 | 6mm 3 Flat Washer, x 1 | 2 |
| 13 | BA1411-1013 | Set Screw, M6x12 | 2 | 92 | BA1411-1092 | Hex Bolt, M6x8 | 2 |
| 14 | BA1411-1014 | Power Switch | 1 | 93 | BA1411-1093 | Lower Blade Guide Support Block | 1 |
| 15 | BA1411-1015 | Self-tapping Screw, M3.5×12 | 2 | 94 | BA1411-1091 | Flat Washer, 6mm x 1 3 | 2 |
| 16 | BA1411-1016 | 8her, Flat Wasx, 4mm | 2 | 95 | BA1411-1095 | Hex Bolt, M6x20 | 2 |
| 17 | BA1411-1017 | Phillips Head Screw, M5x16 | 2 | 96 | BA1411-1096 | Socket Head Cap Screw, M5x12 | 4 |
| 18 | BA1411-1018 | Tension Indicator | 1 | 97 | BA1411-1097 | Table | 1 |
| 19 | BA1411-1019 | Toothe5d Washer’ mm | 2 | 98 | BA1411-1098 | Table Insert | 1 |
| 20 | BA1411-1020 | Switch Housing | 1 | 99 | BA1411-1099 | Spring Pin, 3 x 8 | 1 |
| 21 | BA1411-1021 | Switch Plate | 1 | 100 | BA1411-1100 | Table Pin | 1 |
| 23 | BA1411-1023 | Phillips Head Screw, M5x6 | 2 | 101 | BA1411-1101 | Table Trunnion | 2 |
| 24 | BA1411-1024 | Strain Relief | 2 | 102 | BA1411-1102 | Scale Label | 1 |
| 25 | BA1411-1025 | Power Cord | 1 | 103 | BA1411-1103 | Trunnion NutClamping | 2 |
| 26 | BA1411-1026 | Motor Cord | 1 | 104 | BA1411-1104 | Hex Bolt, M6x12 | 6 |
| 27 | BA1411-1027 | Strain Relief | 1 | 105 | BA1411-1105 | Trunnion Support Bracket | 1 |
| 28 | BA1411-1028 | Upper Frame | 1 | 106 | BA1411-1106 | Hex Bolt, M8x30 | 2 |
| 29 | BA1411-1029 | Upper Guard Knob29, M10x30 | 1 | 108 | BA1411-1108 | Pointer | 1 |
| 30 | BA1411-1030 | Upper WheelBracket | 1 | 109 | BA1411-1109 | FlangeM5 Screwx6, | 1 |
| 31 | BA1411-1031 | Wing Nut, M8 | 1 | 110 | BA1411-1110 | Table Knob, M10 | 2 |
| 32 | BA1411-1032 | Tracking Knob, M8x45 | 1 | 111 | BA1411-1111 | Hex Bolt, M10x50 | 2 |
| 33 | BA1411-1033ASM | Tension Knob Assembly | 1 | 112 | BA1411-1112 | Hex Bolt, M8x80 | 1 |
| 34 | BA1411-1034 | Steel Pin | 2 | 113 | BA1411-1113 | Nut, M8 | 1 |
| 35 | BA1411-1035ASM | Upper Wheel ShaftHinge Assembly | 1 | 114 | BA1411-1114ASM | Miter Gauge Assembly | 1 |
| 35. | BA1411-1035.1 | Upper Wheel Shaft | 1 | 115 | BA1411-1115 | Socket Head Cap Screw, M8x25 | 2 |
| 35. | BA1411-1035.2 | Spring Pin, 4x24mm | 1 | 116 | BA1411-1116 | Lock Washer, 8mm | 2 |
| 35. | BA1411-1035.3 | Upper Wheel Shaft Hinge | 1 | 117 | BA1411-1009 | Flat Wax 30, 8mm | 2 |
| 38 | BA1411-1038 | Tension Spring | 1 | 118 | BA1411-1118 | Steel Ball, 8mm | 1 |
| 39 | BA1411-1039 | Square Nut, M10 | 1 | 119 | BA1411-1119 | Spring | 1 |
| 40 | BA1411-1040 | Upper Wheel | 1 | 120 | BA1411-1120 | Set Screw, M10x10 | 1 |
| 41 | BA1411-1041 | Wheel Tire | 121 | BA1411-1121 | Set Screw, M8- 1.0×35 | 4 | |
| 42 | 8A1411-1042 | Nut, M12-1.25 | 1 | 122 | BA1411-1122 | Micro-Adjustment Knob | 4 |
| 43 | BA1411-1043 | Retaining Ring, 35mm | 2 | 123 | BA1411-1123 | Quick-Release Handle | 1 |
| 44 | BA1411-1044 | Ball Bearing, 6202LLU | 2 | 124 | BA1411-1124 | Cord Clamp | 1 |
| 45 | BA1411-1045ASM | Lower Wheel Assembly | 1 | 125 | BA1411-1125 | Phillips Head Screw, M5x12 | 1 |
| 46 | BA1411-1009 | Flat Wax 30 8mm, 1 | 126 | BA1411-1126 | Lock Nut, M4 | 2 | |
| 47 | BA1411-1047 | Hex Bolt, M8x20 (LH) | 1 | 127 | BA1411-1127 | Flat Washer 5mm, Wax 12 | 4 |
| 48 | BA1411-1048 | Lower Wheel Guard | 1 | 128 | BA1411-1128 | Ball Bearing, 608ZZ | 4 |
| 49 | BA1411-1049 | Door Knob, M8 | 2 | 129 | BA1411-1129 | Roller Bearing Cam Shaft | 4 |
| 50 | BA1411-1050 | Star Washer, 8mm | 2 | 130 | BA1411-1130 | Set Screw, M5x10 | 1 |
| 51 | BA1411-1051 | Door Latch Stud | 2 | 131 | BA1411-1131 | Upper Tension Block | 1 |
| 55 | BA1411-1055 | Phillips Head Screw, M5x12 | 2 | 132 | BA1411-1132 | Flat Washe0r, 10mm x 20 | 1 |
| 56 | BA1411-1056 | Catch | 2 | 133 | BA1411-1133 | Tension Lever | 1 |
| 57 | BA1411-1057 | Alignment Bolt, M5x27 | 2 | 134 | BA1411-1134 | 8mm 8 Flat Washer, x 1 | 6 |
| 58 | BA1411-1058 | Self-tapping Screw, M4x8 | 12 | 135 | BA1411-1135 | Bushing | 1 |
| 59 | BA1411-1059 | Upper Door | 1 | 136 | BA1411-1136 | Socket Head Button Screw, M8x20 | 1 |
| 60 | BB9337 | Blade, 93.5′ x 3/8′ x 0.025′, 6 TPI | 1 | 137 | BA1411-1137 | Bushing | 1 |
| 61 | BA1411-1061 | Upper Wheel Housing | 1 | 138 | BA1411-1138 | Hex Bolt, M8x40 | 2 |
| 62 | BA1411-1062 | Flange Screw, M5x8 | 2 | 139 | BA1411-1139 | Lock Nut, M8 | 2 |
| 63 | BA1411-1063 | Upper Hinge | 1 | 140 | BA1411-1140 | Tension Arm | 4 |
| 64 | BA1411-1064 | Spacer | 2 | 141 | BA1411-1141 | Pivot Arm | 1 |
| 65 | BA1411-1065 | Left Blade Guard | 1 | 142 | BA1411-1142 | Lock Washer, 8mm | 2 |
| 66 | BA1411-1066 | Flang4 e Washer, mm | 2 | 143 | BA1411-1136 | Socket Head Button Screw, M8x20 | 2 |
| 67 | BA1411-1067 | Self-Tapping Screw, M3.5×16 | 2 | 150 | BA1411-1150 | Tension Post | 1 |
| 68 | BA1411-1068 | Ribbed V-Belt, 200J5 | 1 | 151 | BA1411-1151 | Set Screw, M5x5 | 1 |
| 69 | BA1411-1069 | Lower Hinge | 1 | 152 | BA1411-1152 | Phillips Head Screw, M5x12 | 1 |
| 70 | BA1411-1070 | Countersunk Head Bolt, M5x10 | 4 | 153 | BA1411-1019 | Toothe5d Washer’ mm | 1 |
| 71 | BA1411-1071 | Hex Bolt, M8x35 | 4 | 154 | BA1411-1154 | Flat Waxsher, 8mm 18 | 1 |
| 72 | BA1411-1072 | 8mm 8 Flat Washer, x 1 | 8 | 155 | BA1411-1155 | SET SCREW, M5X8 | 2 |
| 73 | BA1411-1073 | Spring Washer’ 8mm | 6 |
NOTE: Not all parts may be available for purchase. Parts and accessories that wear down over the course of normal use are not covered under the warranty.
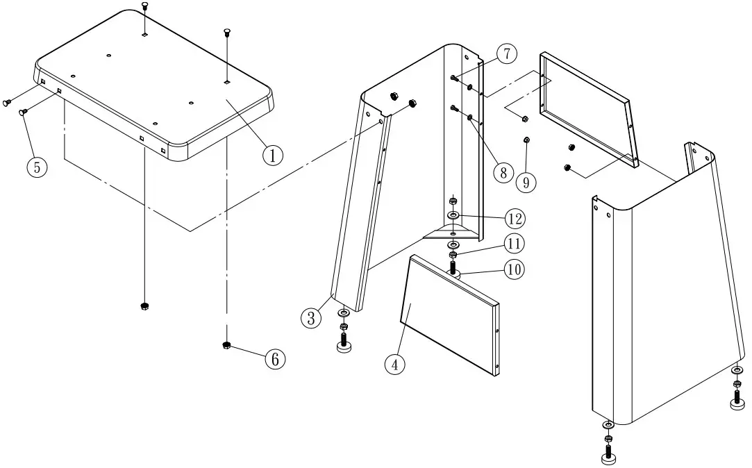
STAND
| No. | Part No. | Description | Qty. |
| 1 | BA1411-2001 | Top Panel with Cross Braces | 1 |
| 3 | BA1411-2003 | Large Side Panel | 2 |
| 4 | BA1411-2004 | Small Side Panel | 2 |
| 5 | BA1411-2005 | Carriage Bolt, M8x16 | 10 |
| 6 | BA1411-2006 | Flanged Nut, M8 | 10 |
| 7 | BA1411-2007 | Hex Bolt, M6x16 | 8 |
| 8 | BA1411-2008 | Flat Washer, 6mm x 13 | 8 |
| 9 | BA1411-2009 | Flanged Nut, M6 | 8 |
| 10 | BA1411-2010 | Foot | 4 |
| 11 | BA1411-2011 | Nut, 3/8″-16 UNC | 8 |
| 12 | BA1411-2012 | Flat Washer, 10mm x 20 | 8 |
NOTE: Not all parts may be available for purchase. Parts and accessories that wear down over the course of normal use are not covered under the warranty.
FENCE & RAIL
FENCE & RAIL
| No. | Part No. | Description | Qty. |
| ASM-1 | BA1411-3012ASM | Fence Assembly | 1 |
| ASM-2 | BA1411-3013ASM | Fence Rail Assembly | 1 |
| ASM-3 | BA1411-4001 | Square Tube | 1 |
| 1 | BA1411-3013.1 | Fence Rail Base | 1 |
| 2 | BA1411-3012.2 | Fence Base | 1 |
| 3 | BA1411-3012.3 | Fence Rod | 2 |
| 4 | BA1411-3012.4 | Lock Axle | 1 |
| 5 | BA1411-3012.5 | Spring Plate | 1 |
| 6 | BA1411-3012.6 | Spacer Plate | 1 |
| 7 | BA1411-3012.7 | Fence | 1 |
| 8 | BA1411-3012.8 | Bushing | 4 |
| 9 | BA1411-3012.9 | Ha LockM8ndle | 1 |
| 10 | BA1411-3012.10 | Fence Support Foot | 1 |
| 11 | BA1411-3012.11 | Scale Pointer | 1 |
| 12 | BA1411-3012.12 | Socket Head Cap Screw, M6x60 | 4 |
| 13 | BA1411-3012.13 | Lock Cam | 1 |
| 14 | BA1411-4014 | Fence Rail Tube | 1 |
| 15 | BA1411-3012.15 | Nut, M8 | 1 |
| 16 | BA1411 -3012’16 | Phillips-head Screw, M4x6 | 0 |
| 17 | BA1411-3013.17 | Rail End Cover | 2 |
| 18 | BA1411-3012.18 | Fence End Cover | 2 |
| 19 | BA1411-3012.19 | Rail Tube End Cover | 2 |
| 20 | BA1411-3012.20 | Self-tapping Screw, M3.5- 0.6×12 | 4 |
| 21 | BA1411-3013.21 | Scale Label | 1 |
| 22 | BA1411-3012.22 | Nut, M6 | 1 |
| 23 | BA1411-4023 | Lock6mm Washer’ | 2 |
| 24 | BA1411-4024 | Socket Head Cap Screw, M6x16 | 2 |
| 25 | BA1411-4025 | Hex Bolt M6x20′ | 2 |
| 26 | BA1411 -3013.26 | Phillips-head Screw, M4x8 | 1 |
| 27 | BA1411-2008 | Flat Washer, 6mm x 13 | 2 |
NOTE: Not all parts may be available for purchase. Parts and accessories that wear down over the course of normal use are not covered under the warranty.
PACKING LIST
| No. | Part No. | Description | Qty. | No. | Part No. | Description | Qty. |
| 1 | BA1411-3001ASM | Saw Body Assembly | 1 | 7 | BA1411-2001 | Top Panel with Cross Braces | 1 |
| 2 | BA1411-1114ASM | Miter Gauge Assembly | 1 | 8 | BA1411-2003 | Large Side Panel | 1 |
| 3 | BA1411-3003ASM | Table Assembly | 1 | 9 | BA1411-2004 | Small Side Panel | 1 |
| 4 | BA1411-1105 | Trunnion Support Bracket | 1 | 10 | BA1411-3010 | Hardware Bag, Stand | 1 |
| 5 | BA1411-3005 | Manual | 1 | 11 | BA1411-3012ASM | Fence, and Rail, Tube | 1 |
| 6 | BA1411-3006 | Hardware Saw Bag, | 1 | 12 | BA1411-3011 | Carton | 1 |
NOTE: Not all parts may be available for purchase. Parts and accessories that wear down over the course of normal use are not covered under the warranty.
WARRANTY STATEMENT
WEN Products is committed to building tools that are dependable for years. Our warranties are consistant with this commitment and our dedication to quality.
LIMITED WARRANTY OF WEN PRODUCTS FOR HOME USE
GREAT LAKES TECHNOLOGIES, LLC (“Seller’) warrants to the original purchaser only, that all WEN consumer power tools will be free from defects in material or workmanship during personal use for a period of two (2) years from date of purchase or 500 hours of use; whichever comes first. Ninety days for all WEN products if the tool is used for professional or commercial use. Purchaser has 30 days from the date of purchase to report missing or damaged parts.
SELLER’S SOLE OBLIGATION AND YOUR EXCLUSIVE REMEDY under this Limited Warranty and, to the extent permitted by law, any warranty or condition implied by law, shall be the replacement of parts, without charge, which are defective in material or workmanship and which have not been subjected to misuse, alteration, careless handling, misrepair, abuse, neglect, normal wear and tear, improper maintenance, or other conditions adversely affecting the Product or the component of the Product, whether by accident or intentionally, by persons other than Seller. To make a claim under this Limited Warranty, you must make sure to keep a copy of your proof of purchase that clearly defines the Date of Purchase (month and year) and the Place of Purchase. Place of Purchase must be a direct vendor of Great Lakes Technologies, LLC. Purchasing through third party vendors, including but not limited to garage sales, pawn shops, resale shops, or any other secondhand merchant, voids the warranty included with this product. Contact [email protected] or 1-800-232-1195 with the following information to make arrangements: your shipping address, phone number, serial number, required part numbers, and proof of purchase. Damaged or defective parts and products may need to be sent to WEN before the replacements can be shipped out.
Upon the confirmation of a WEN representative, your product may qualify for repairs and service work. When retuming a product for warranty service, the shipping charges must be prepaid by the purchaser. The product must be shipped in its original container (or an equivalent), properly packed to withstand the hazards of shipment. The product must be fully insured with a copy of the proof of purchase enclosed. There must also be a description of the problem in order to help our repairs department diagnose and fix the issue. Repairs will be made and the product will be returned and shipped back to the purchaser at no charge for addresses within the contiguous United States.
THIS LIMITED WARRANTY DOES NOT APPLY TO ITEMS THAT WEAR OUT FROM REGULAR USAGE OVER TIME, INCLUDING BELTS, BRUSHES, BLADES, BATTERIES, ETC. ANY IMPLIED WARRANTIES SHALL BE LIMITED IN DURATION TO TWO (2) YEARS FROM DATE OF PURCHASE. SOME STATES IN THE U.S. AND SOME CANADIAN PROVINCES DO NOT ALLOW LIMITATIONS ON HOW LONG AN IMPLIED WARRANTY LASTS, SO THE ABOVE LiMi-TATION MAY NOT APPLY TO YOU.
IN NO EVENT SHALL SELLER BE LIABLE FOR ANY INCIDENTAL OR CONSEQUENTIAL DAMAGES (INCLUDING BUT NOT LIMITED TO LIABILITY FOR LOSS OF PROFITS) ARISING FROM THE SALE OR USE OF THIS PRODUCT. SOME STATES IN THE U.S. AND SOME CANADIAN PROVINCES DO NOT ALLOW THE EXCLUSION OR LIMITATION OF INCIDENTAL OR CONSEQUENTIAL DAMAGES, SO THE ABOVE LIMITATION OR EXCLUSION MAY NOT APPLY TO YOU.
THIS LIMITED WARRANTY GIVES YOU SPECIFIC LEGAL RIGHTS, AND YOU MAY ALSO HAVE OTHER RIGHTS WHICH VARY FROM STATE TO STATE !N THE U.S., PROVINCE TO PROVINCE IN CANADA AND FROM COUNTRY TO COUNTRY.
THIS LIMITED WARRANTY APPLIES ONLY TO [TEMS SOLD WITHIN THE UNITED STATES OF AMERICA, CANADA AND THE COMMONWEALTH OF PUERTO RICO. FOR WARRANTY COVERAGE WITHIN OTHER COUNTRIES, CONTACT THE WEN CUSTOMER SUPPORT LINE. FOR WARRANTY PARTS OR PRODUCTS REPAIRED UNDER WARRANTY SHIPPING TO ADDRESSES OUTSIDE OF THE CONTIGUOUS UNITED STATES, ADDITIONAL SHIPPING CHARGES MAY APPLY.
NOTES————–
THANKS FOR REMEMBERING














































