metabo BAS 261 Precision Band Saw

Declaration of Conformity
- We, being solely responsible, hereby declare that these band saws, identified by type and serial number
- meet all relevant requirements of directives
- standards
- Test report
- Issuing testing authority
- Technical documents for .
Please Read First
These operating instructions have been written to make it easier foryou, the user, to learn how to operate this machine and to do so safely. These instructions should be used as follows:
- Read these instructions before use. Pay special attention to the safety information.
- These operating instructions are intended for people with basic technical knowledge regarding the operation of a machine like this or similar electrical power tools. Inexperiencend persons are strongly advised to seek competent advise and guidance from an experienced person before operating this machine.
- Keep all documents supplied with this machine for future reference. Retain your proof of purchase in case of a future warranty claim.
- This machine must not be sold or lent to someone else without being accompanied by all machine documents supplied with it.
- The manufacturer assumes no liability for any damage caused by neglect of these operating instructions.
Information in these instructions is marked as under:
- Danger!
- Risk of personal injury or environ-mental damage.
- Risk of electric shock!
- Risk of personal injury by electric shock.
- Entanglement hazard!
- Risk of personal injury by body parts or clothing being drawn into the ro-tating saw blade.
- Caution!
- Risk of material damage.
- Note:
- Additional information.
Specified Conditions of Use
- The band saw is suitable for cutting wood, plastics, non-ferrous metals (not hard metal or hardened metal).
- Do not cut round stock transverse to its longitudinal axis without suitable jigs or fixtures. The rotating saw belt could turn the work piece.
- When sawing thin stock layed on edge a suitable guide must be used for firm support.
- Any other use is not as specified. The manufacturer assumes no liability for any damage caused by unspecified use.
- Modification of the machine or use of parts not approved by the manufacturer can cause unforeseeable damage!
General Safety Information
Caution!
When using power tools, the following basic safety measures must be taken to protect against electric shock, other injury or fire.
- When using this tool, observe the following safety instructions to exclude the risk of personal injury or material damage.
- Please also observe the special safety instructions in the respective chapters.
- Where applicable, follow the legal directives or regulations for the prevention of accidents pertaining to the use of band saws.
General hazards!
- Keep your work area tidy – a messy work area invites accidents.
- Be alert. Know what you are doing. Set out to work with reason. Do not operate the machine while under the influence of drugs, alcohol or medication.
- Consider environmental conditions: Keep work area well lighted.
- Prevent adverse body positions. Ensure firm footing and keep your balance at all times.
- When working long stock use suitable supports.
- Do not operate the machine near inflammable liquids or gases.
- The machine shall only be started and operated by persons familiar with band saws and who are at any time aware of the dangers associated with the operation of such machine.
- Persons under 18 years of age shall use this machine only in the course of their vocational training, under the supervision of an instructor.
- Keep bystanders, particularly children, out of the danger zone. Do not permit other persons to touch the machine or power cable while it is running.
- Do not overload the machine – use it only within the performance range it was designed for (see “Technical Specifications”).
- Use the correct power tool for your application. The correct power tool will do the job better and safer. Danger!
Risk of electric shock!
- Do not expose the machine to rain.
Do not operate the machine in a damp or wet environment.
Prevent body contact with earthed objects such as radiators, pipes, cooking stoves, refrigerators when operating this machine. - Do not use the power cable for any purpose it is not intended for.
- Pull the plug out of the socket before making any adjustments, converting or servicing the tool or if you do not use it.
Risk of injury by moving parts!
- Do not operate the machine without installed guards.
- Always keep sufficient distance to the saw belt. Use suitable feeding aids, if necessary. Keep sufficient distance to driven components when operating this machine.
- Wait for the saw belt to come to a complete stop before removing cutoffs, scrap, etc., from the work area.
- Cut only stock of dimensions that can be safely held during cutting. Do not attempt to stop the saw belt by pushing the work piece against its side.
- Ensure the machine is disconnected from power supply before servicing.
- Ensure that when switching on (e.g. after servicing) no tools or loose parts are left on or in the machine.
- Unplug if the machine is not used.
- Do not operate tool while under the influence of drugs, alcohol or medication. There is the risk of electrical shock. Ask a qualified electrician immediately to replace a damaged mains cable.
- Regularly check extension cables and replace if damaged.
- When working out of doors, only use extension cables that are also approved for outdoors.
Cutting hazard, even with the cutting tool at standstill!
- Wear gloves when changing cutting tools.
- Store saw belts in such manner that nobody can get hurt.
Risk of kickback (work piece is caught by the saw belt and thrown against the operator)!
- Do not jam any work pieces.
- Cut thin or thin-walled work pieces only with fine-toothed band saw belts. Always use sharp band saw belts.
- If in doubt, check work piece for inclusion of foreign matter (e.g. nails or screws).
- Cut only stock of dimensions that can be safely held during cutting.
- Never cut several work pieces at the same time and also no bundles containing several individual pieces. Risk of personal injury if individual pieces are caught by the saw belts uncontrolled.
- When cutting round stock, use a suitable jig to prevent the work piece from turning.
Entangelement hazard!
- Ensure that during operation no parts of the body or clothing can be caught and drawn in by rotating components (no ties no gloves, no clothes with wide sleeves; contain long hair with a hairnet).
- Never cut workpieces to which ropes, cords, strings, cables or wires are attached or which contain such materials.
Hazard generated by insufficient personal protection gear!
- Wear hearing protection.
- Wear safety glasses.
- Wear dust mask.
- Wear suitable work clothes.
- Wear non-slip footwear.
- Wear gloves when handling the saw belts and rough work pieces.
Risk of injury by inhaled wood dust!
- Some types of wood dust (e.g. beech, oak, ash) may cause cancer when inhaled. Work only with a suitable dust collector attached to the saw. The dust collector must comply with the data stated in the technical specifications.
- See to it that only as little as possible wood dust will get into the environment:
- Remove wood dust deposit in the work area (do not blow away!);
- fix any leakages on the dust collector;
- ensure good ventilation.
Hazard generated by modification of the machine or use of parts not tested and approved by the equipment manufacturer!
- Assemble the machine in strict accordance with these instructions.
- Use only parts approved by the manufacturer. This applies especially to:
- Saw belts (see “Technical Specifications” for stock nos.);
- safety devices (see “Technical Specifications” for stock nos.).
- Do not change any parts.
Caution!
The use of other tools and accessories can result in a risk of injury.
Hazard generated by machine defects!
- Keep the machine and accessories in good repair. Observe the maintenance instructions.
- Before every use check the machine for possible damage: before operating the machine all safety devices, protective guards or slightly damaged parts need to be checked for proper function as specified. Check to see that all moving parts work properly and do not jam. All parts must be correctly installed and meet all conditions necessary for the proper operation of the machine.
- Damaged protection devices or parts must be repaired or replaced by a qualified specialist. Have damaged switches replaced by a service centre. Do not operate the machine if the switch can not be turned ON or OFF.
- Keep handles free of oil and grease.
- Keep cutting tools clean and sharpened in able to work better and safer.
- Do not used damaged or deformed saw belts.
Risk of injury by noise!
Wear hearing protection. Danger from blocking workpieces or workpiece parts!
If a blockage occurs:
- switch the machine off,
- unplug mains cable,
- wear gloves,
- Clear the blockage using a suitable tool.
Symbols on the Machine
Disregard of the following warnings may lead to serious personal injury or material damage.
- Read instructions.
- Wear protective goggles and ear protectors.
- Disconnect the mains plug before starting any setting, maintenance or repair work.
- Do not direct the light beam into the eyes of people or animals.
- Wear ear protectors.
- Height adjustment
- Set saw belt track
Information on the nameplate
- (a) Manufacturer
- (b) Serial number
- (c) Device designation
- (d) Motor data (see also “Technical data”)
- (e) Disposal symbol – Device can be disposed of via the manufacturer
- (f) CE mark – This device fulfils the EU
Directives according to the Declaration of Conformity - (g) Year of manufacture
- (h) Dimensions of permitted saw belts
Safety Devices
Upper belt guard
The upper saw belt guard (6) protects against inadvertent contact with the saw belt and against flying chips.
So that the upper saw belt cover provides sufficient protection against contact with the saw belt, the upper saw belt guide must be at least 3 mm from the work piece.
Lower saw belt guard
The lower saw belt cover (7) protects against inadvertent contact with the saw belt beneath the sawing table.
The lower saw belt guard must be installed during operation.
Housing doors
- The housing doors (4) protect against contact with the powered parts inside the saw.
- The housing doors are equipped with interlocking contacts. These turn the motor OFF when one housing door is opened while the saw is running.
- The housing doors must be closed while the machine is in use.
Push stick
- The push stick (8) serves as an extension to the hand and protects against inadvertent contact with the saw belt.
- The push stick must always be used if the distance between the saw belt and a rip fence is less than 120 mm.
- The push stick must be held at angle of 20° … 30° to the surface of the saw table.

Replace push stick if damaged.
Overview




- On/off switch cutting line illumination
- On switch
- Off switch
- Housing doors
- Turn-lock fastener for opening the housing door
- Upper saw belt guard (on the upper belt guide)
- Lower saw belt guard
- Push stick
- Hole in saw table
- Saw table
- Table insert
- Chip extraction nozzle
- Clamping screw (inclination setting saw table)
- Saw table fastening screws
- Rip fence screw on saw table
- Fence guide extrusion
- Parallel stop
- Parallel stop clamping lever
- Setting knob for saw belt tension
- Mitre fence
- Clamping handle on the mitre fence
- Setting knob (height adjustment for the upper belt guide)
- Lock nut (height adjustment for the upper belt guide)
- Upper belt guide
- Dust guard strip
- Lock nut (for setting knob for the angle of the upper band saw rollers)
- Setting knob for the angle of the upper band saw rollers
- Upper thrust bearing
- Screws for upper thrust bearing
- Upper guide bearing
- Screw for upper guide bearing
- Lower thrust bearing
- Screws for lower thrust bearing
- Lower guide bearing
- Screw for lower guide bearing
Unpacking, Erection, Assembly and Transport
Unpacking
Unpack and transport saw with assistance from a second person.
Do not lift or transport saw by holding the upper saw belt guard (6).
Fix saw
For a safe stand, the saw has to be fixed on a stable base.
Fasten to work bench:
- Drill four holes in the supporting surface.
- Put fixing bolts through the base plate and secure with nuts.
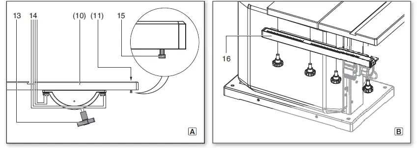
Installing the Saw Table
- Guide saw table (10) over the saw belt and place on the saw table guide.
- Fasten saw table to the saw table guide with four screws (14) and washers – do not tighten, align the saw table first (See chapter 6.4).
Align the saw table
The saw table needs to be aligned in two planes
- laterally so that the belt runs accurately in the middle of the table insert;
- at right angles to the saw belt.
Saw table lateral alignment
Danger!
Risk of injury, even with the saw belt at standstill. To loosen and tighten the fastening screws use a tool that allows for keeping your hand at a sufficient distance from the saw belt.
- Align saw table (10) such that the saw belt is located in the middle of the table insert (11).
- Tighten the four fastening screws (14).
Aligning the saw table at right angles to the saw belt
- Position the belt guide (24) at the very top.(For details see chapter 9.1).
- Check saw belt tension. (For details see chapter 8.2).
- Loosen the clamping screw (13) .
- Position the saw table (10) horizontally – tilt to the stop.
- Tighten again the clamping screw (13) .
- Use a bracket to check whether the saw table is perpendicular to the saw belt.
If the saw table is not perpendicular to the saw belt, please adjust the end stop screw (15) as follows:
- Loosen the clamping screw (13) .
- Use a hexagon key to turn the end stop screw (15) through the hole (9) in the saw table anticlockwise.
- Using an angle, align the saw table at a right angle to the saw belt and tighten again the clamping screw (13) .
- Using a hexagon spanner, turn the travel limit screw (15) through the drilled hole (9) in the saw table in a clockwise manner, until the travel limit screw (15) barely touches the saw housing.
Installing the Fence Guide
Extrusion
Fasten fence guide extrusion (16) to the saw table using four wing nuts and washers.
Fit fence guide extrusion
The rip fence (17) can be fitted both on the left or the right of the saw belt.
Clamping the rip fence
- Lock rip fence in the rear table edge.
- Place the rip fence at the front on the fence guide extrusion (16).
- Fasten rip fence by pushing the clamping lever (18) down.
Transport
- Position upper belt guide (24) at the very bottom. (For details see chapter 9.1).
- Remove projecting accessories.
- Do not lift or transport the saw at the safety installations.
- Transport the saw with the help of another person.
Machine Details
Note:
In this chapter the essential operating elements of the machine are introduced.
The proper use of the machine is described in chapter “Operation”. Read this chapter before using the saw for the first time.
ON/OFF Switch
- Switching on = Press green switch (2).
- Switching off = Press red switch (3).
Restart protection: An under-voltage relay is triggered if the electricity fails. This prevents the machine from starting up when the power is restored. To restart, the green switch button must be pressed.
Housing door turn-lock fastener
Use the turn-lock fastener (5) to open and close the housing door.
Opening the upper/lower housing door:
- Rotate the turn-lock fastener (5) several revolutions in an anti-clockwise manner. The housing door opens slightly. This activates the door interlock which switches the motor off.
Danger from exposed saw belts and band saw wheels!
If the motor does not switch off immediately after opening the door or if the door opens immediately, the door locking mechanism or the locking system is defective. Shut down the saw and return it to the Service Centre in your country for repair. - Rotate turn-lock fastener (5) further anticlockwise.
The housing door opens wide.
Closing the upper/lower housing door:
Press housing door and rotate turn-lock fastener (5) clockwise until the housing door shuts cleanly.
Setting knob for band saw belt tension
- If necessary, the tension of the saw belt can be corrected using the setting knob (19). (For details see chapter 8.2)
- Setting knob for angle of the upper band saw roller (setting the run of the saw belt) With the setting knob (27) the angle of the upper band saw roller can be changed if required. By adjusting the angle, the saw belt is aligned such that it runs in the middle of the plastic tyres of the band saw blade rollers. (For details see chapter 10.2).
Saw table tilt
After loosening the clamping screw (13) the sawtable (10) can be tilted infinitely up to 45° against the saw belt.
Rip fence
The rip fence (17) is clamped to the front and is also held in place with the hold-down clamp on the back of the saw table. The rip fence can be used on both sides of the saw belt. (For details see chapter 6.6).
Mitre fence
- The mitre fence (20) is inserted into the groove in the saw table from the front.
- For mitre cuts the mitre fence turns to 60° in both directions.
- For 45° and 90° mitres positive stops are provided.
- To adjust an angle: Release the clamping handle (21) by turning it anticlockwise
Risk of injury!
The clamping handle (21) must be tight when sawing with mitre fence.
Initial Operation
Danger!
Start the saw only after the following preparations have been completed:
- the saw is securely mounted;
- the saw table is installed and aligned;
- the safety devices checked.
Connect the saw to the mains supply only after all of the above preparations are completed! Otherwise there is a risk of an unintentional starting of the saw, which may cause serious personal injury.
Connect chip extraction
Some types of sawdust (e.g. from oak, beech and ash) can cause cancer if inhaled: Only work in a closed room with a dust collector (air speed at the extraction outlets of the saw >= 20 m/s).
Caution!
Operation without a dust collector is only possible:
- outdoors;
- for short use (up to max. 30 minutes);
- with dust respirator.
- If no dust collector is used chips will accumulate, which need to be removed periodically.
Connect duct collector or industrial vacuum cleaner with appropriate adapter to the chip extraction nozzles (12).
Tighten saw belt
Danger! Too much tension can cause the saw belt to break. Too little tension can cause the driven band saw wheel to slip and the saw belt to stop.
- Move upper belt guide (24) to the very top. (For details see chapter 9.1).
- To check the tension, using your finger, press against the saw belt in the middle between the saw table and the upper belt guide (you must not be able to impress the saw belt by more than 3 to 5 mm laterally)
- Correct tension if necessary:
- Turning the setting knob (19) clockwise increases the tension.
- Turning the setting knob (19) anticlockwise reduces the tension.
Connection to Power Mains
Danger! High voltage
- Operate the saw in only in a dry environment.
- Operate the saw only on a power source matching the following requirements (see also “Technical Specifications”):
- Mains voltage and system frequency must conform to the voltage and frequency shown on the machine´s rating label;
- Protection with an FI switch with an residual current of 30 mA;
- outlets properly installed, earthed or grounded, and tested.
Note:
Check with your local Electricity Board or your electrician if in doubt whether your house service connection meets the requirements.
- Make sure the power supply cable is out of the way, so that it does not interfere with the work and does not pose a tripping hazard or will get damaged.
- Protect the power supply cable from heat, aggressive liquids and sharp edges.
- Use only rubber cables with sufficient cross-section (3 x 1.5 mm2) as extension cable.
- Do not pull on the power supply cable to unplug.
Operation
Danger!
To reduce the risk of personal injury as much as possible, the following safety recommendations should be observed when operating the saw.
Use personal protection gear:
- dust respirator;
- ear protection;
- safety goggles.
- Cut only one work piece at a time.
- Always hold the work piece down on the table.
- Do not jam any work pieces.
- Do not try to slow the saw belt down or stop it by pushing the work piece against the saw belt from the side.
- If the type of work requires, use the following:
- Push stick – if the distance to the stop profile – saw belt <=120 mm;
- work support – for long stock, which would otherwise fall off the table on completion of the cut;
- dust collector;
- an appropriate jig when cutting round stock, to keep it from turning;

- a suitable guide for firm support when cutting thin stock laid on edge.

- Before starting work, check to see that the following are in proper working order:
- saw belt;
- upper and lower belt guard.
- Replace damaged parts immediately.
- Assume correct work position (the saw blade’s teeth must point towards the operator).
- ever cut several work pieces at the same time – and also no bundles containing several individual pieces. Risk of personal injury if individual pieces are caught by the saw blade uncontrolled.
Entanglement hazard!
- Do not wear loose clothing, jewellery, or gloves, which may get caught and wound up by revolving machine parts.
- Contain long hair with a hairnet.
- Never cut stock to which ropes, cords, strings, cables or wires are attached or which contain such materials.
Set height of the belt guide
The height of the upper belt guide (24) must be set:
- before each sawing procedure, to adjust to the height of the work piece (the upper belt guide (24) must be approx. 3 mm above the workpiece during cutting);
- after adjustments of saw belt or saw table (e.g. saw belt change, tensioning of the saw belt, saw table alignment).
Danger!
Before adjusting the upper belt guide and saw table tilt:
- switch machine OFF;
- wait until the saw belt has come to a complete stop.
- Release lock nut (23).
- Turn setting knob (22) so that the upper belt guide (24) is approx. 3 mm above the workpiece
- Retighten lock nut (23).
Sawing
- If necessary, adjust the table tilt.
Risk of kickback (work piece is caught by the saw belt and thrown against the operator)! Do not jam any work pieces. - If necessary, use the ripping fence (17) or the fence mitre (20).
Risk from tilting of work piece! When cutting with the ripping fence and inclined workpiece, the ripping fence has to be mounted at the side of the workpiece inclined downwards. - Tighten upper belt guide 3 mm above the work piece. (For details see chapter 9.1).
Note:
Always make a trial cut in a piece of scrap to verify settings; correct if necessary before cutting the work piece. - Place work piece on the saw table.
- Start saw.
- Cut work piece in a single pass.
- Switch off if no further cutting is to be done immediately afterwards
Care and Maintenance
Danger!
Prior to all servicing:
- switch machine OFF;
- Wait until the saw has come to a complete stop.
- Unplug power cable;
- Check to see that all safety devices are operational again after each service.
- Replace defective parts, especially of safety devices, only with genuine replacement parts. Parts not tested and approved by the manufacturer can cause unforeseen damage.
- Repair and maintenance work other than described in this section should only be carried out by qualified specialists
Change saw belt
Risk of injury, even with the saw belt at standstill. Wear gloves when changing belts.
Use only suitable saw belts (see “Technical Specifications”).
- Remove rip fence (17)
- Loosen the four wing screws on the fence guide extrusion (16) and remove the fence guide extrusion.
- Open both housing doors.
- Fold saw belt guard (7) forwards.
- Position upper belt guide (24) at the very bottom.
- Turn the setting knob (19) anti-clockwise until the saw belt is loose.
- Remove dust guard strip (25) by lifting and place to one side.
- To remove the saw belt, guide it through
- the gap in the saw table (10),
- the belt guard at the upper belt guide (24),
- the side belt shaft and
- the belt guides
- Fit a fresh saw belt. Check the correct position: Teeth point towards the front (door side) of the saw.
- Centre saw belt on the rubber tyres of the band saw wheels.
- Turn the setting knob (19)clockwise until the saw belt does not slip off any more.
- Replace dust guard strip (25).
- Fold lower belt guard (7) backwards (close).
Danger!
Close housing doors only when the lower belt guard is in its closed position. - Close both housing doors.
- Then:
- Tighten saw belt (see chapter 8.2);
- Align saw belt (see chapter 10.2);
- Set belt guides (see chapter 10.3 and 10.4);
- let saw test run for at least one minute;
- switch off the saw, pull the mains switch and re-check the settings and adjust, if required.
Align saw belt (set run of saw belt)
If the saw belt does not run in the centre of the rubber tyres, the tracking needs to be corrected by adjusting the tilt of the upper band saw wheel:
- Release lock nut (26).
- Turn setting knob (27):
- If the saw belt is to run more to the rear of the saw: turn setting knob (27) clockwise.
- If the saw belt should run more towards the front of the saw: Turn the setting knob (27) anti-clockwise.
- Retighten lock nut (26).
Align upper belt guide
The upper belt guide consists of:
- a thrust bearing (supporting the saw belt from the rear),
- two guide bearings (providing lateral support).
These parts must be realigned after each saw belt change and each saw belt alignment:
Note:
Periodically check all bearings for wear, if necessary replace both guide bearings at the same time.
Adjusting the thrust bearing
- Loosen screw (29) for thrust bearing.
- Align thrust bearing (28) (distance from thrust bearing belt = 0.5 mm – when the saw belt is moved by hand it must not touch the thrust bearing)
- Retighten screw (29) for thrust bearing.
Adjusting the guide bearings - Loosen screw (31) for guide bearing.
- Move guide bearing (30) so that is gently touching the saw belt.
- Retighten screw (31) for guide bearing.
- Set the guide bearing on the other side of the saw belt in the same way.
Align lower belt guide
The lower belt guide consists of:
- a thrust bearing (supporting the saw belt from the rear),
- two guide bearings (providing lateral support).
These parts need to be readjusted after every saw belt change or tracking adjustment
Note:
Periodically check thrust bearings and guide bearings for wear, if necessary replace both guide bearings at the same time
Preparation
Open lower housing door and lower saw belt guard (7).
Adjusting the thrust bearing
- Loosen screw (33) for thrust bearing.
- Align thrust bearing (32) (distance from thrust bearing belt = 0.5 mm – when the belt is moved by hand it must not touch the thrust bearing)
- Retighten screw (33) for thrust bearing.
Adjusting the guide bearings - Loosen screw (35) guide bearing.
- Move guide bearing (34) so that is gently touching the saw belt.
- Retighten screw (35) for guide bearing.
- Set the guide bearing on the other side of the saw belt in the same way.
- Close lower saw belt guard (7).
- Close the lower housing door.
Replacing the Band Saw Tyre
Regularly check the plastic tyres on the band saw rollers for wear. Replace only in pairs:
- Remove saw belt (see chapter 10.1).
- Lift band saw tyre with a small screwdriver, then pull off the band saw wheel.
- Mount new band saw tyres and reinstall the saw belt.
Table insert change
The table insert (11) must be changed if the sawing gap is damaged.
- Remove screws at table insert.
- Remove table insert.
- Insert new table insert.
- Tighten the screws at the table insert.
Cleaning the Saw
- Open the lower housing door.
- Remove chips and saw dust with brush or vacuum from:
- inside of the lower band saw housing;
- saw belt guides;
- operating elements
Storage
Store saw where
- it cannot be used or tampered with by unauthorized persons and
- cannot injure anyone standing on the device.
Caution!
Do not store the saw outdoors, in unprotected areas or in damp or wet locations
Accessories
Use only genuine Metabo accessories.
Use only accessories that fulfil the requirements and specifications listed in these operating instructions.
- A Band saw blade for wood, plastic, especially for curved cuts 1712x6x0.36 0909057175
- B Band saw blade for wood, plastic – universal cuts 1712x12x0.36 0909057183
- C Band saw blade for NF metals, plastics, aluminium, wood 1712x12x0.36 0909057191
- D Circular cutting attachment (max. cutting height 30 mm) 631327000
- E Metabo all-purpose vacuum cleaner and extraction units (see catalogue)
- F Roll stand RS 420 0910053353
For a complete range of accessories, see www.metabo.com or the catalogue.
Repairs
- Have your power tool serviced by a qualified repair person using only identical replacement parts. This will ensure that the safety of the power tool is maintained.
- If the mains connection lead of this device is damaged, it must be replaced with an original Metabo mains connection lead.
- Contact your local Metabo representative if you have Metabo power tools requiring repairs. See www.metabo.com for addresses.
- You can download a list of spare parts from www.metabo.com.
Environmental Protection
- Observe national regulations on environmentally compatible disposal and on the recycling of disused machines, packaging and accessories.
- Only for EU countries: never dispose of power tools in your household waste! Used power tools must be collected separately and handed in for environmentally compatible recycling in accordance with European Directive 2002/96/EC on waste electrical and electronic equipment and its implementation in national legal systems.
Troubleshooting
Following you will find a description of problems and faults that you may remedy yourself. If the corrective measures described here do not help, kindly refer to chapter 12. “Repairs
Following you will find a description of problems and faults that you may remedy yourself. If the corrective measures described here do not help, kindly refer to chapter 12. “Repairs”.
Danger! There are particularly many accidents in connection with problems and faults. Therefore keep in mind:
- Disconnect the mains plug prior to any fault service.
- Check to see that all safety devices are operational after each fault service.
Motor does not run
The housing doors are equipped with interlocking contacts. These turn the motor OFF when one housing door is opened while the saw is running.
- The housing doors must be closed while the machine is in use.
Undervoltage relay tripped by power failure: - switch on again.
No mains voltage - Check cables, plug, outlet and mains fuse.
Motor overheated, e.g. by a blunt saw belt or chip build-up in the housing: - remove cause for overheating, let cool down for a few minutes, then start again.
Saw belt wanders off the line of cut or runs off the band saw wheels
Saw belt is not running dead centre on the band saw wheels: - Adjust the inclination of the upper band saw roll (see chapter10.2).
Saw belt breaks
- Incorrect tension:
- Correct tension of saw belt (see chapter8.2).
Load too high:
reduce pressure against saw belt (reduced feed rate).
Incorrect saw belt:
Replace saw belt (see chapter10.1): thin work piece = narrow saw belt, thick work piece = wide saw belt. Saw belt warped
Load too high:
avoid lateral pressure on the saw belt. Saw vibrates
Insufficient mounting:
Fix saw properly on appropriate surface (see chapter6.2).
Saw table loose:
align and fasten saw table.
Motor mount loose:
check fastening screws, tighten if necessary.
Dust extraction port blocked
No dust collector connected or suction capacity insufficient:
- Connection extraction unit or increase extraction power (air speed >= 20 m/sec at the chip extraction nozzles).
Technical Specifications
Explanations of the details on page xy
Changes due to technological progress reserved.
- U =Mains voltage
- I =Rated power
- F =Min. fuse protection
- P1 =Rated input power
- P2 =Power output
- n0 =No-load speed
- v0 =Cutting speed
- SL =Saw belt length
- SB =Saw belt width
- SD =Max. belt thickness
- H =Max. cutting height
- B =Lateral passage
- W =Saw table swivel range
- A1 =Machine dimensions (LxWxH)
- A2 =Saw table dimensions (LxW)
- Ah =working height without stand
- m =weight
- D1 =connection diameter of the extraction nozzle
- AC Power
Machine in protection class II The technical specifications quoted are subject to tolerances (in compliance with the relevant valid standards).
Emission values
These values make it possible to assess the emissions from the power tool and to compare different power tools. The actual load may be higher or lower depending on the operating conditions, the condition of the power tool or the accessories. Please allow for breaks and periods for assessment purposes when the load is lower. Arrange protective measures for the user, such as organisational measures based on the adjusted estimates.
Vibration total value (vector sum of three directions) determined in accordance with EN 61029:
- ah =vibration emission value
- Kh = Uncertainty (vibration)
Typical A-effective perceived sound levels:
- LpA =sound-pressure level
- LWA =acoustic power level
- KpA, KWA= uncertainty
Wear ear protectors!
Metabowerke GmbH Metabo-Allee 1 72622 Nuertingen Germany
www.metabo.com




























