
33606 Variable Speed Jig Saw
Instruction Manual
MODEL 33606
VARIABLE SPEED JIG SAW
Instruction Manual
33606 Variable Speed Jig Saw
NEED HELP? CONTACT US!
Have product questions? Need technical support? Please feel free to contact us:
IMPORTANT: Your new tool has been engineered and manufactured to WEN’s highest standards for dependability, ease of operation, and operator safety. When properly cared for, this product will supply you years of rugged, trouble-free performance. Pay close attention to the rules for safe operation, warnings, and cautions. If you use your tool properly and for its intended purpose, you will enjoy years of safe, reliable service.
For replacement parts and the most up-to-date instruction manuals, visit WENPRODUCTS.COM
To purchase replacement parts, blades, and other accessories, visit WENPRODUCTS.COM
4-Inch T-Shank Wood Saw Blade (Model 33606BW)
3-3/8-Inch T-Shank Metal Saw Blade (Model 33606BM)
INTRODUCTION
Thanks for purchasing the WEN Jig Saw. We know you are excited to put your tool to work, but first, please take a moment to read through the manual. Safe operation of this tool requires that you read and understand this operator’s manual and all the labels affixed to the tool. This manual provides information regarding potential safety concerns, as well as helpful assembly and operating instructions for your tool.
Indicates danger, warning, or caution. The safety symbols and the explanations with them deserve your careful attention and understanding. Always follow the safety precautions to reduce the risk of fire, electric shock or personal injury. However, please note that these instructions and warnings are not substitutes for proper accident prevention measures.
NOTE: The following safety information is not meant to cover all possible conditions and situations that may occur.
WEN reserves the right to change this product and specifications at any time without prior notice.
At WEN, we are continuously improving our products. If you find that your tool does not exactly match this manual, please visit wenproducts.com for the most up-to-date manual or contact our customer service at 1-847-429-9263.
Keep this manual available to all users during the entire life of the tool and review it frequently to maximize safety for both yourself and others.
SPECIFICATIONS
| Model Number | 33606 |
| Motor | 120V AC, 60 Hz, 6.6A |
| Strokes Per Minute | 0 to 3300 SPM |
| Wood Cutting Capacity | 4-1/4 Inches (110mm) |
| Metal Cutting Capacity | 3/8 Inches (10mm) |
| Bevel Angle | 45° Left and Right |
| Dust Port Outer Diameter | 1-1/2 Inches |
| Assembled Dimensions | 9-3/8 in. x 3-1/4 in. x 8-5/8 in. |
| Product Weight | 5.4 lbs |
GENERAL SAFETY RULES
WARNING! Read all safety warnings and all instructions. Failure to follow the warnings and instructions may result in electric shock, fire and/or serious injury.
Safety is a combination of common sense, staying alert and knowing how your item works. The term “power tool” in the warnings refers to your mains-operated (corded) power tool or battery-operated (cordless) power tool.
SAVE THESE SAFETY INSTRUCTIONS.
WORK AREA SAFETY
- Keep work area clean and well lit. Cluttered or dark areas invite accidents.
- Do not operate power tools in explosive atmospheres, such as in the presence of flammable liquids, gases or dust. Power tools create sparks which may ignite the dust or fumes.
- Keep children and bystanders away while operating a power tool. Distractions can cause you to lose control.
ELECTRICAL SAFETY
- Power tool plugs must match the outlet. Never modify the plug in any way. Do not use any adapter plugs with earthed (grounded) power tools. Unmodified plugs and matching outlets will reduce risk of electric shock.
- Avoid body contact with earthed or grounded surfaces such as pipes, radiators, ranges and refrigerators. There is an increased risk of electric shock if your body is earthed or grounded.
- Do not expose power tools to rain or wet conditions. Water entering a power tool will increase the risk of electric shock.
- Do not abuse the cord. Never use the cord for carrying, pulling or unplugging the power tool. Keep cord away from heat, oil, sharp edges or moving parts. Damaged or entangled cords increase the risk of electric shock.
- When operating a power tool outdoors, use an extension cord suitable for outdoor use. Use of a cord suitable for outdoor use reduces the risk of electric shock.
- If operating a power tool in a damp location is unavoidable, use a ground fault circuit interrupter (GFCI) protected supply. Use of a GFCI reduces the risk of electric shock.
PERSONAL SAFETY
- Stay alert, watch what you are doing and use common sense when operating a power tool. Do not use a power tool while you are tired or under the influence of drugs, alcohol or medication. A moment of inattention while operating power tools may result in serious personal injury.
- Use personal protective equipment. Always wear eye protection. Protective equipment such as a respiratory mask, non-skid safety shoes and hearing protection used for appropriate conditions will reduce the risk of personal injury.
- Prevent unintentional starting. Ensure the switch is in the off-position before connecting to power source and/or battery pack, picking up or carrying the tool. Carrying power tools with your finger on the switch or energizing power tools that have the switch on invites accidents.
- Remove any adjusting key or wrench before turning the power tool on. A wrench or a key left attached to a rotating part of the power tool may result in personal injury.
- Do not overreach. Keep proper footing and balance at all times. This enables better control of the power tool in unexpected situations.
- Dress properly. Do not wear loose clothing or jewelry. Keep your hair and clothing away from moving parts. Loose clothes, jewelry or long hair can be caught in moving parts.
WARNING! Read all safety warnings and all instructions. Failure to follow the warnings and instructions may result in electric shock, fire and/or serious injury.
Safety is a combination of common sense, staying alert and knowing how your item works. The term “power tool” in the warnings refers to your mains-operated (corded) power tool or battery-operated (cordless) power tool.
SAVE THESE SAFETY INSTRUCTIONS. - If devices are provided for the connection of dust extraction and collection facilities, ensure these are connected and properly used. Use of dust collection can reduce dust-related hazards.
POWER TOOL USE AND CARE
- Do not force the power tool. Use the correct power tool for your application. The correct power tool will do the job better and safer at the rate for which it was designed.
- Do not use the power tool if the switch does not turn it on and off. Any power tool that cannot be controlled with the switch is dangerous and must be repaired.
- Disconnect the plug from the power source and/or the battery pack from the power tool before making any adjustments, changing accessories, or storing power tools. Such preventive safety measures reduce the risk of starting the power tool accidentally.
- Store idle power tools out of the reach of children and do not allow persons unfamiliar with the power tool or these instructions to operate the power tool. Power tools are dangerous in the hands of untrained users.
- Maintain power tools. Check for misalignment or binding of moving parts, breakage of parts and any other condition that may affect the power tool’s operation. If damaged, have the power tool repaired before use. Many accidents are caused by poorly maintained power tools.
- Keep cutting tools sharp and clean. Properly maintained cutting tools with sharp cutting edges are less likely to bind and are easier to control.
- Use the power tool, accessories and tool bits, etc. in accordance with these instructions, taking into account the working conditions and the work to be performed. Use of the power tool for operations different from those intended could result in a hazardous situation.
- Use clamps to secure your workpiece to a stable surface. Holding a workpiece by hand or using your body to support it may lead to loss of control.
- KEEP GUARDS IN PLACE and in working order.
SERVICE
- Have your power tool serviced by a qualified repair person using only identical replacement parts. This will ensure that the safety of the power tool is maintained.
CALIFORNIA PROPOSITION 65 WARNING
Some dust created by power sanding, sawing, grinding, drilling, and other construction activities may contain chemicals, including lead, known to the State of California to cause cancer, birth defects, or other reproductive harm. Wash hands after handling. Some examples of these chemicals are:
- Lead from lead-based paints.
- Crystalline silica from bricks, cement, and other masonry products.
- Arsenic and chromium from chemically treated lumber.
Your risk from these exposures varies depending on how often you do this type of work. To reduce your exposure to these chemicals, work in a well-ventilated area with approved safety equipment such as dust masks specially designed to filter out microscopic particles.
JIG SAW SAFETY WARNINGS
WARNING! Do not let comfort or familiarity with the product replace strict adherence to product safety rules. Failure to follow the safety instructions may result in serious personal injury.
JIG SAW SAFETY
- WORK ENVIRONMENT. Do not operate the tool in wet or damp conditions; doing so significantly increases the risk of electrical shock. Do not operate the tool in the presence of flammable liquids or gases.
- PERSONAL SAFETY. Always wear ANSI Z87.1-approved glasses, a dust mask and hearing protection when using the saw. Always maintain a firm grip by the insulated gripping surfaces only. Keep handles and hands dry, free from oil or other slippery substances. Slippery surfaces prevent you from safely maintaining control of the tool.
- PREVENTING ELECTRIC SHOCK. When working with the tool, make sure to keep the blade away from any power cables, extension cords or wiring. Only hold the tool by insulated gripping surfaces when performing an operation in case the cutter contacts its own cord. Cutting a “live” wire may make exposed metal parts of the tool “live” and could give the operator an electric shock.
- TOOL INSPECTION. Before operation, check the tool for any damage or missing parts. Do not use the tool if any part is missing or damaged. Do not use the tool if the power switch is faulty, the plug or cable is damaged, or the tool produces sparks, smoke, or unpleasant odors (you may smell brushes wearing down for a few minutes as the tool breaks in during the first use, that is normal). Make sure all adjustments are correct and all connections are tight.
- WORKPIECE INSPECTION. Check the workpiece for any nails, cracks or obstructions before commencing operation. If there are nails, be sure to remove them. If the jig saw blades strike foreign objects like nails it may cause serious personal injury from kickback.
- SECURING THE WORKPIECE. Use clamps to secure the workpiece whenever possible to prevent wobble, damage to the workpiece, and personal injury. Never hold the work by hand or against the body as it may lead to a loss of control. Small workpieces must be adequately secured so that the reciprocating jig saw blades don’t pick them up during the forward motion of the jig saw.
- STANDING POSITION. Keep your body positioned to either side of the saw blade, but not in line with cutting path. Kickback could cause the saw to jump backwards.
- STARTING THE TOOL. Always start the jig saw before the blade is in contact with the workpiece. Let the blade reach full speed before using the tool. The jig saw can vibrate, chatter, and possibly kick back if the cutting speed is too slow.
- DURING OPERATION. Do not apply excessive pressure to the tool. Overstressing the tool may cause kickback and damage the tool and accessories. Never pull the jig saw backwards over the workpiece. Use special care when working corners, sharp edges etc.
- KEEP HANDS AWAY. Keep your hands away from the cutting area. Never attempt to remove shavings or loose pieces until the blade has completely stopped. Never put your hands under the workpiece. The blades are hidden from view and you may be cut if the blade is contacted.
- CHANGING THE SAW BLADE. Check the blade for chipped or broken teeth. Only use sharp and straight saw blades. Do not use worn-out or damaged blades. Make sure the blade is securely clamped by the blade holder. If the blade is not properly installed, it may eject from the jig saw unexpectedly during operation and re- sult in personal injury.
WARNING! Do not let comfort or familiarity with the product replace strict adherence to product safety rules. Failure to follow the safety instructions may result in serious personal injury.
JIG SAW SAFETY (CONT.) - MAKING ADJUSTMENTS. Always turn off and unplug the jig saw before making adjustments or changing attachments. Accidental start-ups may occur if the jig saw is plugged in during an accessory change. Do not touch the attachment immediately after operation. Allow time for the attachment to cool and calm down before removing it.
- TOOL MAINTENANCE. Develop a periodic maintenance schedule for your tool. Follow the instructions for lubrication, storage changing accessories. Unplug the saw before making adjustments or changing accessories. Before plugging the tool back in, check that the power switch is OFF.
- CLEANING THE TOOL. When cleaning a tool be careful not to disassemble any portion of the tool. Internal wires may be misplaced or pinched and safety guard return springs may be improperly mounted. Certain cleaning agents such as gasoline, carbon tetrachloride, ammonia, etc. may damage plastic parts.
- USE COMMON SENSE. These safety instructions can’t possibly warn of every scenario that may arise with this tool, so always make sure to stay alert and use common sense during operation.
LASER SAFETY
ATTENTION: LASER RADIATION. Class 2 laser. DO NOT STARE INTO THE BEAM
- Do not look directly into the laser beam with unprotected eyes. Never look into the path of the beam.
- Never point the laser beam towards reflecting surfaces. Never point the laser towards people or animals. Even a laser beam with a low output can cause damage to the eyes.
- Remove the laser batteries before storing the jig saw for an extended period of time.
- Never open the laser module as unexpected exposure to the beam can occur. The laser cannot be replaced with a different type of laser.
- Repairs of the laser may only be carried out by the laser manufacturer or an authorized representative.
ELECTRICAL INFORMATION
DOUBLE-INSULATED TOOLS
The tool’s electrical system is double-insulated where two systems of insulation are provided. This eliminates the need for the usual three-wire grounded power cord. Double- insulated tools do not need to be grounded, nor should a means for grounding be added to the product. All exposed metal parts are isolated from the internal metal motor components with protecting insulation.![]()
IMPORTANT: Servicing a double-insulated product requires extreme care and knowledge of the system, and should be done only by qualified service personnel using identical replacement parts. Always use original factory replacement parts when servicing.
- Polarized Plugs. To reduce the risk of electric shock, this equipment has a polarized plug (one blade is wider than the other). This plug will fit in a polarized outlet only one way. If the plug does not fit fully in the outlet, reverse the plug. If it still does not fit, contact a qualified electrician to install a proper outlet. Do not modify the machine plug or the extension cord in any way.
- Ground fault circuit interrupter protection (GFCI) should be provided on the circuit or outlet used for this power tool to reduce the risk of electric shock.
- Service and repair. To avoid danger, electrical appliances must only be repaired by a qualified service technician using original replacement parts.
GUIDELINES AND RECOMMENDATIONS FOR EXTENSION CORDS
When using an extension cord, be sure to use one heavy enough to carry the current your product will draw. An undersized cord will cause a drop in line voltage, resulting in loss of power and overheating. The table below shows the correct size to be used according to cord length and ampere rating. When in doubt, use a heavier cord. The smaller the gauge number, the heavier the cord.
| AMPERAGE | REQUIRED GAUGE FOR EXTENSION CORDS | |||
| 25 ft. | 50 ft. | 100 ft. | 150 ft. | |
| 6.6A | 18 gauge | 16 gauge | 14 gauge | 12 gauge |
- Examine extension cord before use. Make sure your extension cord is properly wired and in good condition. Always replace a damaged extension cord or have it repaired by a qualified person before using it.
- Do not abuse extension cord. Do not pull on cord to disconnect from receptacle; always disconnect by pulling on plug. Disconnect the extension cord from the receptacle before disconnecting the product from the extension cord. Protect your extension cords from sharp objects, excessive heat and damp/wet areas.
- Use a separate electrical circuit for your tool. This circuit must not be less than a 12-gauge wire and should be protected with a 15A time-delayed fuse. Before connecting the motor to the power line, make sure the switch is in the OFF position and the electric current is rated the same as the current stamped on the motor nameplate. Running at a lower voltage will damage the motor.
KNOW YOUR JIG SAW
UNPACKING
With the help of a friend or trustworthy foe, such as one of your in-laws, carefully remove the jig saw from the packaging and place it on a sturdy, flat surface. Make sure to take out all contents and accessories. Do not discard the packaging until everything is removed. Check the packing list below to make sure you have all of the parts and accessories. If any part is missing or broken, please contact customer service at 1-847-429-9263 (M-F 8-5 CST), or email [email protected].
ACCESSORIES

ASSEMBLY & ADJUSTMENTS
WARNING! To avoid injury from accidental startups, be sure that the tool is switched off and disconnected from the power supply before inspecting the unit, making adjustments or changing accessories.
INSTALLING/REPLACING THE JIG SAW BLADE
The jig saw is capable of cutting a variety of materials when fitted with the correct blade. Always select the suitable blade for your operation. Your jig saw comes with a wood- cutting blade and a metal-cutting blade. Generally, use coarse-toothed blades for faster and rougher cuts. Use fine-toothed blades for smoother and more precise cuts. Use very fine-toothed blades for plastic, aluminum and steel cutting operations. Always use sharp and straight blades and replace the blade when it becomes dull or damaged.
This jigsaw is equipped with a tool-less blade changing system for fast and easy changes of T-shank blades. This jigsaw does not accept U-shank blades. Use only blades designed for use with this model (that is, T-shank blades). Jig saw blades cannot and should not be re-sharpened. Replacement jig saw blades (Model 33606BW and 33606BM) can be purchased from wenproducts.com.
WARNING! Wear safety gloves when handling saw blades. The jig saw blade is sharp and fragile and must be handled carefully to avoid injury to the user and damage to the blade.
- Make sure the tool is switched off and disconnected from the power supply. Wear safety gloves to protect your hands.
- Set the blade orbit selector to position 3 (Fig. 1).

- Pull the blade change lever (Fig. 2 – 1) clockwise to release the holder grip. Insert the blade shank into the blade holder while the lever is pulled.
NOTE: The teeth of the blade should be facing forward, and the back of the blade should rest in the grooves in the roller guide. The “T” part of the blade shank must be completely inserted into the blade holder (Fig. 3).
- Release the blade change lever to hold the blade in place. Pull on the blade to check that it is properly fitted inside the holder.
WARNING! If the blade is not properly installed, it may eject from the jig saw unexpectedly during operation and result in personal injury. - When removing the blade, make sure to direct the blade away from yourself or bystanders in case the blade ejects. Hold the blade with one hand and pull the blade change lever holder (Fig. 2 – 1) clockwise to release the holder grip. Pull out the blade from the holder.
SETTING THE BLADE ORBITAL ACTION
The blade orbit selector lever controls the blade orbit travel distance. There are 4 settings, indicated on the side housing (Fig. 4). At the 0 setting, the blade moves up and down in a straight line for smooth cutting. At the 3 setting, the blade moves in an elliptical stroke for fast, aggressive cutting. Maximum cutting efficiency can be obtained by adjusting the blade orbit selector lever to suit the material being cut. This list below is guideline to help you determine which setting to use for your application. To determine the best setting, test cuts in scrap materials first.
- Setting 0: Suits hard materials such as metals or thin sheet metals. Use this setting for plunge cuts, as well as cutting curves and sharp edges.
- Setting 1: Suits medium-hard materials (hard wood, aluminum) and thin workpieces. This setting can also be used for making round cuts and sharp edge cuts.
- Setting 2: Suits soft materials such as wood and plastics where cleaner cutting or delicate scrolling work is performed.
- Setting 3: Suits soft materials such as wood and plastics. Use this setting for faster and more aggressive cutting.

SETTING THE CUTTING SPEED
Your jig saw is equipped with a variable speed dial (Fig. 5 – 1) to set the appropriate blade stroke rate for your operation. Speed setting 1 is the lowest speed, and setting 6 is the highest speed (3300 SPM). To increase the speed, turn the wheel forward to a higher number. To decrease speed, turn the wheel backwards to a lower number.
The optimal cutting speed/stroke rate depends on the material being cut, the type of blade being used, and the feed rate preferred by the operator. As a general rule, use slower speeds for denser materials and faster speeds for softer materials. To best determine the cutting speed, test on a scrap piece of identical material and adjust accordingly.
CAUTION! When the jigsaw is used at low speed settings for an extended length of time, the motor temperature will rise due to slower speeds of the internal cooling fan. To prevent the motor from overheating, occasionally run the tool at full speed for a few minutes to keep the motor running at high efficiency.
TURNING ON THE LASER AND LED LIGHT
Your tool is equipped with a laser and LED light. Use the button on the front of the tool (Fig. 6 – 1) to control this feature.
- Press 1: Laser (see page 7 for laser safety rules)
- Press 2: Light
- Press 3: Laser and light
- Press 4: OFF
POWER INDICATION LIGHT
The power indication light turns green when the tool is connected to the power. If the light turns red, that mean that means the tool has diagnosed a problem. Disconnect the tool and contact customer service for assistance.
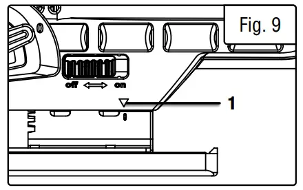
ADJUSTING THE BEVEL ANGLE
The base plate of your jig saw is pre-adjusted to 0° for making straight cuts. You can create bevel cuts by setting the base plate up to 45° to the left or right. To adjust the angle of the base plate:
- Using the included hex wrench, loosen the two hex screws (Fig. 8 – 1) from the bottom of the tool by turning them counterclockwise.
- Pull back the base plate to disengage the angle lock pin.
- Tilt the base plate to the left or right to set the angle. The angles 0°, 15°, 30° and 45° are marked on the sides of the shoe and indicated by the arrow (Fig. 9 – 1).

- Push forward the base plate to engage the angle lock pin and lock the shoe into 0°, 15°, 30° or 45° angles.
- Tighten the two hex screws (Fig. 8 – 1) with the hex wrench.

ATTACHING THE PARALLEL FENCE
- Loosen the two parallel fence lock knobs on the front of the base plate.
- The fence can be attached on either side of the tool. Insert the parallel fence through both slots on the base plate.
- To adjust the cutting width, turn on the laser by pressing the laser light to see where the cut will be. Slide the fence to the desired position.
- Lock the parallel fence in place with the two lock knobs.

USING THE AIR BLOWING SWITCH
Adjust the air blowing switch (Fig. 11 – 1) to set the your jig saw in air blowing mode or dust extraction mode.
- Push the switch back to ON position for air blowing mode. Air will be directed toward the cut when the machine is operating to clear dust from the workpiece.
- Push the switch forward to OFF position for dust extraction mode. Connect the tool to a dust collector according to the section below and the dust will be extracted through the dust port during operation.

CONNECTING THE DUST PORT ADAPTER
Your jig saw comes with a dust port adapter (Fig. 12 – 1) to connect onto the dust port on the back of your tool. The outer diameter of the dust port adapter is 1.5 inches. To extract saw dust during operation, push the air blowing switch to the OFF position and connect your tool to a dust extraction system.
To connect the dust port adapter, align the adapter with the corresponding slots in the housing. Push the adapter inward and twist counterclockwise to lock the adapter in place.
OPERATION
WARNING! To prevent serious injury, make sure all the instructions have been read and understood before operating this tool. Check that the power switch works properly before plugging the tool into the power supply.
WARNING! Wear safety goggles at all times that comply with ANSI Z87.1. Use ear protection such as plugs or muffs during extended periods of operation. Wear work gloves to protect your hands. Wear a face mask or dust mask to fight the dust.
TURNING THE TOOL ON/OFF
- To turn ON the tool, pull the power trigger (Fig. 13 – 1).
- To lock the tool ON, pull the trigger (Fig. 13 – 1) and press in the lock-on button (Fig. 13 – 2). Release the power trigger and the lock-on button will remain depressed to keep the tool running.
- To turn OFF the tool, release the power trigger. If the tool is locked ON, pull the trigger and then release the trigger and allow the lock-on button to pop out.

SAWING OPERATION
- Prepare the work space and position power cords away from the cutting area.
- Install the suitable blade and set up your saw according to the instructions in “Assembly and Adjustments” on pages 10 to 12. Connect the tool to a dust extraction system if the air blow switch has been set to the dust extraction mode.
- Check the workpiece and make sure to remove any nails or foreign objects. Draw a line on your workpiece to indicate the saw path. Secure the work piece in position with clamps or similar devices.
- Stand to the side of the saw. Avoid positioning yourself so that you’re in the path of chips and wood dust being ejected from the saw. Hold the tool firmly with both hands for maximum control.
- Set the front of the base plate onto the workpiece without letting the blade contact the workpiece. Turn on the laser (see page 7 for laser safety rules) and align the laser with the saw path that was previously drawn.
- Turn ON the saw by pressing the power trigger. Wait until the blade reaches full speed.
- Press the base plate firmly against the workpiece to reduce vibrations or breaking the blade. Apply gentle pressure and slowly move the tool along the saw path to cut.
NOTE: To achieve clean cuts, keep your sawing line straight while smoothly advancing forward. Do not force the saw forward too quickly in order to try and hurry up the process. Let the tool work at its own pace. - Once the cut is complete, clear the blade from the workpiece and then release the trigger. Wait for the blade to come to a complete stop before setting down the tool. Unplug the tool from the power outlet.
MAINTENANCE
WARNING! To avoid accidents, always disconnect the tool from the power supply before cleaning or performing any maintenance.
CLEANING
- Clean the tool after every use with a soft cloth. Keep the ventilation openings free from dust and debris. Avoid using solvents when cleaning plastic parts. Most plastics are susceptible to damage from various types of commercial solvents and may be damaged by their use.
- Remove the saw blade after use and wipe it clean with a dry cloth.
WARNING! Certain cleaning agents and solvents damage plastic parts. Some of these include but are not limited to: gasoline, carbon tetrachloride, chlorinated cleaning solvents, ammonia and household detergents that contain ammonia.
NOTE: Electric tools used on fiberglass material, wallboard, spackling compounds, or plaster are subject to accelerated wear and possible premature failure because the fiberglass chips and grindings are highly abrasive to bearings, brushes, commutators, etc. Consequently, we do not recommended using this tool for extended work on these types of materials. However, if you do work with any of these materials, it is extremely important to clean the tool using compressed air after operation.
PRODUCT DISPOSAL
Used power tools should not be disposed of together with household waste. This product contains electrical or electronic components that should be recycled. Please take this product to your local recycling facility for responsible disposal and to minimize its environmental impact.
EXPLODED VIEW & PARTS LIST

NOTE: Not all parts may be available for purchase. Parts and accessories that wear down over the course of normal use are not covered under the warranty.
| No. | Part No. | Description | Qty. |
| 1 | 33606-001 | Laser Button | 1 |
| 2 | 33606-002 | Laser Assembly | 1 |
| 3 | 33606-003 | Steel Wire Protection | 1 |
| 4 | 33606-004B | Reciprocating Screw Positioning Plate | 1 |
| 5 | 33606-005B | Ball Slide | 1 |
| 7 | 33606-007B | Reciprocating Arm Assembly | 1 |
| 8 | 33606-008B | Shaft Sleeve | 1 |
| 10 | 33606-010 | Gear Assembly | 1 |
| 11 | 33606-011 | Cylindrical Roller | 4 |
| 12 | 33606-012 | Decorative Covers | 1 |
| 13 | 33606-013 | Laser Positioning Spring | 1 |
| 14 | 33606-014B | Dust-proof Piece | 1 |
| 15 | 33606-015B | Grease Gasket | 1 |
| 16 | 33606-016 | Grease Pad | 1 |
| 17 | 33606-017B | Self-tapping Screw, ST4x30 | 2 |
| 18 | 33606-018 | Rotor | 1 |
| 19 | 33606-019 | Carbon Brush | 2 |
| 20 | 33606-020 | Brush Holder | 2 |
| 21 | 33606-021 | Self-tapping Screw, ST4x25 | 1 |
| 22 | 33606-022 | Self-tapping Screw, ST4x16 | 10 |
| 23 | 33606-023 | Stator | 1 |
| 24 | 33606-024 | Dust Port Adapter | 1 |
| 25 | 33606-025 | Speed Control Board Module | 1 |
| 26 | 33606-026B | Left Housing | 1 |
| 27 | 33606-027 | Switch | 1 |
| 28 | 33606-028 | Terminal | 1 |
| 29 | 33606-029 | Cable Clamp | 1 |
| 30 | 33606-030 | Cable Sheath | 1 |
| 31 | 33606-031 | Power Cord | 1 |
| 32 | 33606-032 | Power Indicator Module | 1 |
| No. | Part No. | Description | Qty. |
| 33 | 33606-033 | Power Indicator Module Cover | 1 |
| 34 | 33606-034 | Hex Wrench, 3mm | 1 |
| 36 | 33606-036 | Self-tapping Screw, ST4x12 | 1 |
| 37 | 33606-037 | Sealing Column | 1 |
| 38 | 33606-038 | Transparent Blade Guard | 1 |
| 39 | 33606-039 | Orbital Adjustment Shaft | 1 |
| 40 | 33606-040 | Ball, 4mm | 1 |
| 41 | 33606-041 | Knob Positioning Spring | 1 |
| 42 | 33606-042 | Blade Orbit Selector | 1 |
| 43 | 33606-043 | Tool Support Reset Torsion Spring | 1 |
| 44 | 33606-044 | Tool Support Positioning Small Shaft | 1 |
| 45 | 33606-045 | Tool Support Module | 1 |
| 46 | 33606-046B | Parallel Guide Fence | 1 |
| 47 | 33606-047 | Air Deflector | 1 |
| 48 | 33606-048 | Vacuum Blower Push Button | 1 |
| 49 | 33606-049B | Bottom Plate Positioning Plate | 1 |
| 50 | 33606-050B | Guide Fence Locking Knob | 2 |
| 51 | 33606-051B | Aluminum Base Component | 1 |
| 52 | 33606-052B | Bottom Plate Positioning Plate | 1 |
| 53 | 33606-053B | Screw, M5x16 | 1 |
| 54 | 33606-054 | Base Sheath | 1 |
| 55 | 33606-055B | Right Housing | 1 |
| N.P. | 33606BW | Wood Blade | 1 |
| N.P. | 33606BM | Metal Blade | 1 |
NOTE: Not all parts may be available for purchase. Parts and accessories that wear down over the course of normal use are not covered under the warranty.
WARRANTY STATEMENT
WEN Products is committed to building tools that are dependable for years. Our warranties are consistent with this commitment and our dedication to quality.
LIMITED WARRANTY OF WEN PRODUCTS FOR HOME USE
GREAT LAKES TECHNOLOGIES, LLC (“Seller”) warrants to the original purchaser only, that all WEN consumer power tools will be free from defects in material or workmanship during personal use for a period of two (2) years from date of purchase or 500 hours of use; whichever comes first. Ninety days for all WEN products if the tool is used for professional or commercial use. Purchaser has 30 days from the date of purchase to report missing or damaged parts.
SELLER’S SOLE OBLIGATION AND YOUR EXCLUSIVE REMEDY under this Limited Warranty and, to the extent per-mitted by law, any warranty or condition implied by law, shall be the replacement of parts, without charge, which are defective in material or workmanship and which have not been subjected to misuse, alteration, careless handling, disrepair, abuse, neglect, normal wear and tear, improper maintenance, or other conditions adversely affecting the Product or the component of the Product, whether by accident or intentionally, by persons other than Seller. To make a claim under this Limited Warranty, you must make sure to keep a copy of your proof of purchase that clearly defines the Date of Purchase (month and year) and the Place of Purchase. Place of Purchase must be a direct vendor of Great Lakes Technologies, LLC. Purchasing through third party vendors, including but not limited to garage sales, pawn shops, resale shops, or any other secondhand merchant, voids the warranty included with this product. Contact [email protected] or 1-847-429-9263 with the following information to make arrangements: your shipping address, phone number, serial number, required part numbers, and proof of purchase. Damaged or defective parts and products may need to be sent to WEN before the replacements can be shipped out.
Upon the confirmation of a WEN representative, your product may qualify for repairs and service work. When re-turning a product for warranty service, the shipping charges must be prepaid by the purchaser. The product must be shipped in its original container (or an equivalent), properly packed to withstand the hazards of shipment. The product must be fully insured with a copy of the proof of purchase enclosed. There must also be a description of the problem in order to help our repairs department diagnose and fix the issue. Repairs will be made and the product will be returned and shipped back to the purchaser at no charge for addresses within the contiguous United States.
THIS LIMITED WARRANTY DOES NOT APPLY TO ITEMS THAT WEAR OUT FROM REGULAR USAGE OVER TIME, INCLUDING BELTS, BRUSHES, BLADES, BATTERIES, ETC. ANY IMPLIED WARRANTIES SHALL BE LIMITED IN DURATION TO TWO (2) YEARS FROM DATE OF PURCHASE. SOME STATES IN THE U.S. AND SOME CANADIAN PROVINCES DO NOT ALLOW LIMITATIONS ON HOW LONG AN IMPLIED WARRANTY LASTS, SO THE ABOVE LIMI-TATION MAY NOT APPLY TO YOU.
IN NO EVENT SHALL SELLER BE LIABLE FOR ANY INCIDENTAL OR CONSEQUENTIAL DAMAGES (INCLUDING BUT NOT LIMITED TO LIABILITY FOR LOSS OF PROFITS) ARISING FROM THE SALE OR USE OF THIS PRODUCT. SOME STATES IN THE U.S. AND SOME CANADIAN PROVINCES DO NOT ALLOW THE EXCLUSION OR LIMITATION OF INCIDENTAL OR CONSEQUENTIAL DAMAGES, SO THE ABOVE LIMITATION OR EXCLUSION MAY NOT APPLY TO YOU.
THIS LIMITED WARRANTY GIVES YOU SPECIFIC LEGAL RIGHTS, AND YOU MAY ALSO HAVE OTHER RIGHTS WHICH VARY FROM STATE TO STATE IN THE U.S., PROVINCE TO PROVINCE IN CANADA AND FROM COUNTRY TO COUNTRY.
THIS LIMITED WARRANTY APPLIES ONLY TO ITEMS SOLD WITHIN THE UNITED STATES OF AMERICA, CANA-DA AND THE COMMONWEALTH OF PUERTO RICO. FOR WARRANTY COVERAGE WITHIN OTHER COUNTRIES, CONTACT THE WEN CUSTOMER SUPPORT LINE. FOR WARRANTY PARTS OR PRODUCTS REPAIRED UNDER WARRANTY SHIPPING TO ADDRESSES OUTSIDE OF THE CONTIGUOUS UNITED STATES, ADDITIONAL SHIPPING CHARGES MAY APPLY.
NOTES
THANKS FOR
REMEMBERING
1-847-429-9263 (M-F 8AM-5PM CST)
[email protected]



















