makita JV0600 Jig Saw Instruction

Explanation of general view
- Cutting action changing lever
- Switch trigger
- Lock button
- Speed adjusting dial
- Blade holder
- Blade
- Fixed position
- Released position
- Blade clamp lever
- Wrench holder
- Hex wrench
- Cutting line
- Base
- Bolt
- Edge
- Graduation
- Starting hole
- Hose
- Rip fence (Guide rule)
- Fence guide
- Threaded knob
- Pin
- Anti-splintering device
- Tool base
- Cover plate
SPECIFICATIONS
| Model | JV0600 | |
| Length of stroke | 23 mm | |
| Blade type | B type | |
| Max. cutting capacities | Wood | 90 mm |
| Mild steel | 10 mm | |
| Strokes per minute (min–1) | 500 – 3,100 | |
| Overall length | 236 mm | |
| Net weight | 2.4 kg | |
| Safety class | /II | |
- Due to our continuing program of research and devel-opment, the specifications herein are subject to change without notice.
- Specifications may differ from country to country.
- Weight according to EPTA-Procedure 01/2003
Intended use
The tool is intended for the sawing of wood, plastic and metal materials. As a result of the extensive accessory and saw blade program, the tool can be used for many purposes and is very well suited for curved or circular cuts.
Power supply
The tool should be connected only to a power supply of the same voltage as indicated on the nameplate, and can only be operated on single-phase AC supply.
They are double-insulated in accordance with European Standard and can, therefore, also be used from sockets without earth wire.
General Power Tool Safety Warnings
WARNING Read all safety warnings and all instructions. Failure to follow the warnings and instruc-tions may result in electric shock, fire and/or serious injury.
Save all warnings and instructions for future refer-ence.
JIG SAW SAFETY WARNINGS
- Hold power tool by insulated gripping surfaces when performing an operation where the cutting tool may contact hidden wiring or its own cord. Cutting accessory contacting a “live” wire may make exposed metal parts of the power tool “live” and could give the operator an electric shock.
- Use clamps or another practical way to secure and support the workpiece to a stable platform. Holding the work by hand or against your body leaves it unstable and may lead to loss of control.
- Always use safety glasses or goggles. Ordinary eye or sun glasses are NOT safety glasses.
- Avoid cutting nails. Inspect workpiece for any nails and remove them before operation.
- Do not cut oversize workpiece.
- Check for the proper clearance beyond the work-piece before cutting so that the blade will not strike the floor, workbench, etc.
- Hold the tool firmly.
- Make sure the blade is not contacting the work-piece before the switch is turned on.
- Keep hands away from moving parts.
- Do not leave the tool running. Operate the tool only when hand-held.
- Always switch off and wait for the blade to come to a complete stop before removing the blade from the workpiece.
- Do not touch the blade or the workpiece immedi-ately after operation; they may be extremely hot and could burn your skin.
- Do not operate the tool at no-load unnecessarily.
- Some material contains chemicals which may be toxic. Take caution to prevent dust inhalation and skin contact. Follow material supplier safety data.
- Always use the correct dust mask/respirator for the material and application you are working with.
WARNING:
DO NOT let comfort or familiarity with product (gained from repeated use) replace strict adherence to safety rules for the subject product. MISUSE or failure to follow the safety rules stated in this instruc-tion manual may cause serious personal injury.
SAVE THESE INSTRUCTIONS.
FUNCTIONAL DESCRIPTION
CAUTION:
- Always be sure that the tool is switched off and unplugged before adjusting or checking function on the tool.
Selecting the cutting action (Fig. 1)
- This tool can be operated with an orbital or a straight line (up and down) cutting action. The orbital cutting action thrusts the blade forward on the cutting stroke and greatly increases cutting speed.
- To change the cutting action, just turn the cutting action changing lever to the desired cutting action position.
- Refer to the table to select the appropriate cutting action.
| Position | Cutting action | Applications |
| 0 | Straight line cutting action | For cutting mild steel, stainless steel and plastics. |
| For clean cuts in wood and plywood. | ||
| I | Small orbit cutting action | For cutting mild steel, aluminum and hard wood. |
| II | Medium orbit cutting action | For cutting wood and plywood. |
| For fast cutting in aluminum and mild steel. | ||
| III | Large orbit cutting action | For fast cutting in wood and plywood. |
Switch action (Fig. 2)
CAUTION:
- Before plugging in the tool, always check to see that the switch trigger actuates properly and returns to the “OFF” position when released.
- Switch can be locked in “ON” position for ease of oper-ator comfort during extended use. Apply caution when locking tool in “ON” position and maintain firm grasp on tool.
To start the tool, simply pull the switch trigger. Release the switch trigger to stop. For continuous operation, pull the switch trigger and then push in the lock button. To stop the tool from the locked position, pull the switch trigger fully, then release it.
Speed adjusting dial (Fig. 3)
The tool speed can be infinitely adjusted by turning the speed adjusting dial. Higher speed is obtained when the speed adjusting dial is turned in the direction of number 5; lower speed is obtained when it is turned in the direc-tion of number 1.Refer to the table to select the proper speed for the work-piece to be cut. However, the appropriate speed may dif-fer with the type or thickness of the workpiece. In general, higher speeds will allow you to cut workpieces faster but the service life of the blade will be reduced.
| Workpiece to be cut | Number on adjusting dial |
| Wood | 4 – 5 |
| Mild steel | 3 – 5 |
| Stainless steel | 3 – 4 |
| Aluminum | 3 – 5 |
| Plastics | 1 – 4 |
CAUTION:
- The speed adjusting dial can be turned only as far as 5 and back to 1. Do not force it past 5 or 1, or the speed adjusting function may no longer work.
ASSEMBLY
CAUTION:
- Always be sure that the tool is switched off and unplugged before carrying out any work on the tool.
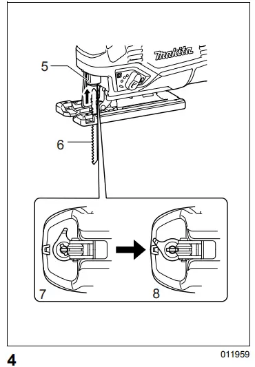
Installing or removing saw blade (Fig. 4 & 5)
CAUTION:
- Always clean out all chips or foreign matter adhering to the blade and/or blade holder. Failure to do so may cause insufficient tightening of the blade, resulting in a serious personal injury.
- Do not touch the blade or the workpiece immediately after operation; they may be extremely hot and could burn your skin.
- Use only B type blades. Using blades other than B type blades causes insufficient tightening of the blade, resulting in a serious personal injury.
- When you remove the saw blade, be careful not to hurt your fingers with the top of the blade or the tips of work-piece.
Before installing the blade, make sure that the blade clamp lever is in the released position. To install the blade, insert the blade (teeth facing forward) into the blade holder until it latches. The lever moves to the fixed position by itself and the blade is locked. Pull the blade lightly to make sure that the blade does not fall off during operation.
CAUTION:
- If the lever does not move to the fixed position by itself, the blade is not installed completely. Do not press the lever by hand to the fixed position. It may damage the tool. Make sure that the back edge of the blade fits into the roller.
To remove the blade, push the lever forward as far as it will go. This allows the blade to be released.
Hex wrench storage (Fig. 6)
When not in use, store the hex wrench as shown in the figure to keep it from being lost.
OPERATION
CAUTION:
- Always hold the base flush with the workpiece. Failure to do so may cause blade breakage, resulting in a seri-ous injury.
- Advance the tool very slowly when cutting curves or scrolling. Forcing the tool may cause a slanted cutting surface and blade breakage.
- Hold the tool firmly with one hand on the main handle when performing the tool. If necessary, the front part of the tool may be supported by the other hand.
Turn the tool on without the blade making any contact and wait until the blade attains full speed. (Fig. 7)
Then rest the base flat on the workpiece and gently move the tool forward along the previously marked cutting line.
Bevel cutting (Fig. 8, 9 & 10)


CAUTION:
- Always be sure that the tool is switched off and unplugged before tilting the tool base.
With the base tilted, you can make bevel cuts at any angle between 0° and 45° (left or right). Loosen the bolt on the back of the base with the hex wrench. Move the base so that the bolt is positioned in the center of the cross-shaped slot in the base. Tilt the base until the desired bevel angle is obtained. The edge of the housing indicates the bevel angle by graduations. Then tighten the bolt to secure the base.
Front flush cuts (Fig. 11)
Loosen the bolt on the back of the tool base with the hex wrench, and slide the base all the way back. Then tighten the bolt to secure the tool base.
Cutouts
Cutouts can be made with either of two methods A or B.
- A) Boring a starting hole
For internal cutouts without a lead-in cut from an edge, pre-drill a starting hole 12 mm or more in diam-eter. Insert the blade into this hole to start your cut.(Fig. 12)
- B) Plunge cutting
You need not bore a starting hole or make a lead-in cut if you carefully do as follows.- Tilt the tool up on the front edge of the base with the blade point positioned just above the work-piece surface. (Fig. 13)

- Apply pressure to the tool so that the front edge of the base will not move when you switch on the tool and gently lower the back end of the tool slowly.
- As the blade pierces the workpiece, slowly lower the base of the tool down onto the workpiece sur-face.
- Complete the cut in the normal manner.
- Tilt the tool up on the front edge of the base with the blade point positioned just above the work-piece surface. (Fig. 13)
Finishing edges (Fig. 14)
To trim edges or make dimensional adjustments, run the blade lightly along the cut edges.
Metal cutting
Always use a suitable coolant (cutting oil) when cutting metal. Failure to do so will cause significant blade wear. The underside of the workpiece can be greased instead of using a coolant.
Dust extraction (Fig. 15)
Clean cutting operations can be performed by connect-ing this tool to a Makita vacuum cleaner. Insert the hose of the vacuum cleaner into the hole at the rear of the tool.
Rip fence (Optional accessory)
CAUTION:
Always be sure that the tool is switched off and unplugged before installing or removing accessories.
- Straight cuts (Fig. 16 & 17)

When repeatedly cutting widths of 160 mm or less, use of the rip fence will assure fast, clean, straight cuts.
To install, insert the rip fence into the rectangular hole on the side of the base with the fence guide fac-ing down. Slide the rip fence to the desired cutting width position, then tighten the bolt to secure it. - Circular cuts (Fig. 18 & 19)


NOTE:
- Always use blades No. B-17, B-18, B-26 or B-27 when cutting circles or arcs.
Anti-splintering device (Optional accessory) (Fig. 20)
For splinter-free cuts, the anti-splintering device can be used. To install the anti-splintering device, move the tool base all the way forward and fit it from the back of tool base. When you use the cover plate, install the anti-splin-tering device onto the cover plate.
CAUTION:
- The anti-splintering device cannot be used when mak-ing bevel cuts.
Cover plate (Optional accessory) (Fig. 21)
Use the cover plate when cutting decorative veneers, plastics, etc. It protects sensitive or delicate surfaces from damage. Fit it on the back of the tool base.
MAINTENANCE
CAUTION:
- Always be sure that the tool is switched off and unplugged before attempting to perform inspection or maintenance.
- Never use gasoline, benzine, thinner, alcohol or the like. Discoloration, deformation or cracks may result.
To maintain product SAFETY and RELIABILITY, repairs, carbon brush inspection and replacement, any other maintenance or adjustment should be performed by Makita Authorized Service Centers, always using Makita replacement parts.
OPTIONAL ACCESSORIES
CAUTION:
- These accessories or attachments are recommended for use with your Makita tool specified in this manual. The use of any other accessories or attachments might present a risk of injury to persons. Only use accessory or attachment for its stated purpose.
If you need any assistance for more details regarding these accessories, ask your local Makita service center.
- Jig saw blades
- Hex wrench 3
- Rip fence (guide rule) set
- Anti-splintering device
- Hose (For vacuum cleaner)
- Cover plate
NOTE:
- Some items in the list may be included in the tool pack-age as standard accessories. They may differ from country to country.
Noise
The typical A-weighted noise level determined according to EN60745:
- Sound pressure level (LpA): 85 dB (A)
- Sound power level (LWA): 96 dB (A) Uncertainty (K): 3 dB (A)
Wear ear protection
Vibration
The vibration total value (tri-axial vector sum) determined according to EN60745:
- Work mode: cutting boards
- Vibration emission (ah, B): 10.5 m/s2 Uncertainty (K): 1.5 m/s2
- Work mode: cutting sheet metal
- Vibration emission (ah, M): 5.5 m/s2 Uncertainty (K): 1.5 m/s2
The declared vibration emission value has been mea-sured in accordance with the standard test method and may be used for comparing one tool with another. The declared vibration emission value may also be used in a preliminary assessment of exposure.
WARNING:
- The vibration emission during actual use of the power tool can differ from the declared emission value depending on the ways in which the tool is used.
- Be sure to identify safety measures to protect the oper-ator that are based on an estimation of exposure in the actual conditions of use (taking account of all parts of the operating cycle such as the times when the tool is switched off and when it is running idle in addition to the trigger time).
For European countries only
EC Declaration of Conformity
Makita declares that the following Machine(s): Designation of Machine:
Jig Saw
Model No./ Type: JV0600
Conforms to the following European Directives: 2006/42/EC
They are manufactured in accordance with the following Standard or standardized documents: EN60745
The Technical file in accordance with 2006/42/EC is available from:
Makita, Jan-Baptist Vinkstraat 2, 3070, Belgium
31.12.2013
Makita, Jan-Baptist Vinkstraat 2, 3070, Belgium




When repeatedly cutting widths of 160 mm or less, use of the rip fence will assure fast, clean, straight cuts.




















