makita 4300BA Jig Saw
Explanation of general view
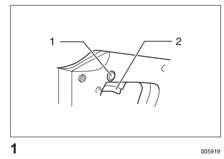
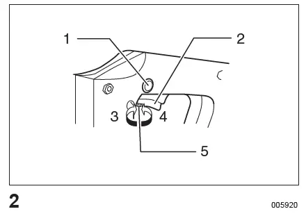
- Lock button
- Switch trigger
- Lower
- Higher
- Speed control screw
- Blade holder
- Blade set
- Bolt
- Hex wrench
- Blade shank
- Blade
- Universal blade clamp
- Universal shank blade
- Spring pin
- Hole
- Retainer
- Roller
- Screw
- Dust cover
- Guide rule (Rip fence)
- Circular guide
- Knob
- Fit pin into the hole
- Pin for circular guide
- Base
- Cutting line
- Bevel angle
- Edge of housing
- Starting hole
- Cutting oil
- Grease
- Limit mark
- Screwdriver
- Brush holder cap
SPECIFICATIONS
| Model | 4300BA | 4300BV | |
| Length of stroke | 26 mm | 26 mm | |
| Max. cutting capacities | In wood at 90° | 55 mm | 55 mm |
| In wood at 45° | 35 mm | 35 mm | |
| In steel at 90° | 6 mm | 6 mm | |
| Strokes per minute (min-1) | 3,100 | 0 – 3,100 | |
| Overall length | 225 mm | 225 mm | |
| Net weight | 2.4 kg | 2.5 kg | |
| Safety class | /II | ||
- Due to our continuing program of research and development, the specifications herein are subject to change without notice.
- Specifications may differ from country to country.
- Weight according to EPTA-Procedure 01/2003
Symbols END201-5
- The following show the symbols used for the equipment.
- Be sure that you understand their meaning before use.
- Read the instruction manual.
- DOUBLE INSULATION
Intended use
The tool is intended for the sawing of wood, plastic and metal materials. As a result of the extensive accessory and saw blade program, the tool can be used for many purposes and is very well suited for curved or circular cuts.
Power supply
The tool should be connected only to a power supply of the same voltage as indicated on the nameplate, and can only be operated on a single-phase AC supply. They are double-insulated and can, therefore, also be used from sockets without earth wire.
General Power Tool Safety Warnings
WARNING Read all safety warnings and all instructions. Failure to follow the warnings and instructions may result in electric shock, fire and/or serious injury.
Save all warnings and instructions for future reference.
The term “power tool” in the warnings refers to your mains-operated (corded) power tool or battery-operated (cordless) power tool.
Work area safety
- Keep the work area clean and well-lit. Cluttered or dark areas invite accidents.
- Do not operate power tools in explosive atmospheres, such as in the presence of flammable liquids, gases or dust. Power tools create sparks that may ignite the dust or fumes.
- Keep children and bystanders away while operating a power tool. Distractions can cause you to lose control.
Electrical safety
- Power tool plugs must match the outlet. Never modify the plug in any way. Do not use any adapter plugs with earthed (grounded) power tools. Unmodified plugs and matching outlets will reduce the risk of electric shock.
- Avoid body contact with earthed or grounded surfaces such as pipes, radiators, ranges, and refrigerators. There is an increased risk of electric shock if your body is earthed or grounded.
- Do not expose power tools to rain or wet conditions. Water entering a power tool will increase the risk of electric shock.
- Do not abuse the cord. Never use the cord for carrying, pulling or unplugging the power tool. Keep the cord away from heat, oil, sharp edges or moving parts. Damaged or entangled cords increase the risk of electric shock.
- When operating a power tool outdoors, use an extension cord suitable for outdoor use. The use of a cord suitable for outdoor use reduces the risk of electric shock.
- If operating a power tool in a damp location is unavoidable, use a residual current device (RCD) protected supply. The use of an RCD reduces the risk of electric shock.
- Use of power supply via an RCD with a rated residual current of 30 mA or less is always recommended.
Personal safety - Stay alert, watch what you are doing, and use common sense when operating a power tool. Do not use a power tool while you are tired or under the influence of drugs, alcohol or medication. A moment of inattention while operating power tools may result in serious personal injury.
- Use personal protective equipment. Always wear eye protection. Protective equipment such as dust masks, non-skid safety shoes, hard hat, or hearing protection used for appropriate conditions will reduce personal injuries.
- Prevent unintentional starting. Ensure the switch is in the off-position before connecting to a power source and/or battery pack, picking up or carrying the tool. Carrying power tools with your finger on the switch or energizing power tools that have the switch on invites accidents.
- Remove any adjusting key or wrench before turning the power tool on. A wrench or a key left attached to a rotating part of the power tool may result in personal injury.
- Do not overreach. Keep proper footing and balance at all times. This enables better control of the power tool in unexpected situations.
- Dress properly. Do not wear loose clothing or jewelry. Keep your hair, clothing, and gloves away from moving parts. Loose clothes, jewelry or long hair can be caught in moving parts.
- If devices are provided for the connection of dust extraction and collection facilities, ensure these are connected and properly used. The use of dust collection can reduce dust-related hazards. Power tool use and care
- Do not force the power tool. Use the correct power tool for your application. The correct power tool will do the job better and safer at the rate for which it was designed.
- Do not use the power tool if the switch does not turn it on and off. Any power tool that cannot be controlled with the switch is dangerous and must be repaired.
- Disconnect the plug from the power source and/ or the battery pack from the power tool before making any adjustments, changing accessories, or storing power tools. Such preventive safety measures reduce the risk of starting the power tool accidentally.
- Store idle power tools out of the reach of children and do not allow persons unfamiliar with the power tool or these instructions to operate the power tool. Power tools are dangerous in the hands of untrained users.
- Maintain power tools. Check for misalignment or binding of moving parts, breakage of parts, and any other condition that may affect the power tool’s operation. If damaged, have the power tool repaired before use? Many accidents are caused by poorly maintained power tools.
- Keep cutting tools sharp and clean. Properly maintained cutting tools with sharp cutting edges are less likely to bind and are easier to control.
- Use the power tool, accessories and tool bits, etc. in accordance with these instructions, taking into account the working conditions and the work to be performed. Use of the power tool for operations different from those intended could result in a hazardous situation. Service
- Have your power tool serviced by a qualified repair person using only identical replacement parts. This will ensure that the safety of the power tool is maintained.
- Follow instructions for lubricating and changing accessories.
- Keep handles dry, clean, and free from oil and grease.
JIG SAW SAFETY WARNINGS
- Hold power tool by insulated gripping surfaces, when performing an operation where the cutting accessory may contact hidden wiring or its own cord. Cutting accessory contacting a “live” wire may make exposed metal parts of the power tool “live” and could give the operator an electric shock.
- Use clamps or another practical way to secure and support the workpiece to a stable platform. Holding the work by hand or against your body leaves it unstable and may lead to loss of control.
- Always use safety glasses or goggles. Ordinary eye or sunglasses are NOT safety glasses.
- Avoid cutting nails. Inspect the workpiece for any nails and remove them before operation.
- Do not cut oversize workpieces.
- Check for the proper clearance beyond the workpiece before cutting so that the blade will not strike the floor, workbench, etc.
- Hold the tool firmly.
- Make sure the blade is not contacting the workpiece before the switch is turned on.
- Keep hands away from moving parts.
- Do not leave the tool running. Operate the tool only when hand-held.
- Always switch off and wait for the blade to come to a complete stop before removing the blade from the workpiece.
- Do not touch the blade or the workpiece immediately after the operation; they may be extremely hot and could burn your skin.
- Do not operate the tool at no-load unnecessarily.
- Some material contains chemicals that may be toxic. Take caution to prevent dust inhalation and skin contact. Follow material supplier safety data.
- Always use the correct dust mask/respirator for the material and application you are working with.
SAVE THESE INSTRUCTIONS
WARNING:
DO NOT let comfort or familiarity with the product (gained from repeated use) replace strict adherence to safety rules for the subject product. MISUSE or failure to follow the safety rules stated in this instruction manual may cause serious personal injury.
FUNCTIONAL DESCRIPTION
CAUTION
Always be sure that the tool is switched off and unplugged before adjusting or checking functions on the tool.
Switch action
CAUTION:
Before plugging in the tool, always check to see that the switch trigger actuates properly and returns to the “OFF” position when released.
For Model 4300BA

- To start the tool, simply pull the switch trigger. Release the switch trigger to stop. For continuous operation, pull the switch trigger and then push in the lock button. To stop the tool from the locked position, pull the switch trigger fully, then release it.
- To start the tool, simply pull the switch trigger. Tool speed is increased by increasing pressure on the switch trigger. Release the switch trigger to stop. For continuous operation, pull the switch trigger and then push in the lock button. To stop the tool from the locked position, pull the switch trigger fully, then release it. A speed control screw is provided so that maximum tool speed can be limited (variable). Turn the speed control screw clockwise for higher speed, and counterclockwise for lower speed.

ASSEMBLY
CAUTION
Always be sure that the tool is switched off and unplugged before carrying out any work on the tool.
Installing or removing saw blade

CAUTION
- Always clean out all chips or foreign matter adhering to the blade and/or blade holder. Failure to do so may cause insufficient tightening of the blade, resulting in serious personal injury.
- Do not touch the blade or the workpiece immediately after the operation as they may be extremely hot and could cause burn injury.
- Always secure the blade firmly. Insufficient tightening of the blade may cause blade breakage or serious personal injury.
First, use the hex wrench to remove the bolt that secures the blade clamp to the blade holder shaft. With the blade teeth facing forward, place the shank of the blade over the flat side of the blade holder shaft. Then place the blade clamp over the other side of the blade shank. Secure this assembly together with the bolt. Make sure that the bolt passes through the larger hole in the blade shank.
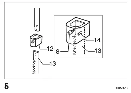
Installing the universal shank jig saw blade

- If the universal blade clamp is used, you can use blades of other makes that have a universal shank like the one shown in the figure, with a blade width of 6.35 mm.
- Remove the factory-installed blade clamp with the hex. wrench. Then loosen the bolt on the universal blade clamp, and fit the universal shank blade onto the spring pin inside the universal blade clamp. (Fig. 5)

- Now attach the universal blade clamp to the blade holder (blade in place) so that the spring pin fits into the hole in the blade holder. Tighten the bolt securely with the hex. wrench. (Fig. 6)

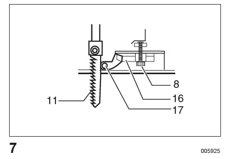
Adjusting roller

Loosen the bolt on the back of the base with the hex wrench. Move the retainer so that the roller contacts the blade lightly. Then tighten the bolt to secure the base and the retainer. However, when using a blade that does not have a straight back, slide the retainer back so that the roller will not contact the blade.
NOTE:
Occasionally lubricate the roller.
Dust cover

CAUTION:
Always wear safety goggles even when operating the tool with the dust cover. Install the dust cover in the correct position on the tool using two screws to avoid sawdust scattering.
Rip fence (optional accessory)

When cutting widths of under 150 mm repeatedly, use of the rip fence (guide rule) will assure fast, clean, straight cuts. To install it, loosen the bolt on the front of the base. Slip in the rip fence and secure the bolt. (Fig. 10)

Circular guide (optional accessory)

Use of the circular guide insures clean, smooth cutting of circles under 200 mm in radius. Insert the pin through the center hole and secure it with the threaded knob. Move the base of the tool forward fully. Then install the circular guide on the base in the same manner as the rip fence (guide rule). (Fig. 12)

OPERATION

CAUTION
- Hold the tool firmly with one hand on the main handle when using the tool. If necessary, the front part of the tool may be supported by the other hand.
- Always hold the base flush with the workpiece. Failure to do so may cause blade breakage, resulting in a serious injury.
- Advance the tool very slowly when cutting curves or scrolling. Forcing the tool may cause a slanted cutting surface and blade breakage.
Turn the tool on without the blade making any contact and wait until the blade attains full speed. Then rest the base flat on the workpiece and gently move the tool forward along the previously marked cutting line.
Bevel cutting

CAUTION
Always be sure that the tool is switched off and unplugged before tilting the base. With the base tilted, you can make bevel cuts at any angle between 0° and 45° (left or right). Loosen the bolt on the back of the base with the hex wrench and slide the base backward. Tilt the base until the desired bevel angle is obtained. The edge of the motor housing indicates the bevel angle by graduations. Then check the contact between the back edge of the blade and the roller. Now tighten the bolt to secure the base. (Fig. 15)
Front flush cuts

Loosen the bolt on the back of the tool base with the hex wrench, then move the tool base all the way back. Check the contact between the back edge of the blade and the roller. Then tighten the bolt to secure the tool base.
Cutouts
Cutouts can be made with either of two methods A or B.
Boring a starting hole

For internal cutouts without a lead-in cut from an edge, pre-drill a starting hole 12 mm or more in diameter. Insert the blade into this hole to start your cut.
Plunge cutting

You need not bore a starting hole or make a lead-in cut if you carefully do as follows.
- Tilt the tool up on the front edge of the base with the blade point positioned just above the workpiece surface.
- Apply pressure to the tool so that the front edge of the base will not move when you switch on the tool and gently lower the back end of the tool slowly.
- As the blade pierces the workpiece, slowly lower the base of the tool down onto the workpiece surface.
- Complete the cut in the normal manner.
Finishing edges

To trim edges or make dimensional adjustments, run the blade lightly along the cut edges. For smoother cutting of plywood or another workpiece with easily splintered surfaces, transparent tape may be used over your cutting line.
Metal cutting

Always use a suitable coolant (cutting oil) when cutting metal. Failure to do so will cause significant blade wear. The underside of the workpiece can be greased instead of using a coolant. (Fig. 21)

MAINTENANCE
CAUTION
- Always be sure that the tool is switched off and unplugged before attempting to perform an inspection or maintenance.
- Never use gasoline, benzine, thinner, alcohol or the like. Discoloration, deformation or cracks may result.
Replacing carbon brushes

Replacing carbon brushes (Fig. 22) Remove and check the carbon brushes regularly. Replace them when they wear down to the limit mark. Keep the carbon brushes clean and free to slip in the holders. Both carbon brushes should be replaced at the same time. Use only identical carbon brushes. Use a screwdriver to remove the brush holder caps. Take out the worn carbon brushes, insert the new ones and secure the brush holder caps. (Fig. 23) To maintain product SAFETY and RELIABILITY, repairs, any other maintenance or adjustment should be performed by Makita Authorized Service Centers, always using Makita replacement parts.

OPTIONAL ACCESSORIES
CAUTION
These accessories or attachments are recommended for use with your Makita tool specified in this manual. The use of any other accessories or attachments might present a risk of injury to persons. Only use accessory or attachment for its stated purpose. If you need any assistance for more details regarding these accessories, ask your local Makita Service Center.
- Jig saw blades
- Hex wrench 3
- Rip fence (Guide rule)
- Circular guide
- Dust cover set
NOTE
Some items in the list may be included in the tool package as standard accessories. They may differ from country to country.
Makita Corporation
3-11-8, Sumiyoshi-cho,
Anjo, Aichi 446-8502 Japan www.makita.com





















