makita JV001G Cordless Jig Saw Instruction Manual
SPECIFICATIONS
| Model: | JV001G | |
| Length of stroke | 26 mm | |
| Strokes per minute | 800 – 3,500 min-1 | |
| Blade type | B type | |
| Max. cutting capacities | Wood | 135 mm |
| Mild steel | 10 mm | |
| Aluminum | 20 mm | |
| Overall length (with BL4025) | 283 mm | |
| Rated voltage | D.C. 36 V – 40 V max | |
| Net weight | 2.6 – 2.9 kg | |
- Due to our continuing program of research and development, the specifications herein are subject to change without notice.
- Specifications may differ from country to country.
- The weight may differ depending on the attachment(s), including the battery cartridge. The lightest and heaviest combinations, according to EPTA-Procedure 01/2014, are shown in the table.
Applicable battery cartridge and charger
| Battery cartridge | BL4020 / BL4025 / BL4040 |
| Charger | DC40RA / DC40RB / DC40RC |
- Some of the battery cartridges and chargers listed above may not be available depending on your region of residence.
WARNING: Only use the battery cartridges and chargers listed above. Use of any other battery cartridges and chargers may cause injury and/or fire.
Symbols
The followings show the symbols which may be used for the equipment. Be sure that you understand their meaning before use.
Read instruction manual.
Wear safety glasses.

Only for EU countries Due to the presence of hazardous components in the equipment, waste electrical and electronic equipment, accumulators and batteries may have a negative impact on the environment and human health. Do not dispose of electrical and electronic appliances or batteries with household waste! In accordance with the European Directive on waste electrical and electronic equipment and on accumulators and batteriesand waste accumulators and batteries, as well as their adaptation to national law, waste electrical equipment, batteries and accumulators should be stored separately and delivered to a separate collection point for municipal waste, operating in accordance with the regulations on environmental protection. This is indicated by the symbol of the crossed-out wheeled bin placed on the equipment.
Intended use
The tool is intended for the sawing of wood, plastic and metal materials.
Noise
The typical A-weighted noise level determined according to EN62841-2-11:
Sound pressure level (LpA) : 87 dB (A)
Sound power level (LWA) : 98 dB (A)
Uncertainty (K) : 3 dB (A)
NOTE: The declared noise emission value(s) has been measured in accordance with a standard test method and may be used for comparing one tool with another.
NOTE: The declared noise emission value(s) may also be used in a preliminary assessment of exposure
WARNING: Wear ear protection.
WARNING: The noise emission during actual use of the power tool can differ from the declared value(s) depending on the ways in which the tool is used especially what kind of workpiece is processed.
WARNING: Be sure to identify safety measures to protect the operator that are based on an estimation of exposure in the actual conditions of use (taking account of all parts of the operating cycle such as the times when the tool is switched off and when it is running idle in addition to the trigger time).
Vibration
The vibration total value (tri-axial vector sum) determined according to EN62841-2-11:
Work mode: cutting boards
Vibration emission (ah,B) : 4.6 m/s2
Uncertainty (K) : 2.5 m/s2
Work mode: cutting sheet metal
Vibration emission (ah,M) : 4.8 m/s2
Uncertainty (K) : 1.5 m/s
NOTE: The declared vibration total value(s) has been measured in accordance with a standard test method and may be used for comparing one tool with another.
NOTE: The declared vibration total value(s) may also be used in a preliminary assessment of exposure.
WARNING: The vibration emission during actual use of the power tool can differ from the declared value(s) depending on the ways in which the tool is used especially what kind of workpiece is processed.
WARNING: Be sure to identify safety measures to protect the operator that are based on an estimation of exposure in the actual conditions ofuse (taking account of all parts of the operating cycle such as the times when the tool is switched off and when it is running idle in addition to the trigger time).
Declarations of Conformity
For European countries only
The Declarations of conformity are included in Annex A to this instruction manual.
SAFETY WARNINGS
General power tool safety warnings
WARNING Read all safety warnings, instructions, illustrations and specifications provided with this power tool. Failure to follow all instructions listed below may result in electric shock, fire and/or serious injury.
Save all warnings and instructions for future reference.
The term “power tool” in the warnings refers to your mains-operated (corded) power tool or battery-operated (cordless) power tool.
Work area safety
- Keep work area clean and well lit. Cluttered or dark areas invite accidents.
- Do not operate power tools in explosive atmospheres, such as in the presence of flammable
liquids, gases or dust. Power tools create sparks which may ignite the dust or fumes. - Keep children and bystanders away while operating a power tool. Distractions can cause you to lose control
Electrical safety
- Power tool plugs must match the outlet. Never modify the plug in any way. Do not use any adapter plugs with earthed (grounded) power tools. Unmodified plugs and matching outlets will reduce risk of electric shock.
- Avoid body contact with earthed or grounded surfaces, such as pipes, radiators, ranges and refrigerators. There is an increased risk of electric shock if your body is earthed or grounded.
- Do not expose power tools to rain or wet conditions. Water entering a power tool will increase the risk of electric shock.
- Do not abuse the cord. Never use the cord for carrying, pulling or unplugging the power tool. Keep cord away from heat, oil, sharp edges or moving parts. Damaged or entangled cords increase the risk of electric shock.
- When operating a power tool outdoors, use an extension cord suitable for outdoor use. Use of a cord suitable for outdoor use reduces the risk of electric shock.
- If operating a power tool in a damp location is unavoidable, use a residual current device (RCD) protected supply. Use of an RCD reduces the risk of electric shock.
- Power tools can produce electromagnetic fields (EMF) that are not harmful to the user.However, users of pacemakers and other similar medical devices should contact the maker of their device and/or doctor for advice before operating this power tool.
Personal safety
- Stay alert, watch what you are doing and use common sense when operating a power tool. Do not use a power tool while you are tired or under the influence of drugs, alcohol or medication. A moment of inattention while operating power tools may result in serious personal injury.
- Use personal protective equipment. Always wear eye protection. Protective equipment such as a dust mask, non-skid safety shoes, hard hat or hearing protection used for appropriate conditions will reduce personal injuries.
- Prevent unintentional starting. Ensure the switch is in the off-position before connecting to power source and/or battery pack, picking up or carrying the tool. Carrying power tools with your finger on the switch or energising power tools that have the switch on invites accidents.
- Remove any adjusting key or wrench before turning the power tool on. A wrench or a key left attached to a rotating part of the power tool may result in personal injury.
- Do not overreach. Keep proper footing and balance at all times. This enables better control of the power tool in unexpected situations.
- Dress properly. Do not wear loose clothing or jewellery. Keep your hair and clothing away from moving parts. Loose clothes, jewellery or long hair can be caught in moving parts.
- If devices are provided for the connection of dust extraction and collection facilities, ensure these are connected and properly used. Use of dust collection can reduce dust-related hazards
- Do not let familiarity gained from frequent use of tools allow you to become complacent and ignore tool safety principles. A careless action can cause severe injury within a fraction of a second.
- Always wear protective goggles to protect your eyes from injury when using power tools. The goggles must comply with ANSI Z87.1 in the USA, EN 166 in Europe, or AS/NZS 1336 in Australia/New Zealand. In Australia/New Zealand, it is legally required to wear a face shield to protect your face, too.

It is an employer’s responsibility to enforcethe use of appropriate safety protective equipments by the tool operators and by other persons in the immediate working area.
Power tool use and care
- Do not force the power tool. Use the correctpower tool for your application. The correct power tool will do the job better and safer at the rate for which it was designed.
- Do not use the power tool if the switch does not turn it on and off. Any power tool that cannot be controlled with the switch is dangerous and must be repaired.
- Disconnect the plug from the power source and/or remove the battery pack, if detachable, from the power tool before making any adjustments, changing accessories, or storing power tools. Such preventive safety measures reduce the risk of starting the power tool accidentally.
- Store idle power tools out of the reach of children and do not allow persons unfamiliar with the power tool or these instructions to operate the power tool. Power tools are dangerous in the hands of untrained users.
- Maintain power tools and accessories. Check for misalignment or binding of moving parts, breakage of parts and any other condition that may affect the power tool’s operation. If damaged, have the power tool repaired before use. Many accidents are caused by poorly maintained power tools.
- Keep cutting tools sharp and clean. Properly maintained cutting tools with sharp cutting edges are less likely to bind and are easier to control.
- Use the power tool, accessories and tool bits etc. in accordance with these instructions, taking into account the working conditions and the work to be performed. Use of the power tool for operations different from those intended could result in a hazardous situation.
- Keep handles and grasping surfaces dry, clean and free from oil and grease. Slippery handles and grasping surfaces do not allow for safe handling and control of the tool in unexpected situations.
- When using the tool, do not wear cloth work gloves which may be entangled. The entanglement of cloth work gloves in the moving parts may result in personal injury.
Battery tool use and care
- Recharge only with the charger specified by the manufacturer. A charger that is suitable for one type of battery pack may create a risk of firewhen used with another battery pack.
- Use power tools only with specifically designated battery packs. Use of any other battery packs may create a risk of injury and fire.
- When battery pack is not in use, keep it away from other metal objects, like paper clips, coins, keys, nails, screws or other small metal objects, that can make a connection from one terminal to another. Shorting the battery terminals together may cause burns or a fire.
- Under abusive conditions, liquid may be ejected from the battery; avoid contact. If contact accidentally occurs, flush with water. If liquid contacts eyes, additionally seek medical help. Liquid ejected from the battery may cause irritation or burns.
- Do not use a battery pack or tool that is damaged or modified. Damaged or modified batteries may exhibit unpredictable behaviour resulting in fire, explosion or risk of injury.
- Do not expose a battery pack or tool to fire orexcessive temperature. Exposure to fire or temperature above 130 °C may cause explosion.
- Follow all charging instructions and do not charge the battery pack or tool outside the temperature range specified in the instructions. Charging improperly or at temperatures outside the specified range may damage the battery and increase the risk of fire.
Service
- Have your power tool serviced by a qualified repair person using only identical replacement parts. This will ensure that the safety of the power tool is maintained.
- Never service damaged battery packs. Service of battery packs should only be performed by the manufacturer or authorized service providers.
- Follow instruction for lubricating and changing accessories.
Cordless jig saw safety warnings
- Hold the power tool by insulated gripping surfaces, when performing an operation where the cutting accessory may contact hidden wiring. Cutting accessory contacting a “live” wire may make exposed metal parts of the power tool “live” and could give the operator an electric shock.
- Use clamps or another practical way to secure and support the workpiece to a stable platform. Holding the workpiece by hand or against your body leaves it unstable and may lead to loss of control.
- Always use safety glasses or goggles. Ordinary eye or sun glasses are NOT safety glasses.
- Avoid cutting nails. Inspect workpiece for any nails and remove them before operation.
- Do not cut oversize workpiece.
- Check for the proper clearance around the workpiece before cutting so that the jig saw blade will not strike the floor, workbench, etc.
- Hold the tool firmly.
- Make sure the jig saw blade is not contacting the workpiece before the switch is turned on.
- Keep hands away from moving parts.
- Do not leave the tool running. Operate the tool only when hand-held.
- Always switch off and wait for the jig saw blade to come to a complete stop before removing the jig saw blade from the workpiece.
- Do not touch the jig saw blade or the workpiece immediately after operation; they may be extremely hot and could burn your skin.
- Do not operate the tool at no-load unnecessarily.
- Some material contains chemicals which may be toxic. Take caution to prevent dust inhalation and skin contact. Follow material supplier safety data.
- Always use the correct dust mask/respirator for the material and application you are working with.
SAVE THESE INSTRUCTIONS
WARNING: DO NOT let comfort or familiarity with product (gained from repeated use) replace strict adherence to safety rules for the subject product. MISUSE or failure to follow the safety rules stated in this instruction manual may cause serious personal injury
Important safety instructions for battery cartridge
- Before using battery cartridge, read all instructions and cautionary markings on (1) battery charger, (2) battery, and (3) product using battery.
- Do not disassemble or tamper with the battery cartridge. It may result in a fire, excessive heat, or explosion.
- If operating time has become excessively shorter, stop operating immediately. It may result in a risk of overheating, possible burns and even an explosion.
- If electrolyte gets into your eyes, rinse them out with clear water and seek medical attention right away. It may result in loss of your eyesight.
- Do not short the battery cartridge
- Do not touch the terminals with any conductive material.
- Avoid storing battery cartridge in a container with other metal objects such as nails, coins, etc.
- Do not expose battery cartridge to water or rain. A battery short can cause a large current flow, overheating, possible burns and even a breakdown.
- Do not store and use the tool and battery cartridge in locations where the temperature may
reach or exceed 50 °C (122 °F).
7. Do not incinerate the battery cartridge even if
it is severely damaged or is completely worn
out. The battery cartridge can explode in a fire.
8. Do not nail, cut, crush, throw, drop the battery
cartridge, or hit against a hard object to the
battery cartridge. Such conduct may result in a
fire, excessive heat, or explosion.
9. Do not use a damaged battery.
10. The contained lithium-ion batteries are subject
to the Dangerous Goods Legislation requirements.
For commercial transports e.g. by third parties,
forwarding agents, special requirement on packaging and labeling must be observed.
For preparation of the item being shipped, consulting an expert for hazardous material is required. Please also observe possibly more detailed national regulations. Tape or mask off open contacts and pack up the battery in such a manner that it cannot move around in the packaging. - When disposing the battery cartridge, remove it from the tool and dispose of it in a safe place. Follow your local regulations relating to disposal of battery.
- Use the batteries only with the products specified by Makita. Installing the batteries to non-compliant products may result in a fire, excessive heat, explosion, or leak of electrolyte.
- If the tool is not used for a long period of time, the battery must be removed from the tool.
- During and after use, the battery cartridge may take on heat which can cause burns or low temperature burns. Pay attention to the handling of hot battery cartridges.
- Do not touch the terminal of the tool immediately after use as it may get hot enough to cause burns.
- Do not allow chips, dust, or soil stuck into theterminals, holes, and grooves of the battery cartridge. It may cause heating, catching fire, burst and malfunction of the tool or battery cartridge, resulting in burns or personal injury.
- Unless the tool supports the use near high-voltage electrical power lines, do not use the battery cartridge near a high-voltage electrical power lines. It may result in a malfunction or breakdown of the tool or battery cartridge.
- Keep the battery away from children.
SAVE THESE INSTRUCTIONS.
CAUTION: Only use genuine Makita batteries. Use of non-genuine Makita batteries, or batteries that have been altered, may result in the battery bursting causing fires, personal injury and damage. It will also void the Makita warranty for the Makita tool and charger.
Tips for maintaining maximum battery life
- Charge the battery cartridge before completely discharged. Always stop tool operation and charge the battery cartridge when you notice less tool power.
- Never recharge a fully charged battery cartridge. Overcharging shortens the battery service life.
- Charge the battery cartridge with room temperature at 10 °C – 40 °C (50 °F – 104 °F). Let a hot battery cartridge cool down before charging it.
- When not using the battery cartridge, remove it from the tool or the charger.
- Charge the battery cartridge if you do not use it for a long period (more than six months).
FUNCTIONAL DESCRIPTION
CAUTION: Always be sure that the tool is switched off and the battery cartridge is removed before adjusting or checking function on the tool.
Installing or removing battery cartridge
CAUTION: Always switch off the tool before installing or removing of the battery cartridge.
CAUTION: Hold the tool and the battery cartridge firmly when installing or removing battery cartridge. Failure to hold the tool and the battery cartridge firmly may cause them to slip off your hands and result in damage to the tool and battery cartridge and a personal injury.
Red indicator 2. Button 3. Battery cartridge
To remove the battery cartridge, slide it from the tool while sliding the button on the front of the cartridge.
To install the battery cartridge, align the tongue on the battery cartridge with the groove in the housing and slip it into place. Insert it all the way until it locks in place with a little click. If you can see the red indicator as shown in the figure, it is not locked completely.
CAUTION: Always install the battery cartridge fully until the red indicator cannot be seen. If not, it may accidentally fall out of the tool, causing injury to you or someone around you.
CAUTION: Do not install the battery cartridge forcibly. If the cartridge does not slide in easily, it is not being inserted correctly.
Indicating the remaining battery capacity
Press the check button on the battery cartridge to indicate the remaining battery capacity. The indicator lamps light up for a few seconds.
- 1. Indicator lamps 2. Check button
| Indicator lamps | Remaining capacity | ||
Lighted![]() | Off![]() | Blinking![]() | |
| 75% to 100% | |||
![]() | 50% to 75% | ||
![]() | 25% to 50% | ||
![]() | 0% to 25% | ||
![]() | Charge the battery. | ||
![]() | The battery may have malfunctioned. | ||
NOTE: Depending on the conditions of use and the ambient temperature, the indication may differ slightly from the actual capacity.
NOTE: The first (far left) indicator lamp will blink when the battery protection system works
Tool / battery protection system
The tool is equipped with a tool/battery protection system. This system automatically cuts off power to the motor to extend tool and battery life. The tool will automatically stop during operation if the tool or battery is placed under one of the following conditions:
Overload protection
When the battery is operated in a manner that causes it to draw an abnormally high current, the tool automatically stops without any indication. In this situation, turn the tool off and stop the application that caused the tool to become overloaded. Then turn the tool on to restart.
Overheat protection
When the tool or battery is overheated, the tool stops automatically and the lamp blinks. In this case, let the tool and battery cool before turning the tool on again.
Overdischarge protection
When the battery capacity is not enough, the tool stops automatically. In this case, remove the battery from the tool and charge the battery.
Protections against other causes
Protection system is also designed for other causes that could damage the tool and allows the tool to stop automatically. Take all the following steps to clear the causes, when the tool has been brought to a temporary halt or stop in operation.
- Turn the tool off, and then turn it on again to restart.
- Charge the battery(ies) or replace it/them with recharged battery(ies).
- Let the tool and battery(ies) cool down
If no improvement can be found by restoring protection system, then contact your local Makita Service Center.
Selecting the cutting action
This tool can be operated with an orbital or a straight line (up and down) cutting action. The orbital cutting action thrusts the jig saw blade forward and increases cutting speed.
Cutting action changing lever
To change the cutting action, turn the cutting action changing lever to the desired cutting action position. Refer to the table to select the appropriate cutting action.
| Position | Cutting action | Applications |
| 0 | Straight line cutting action | For cutting mild steel, stainless steel and plastics. |
| For clean cuts in wood and plywood. | ||
| I | Small orbital cutting action | For cutting mild steel, aluminum and hard wood. |
| II | Medium orbital cutting action | For cutting wood and plywood. |
| For fast cutting in aluminum and mild steel. | ||
| III | Large orbital cutting action | For fast cutting in wood and plywood. |
Lighting up the front lamp
CAUTION: Do not look in the light or see the source of light directly.
Press the lock switch to turn on the lamp. Press the lock switch again to turn off the lamp.
1. Lock switch 2. Lamp
NOTICE: When the tool is overheated, the lamp blinks. Cool down the tool fully before operating the tool again.
NOTE: Use a dry cloth to wipe the dirt off the lens of the lamp. Be careful not to scratch the lens of lamp, or it may lower the illumination
Switch action
To turn on the tool, press the lock switch. The tool turns into the standby mode. To start the tool, press the ON/ standby switch in the standby mode. To stop the tool, press the ON/standby switch again. The tool turns into the standby mode. To turn off the tool, press the lock switch in the standby mode.
1. Lock switch 2. ON/standby switch
NOTE: If the tool is left for 10 seconds without any operation in the standby mode, the tool automatically turns off and the lamp goes off.
NOTE: You can also stop and turn off the tool by pressing the lock switch while the tool is operating
To decreases the brightness of the lamp, press and hold the lock switch when turning into the standby mode. About 1 second after you start pressing the lock switch, the brightness of the lamp will start to decrease, so release the lock switch when you reach the desired brightness. It turns the tool into standby mode, too. About 3 seconds after you start pressing the lock switch, the brightness of the lamp will be minimized and the brightness will not change after that.
NOTE: The brightness of the lamp cannot be adjusted while the tool is in standby mode. Turn off the tool to decrease the brightness of the lamp.
NOTE: There is no memory function for the brightness of the lamp. If you turn the lamp off and then turn it on, the brightness of the lamp will be maximized each time.
Speed adjusting dial
1. Speed adjusting dial
The tool speed can be adjusted by turning the speed adjusting dial. You can get the highest speed at 6 and the lowest speed at 1. Refer to the table to select the proper speed for the workpiece to be cut. However, the appropriate speed may differ with the type or thickness of the workpiece. In general, higher speeds will allow you to cut workpieces faster but the service life of the jig saw blade will be reduced.
| Workpiece | Number |
| Wood | 4 – 6 |
| Mild steel | 3 – 6 |
| Stainless steel | 3 – 4 |
| Aluminum | 3 – 6 |
| Plastics | 1 – 4 |
NOTICE: The speed adjusting dial can be turned only as far as 6 and back to 1. Do not force it past 6 or 1, or the speed adjusting function may no longer work.
Electronic function
The tool is equipped with the electronic functions for easy operation.
Soft start
The soft-start function minimizes start-up shock, and makes the tool start smoothly.
Constant speed control
Electronic speed control for obtaining constant speed. Possible to get fine finish, because the rotating speed is kept constant even under load condition.
Soft no-load rotation
When the speed adjusting dial is set to “3” or higher, the tool automatically reduces the speed at no-load to reduce the vibration and align the jig saw blade with the cutting line easily. Once the tool starts cutting the workpiece, the tool speed increase and reach the preset speed.
NOTE: When the temperature is low, this function may not be available. This function also may not be available depending on the type of the material.
NOTE: If the speed does not decrease after cutting the workpiece, turn off the tool and then turn on it again.
Disabling or enabling the soft no-load rotation function
To disable or enable the soft no-load rotation function, follow the steps below.
- Make sure that the tool is turned off.
- Set the speed adjusting dial to “1”.
- Press the lock switch to turn on the tool.
- Turn the speed adjusting dial to “6”, and then set it back to “1”.
The lamp blinks twice when the soft no-load rotation function is disabled or enabled. To enable or disable this function again, perform the same procedure again.
NOTE: If the soft no-load rotation function is disabled, the lamp blinks twice when the tool is turned on.
NOTE: You can also disable or enable the soft no-load rotation function by changing the speed adjusting dial to “6” – “1” – “6”.
Electric brake
This tool is equipped with an electric brake. If the tool consistently fails to quickly stop after the switch trigger is released, have the tool serviced at a Makita service center.
ASSEMBLY
CAUTION: Always be sure that the tool is switched off and the battery cartridge is removed before carrying out any work on the tool.
Installing or removing jig saw blade
CAUTION: Always clean out all chips or foreign matter adhering to the jig saw blade and/or blade holder. Failure to do so may cause insufficient tightening of the jig saw blade, resulting in a serious personal injury.
CAUTION: Do not touch the jig saw blade or the workpiece immediately after operation. They may be extremely hot and could burn your skin.
CAUTION: Always secure the jig saw blade firmly. Insufficient tightening of the jig saw blade may cause the blade breakage or serious personal injury.
CAUTION: When you remove the jig saw blade, be careful not to hurt your fingers with the top of the jig saw blade or the tips of workpiece.
Before installing the jig saw blade, make sure that the jig saw blade clamp lever is in the released position. To install the jig saw blade, insert the jig saw blade (teeth facing forward) into the jig saw blade holder until it latches. The jig saw blade clamp lever moves to the fixed position by itself and the jig saw blade is locked. Make sure that the back edge of the jig saw blade fits into the roller. Pull the jig saw blade lightly to make sure that the jig saw blade does not fall off during operation.
Jig saw blade clamp lever (fixed position) 2. Jig saw blade clamp lever (released position)
Jig saw blade holder 2. Jig saw blade clamp lever (released position) 3. Jig saw blade 4. Rolle
CAUTION: Do not open the tool opener excessively, or it may cause tool damage.
To remove the jig saw blade, open the tool opener forward as far as it will go. This allows the jig saw blade to be released.
Jig saw blade holder 2. Tool opener 3. Jig saw blade
NOTE: In case that it is difficult to remove the jig saw blade:
Turn the cutting action changing lever to the position “III” and slightly switch on the tool several times so that the jig saw blade holder moves to the bottom. Make sure the jig saw blade clamp lever is in the fixed position when switch on the tool.
Remove the battery cartridge from the tool before installing or removing the jig saw blade.
NOTE: Occasionally lubricate the roller.
Hex wrench storage
When not in use, store the hex wrench as shown in the figure to keep it from being lost.
1. Base 2. Hex wrench
Cover plate
Use the cover plate when cutting decorative veneers, plastics, etc. It protects sensitive or delicate surfaces from damage. Fit it on the bottom of the tool base.
1. Cover plate 2. Base
Anti-splintering device
CAUTION: The anti-splintering device cannot be used when making bevel cuts.
For splinter-free cuts, the anti-splintering device can be used. To install the anti-splintering device, move the tool base all the way forward and fit it from the bottom of tool base.
When you use the cover plate, install the anti-splintering device onto the cover plate.
1. Base 2. Anti-splintering device
Dust extraction
Optional accessory
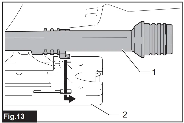
The dust nozzle is recommended to perform clean cutting operations. To attach the dust nozzle on the tool, insert the hook of dust nozzle into the hole in the base
1. Dust nozzle 2. Base
To secure the dust nozzle, tighten the clamp screw at the front of the dust nozzle. The dust nozzle can be installed on either left or right side of the base.
1. Clamp screw
Then connect a Makita vacuum cleaner to the dust nozzle
1. Dust nozzle 2. Hose for vacuum cleaner
OPERATION
CAUTION: Always hold the base flush with the workpiece. Failure to do so may cause jig saw blade breakage, resulting in a serious injury.
CAUTION: Advance the tool very slowly when cutting curves or scrolling. Forcing the tool may cause a slanted cutting surface and jig saw blade breakage.
Turn the tool on without the jig saw blade making any contact and wait until the jig saw blade attains full speed. Then rest the base flat on the workpiece and gently move the tool forward along the previously marked cutting line.
1. Cutting line 2. Base
Bevel cutting
CAUTION: Always be sure that the tool is switched off and the battery cartridge is removed before tilting the base.
With the base tilted, you can make bevel cuts at any angle between 0° and 45° (left or right).
To tilt the base, loosen the bolt on the bottom of the base with the hex wrench. Move the base so that the bolt is positioned in the center of the bevel slot in the base.
1. Hex wrench 2. Bolt 3. Base
Tilt the base until the desired bevel angle is obtained. The V-notch of the gear housing indicates the bevel angle by graduations. Then tighten the bolt firmly to secure the base.
1. Bevel slot 2. Base 3. Bolt 4. Graduations 5. V-notch 6. Gear housing
Front flush cuts
Loosen the bolt on the bottom of the base with the hex wrench and slide the base all the way back. Then tighten the bolt to secure the base.
1. Hex wrench 2. Bolt 3. Base
Cutouts
Cutouts can be made with either of two methods: “Boring a starting hole” or “Plunge cutting”.
Boring a starting hole
For internal cutouts without a lead-in cut from an edge, pre-drill a starting hole 12 mm or more in diameter. Insert the jig saw blade into this hole to start your cut.
Plunge cutting
You need not bore a starting hole or make a lead-in cut if you carefully do as follows
- Tilt the tool up on the front edge of the base with the jig saw blade point positioned just above the workpiece surface.
- Apply pressure to the tool so that the front edge of the base will not move when you switch on the tool and gently lower the back end of the tool slowly.
- As the jig saw blade pierces the workpiece, slowly lower the base of the tool down onto the workpiece surface.
- Complete the cut in the normal manner.
Finishing edges
To trim edges or make dimensional adjustments, run the jig saw blade lightly along the cut edge
Metal cutting
Always use a suitable coolant (cutting oil) when cutting metal. Failure to do so will cause significant jig saw blade wear. The underside of the workpiece can be greased instead of using a coolant.
Rip fence
Optional accessory
CAUTION: Always be sure that the tool is switched off and the battery cartridge is removed before installing or removing accessories.
Straight cuts
When repeatedly cutting widths of 160 mm or less, use of the rip fence will assure fast, clean, straight cuts
1. Rip fence (Guide rule)
To install, insert the rip fence into the rectangular hole on the side of the base with the fence guide facing down. Slide the rip fence to the desired cutting width position, then tighten the bolt to secure it.
1. Hex wrench 2. Bolt 3. Fence guide 4. Rip fence (Guide rule)
Circular cuts
When cutting circles or arcs of 170 mm or less in radius, install the rip fence as follows.
1. Rip fence (Guide rule)
CAUTION: Do not touch the tip of the circular guide pin. The sharp tip of the circular guide pin can cause injury.
- Insert the rip fence into the rectangular hole on the side of the base with the fence guide facing up.
- Insert the circular guide pin through either of the two holes on the fence guide. Screw the threaded knob onto the circular guide pin to secure the circular guide pin.
1. Threaded knob 2. Fence guide 3. Rip fence (Guide rule) 4. Circular guide pin 5. Bolt
- Slide the rip fence to the desired cutting radius, and tighten the bolt to secure it in place
NOTE: Always use jig saw blades No. B-17, B-18, B-26 or B-27 when cutting circles or arcs.
Guide rail adapter set
Optional accessory
When cutting parallel and uniform width or cutting straight, the use of the guide rail and the guide rail adapter will assure the production of fast and clean cuts. To install the guide rail adapter, insert the rule bar into the square hole of the base as far as it goes. Secure the bolt with the hex wrench securely
1. Hex wrench 2. Rule bar 3. Bolt
Insert the rule bar into the square hole of the guide rail adapter, and secure the screw firmly. Place the guide rail adapter on the guide rail.
1. Guide rail adapter 2. Guide rail 3. Screw
NOTICE: Always use jig saw blades No. B-8, B-13, B-16, B-17 or 58 when using the guide rail and the guide rail adapter.
MAINTENANCE
CAUTION: Always be sure that the tool is switched off and the battery cartridge is removed before attempting to perform inspection or maintenance.
NOTICE: Never use gasoline, benzine, thinner, alcohol or the like. Discoloration, deformation or cracks may result.
To maintain product SAFETY and RELIABILITY, repairs, any other maintenance or adjustment should be performed by Makita Authorized or Factory Service Centers, always using Makita replacement parts.
OPTIONAL ACCESSORIES
CAUTION: These accessories or attachments are recommended for use with your Makita tool specified in this manual. The use of any other accessories or attachments might present a risk of injury to persons. Only use accessory or attachment for its stated purpose.
If you need any assistance for more details regarding these accessories, ask your local Makita Service Center.
- Jig saw blades
- Hex wrench 4
- Rip fence (guide rule) set
- Guide rail adapter set
- Guide rail set
- Anti-splintering device
- Cover plate
- Dust nozzle assy
- Makita genuine battery and charger
NOTE: Some items in the list may be included in the tool package as standard accessories. They may differ from country to country.
Makita Europe N.V.
Makita Corporation
3-11-8, Sumiyoshi-cho,
Anjo, Aichi 446-8502 Japan
Jan-Baptist Vinkstraat 2,
3070 Kortenberg, Belgium





























