VADDIO EasyIP 30 ePTZ AV-Over-IP ePTZ Camera Installation

Installation Guide for the
EasyIP 30 ePTZ AV-over-IP ePTZ Camera
Overview
This guide covers the EasyIP system, which includes these products:
- EasyIP 30 ePTZ AV-over-IP ePTZ camera, 999-30250-000 (black, worldwide)
- EasyIP 30 ePTZ AV-over-IP ePTZ camera, 999-30250-000W (white, worldwide)

EasyIP 30 ePTZ Camera Features
- Ideal for small to medium conference rooms
- Pairs with an EasyIP Decoder or EasyIP Mixer; may be paired to two host devices
- IntelliFrameTM intelligent framing algorithm keeps participants in view reliably, without facial recognition
- 30x zoom, horizontal field of view of 70.2°
- Up to 1080p/30 video
- Integration-ready Telnet control
- Full administrative control via web interface
- Presenter-friendly RF remote control
The EasyIP Ecosystem
Vaddio® EasyIP products are designed to be used together.
- EasyIP cameras deliver video in Vaddio’s proprietary EasyIP format. A host device is required to convert the cameras’ output signal to an IP and/or USB stream.
- EasyIP host devices can control EasyIP cameras but not other cameras.
- EasyIP host devices automatically detect EasyIP cameras on the host device’s subnet.
- EasyIP products require PoE+ power. Typically the EasyIP system is powered by a PoE+ switch such as the EasyIP Switch.
- EasyIP microphones and speakers use Dante networked audio.
A Quick Look at the EasyIP 30 ePTZ Camera
The camera is available in black or white.
Front View
- Camera and zoom lens – Up to 30x zoom.
- Integrated microphone – Picks up the voices of participants up to 10 ft. (3 m) away. Built-in echo cancellation.
- Status lights – Show the camera’s current state. Can be turned off in the administrative web interface.
- Pivoting head – Manually tilt the head as needed.
Connector Panel
The connectors are on the underside of the camera.
- PoE+ – RJ-45 connector. Connect to a powered port on the PoE+ switch.
- IP button – Press to display the camera’s IP address on video outputs.
Installation
This section covers:
- Tips for selecting camera locations
- Cabling notes
- Installing the camera mount and mounting the camera
- System connection diagrams with cameras and audio peripherals
Cameras and network-connected audio peripherals must be paired to the host device after the installation is complete.
Contact Vaddio Technical Support if you have questions or encounter any problems. Phone 800.572.2011 / +1.763.971.4400, email [email protected].
And a required safety note here:
Note
PoE type networks connected to this equipment are for intra-building use only and should not be connected to lines that run outside of the building in which this product is located.
Don’t Void Your Warranty!
Caution
EasyIP products are for indoor use. Do not install these products outdoors or in a humid environment without the appropriate protective enclosure.
Caution
Do not install or operate any EasyIP product if it has been dropped, damaged, or exposed to liquids. If any of these things happen, return the product to Vaddio for safety and functional testing.
Before You Start
Work with the network administrator to plan your EasyIP deployment. A typical EasyIP system includes network equipment that serves DHCP addresses.
Do these things before installing any Vaddio product:
- Be sure you can identify all cables correctly.
- Check Cat-5 cables for continuity.
- Talk to the network administrator.
- Inform the network administrator if you are installing the EasyIP system with a PoE+ switch. The switch sold as part of the EasyIP ecosystem is configured for DHCP operation. The network administrator may need to take steps to ensure a trouble-free installation.
- If you will be responsible for configuring the devices that you install, ask what hostnames (if any) you should assign to them.
Things to keep in mind when deciding where to install the camera:
- Consider camera viewing angles, lighting conditions, line-of-sight obstructions, and in-wall obstructions where the camera is to be mounted.
- Ensure that the camera will point away from the ceiling and lights. The camera will not perform well if it is pointed toward a light source such as a light fixture or window.
Cabling Notes
Caution
When building cables for Vaddio products, do not use pass-through RJ-45 connectors. Incorrectly crimped pass-through connectors can damage the connectors on the product, which will void your warranty.
Use Cat-5e or better cable. We recommend using high-quality connectors and a high-quality crimping tool. If connectors are crimped incorrectly, they can cause intermittent connections and degrade signal quality.
We recommend shielded cabling if the cables will be coiled, run tightly with other cables, or routed near sources of electromagnetic interference such as power lines or fluorescent light fixtures.
Caution
Check your cables. Connecting a cable to the wrong port or using the wrong pin-out can result in equipment damage and will void the warranty.
Pro Tip
Label all cables at both ends.
Connecting EasyIP Products
- EasyIP cameras and audio products require an EasyIP host device to decode the AV-over-IP signal and originate a USB stream.
- EasyIP devices can be powered using mid-span PoE+ power injectors (sold separately), or they can be connected to a PoE+ switch such as the EasyIP Switch, which ensures that the room’s EasyIP installation is on its own subnet. The EasyIP Switch is preconfigured for use with Vaddio EasyIP products. The connection diagrams in this section each show an EasyIP Switch powering the installation.
- Make all connections while the PoE+ switch is turned off.
Caution
The EasyIP Switch serves DHCP addresses. Do not connect the EasyIP Switch to the network without guidance from an on-site network specialist.
Basic Connections for Cameras and Audio with EasyIP Decoder
Here is an example of a simple EasyIP deployment.
- Each camera connects to a PoE+ port on the switch. This is the only connection that the cameras require.
- The EasyIP Decoder manages up to four EasyIP cameras and provides hard-wired audio connections for two EasyMic microphones and an analog speaker with amplifier.
- The EasyIP Decoder connects directly to a computer as a USB conferencing device.
- Any model of EasyIP camera may be used.
- The microphones may be Vaddio TableMIC or CeilingMIC microphones.
This diagram shows EasyIP 30 ePTZ cameras and TableMIC microphones.
Basic Connections for Cameras and Audio with EasyIP Mixer
Here is an example of an EasyIP deployment using an EasyIP Mixer.
- Each camera connects to a PoE+ port on the switch. This is the only connection that the cameras require.
- The EasyIP Mixer manages up to four EasyIP cameras.
- The EasyIP Mixer is paired to two network-connected EasyIP CeilingMIC D microphones. It also provides hard-wired audio connections for two microphones and two amplified analog speakers.
- Any model of EasyIP camera may be used.
- EasyIP CeilingMIC D and EasyIP TableMIC D microphones can pair with the EasyIP Mixer.
- A computer connects to the system as a USB conferencing device, and can be connected to the HDMI input as an HDMI content source.
This diagram shows EasyIP 20 and EasyIP 30 ePTZ cameras with EasyIP CeilingMIC D microphones.
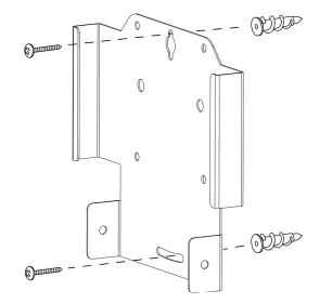
Installing the Wall Mount
The camera is shipped with a wall mount, which can be inverted.
You can install the camera wall mount to a display mount or directly to drywall. If you mount it to drywall, use wall anchors. A drop-down ceiling mount adapter is also available.
Installing the Camera
Caution
Check your cables. Connecting a cable to the wrong port or using the wrong pin-out can result in equipment damage and will void the warranty.
- Slide the camera into the mount. It should be a tight fit.
- Connect all required cables to the camera.
- Secure the cable cover to the mount.
About Inverted Cameras
If you use an inverted mount, set the camera’s Image Flip mode ON for inverted operation. This orients the video image correctly and sets the tilt motors to respond appropriately to tilt up and down commands from the remote, web interface, and connected control devices. Refer to the camera’s Complete Manual
Powering Up the EasyIP System
Vaddio recommends making all connections while the EasyIP Switch is turned off. To power the system, turn on the EasyIP Switch.
- Systems built around an EasyIP Decoder: The device’s status light turns blue when the device is ready.
- Systems built around an EasyIP Mixer: The power light in the Reset button illuminates immediately when power is connected. The device’s web interface is available after it finishes booting. This takes about 20 seconds.
- The EasyIP cameras initialize if they are powered from the same PoE+ switch. This takes a few seconds. The cameras are ready to accept control information when they finish initializing.
Note
No video is available from the EasyIP system until it is configured and at least one camera is paired to the host device.
Next Steps
Refer to the Complete Manual for the EasyIP System for information on initial device set-up and pairing cameras to the host device.
Vaddio is a brand of Legrand AV Inc.· www.legrandav.com · Phone 800.572.2011 / +1.763.971.4400 · Fax +1.763.971.4464 · Email [email protected]·
Vaddio is a registered trademark of Legrand AV Inc. All other brand names or marks are used for identification purposes and are trademarks of their respective owners. All patents are protected under existing designations. Other patents pending.
©2022 Legrand AV Inc.





















