HILTI WSJ 750 WSJ 850 Robital Jig Saw

Information about the documentation
About this documentation
- Read this documentation before initial operation or use. This is a prerequisite for safe, trouble-free handling and use of the product.
- Observe the safety instructions and warnings in this documentation and on the product.
- Always keep the operating instructions with the product and make sure that the operating instructions are with the product when it is given to other persons.
Explanation of symbols used
Warnings
Warnings alert persons to hazards that occur when handling or using the product. The following signal words are used:
DANGER!
- Draws attention to imminent danger that will lead to serious personal injury or fatality.
WARNING!
- Draws attention to a potential threat of danger that can lead to serious injury or fatality.
CAUTION!
- Draws attention to a potentially dangerous situation that could lead to slight personal injury or damage to the equipment or other property
Symbols in the documentation
The following symbols are used in this document:
- Read the operating instructions before use.
- Instructions for use and other useful information
- Dealing with recyclable materials
- Do not dispose of electric equipment and batteries as household waste
Symbols in the illustrations
The following symbols are used in illustrations:
- These numbers refer to the corresponding illustrations found at the beginning of these operating instructions
- The numbering reflects the sequence of operations shown in the illustrations and may deviate from the steps described in the text
- Item reference numbers are used in the overview illustrations and refer to the numbers used in the product overview section
- This symbol is intended to draw special attention to certain points when handling the product.
Product-dependent symbols
The following symbols can be used on the product:
- Wireless data transfer
- Drilling without hammer action
- Drilling with hammering action (hammer drilling)
- Forward/reverse
- Protection class II (double-insulated)
- Rated speed under no load
Product information
products are designed for professional users and only trained, authorized personnel are permitted to operate, service and maintain the products. This personnel must be specifically informed about the possible hazards. The product and its ancillary equipment can present hazards if used incorrectly by untrained personnel or if used not in accordance with the intended use. The type designation and serial number are printed on the rating plate.
- Write down the serial number in the table below. You will be required to state the product details when contacting Hilti Service or your local Hilti organization to inquire about the product.
| Orbital-action jig saw | WSJ 750 | WSJ 850 |
| Generation: | 01 |
| Serial no.: |
Declaration of conformity
We declare, on our sole responsibility, that the product described here complies with the applicable directives and standards. A copy of the declaration of conformity can be found at the end of this documentation. The technical documentation is filed here:
Hilti Entwicklungsgesellschaft mbH | Tool Certification | Hiltistrasse 6 | 86916 Kaufering, Germany
Safety
General power tool safety warnings
WARNING Read all safety warnings, instructions, illustrations and specifications provided with this power tool. Failure to follow all instructions listed below may result in electric shock, fire, and/or serious injury. Save all warnings and instructions for future reference. The term “power tool” in the warnings refers to your mains-operated (corded) power tool or battery-operated (cordless) power tool.
Work area safety
- Keep the work area clean and well-lit. Cluttered or dark areas invite accidents.
- Do not operate power tools in explosive atmospheres, such as in the presence of flammable liquids, gases or dust. Power tools create sparks that may ignite the dust or fumes.
- Keep children and bystanders away while operating a power tool. Distractions can cause you to lose control.
Electrical safety
- Power tool plugs must match the outlet. Never modify the plug in any way. Do not use any adapter plugs with earthed (grounded) power tools. Unmodified plugs and matching outlets will reduce risk of electric shock.
- Avoid body contact with earthed or grounded surfaces, such as pipes, radiators, ranges and refrigerators. There is an increased risk of electric shock if your body is earthed or grounded.
- Do not expose power tools to rain or wet conditions. Water entering a power tool will increase the risk of electric shock.
- Do not abuse the cord. Never use the cord for carrying, pulling or unplugging the power tool. Keep cord away from heat, oil, sharp edges or moving parts. Damaged or entangled cords increase the risk of electric shock.
- When operating a power tool outdoors, use an extension cord suitable for outdoor use. Use of a cord suitable for outdoor use reduces the risk of electric shock.
- If operating a power tool in a damp location is unavoidable, use a residual current device (RCD)
protected supply. Use of an RCD reduces the risk of electric shock.
Personal safety
- Stay alert, watch what you are doing and use common sense when operating a power tool. Do not use a power tool while you are tired or under the influence of drugs, alcohol or medication. A moment of inattention while operating power tools may result in serious personal injury.
- Use personal protective equipment. Always wear eye protection. Protective equipment such as a dust mask, non-skid safety shoes, hard hat or hearing protection used for appropriate conditions will reduce personal injuries.
- Prevent unintentional starting. Ensure the switch is in the off-position before connecting to power source and/or battery pack, picking up or carrying the tool. Carrying power tools with your finger on the switch or energizing power tools that have the switch on invites accidents.
- Remove any adjusting key or wrench before turning the power tool on. A wrench or a key left attached to a rotating part of the power tool may result in personal injury.
- Do not overreach. Keep proper footing and balance at all times. This enables better control of the power tool in unexpected situations.
- Dress properly. Do not wear loose clothing or jewelry. Keep your hair, clothing and gloves away from moving parts. Loose clothes, jewelry or long hair can be caught in moving parts.
- f devices are provided for the connection of dust extraction and collection facilities, ensure these are connected and properly used. Use of dust collection can reduce dust-related hazards.
- Do not let familiarity gained from the frequent use of tools allow you to become complacent and ignore tool safety principles. A careless action can cause severe injury within a fraction of a second.
Power tool use and care
- Do not force the power tool. Use the correct power tool for your application. The correct power tool will do the job better and safer at the rate for which it was designed.
- Do not use the power tool if the switch does not turn it on and off. Any power tool that cannot be controlled with the switch is dangerous and must be repaired.
- Disconnect the plug from the power source and/or remove the battery pack, if detachable, from the power tool before making any adjustments, changing accessories, or storing power tools. Such preventive safety measures reduce the risk of starting the power tool accidentally.
- Store idle power tools out of the reach of children and do not allow persons unfamiliar with the power tool or these instructions to operate the power tool. Power tools are dangerous in the hands of untrained users.
- Maintain power tools and accessories. Check for misalignment or binding of moving parts, breakage of parts and any other condition that may affect the power tool’s operation. If damaged, have the power tool repaired before use. Many accidents are caused by poorly maintained power tools.
- Keep cutting tools sharp and clean. Properly maintained cutting tools with sharp cutting edges are less likely to bind and are easier to control.
- Use the power tool, accessories and tool bits etc. in accordance with these instructions, taking into account the working conditions and the work to be performed. Use of the power tool for operations different from those intended could result in a hazardous situation.
- Keep handles and grasping surfaces dry, clean and free from oil and grease. Slippery handles and grasping surfaces do not allow for safe handling and control of the tool in unexpected situations.
Service
- Have your power tool serviced by a qualified repair person using only identical replacement parts. This will ensure that the safety of the power tool is maintained.
Safety instructions for reciprocating saws
- Hold the power tool by insulated gripping surfaces, when performing an operation where the cutting accessory may contact hidden wiring or its own cord. Cutting accessory contacting a “live” wire may make exposed metal parts of the power tool “live” and could give the operator an electric shock.
- Use clamps or another practical way to secure and support the workpiece to a stable platform. Holding the workpiece by hand or against your body leaves it unstable and may lead to loss of control.
Additional safety instructions
Personal safety
- Modification of the power tool is not permitted.
- Hold the power tool by the insulated gripping surfaces only, when carrying out work in which the accessory tool can come into contact with concealed wiring or with the power tool’s own supply cord. Metal parts of the power tool can also become live, resulting in electric shock, if contact is made with a live cable.
- Wear ear protectors. Exposure to noise can cause hearing loss.
- Use light respiratory protection if the work causes dust.
- Improve the blood circulation in your fingers by relaxing your hands and exercising your fingers during breaks between working.
- The power tool is not intended for use by inexperienced persons who have received no special training.
- Keep the power tool out of reach of children.
- When working, always guide the supply cord and the extension cable to the rear and away from the power tool. This reduces the risk of tripping over cables while work is in progress.
- Wear protective gloves. The orbital-action jig saw can get hot during operation. There is a risk of injury (cutting or burning) if the accessory tool is touched while changing it.
- Dust from materials such as paint containing lead, some types of wood, minerals and metal can be harmful to health. Contact with or inhalation of the dust may cause allergic reactions and/or respiratory diseases among operators or bystanders. Certain kinds of dust such as oak and beech wood dust are classified as carcinogenic, especially in conjunction with additives for wood conditioning (chromate, wood preservative). Use a dust removal system that is as effective as possible. Use a mobile vacuum extractor of the type recommended by Hilti for wood dust and/or mineral dust and which is designed for use with this power tool. Observe national regulations applicable to the materials you intend to work with.
Electrical safety
- Before beginning work, check the working area (e.g. using a metal detector) to ensure that no concealed electric cables or gas and water pipes are present. External metal parts of the power tool may become live, for example, when an electric cable is damaged accidentally. This presents a serious risk of electric shock.
- Check the machine’s supply cord at regular intervals and have it replaced by a qualified specialist if found to be damaged. If the machine’s supply cord is damaged it must be replaced with a specially prepared and approved supply cord available from Hilti Customer Service. Check extension cords at regular intervals and replace them if found to be damaged. Do not touch the supply cord or extension cord if it is damaged while working. Disconnect the supply cord plug from the power outlet. Damaged supply cords or extension cords present a risk of electric shock.
- Have dirtied or dusty power tools that are used frequently for working on conductive materials checked at regular intervals by a Hilti Service Center. Dust, especially dust from conductive materials, or dampness on the surface of the power tool can, under unfavorable conditions, lead to electric shock.
- Switch the power tool off and unplug the supply cord in the event of a power failure or interruption in the electric supply. This will prevent accidental restarting when the electric power returns.
Special safety instructions for jig saws
- Always guide the product away from your body when cutting.
- Never position your hands ahead of or on the saw blade.
- Never cut into unknown materials and keep the line of cut above and below the workpiece free of obstacles. The product can kick back if the saw blade comes into contact with an obstructing object.
- Switch the product off for transport.
- Never operate the product without the contact guard being correctly installed. Do not touch rotating parts. Switch the machine on only after it is in position at the workpiece. Touching rotating parts, especially rotating accessory tools, may lead to injury.
- Before beginning the work, check the hazard classification of the dust that will be produced. Use an industrial vacuum cleaner with an officially approved protection classification in compliance with locally applicable dust protection regulations.
- If the work involves breaking right through, take the appropriate safety measures on the opposite side. There is a risk of injury when the drill bit breaks through the object in which the hole is being drilled.
- Never reach or grip below the workpiece while cutting.
Safety instructions for the WSJ-DRS dust removal module
- When changing the filter, hold the product and/or the WSJ-DRS in a position in which the dust container can be removed by being pulled vertically down. This prevents dust from escaping.
- Use light respiratory protection when changing the filter.
Description
Product Overview 1
- On/off switch
- Lock button (only WSJ 750/850-ET)
- Air vents
- Stroke rate regulator thumbwheel
- Dust removal connector
- Base plate
- Lever for orbital action
- Locking screw for base plate
- Guide roller
- Saw blade
- Contact guard
- Blade holder
- Saw blade release lever
- Guard for dust extraction
- Slider for base plate
- Anti-splinter insert

Intended use
The product described is a hand-held, electrically powered orbital-action jig saw. It is designed for cutting plastic, wood and metal materials, drywall board and gypsum fiberboard. The product has a dust removal connector for a dust removal system. The guard must be installed for working with a dust removal system. The tool may be operated only when connected to a power source providing a voltage and frequency in compliance with the information given on the type identification plate.
Possible misuse
- Use of the product to cut off tree branches or to cut the trunk of a tree is not permissible.
- Use of the product to cut hazardous materials is not permissible.
- Use of the product in a damp or wet environment is not permissible.
Dust blower
The orbital-action jig saw has a dust blower. The blower directs a jet of air toward the saw blade in order to keep the cutting line free of dust.
Stroke rate
The stroke rate can be adjusted by turning the thumbwheel. The range of adjustment is from position 1 (low) to position 6 (high). To determine the correct setting for the task to be performed, consult the information provided with the saw blade.
4 orbital-action settings
The 4 orbital-action settings allow cutting performance and quality of cut to be adjusted to suit the material to be cut. The orbital-action adjustment lever is used to set the power tool to one of the 4 settings. The lower the orbital-action setting, the finer and cleaner the cut edges will be. The optimum setting can be determined by carrying out practical tests.
| Status | Meaning |
| Position 0 | No orbital action |
| Status | Meaning |
| Position 1 | Low orbital action |
| Position 2 | Medium orbital action |
| Position 3 | High orbital action |
Anti-splinter insert
The product can be equipped with an anti-splinter insert. The anti-splinter insert helps prevent splintering on the surface of wood materials when cutting.
Dust extractor with dust removal system
The dust extractor reduces dust emissions, increases working safety by providing better visibility of the cutting line, and reduces exposure to dust and wood chips at the workplace. Always connect the dust removal system to the suction adapter when working over a lengthy period with wood or materials that can cause high dust concentrations.
The guard must be installed if you work with a dust removal system.
Items supplied
Orbital-action jig saw, saw blade, anti-splinter insert, dust removal adapter, slider, hex key, guard, operating instructions. Other system products approved for use with this product can be found at your local Hilti Store or at: www.hilti.group.
Technical data
Orbital-action jig saw
For rated voltage, rated current, frequency and/or input power, refer to the country-specific rating plate.
If the device is powered by a generator or transformer, the generator or transformer’s power output must be at least twice the rated input power shown on the rating plate of the device. The operating voltage of the transformer or generator must always be within +5% and -15% of the rated voltage of the device.
| WSJ 750-ET | WSJ 750-EB | WSJ 850-ET | WSJ 850-EB | |
| Weight in accordance with EPTA procedure 01/2003 | 2.8 kg | 2.6 kg | 2.7 kg | 2.6 kg |
| Operating temperature | −17 ℃ … 60 ℃ | −17 ℃ … 60 ℃ | −17 ℃ … 60 ℃ | −17 ℃ … 60 ℃ |
| Storage temperature | −20 ℃ … 70 ℃ | −20 ℃ … 70 ℃ | −20 ℃ … 70 ℃ | −20 ℃ … 70 ℃ |
| Maximum cutting depth for structural steel | 10 mm | 10 mm | 10 mm | 10 mm |
| Maximum cutting depth for wood | 120 mm | 120 mm | 150 mm | 150 mm |
Noise information and vibration values in accordance with EN 62841
The sound pressure and vibration values given in these instructions were measured in accordance with a standardized test and can be used to compare one power tool with another. They can also be used for a preliminary assessment of exposure. The data given represent the main applications of the power tool. However, if the power tool is used for different applications, with different accessory tools, or is poorly maintained, the data can vary. This can significantly increase exposure over the total working period.
An accurate estimation of exposure should also take into account the times when the tool is switched off, or when it is running but not actually being used for a job. This can significantly reduce exposure over the total working period.
Identify additional safety measures to protect the operator from the effects of noise and/or vibration, for example: maintaining the power tool and accessory tools, keeping the hands warm, and organization of work patterns.
Noise emission values
| WSJ 750-ET | WSJ 750-EB | WSJ 850-ET | WSJ 850-EB | |
| Sound power level (LWA) | 97 dB(A) | 97 dB(A) | 97 dB(A) | 97 dB(A) |
| Uncertainty for the sound power level (KWA) | 3 dB(A) | 3 dB(A) | 3 dB(A) | 3 dB(A) |
| Sound pressure level (LpA) | 86 dB(A) | 86 dB(A) | 86 dB(A) | 86 dB(A) |
| Uncertainty for the sound pressure level (KpA) | 3 dB(A) | 3 dB(A) | 3 dB(A) | 3 dB(A) |
Total vibration
| WSJ 750-ET | WSJ 750-EB | WSJ 850-ET | WSJ 850-EB | |
| Vibration emission value for sawing wood sheets (ah,B) | 8.7 m/s² | 12.1 m/s² | 8.7 m/s² | 10.7 m/s² |
| Vibration emission value for sawing sheet metal (ah,M) | 5.2 m/s² | 6.6 m/s² | 4.2 m/s² | 6.6 m/s² |
| Uncertainty (K) | 1.5 m/s² | 1.5 m/s² | 1.5 m/s² | 1.5 m/s² |
Dust removal attachment
| WSJ-DRS | |
| Weight | 0.25 kg |
Using extension cords
WARNING
A damaged supply cord presents a hazard!
Do not touch the supply cord or extension cord if damaged while working. Disconnect the supply cord plug from the power outlet.
- Check the appliance’s supply cord at regular intervals and have it replaced by a qualified specialist if found to be damaged.
- Use only extension cords of a type approved for the application and with conductors of adequate gauge (cross-section). The power tool may otherwise suffer a drop in performance and the extension cord may overheat.
- Check the extension cord for damage at regular intervals.
- Replace damaged extension cords.
- When working outdoors, use only extension cords that are approved and correspondingly marked for this application.
Information on recommended minimum conductor cross-sections and cable lengths is accessible via a link, in the form of a QR code, at the end of this document.
Preparations at the workplace
CAUTION
Risk of injury! Inadvertent starting of the product.
- Unplug the supply cord before making adjustments to the power tool or before changing accessories.
Observe the safety instructions and warnings in this documentation and on the product.
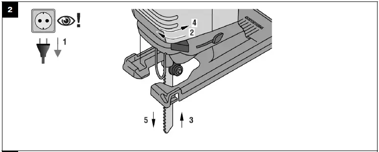
Fitting the saw blade 2
- Press and hold down the saw blade release.
- Push the saw blade (teeth facing the cutting direction) into the blade holder until it engages.
- Hold the saw blade against the resistance and let the saw blade release return to its original position.
- Grip and pull the saw blade to check that it is held securely.
Fitting the suction adapter 3
- Connect the dust removal adapter to the opening in the product.
- Press the suction adapter against the product from below until it engages.
- Connect the vacuum cleaner hose to the suction adapter.
Fitting the guard 4
- Push the guard onto the product from the front until it clicks into place.
Setting the orbital action 5
- The 4 orbital-action settings allow cutting performance and quality of cut to be adjusted to suit the material to be cut.
- The orbital-action adjustment lever is used to set the power tool to one of the 4 settings.
- The lower the orbital-action setting, the finer and cleaner the cut edges will be.
- The optimum setting can be determined by carrying out practical tests.
- To determine the correct setting for the task to be performed, consult the information provided with the saw blade.
| Status | Meaning |
| Position 0 | No orbital action |
| Position 1 | Low orbital action |
| Position 2 | Medium orbital action |
| Position 3 | High orbital action |
Adjusting the stroke rate 6
- Set the stroke rate regulator thumbwheel to a setting between 1 (low) and 6 (high).
- Determine the correct setting for the task to be performed with the applicable saw blade.
Fitting the anti-splinter insert 7
The function can be used only with the saw blades for which it is intended.
- Press the anti-splinter insert into the base plate from below.
Adjusting cutting angle 8
- Remove the dust removal connector.
- Slacken the screw.
- Pull the base plate slightly forward.
- Use the scale on the product to set the base plate to the desired angle.
- Securely tighten the screw.
Repositioning base plate 9
- Slacken the screw.
- Push the base plate back as far as it will go.
- Securely tighten the screw.
Installing slider for base plate
Use the slider for the base plate when you work on materials that scratch easily.
- Hook the front of the slider into the base plate.
- Press the back of the slider against the base plate until it engages.
Types of work
WARNING
Damaged power cords are a safety hazard!
If the supply cord or extension cord is damaged while work is in progress, immediately disconnect the device and the cord from the electricity supply. Do not touch the damaged part of the cord.
- Regularly check all supply cords. Replace defective extension cords. Have damaged power cords replaced by a qualified specialist.
Use of a ground fault circuit interrupter (residual current device, RCD) with a maximum tripping current of 30 mA is recommended.
Connecting dust extractor 10
The dust extractor reduces dust emissions, increases working safety by providing better visibility of the cutting line, and reduces exposure to dust and wood chips at the workplace.
- Fit the guard.
- Connect the extractor when you intend to work for a long period on wood or other materials because high concentrations of dust can be produced in these operations.
Switching on 11
- If the following equipment exists, also take this action:
WSJ 750-ET
WSJ 850-ET- Press the on/off switch.
- Then press the lock button.
- The on/off switch engages in the ON position.
- To release the lock button, press the on/off switch again.
- If the following equipment exists, also take this action:
WSJ 750-EB
WSJ 850-EB- Use the sliding switch to switch the product on.
Plunge cutting 12
- Set the orbital-action adjusting lever to position 0.
- Bring the front edge of the base plate into contact with the workpiece.
- Hold the product securely and press the on/off switch.
- Press the product firmly against the workpiece and begin the plunge cut by slowly reducing the angle of attack.
- Once the blade has penetrated right through the workpiece, bring the product into its normal working position.
- The base plate then lies flat on the working surface.
- Continue to saw along the cutting line.
Removal
CAUTION
Risk of injury! Inadvertent starting of the product.
- Unplug the supply cord before making adjustments to the power tool or before changing accessories.
Observe the safety instructions and warnings in this documentation and on the product.
Removing the guard 13
- Tilt the guard slightly and pull it off toward the front.
Resetting cutting angle
- Slacken the screw.
- Set the cutting angle to 0°.
- Push the base plate back to its original position.
- Securely tighten the screw.
Removing dust extractor 14
- Pull the vacuum cleaner hose off the suction adapter.
- Press the dust removal adapter down and pull it out of the product.
Ejecting the saw blade 15
WARNING
Risk of injury. Uncontrolled ejection of the saw blade can lead to injury.
- When ejecting the saw blade, hold the product in such a way that it presents no risk of injury to persons or animals.
- Push the saw blade ejection lever to the side as far as it will go.
- The saw blade will be released and ejected.
Care and maintenance
WARNING
Electric shock hazard!
Attempting care and maintenance with the supply cord connected to a power outlet can lead to severe injury and burns.
- Always unplug the supply cord before carrying out care and maintenance tasks.
Care
- Carefully remove any dirt that may be adhering to parts.
- Clean the air vents carefully with a dry brush.
- Use only a slightly damp cloth to clean the casing. Do not use cleaning agents containing silicone as these may attack the plastic parts.
Maintenance
WARNING
The danger of electric shock!
Improper repairs to electrical components may lead to serious injuries including burns.
- Repairs to the electrical section of the tool or appliance may be carried out only by trained electrical specialists.
- Check all visible parts and controls for signs of damage at regular intervals and make sure that they all function correctly.
- Do not operate the product if signs of damage are found or if parts malfunction. Has it been repaired immediately by Hilti Service?
- After cleaning and maintenance, fit all guards or protective devices and check that they function correctly.
To help ensure safe and reliable operation, use only genuine Hilti spare parts and consumables. Spare parts, consumables, and accessories approved by Hilti for use with the product can be found at your local Hilti Store or online at: www.hilti.group.
Emptying the dust container
WARNING
Dust hazard Tapping the dust removal module to empty it releases dust.
- Wear light respiratory protection.
- Simultaneously press the left and right buttons on the dust container.
- Pull the dust container down and clear.
- Tap the dust out of the dust container or clean the dust container with a vacuum cleaner.
Cleaning the suction adapter
- Clean the suction adapter.
- Check that moving parts operate satisfactorily and do not jam, and make sure that no parts are broken or damaged in such a way that the product might no longer function correctly.
Cleaning the saw blade
- Clean resin deposits from used saw blades at regular intervals.
- Place the saw blades in a bath of kerosene (paraffin oil) or commercially-available resin remover for 24 hours.
Transport and storage
Transport
- Do not transport this product with an accessory tool installed.
- Make sure that the equipment is held securely throughout all transport operations.
- After transporting, always check all visible parts and controls for signs of damage and make sure that they all function correctly.
Storage
- Always store this product with the electric supply cable unplugged from the electricity supply.
- Store this product in a dry place, where it cannot be accessed by children or unauthorized persons.
- After a long period of storage, always check all visible parts and controls for signs of damage and make sure that they all function correctly.
Troubleshooting
If the trouble you are experiencing is not listed in this table or you are unable to remedy the problem by yourself, please contact Hilti Service.
| Trouble or fault | Possible cause | Action to be taken | |
| The saw blade drops out. | The saw blade is not correctly en- gaged. | ▶ | Repeat the insertion procedure; make sure that the blade holder is fully open and that the saw blade is pushed all the way in against the resistance of the spring. |
| The clamping system is clogged with foreign matter. | ▶ | Clean out the blade holder. | |
| The saw blade cannot be inserted. | The clamping system is clogged with foreign matter. | ▶ | Clean out the blade holder. |
| The product can’t be switched on. | Supply cord not connected to elec- tricity supply. | ▶ | Check the connection. |
| Switch faulty or dirty. | ▶ | Wipe the outside of the switch with a cleaning cloth. | |
| WSJ 750-ET WSJ 850-ET Switch cannot be locked. | Switch faulty or dirty. | ▶ | Wipe the outside of the switch with a cleaning cloth. |
| The orbital action cannot be adjusted. | Groove dirty. | ▶ | Clean out the orbital-action adjusting lever groove. |
| The orbital action doesn’t work. | Orbital-action fork dirty. | ▶ | Check for foreign matter in the area of the orbital-action fork and clean it out. |
| Orbital-action adjusting lever in the “0” position. | ▶ | Adjust it to the desired setting. | |
| Trouble or fault | Possible cause | Action to be taken | |
| Speed cannot be adjusted. | Thumbwheel faulty or dirty. | ▶ | Clean the outside of the thumbwheel. |
| Speed too high or too low. | Wrong value set. | ▶ | Check the set value (scale on the thumbwheel) and change the setting accordingly. |
| Dust extraction with the dust extractor or WSJ-DRS is not working. | Extractor hood not correctly con- nected. | ▶ | Make sure that the vacuum cleaner is working and that the dust removal adapter and the extractor hood are correctly connected. |
| Channels in the product and/or suction adapter dirty. | ▶ | Clean the connection and check that the accessory is suitable. | |
| Base plate cannot be swiveled. | Securing screw not slackened. | ▶ | Check the screw; slacken it if necessary. |
| Connection to the product dirty. | ▶ | Clean the area between the base plate and the product. | |
| WSJ 850-EB WSJ 850-ET | Connection to the base plate is dirty. | ▶ | Clean the connection. |
| Accessory cannot be installed. | Wrong accessory. | ▶ | Check that the accessory is suitable. |
| DRS dust extraction module not working. | Connection on the product not correct. | ▶ | Check the connection on the product. |
| The dust container is full. | ▶ | Empty the dust container. | |
| The filter is clogged. | ▶ | Clean the filter or replace the dust container. | |
| Cut not straight. | Wrong saw blade for the job. | ▶ | Use a new, suitable saw blade. |
| Saw blade blunt or damaged. | ▶ | Use a new saw blade. | |
| Material gets too hot during cutting. | Cutting force and speed too high. | ▶ | Reduce speed and pressure. |
| Material (metal) gets too hot during cutting. | Lack of lubrication for cutting metal. | ▶ | Use a new saw blade and make sure there is adequate lubrication between saw blade and workpiece. |
Disposal
WARNING
Risk of injury. Hazards are presented by improper disposal.
- Improper disposal of the equipment may have the following consequences: The burning of plastic components generates toxic fumes which may present a health hazard. Batteries may explode if damaged or exposed to very high temperatures, causing poisoning, burns, acid burns, or environmental pollution. Careless disposal may permit unauthorized and improper use of the equipment. This may result in serious personal injury, injury to third parties, and pollution of the environment.
- Dispose of defective batteries right away. Keep them out of reach of children. Do not disassemble or incinerate the batteries.
- Batteries that have reached the end of their life must be disposed of in accordance with national regulations or returned to Hilti.
Most of the materials from which Hilti tools and appliances are manufactured can be recycled. The materials must be correctly separated before they can be recycled. In many countries, your old tools, machines or appliances can be returned to Hilti for recycling. Ask Hilti Service or your Hilti representative for further information. In accordance with the European Directive on waste electrical and electronic appliances and its implementation in conformance with national law, electrical and electronic appliances that have reached the end of their life must be collected separately and returned to an environmentally compatible recycling facility.
- Do not dispose of electrical and electronic appliances together with household waste!
Further information
RoHS (Restriction of Hazardous Substances)
You will find a link to the table of hazardous substances, in the form of a QR code, at the end of this document or online at: qr.hilti.com/r3076
Manufacturer’s warranty
- Please contact your local Hilti representative if you have questions about the warranty conditions.
EC Declaration of Conformity UK Declaration of Conformity
Manufacturer:
Hilti Corporation FeldkircherstraBe 100 9494 Schaan I Liechtenstein
Importer:
Hilti (Gt. Britain) Limited 1 Trafford Wharf Road, Old Trafford Manchester, M17 1BY
WSJ 750-EB (01) I WSJ 850-EB (01) I WSJ 750-ET (01) I WSJ 850-ET (01)
Serial Numbers: 1-99999999999
- 2006/42/EC I Supply of Machinery (Safety) Regulations 2008
- EN 62841-1:2015
- EN 62841-2-11:2016
- 2014/30/EU I Electromagnetic Compatibility Regulations 2016
- EN 55014-1:2017 + A11:2020
- EN 55014-2:2015
- 2011/65/EU I The Restriction of the Use of Certain Hazardous Substances in Electrical and Electronic Equipment Regulations 2012
- EN 61000-3-2:2019
- EN 61000-3-3:2013 + A1:2019
Dr. Tahar Zrilli
Head of Quality and Process Management Business Area Electric Tools & Accessories
Schaan,26.07.2021
Tassilo Deinzer
Executive Vice President Business Unit Power Tools & Accessories.
Hilti Corporation
LI-9494 Schaan Tel.:+423 234 21 11 Fax:+423 234 29 65 www.hilti.group.
377834 Hilti = registered trademark of Hilti Corp., Schaan.


















