RM 248.2 T, 253.2 T
Instruction Manual
![]()
Introduction
Dear Customer,
Thank you for choosing STIHL. We develop and manufacture our quality products to meet our customers’ requirements. The products are designed for reliability even under extreme con‐ ditions.
STIHL also stands for premium service quality. Our dealers guarantee competent advice and instruction as well as comprehensive service support.
STIHL expressly commit themselves to a sus‐ tainable and responsible handling of natural resources. This user manual is intended to help you use your STIHL product safely and in an environmentally friendly manner over a long service life.
We thank you for your confidence in us and hope you will enjoy working with your STIHL product.
IMPORTANT! READ BEFORE USING AND KEEP IN A SAFE PLACE FOR REFERENCE.
Guide to Using this Manual
2.1 Applicable Documents
This instruction manual constitutes original man‐ufacturer’s instructions in the sense of EC Direc‐ tive 2006/42/EC.
Local safety regulations apply.
- In addition to this instruction manual, read, understand and keep the following documents: – Instruction manual for the STIHL EVC 200.3 engine
2.2 Warning Notices in Text
DANGER
- This notice refers to risks which result in serious or fatal injury.
- Serious or fatal injuries can be avoided by taking the precautions mentioned.
WARNING
- This notice refers to risks which can result in serious or fatal injury.
- Serious or fatal injuries can be avoided by taking the precautions mentioned.
NOTICE
- This notice refers to risks which can result in damage to property.
- Damage to property can be avoided by taking the precautions mentioned.
2.3 Symbols in Text
This symbol refers to a chapter in this instruction manual.
Overview
3.1 Lawn Mower

- Starter handle
The starter handle is used to start the engine. - Control bar for mowing
The control bar for mowing is used to start and stop the engine. - Handlebar
The handlebar is used to hold, guide and transport the lawn mower. - Control bar for self-propulsion
The control bar for self-propulsion engages and disengages self-propulsion. - Discharge flap
The discharge flap closes off the discharge chute. - Star grip nut
The star grip nut clamps the handlebar to the lawn mower. - Fuel tank cap
The fuel tank cap seals the opening for add‐ ing petrol. - Filter cover
The filter cover provides protection for the air filter. - Spark plug
The spark plug ignites the fuel/air mixture in the engine. - Spark plug socket
The spark plug socket connects the ignition lead to the spark plug. - Muffler
The muffler reduces the lawn mower’s noise level. - Engine oil cap
The engine oil cap seals the opening for add‐ ing engine oil. - Lever
The lever is used to set the cutting height. - Grass catcher box
The grass catcher box collects the mown grass.
# Rating plate with machine number
3.2 Symbols
The symbols can be on the lawn mower and have the following meaning:
| Guaranteed sound power level in accordance with Directive 2000/14/ECin dB(A) for the purpose of comparing the sound emissions of products. | |
| This symbol identifies the fuel tank cap. | |
| This symbol identifies the engine oil cap. | |
| Start/stop the engine. | |
| Engage self-propulsion. |
Safety Precautions
4.1 Warning Symbols
The warning symbols on the lawn mower have the following meaning:
![]() | Follow the safety instructions and their measures. |
| Read, understand and keep the instruction manual. | |
| Observe the safety instructions on objects expelled at high speed by the lawn mower and their measures. | |
| Do not touch a turning blade. | |
| Detach the spark plug socket during transport, storage, maintenance or repair. | |
| Maintain a safety distance. |
4.2 Intended Use
The STIHL RM 248 T or RM 253 T lawn mower is used to mow grass.
WARNING
- Failure to use the lawn mower as intended may result in serious or fatal injury to people and damage to property.
- Use the lawn mower as described in this instruction manual and in the engine instruction manual.
4.3 Requirements for the User
WARNING
- Uninstructed users cannot recognise or evaluate the dangers posed by the lawn mower.
This may result in serious or fatal injury to the user or other people.
Read, understand and keep the instruction manual.- If passing on the lawn mower to another person: provide them with the lawn mower and engine instruction manuals also.
- Make sure that the user meets the following conditions:
– The user is rested.
– The user is physically, sensorily and mentally capable of operating the lawn mower and working with it. If the user is physically, sensorily or mentally impaired, the machine must only be used under supervision or following instruction by a responsible person.
– The user can recognise and evaluate the dangers posed by the lawn mower.
– The user is aware that they are responsible for accidents and damage.
– The user is of legal age or the user is being trained under supervision in a profession in accordance with national regulations.
– The user has received instruction from a STIHL specialist dealer or a competent person before using the lawn mower for the first time.
– The user is not impaired by alcohol, medicines or drugs. - If anything is unclear: consult a STIHL specialist dealer.
4.4 Clothing and Equipment
WARNING
- Objects may be thrown up at high velocity while working. This may result in injury to the user.
► Wear long trousers made from resistant material. - Noise is produced while working. Noise may damage the hearing.
► Wear hearing protection. - Dust may be stirred up while working. Breath‐ ing in dust may be harmful to health and cause allergic reactions.
► If dust is stirred up: wear a dust mask. - Unsuitable clothing may get caught on wood, briars and in the lawn mower. This may result in serious injury to the user.
► Wear close-fitting clothing.
► Remove scarves and jewellery. - The user may come into contact with the blade during cleaning, maintenance or transport.
This may result in injury to the user.
► Wear protective gloves made from resistant material.
► Wear sturdy, closed-toed footwear with high-grip soles. - Wearing unsuitable footwear may cause the user to slip. This may result in injury to the user.
- Material particles may be expelled when sharpening the blade. This may result in injury to the user.
► Wear close-fitting safety glasses. Suitable safety glasses are tested in accordance with EN 166 or national regulations and available commercially with the corresponding marking.
► Wear protective gloves made from resistant material.
4.5 Work Area and Surroundings
WARNING
- Bystanding people, children and animals cannot recognise or evaluate the dangers posed by the lawn mower and objects thrown up by the machine. This may result in serious injury to bystanding people, children and animals and damage to property.
► Keep bystanding people, children and animals out of the work area.
► Maintain a distance from objects.
► Do not leave the lawn mower unattended.
► Make sure that children cannot play with the lawn mower. - Hot exhaust gases are emitted from the muffler when the engine is running. Hot exhaust gases may ignite easily inflammable materials and cause fires.
► Keep the exhaust gas flow away from easily inflammable materials.
4.6 Safe Condition
4.6.1 Lawn Mower
The lawn mower is in safe condition when the following conditions are met:
– The lawn mower is free from damage.
– There is no petrol leaking from the lawn mower.
– The fuel tank cap is closed.
– There is no engine oil leaking from the lawn mower.
– The engine oil cap is closed.
– The lawn mower is clean.
– The controls are working and have not been modified.
– If mowing and the mown grass is to be collected in the grass catcher box: the grass catcher box is correctly attached.
– If mowing and the mown grass is to be ejected to the rear: the grass catcher box is detached and the discharge flap is closed.
– The blade is correctly attached.
– Genuine STIHL accessories for this lawn mower are attached.
– The accessories are correctly attached.
– Spring-loaded mechanisms are free from dam‐ age and working.
– The engine stops when the control bar for mowing is released.
WARNING
- If not in safe condition, components may no longer operate correctly, safety devices may be disabled and fuel may leak. This may result in serous or fatal injury to people.
► Do not use a damaged lawn mower.
► If there is petrol leaking from the lawn mower: do not use the lawn mower and consult a STIHL specialist dealer.
► Close the fuel tank cap.
► If there is engine oil leaking from the lawn mower: do not use the lawn mower and consult a STIHL specialist dealer.
► Close the engine oil cap.
► If the lawn mower is dirty: clean the lawn mower.
► Do not tamper with the lawn mower and its safety systems.
► Tampering with the lawn mower which increases the power output or the engine speed is forbidden.
► If the controls are not working: do not use the lawn mower.
► Spring-loaded mechanisms may release stored energy.
► If mowing and the mown grass is to be col‐ lected in the grass catcher box: attach the grass catcher box as described in this instruction manual.
► Attach genuine STIHL accessories for this lawn mower.
► Attach the blade as described in this instruction manual.
► Attach accessories as described in this instruction manual or in the instruction manual for the accessories.
► Do not insert objects into the apertures in the lawn mower.
► Replace worn or damaged warning signs.
► If anything is unclear: consult a STIHL specialist dealer.
4.6.2 Blade
The blade is in safe condition when the following conditions are met:
– The blade and attachments are undamaged.
– The blade is not deformed.
– The blade is correctly attached.
– The blade is correctly sharpened.
– The blade is burr-free.
– The blade is correctly balanced.
– The minimum thickness and minimum width of the blade are not fallen below,
19.2.
– The sharpening angle is observed,
19.2.
WARNING
- In unsafe condition, blade parts may come loose and be expelled. This may result in serious injury to people.
► Use an undamaged blade and attachments.
► Attach the blade correctly.
► Sharpen the blade correctly.
► If the minimum thickness or minimum width is fallen below: replace the blade.
► Have the blade balanced by a STIHL specialist dealer.
► If anything is unclear: consult a STIHL specialist dealer.
4.7 Fuel and Refuelling
WARNING
- The fuel used for this lawn mower is petrol. Petrol is extremely inflammable. If petrol comes into contact with an open flame or hot objects, it may cause fires or explosions. This may result in serious or fatal injury to people and damage to property.
► Protect petrol from heat and fire.
► Do not spill petrol.
► If petrol is spilled: wipe up the petrol with a cloth and wait until all parts of the lawn mower are dry before attempting to start the engine.
► Do not smoke.
► Do not refuel in the vicinity of flames.
► Before refilling the tank, stop the engine and allow it to cool.
► If the tank needs to be emptied: do this out of doors.
► Start the engine at least 3 m away from the refuelling site.
► Never store the lawn mower with petrol in the tank inside a building. - Breathing in petrol fumes may result in poisoning.
► Do not breathe in petrol fumes.
► Refuel in a well-ventilated place. - The lawn mower warms up while working. The petrol expands and overpressure may occur in the fuel tank. Petrol may gush out when the fuel tank cap is opened. The gushing petrol may ignite. This may result in serious injury to the user.
► Allow the lawn mower to cool down before opening the fuel tank cap. - Clothing that comes into contact with petrol is highly inflammable. This may result in serious or fatal injury to people and damage to property.
► If clothing comes into contact with petrol: change clothing. - Petrol poses a risk to the environment.
► Do not spill fuel.
► Dispose of petrol in accordance with regulations and in an environmentally acceptable way. - If petrol comes into contact with the skin or eyes, this may cause irritation.
► Avoid contact with petrol.
► In the event of contact with the skin: wash the affected areas with plenty of soap and water.
► In the event of contact with the eyes: rinse the eyes with plenty of water for at least 15 minutes and seek medical attention. - The lawn mower’s ignition system generates sparks. Sparks may escape and cause fires and explosions in highly inflammable or explo‐ sive environments. This may result in serious or fatal injury to people and damage to prop‐ erty.
► Use the spark plugs described in the engine instruction manual.
► Screw in the spark plug and tighten.
► Press on the spark plug socket firmly. - The lawn mower may be damaged if it is refuelled with petrol that is not suitable for the engine.
► Use fresh, good-quality unleaded petrol.
► Observe the specifications in the engine instruction manual.
4.8 Working
WARNING
- The user may lose control of the lawn mower if they do not start the engine correctly. This may result in serious injury to the user.
► Start the engine as described in this instruction manual. - In certain situations, the user may no longer be able to concentrate on their work. This may result in the user stumbling, falling and becom‐ ing seriously injured.
► Work calmly and carefully.
► Only mow when visibility is good. Do not use the lawn mower if the light and visibility conditions are poor.
► Operate the lawn mower alone.
► Watch out for obstacles.
► Do not tilt the lawn mower.
► Work standing on the ground and maintain balance.
► If signs of fatigue occur: take a break.
► If mowing on a slope: mow across the slope.
► Do not work on slopes with an inclination greater than 25° (46.6%).
► Use the lawn mower with particular care when working near slopes, terraces, ditches, rubbish piles and embankments.
► Plan your working times so that more severe physical strains over a longer period are avoided. - Exhaust fumes are produced when the engine is running. Breathing in exhaust fumes may result in poisoning.
► Do not breathe in exhaust fumes.
► Use the lawn mower in a well-ventilated place.
► If nausea, headaches, vision problems, hearing problems or dizziness occur: stop working and consult a doctor. - If the user is wearing hearing protection and the engine is running, their perception and assessment of noise may be limited.
► Work calmly and carefully. - The lawn mower is equipped with a motorstop device.
► Releasing the control bar for mowing causes the engine and blade to stop within 3 seconds. - The turning blade may cut the user. This may result in serious injury to the user.
► Detach the spark plug socket.
► Do not touch a turning blade.
► If the blade is blocked by an object: stop the engine. Only then remove the object. - If working without self-propulsion when mowing, self-propulsion may unintentionally be engaged and the lawn mower may start moving. This may result in serious injury to people and damage to property.
► Only press the control bar for self-propulsion if self-propulsion is to be engaged. - If the lawn mower changes or starts to behave differently when working, it may not be in safe condition. This may result in serious injury to people and damage to property.
► Stop working and consult a STIHL specialist dealer. - The lawn mower may cause vibrations when working.
► Wear work gloves.
► Take breaks.
► If signs of a circulatory disturbance occur: consult a doctor. - Inspect the mowing area and look out for obstacles. If the blade hits a foreign object when working, the foreign object or parts of it may be thrown up at high velocity. This may result in injury to people and damage to property.
► Remove foreign objects such as stones, sticks, wires, toys or other foreign objects from the working area. Mark hidden objects that cannot be removed. - When the control bar for mowing is released, the blade continues to turn for a short time. This may result in serious injury to people.
► Wait until the blade is no longer turning.
► Do not detach the grass catcher box until the blade stops turning. - Sparks may be produced if the turning blade hits a hard object. Sparks may cause fires in highly flammable environments. This may result in serious or fatal injury to people and damage to property.
► Do not work in a highly flammable environment. - If the lawn mower is stopped on a sloping surface, it may unintentionally roll away. This may result in injury to people and damage to prop‐ erty.
► Only release the lawn mower if it is on a level surface and cannot roll away by itself. - If objects are attached to the handlebar, the additional weight may cause the lawn mower to tip over. This may result in injury to people and damage to property.
► Do not attach objects to the handlebar.
DANGER
- If working near live wires, the blade may come into contact with the live wires and damage them. This may result in serious or fatal injury to the user.
► Do not work near live wires. - The user may be struck by lighting if working during a thunderstorm. This may result in serious or fatal injury to the user.
► Do not work during thunderstorms. - Working in the rain may cause the user to slip. This may result in serious or fatal injury to the user.
► Do not work when it is raining.
4.9 Transporting
WARNING
- The lawn mower may tip over or move during transport. This may result in injury to people and damage to property.
► Stop the engine.
► Wait until the blade is no longer turning.
► Detach the spark plug socket.
► Secure the lawn mower on a suitable load floor with lashing straps, belts or a net so it cannot tip over and move. - The muffler and engine may be hot after the engine has been running. This may result in the user burning themselves when transport‐ ing the machine.
► Push the lawn mower. - The lawn mower is heavy. Attempting to carry the lawn mower without assistance may result in injury to the user.
► Wear protective gloves.
► The lawn mower must be carried by two people. - During transport, petrol may leak and cause contamination and damage.
► Push the lawn mower.
► Transport the machine without petrol in it.
4.10 Storing
WARNING
- Children cannot recognise or evaluate the dangers posed by the lawn mower. There is a risk of serious injury to children.
► Stop the engine.
► Keep the lawn mower out of reach of children. - Moisture may cause corrosion of metal components. This may result in damage to the lawn mower.
► Keep the lawn mower clean and dry. - If the lawn mower is kept on a sloping surface, it may unintentionally roll away. This may result in injury to people and damage to prop‐ erty.
► The lawn mower should only be kept on level surfaces.
4.11 Cleaning, Maintenance and Repair
WARNING
- Having the engine running during cleaning, maintenance or repair may result in serious injury to people and damage to property.
► Stop the engine.
► Wait until the blade is no longer turning.
► Detach the spark plug socket. - The self-propulsion may be unintentionally engaged if the engine is running during cleaning, maintenance or repair. This may result in serious injury to people and damage to prop‐ erty.
► Stop the engine.
► Detach the spark plug socket. - The muffler and engine may be hot after the engine has been running. This may result in people burning themselves.
► Wait until the muffler and engine have cooled down. - Abrasive cleaning agents or using a water jet or sharp objects for cleaning may result in damage to the lawn mower or blade. If the lawn mower or blade is not cleaned correctly, components may no longer operate correctly and safety devices may be disabled. This may result in serious injury to people.
► Clean the lawn mower and blade as described in this instruction manual,
15.2. - If the lawn mower or blade is not maintained or repaired as described in this instruction manual, components may no longer operate correctly and safety devices may be disabled.
This may result in serious or fatal injury to people.
► Replace worn or damaged parts.
► Maintain or repair the lawn mower as described in this instruction manual.
► Maintain the blade as described in this instruction manual. - The user may cut themselves on sharp cutting edges during blade cleaning, maintenance or repair. This may result in injury to the user.
► Wear protective gloves made from resistant material. - The blade may become hot during sharpening.
This may result in the user burning themselves.
► Wait until the blade has cooled down.
► Wear protective gloves made from resistant material.
Preparing the Lawn Mower for Operation
5.1 Preparing the Lawn Mower for Operation
The following steps must be performed before commencing work:
► Remove packaging material and transport locks.
► Make sure that the following components are in safe condition:
– Lawn mower,
4.6.1.
– Blade,
4.6.2.
► Clean the lawn mower,
15.
► Check the blade,
10.1.
► Attach the handlebar,
6.1.
► Add engine oil,
6.3.
► Fold up the handlebar,
8.1.
► Refuel the lawn mower,
7.
► If mowing and the mown grass is to be collected in the grass catcher box: attach the grass catcher box,
6.2.2.
► If mowing and the mown grass is to be ejected to the rear: detach the grass catcher box,
6.2.3.
► Set the cutting height,
11.2.
► Check the controls,
10.2.
► If the steps cannot be performed: do not use the lawn mower and consult a STIHL specialist dealer.
Assembling the Lawn Mower
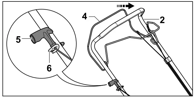
6.1 Attaching the Handlebar
► Stop the engine.
► Place the lawn mower on a level surface.

► Insert bolt (1) through cable guide (2).
► Attach cables (3 and 4) to cable guide (2).
► Hold handlebar (5) against retainers (6) so the bores align.
► Push bolts (1 and 7) through the bores from the inside to the outside.
► Screw on star grip nuts (8) and tighten firmly.

► Detach the spark plug socket.
► Press control bar for mowing (9) to handlebar (5) and hold.
► Slowly pull starter handle (10) in the direction of starter rope guide (11).
► Hook starter handle (10) into starter rope guide (11).
► Release control bar for mowing (9).
► Re-attach the spark plug socket.
Handlebar (5) must not be dismantled again.
6.2 Assembling, Attaching and Detaching the Grass Catcher Box
6.2.1 Assembling the Grass Catcher Box

► Fit upper part of grass catcher box (1) onto lower part of grass catcher box (2).
Tabs (3) and guides (5) must be located on the inside. Tabs (3) must be level with openings (4).
► Press tabs (3) into openings (4) one after the other from back to front.
Tabs (3) engage audibly.
6.2.2 Attaching the Grass Catcher Box
► Stop the engine.
► Place the lawn mower on a level surface.

► Open discharge flap (1) and hold it open.
► Take hold of grass catcher box (2) by handle (3) and attach to mounts (5) using hooks (4).
Flap (6) must be closed.
► Set down discharge flap (1) on grass catcher box (2).
6.2.3 Detaching the Grass Catcher Box
► Stop the engine.
► Place the lawn mower on a level surface.
► Open the discharge flap and hold it open.
► Remove the grass catcher box upwards by the handle.
► Close the discharge flap.
6.3 Adding Engine Oil
The engine oil lubricates and cools the engine.
The engine oil specification and capacity can be found in the engine instruction manual.
NOTICE
- The lawn mower does not contain any engine oil on delivery. Starting the engine with no or too little engine oil may damage the lawn mower.
► Always check the engine oil level before starting and if necessary top up.
► Add the engine oil as described in the engine instruction manual.
Refuelling the Lawn Mower
7.1 Refuelling the Lawn Mower
NOTICE
- The lawn mower may be damaged if the correct fuel is not used.
► See the engine instruction manual.
► Stop the engine.
► Place the lawn mower on a level surface.
► Clean the area around the fuel tank cap with a damp cloth.

► Turn fuel tank cap (1) anti-clockwise until it can be removed.
► Remove the fuel tank cap.
► Add fuel, stopping at least 15 mm short of the fuel tank brim.
► Place the fuel tank cap on the fuel tank.
► Turn the fuel tank cap clockwise and tighten firmly by hand.
The fuel tank is sealed.
Adjusting the Lawn Mower for the User
8.1 Folding Up the Handlebar
► Stop the engine.
► Detach the spark plug socket.
► Place the lawn mower on a level surface.

► Loosen star grips nuts (1) if they are tightened.
► Fold up handlebar (2), ensuring that cables (3) are not trapped.
► Firmly tighten star grip nuts (1).
Handlebar (2) is firmly attached to the lawn mower.

► Press control bar for mowing (4) to handle‐ bar (2) and hold.
► Slowly pull starter handle (5) in the direction of starter rope guide (6).
► Hook starter handle (5) into starter rope guide (6).
► Release control bar for mowing (4).
► Re-attach the spark plug socket.
8.2 Folding the Handlebar
The handlebar can be folded for space-saving transport or storage.
► Stop the engine.
► Detach the spark plug socket.
► Place the lawn mower on a level surface.
► Press the control bar for mowing to the handlebar and hold.
► Detach the starter handle from the starter rope guide and slowly guide back towards the engine.
► Release the control bar for mowing.
► Hold the handlebar and loosen the star grip nuts.
► Fold down the handlebar forwards.
Starting and Stopping the Engine
9.1 Starting the Engine
► Place the lawn mower on a level surface.

► Press control bar for mowing (1) to the handlebar with the left hand and hold.
► Slowly pull out starter handle (2) to the point of noticeable resistance with the right hand.
► Keep quickly pulling out and returning starter handle (2) until the engine is running.
► If the engine does not start: see the engine instruction manual.
9.2 Stopping the Engine
► Place the lawn mower on a level surface.
► Release the control bar for mowing.
The engine stops.
► Leave the user position.
Checking the Lawn Mower
10.1 Checking the Blade
► Stop the engine.
► Detach the spark plug socket.
► Upend the lawn mower,
15.1.

► Measure the following:
– Thickness a
– Width b
– Sharpening angle c
► If the minimum thickness or minimum width is fallen below: replace the blade,
19.2.
► If the sharpening angle is not correct: sharpen the blade,
19.2.
► If anything is unclear: consult a STIHL specialist dealer.
10.2 Checking the Controls
Control bar for mowing and control bar for selfpropulsion
► Stop the engine.
► Pull the control bar for mowing and the control bar for self-propulsion fully in the direction of the handlebar and release again.
► If the control bar for mowing or the control bar for self-propulsion is stiff or does not spring back into the initial position: do not use the lawn mower and consult a STIHL specialist dealer.
The control bar for mowing or the control bar for self-propulsion is defective.
Operating the Lawn Mower
11.1 Holding and Guiding the Lawn Mower

► Hold the handlebar with both hands so the thumbs enclose the handlebar.
11.2 Setting the Cutting Height
Seven cutting heights can be set:
– 30 mm = position 1
– 40 mm = position 2
– 50 mm = position 3
– 55 mm = position 4
– 65 mm = position 5
– 70 mm = position 6
– 80 mm = position 7
The positions are indicated on the lawn mower.
Setting the cutting height
► Stop the engine.
The blade must not be turning.
► Place the lawn mower on a level surface.

► Pull lever (1) from the notch and move to the desired position.
11.3 Switching the Drive On and Off
11.3.1 Engaging Self-propulsion
► Place the lawn mower on a level surface.
► Start the engine.

► Pull control bar for self-propulsion (1) fully in the direction of the handlebar and hold so the thumb encloses the handlebar.
The lawn mower starts moving.
11.3.2 Disengaging Self-propulsion
► Release the control bar for self-propulsion.
► Wait until the lawn mower comes to a standstill.
11.4 Mowing

► If working with self-propulsion engaged: drive the lawn mower forwards in a controlled manner.
► If working with self-propulsion disengaged: push the lawn mower forwards slowly and in a controlled manner.
11.5 Emptying the Grass Catcher Box

The flow of air generated by the blade raises level indicator (1). The flow of air stops when the grass catcher box is full. If the flow of air is too low, level indicator (1) returns to its resting state.
This is a prompt to empty grass catcher box (2).
The functionality of level indicator (1) is restricted if the flow of air is impaired. External influences such as wet, dense or high grass, low cutting height, contamination or the like can impair the flow of air and the functionality of level indicator (1).
► If level indicator (1) drops to its resting state: empty grass catcher box (2).
► Stop the engine.
► Detach grass catcher box (2).

► Hold grass catcher box (2) with one hand on handle (4) and the second hand on rear han‐ dle (3).
► Empty grass catcher box (2).
► Attach grass catcher box (2).
After Finishing Work
12.1 After Finishing Work
► Stop the engine.
► If the lawn mower is wet: allow the lawn mower to dry.
► Clean the lawn mower.
Transporting
13.1 Transporting the Lawn Mower
► Stop the engine.
The blade must not be turning.
► Detach the spark plug socket.
Pushing the lawn mower
► Push the lawn mower forwards slowly and in a controlled manner.
Carrying the lawn mower
► Wear work gloves made from resistant material.
► Detach the grass catcher box.

► If the lawn mower is being carried with the handlebar unfolded:
► One person holds the lawn mower by the front of the housing using both hands and another person holds the handlebar using both hands.
► The lawn mower must be lifted and carried by two people.

► If the lawn mower is being carried with the handlebar folded:
► Fold down the handlebar.
► One person holds the lawn mower by the front of the housing using both hands and another person holds the handlebar using both hands.
► The lawn mower must be lifted and carried by two people.
Transporting the lawn mower in a vehicle
► Secure the lawn mower upright so it does not tip over and cannot move.
Storing
14.1 Storing the Lawn Mower
► Stop the engine and allow it to cool down.
► Detach the spark plug socket.
► Store the lawn mower in accordance with the following conditions:
– The lawn mower is out of reach of children.
– The lawn mower is clean and dry.
– The lawn mower cannot tip over.
– The lawn mower cannot roll away.
If the lawn mower is to be stored for more than three months:
► Run the fuel tank empty.
► Have the fuel tank cleaned by a STIHL specialist dealer.
► Change the engine oil as described in the engine instruction manual.
► Unscrew the spark plug.
WARNING
- Sparks may escape if the starter handle is pulled out while the spark plug socket is detached. Sparks may cause fires and explo‐ sions in highly flammable or explosive environments. This may result in serious or fatal injury to people and damage to property.
► Keep the spark plug socket away from the spark plug opening.
► Pull out and return the starter handle a number of times.
► Screw in the spark plug and tighten firmly.
Cleaning
15.1 Upending the Lawn Mower
► Run the fuel tank empty.
The engine stops.
► Place the lawn mower on a level surface.
► Detach the grass catcher box.
► Set the cutting height to position 1,
11.2.
► Unhook the starter handle from the starter rope guide.

► Detach spark plug socket (1).
► Hold handlebar (2) and loosen star grip nuts (3).
► Set down handlebar (2) to the rear.
► Open discharge flap (4) and hold it open.
► Upend the lawn mower.
15.2 Cleaning the Lawn Mower
► Stop the engine.
► Allow the lawn mower to cool down.
► Detach the spark plug socket.
► Clean the lawn mower with a damp cloth.
► Clean the ventilation slots with a paintbrush.
► Upend the lawn mower.
► Clean the area around the blade and the blade with a stick, a soft brush or a damp cloth.
Maintenance
16.1 Maintenance Intervals
Maintenance intervals are dependent on the ambient conditions and the working conditions.
STIHL recommends the following maintenance intervals: Engine
► Maintain the engine as described in the engine instruction manual.
Lawn mower
► Have the lawn mower inspected annually by a STIHL specialist dealer.
16.2 Removing and Attaching the Blade
16.2.1 Removing the Blade
► Stop the engine.
► Detach the spark plug socket.
► Upend the lawn mower.

► Block blade (1) using a piece of wood (4).
► Unscrew bolt (2) and remove together with washer (3).
► Remove blade (1).
► Discard bolt (2) and washer (3).
Use a new bolt and washer to attach blade (1).
16.2.2 Attaching the Blade
► Stop the engine.
► Detach the spark plug socket.
► Upend the lawn mower.

► Place new washer (3) on new bolt (2).
► Apply Loctite 243 thread locker to the thread of bolt (2).
► Position blade (1) so the raised areas on the contact area engage in the notches in blade (1).
► Screw in bolt (2) together with washer (3).

► Block blade (1) using a piece of wood (4).
► Tighten bolt (2) to 65 Nm.
16.3 Sharpening and Balancing the Blade
Sharpening and balancing the blade correctly requires a lot of practice.
STIHL recommends having the blade sharpened and balanced by a STIHL specialist dealer.
WARNING
- The cutting edges of the blade are sharp. This may result in the user cutting themselves.
► Wear protective gloves made from resistant material.
► Stop the engine.
► Detach the spark plug socket.
► Upend the lawn mower.
► Remove the blade.
► Sharpen the blade. Observe the sharpening angle and cool the blade,
19.2.
Bluing of the blade during sharpening is not permitted.
► Attach the blade.
► If anything is unclear: consult a STIHL specialist dealer.
Repairing
17.1 Repairing the Lawn Mower
The user should not repair the lawn mower or blade themselves.
► If the lawn mower or blade is damaged: do not use the lawn mower or blade and consult a STIHL specialist dealer.
► If warning signs are illegible or damaged: have the warning signs replaced by a STIHL spe‐ cialist dealer.
Troubleshooting
18.1 Remedying Lawn Mower Faults
| Fault | Cause | Remedy |
| Engine cannot be started. | Control bar for mowing is not pressed. | ►Start engine as described in this instruction manual. |
| Fuel tank is empty. | ►Refuel lawn mower. | |
| Fuel line is blocked. | ►Consult a STIHL specialist dealer. | |
| Inferior, dirty or old fuel in the tank. | ►Use fresh, good-quality unleaded petrol. | |
| Air filter is dirty. | ►Consult a STIHL specialist dealer. | |
| Spark plug socket is detached from spark plug or ignition lead is not properly fastened to socket. | ►Connect spark plug socket. ►Check connection between ignition lead and plug. | |
| Spark plug is dirty, damaged or electrode gap is incorrect. | ►Clean or replace spark plug. ►Adjust electrode gap. | |
| Resistance at the blade is too great. | ►Set a higher cutting height. ►Start engine in lower grass. | |
| Engine difficult to start or engine power deteriorating. | Lawn mower housing is blocked. | Clean lawn mower. |
| Cutting height is set too low or rate of feed is too high. | Adapt cutting height or mow more slowly. | |
| Water in fuel tank and carburet- for or carburettor is blocked. | Empty fuel tank, clean fuel line and carburettor. | |
| Fuel tank is contaminated. | Consult a STIHL specialist dealer. | |
| Air filter is dirty. | Consult a STIHL specialist dealer. | |
| Spark plug is dirty. | Clean or replace spark plug. | |
| Engine oil level is too low. | Add or change engine oil as described in the engine instruction manual. | |
| Cooling ribs are dirty. | Clean lawn mower. | |
| Lawn mower vibrates excessively. | Blade is damaged. | Replace blade. |
| Blade is not correctly attached. | Attach blade. | |
| Grass is not being cut cleanly. | Blade is blunt or worn. | Sharpen or replace blade. |
Specifications
19.1 STIHL RM 248.2 T,
RM 253.2 T Lawn Mower
– Engine type:
– RM 248.2 T: STIHL EVC 200
– RM 253.2 T: STIHL EVC 200
– Displacement:
– RM 248.2 T: 139 cm³
– RM 253.2 T: 139 cm³
– Power:
– RM 248.2 T: 2.1 kW (2.8 hp) at 2800 rpm
– RM 253.2 T: 2.1 kW (2.8 hp) at 2800 rpm
– Speed:
– RM 248.2 T: 2800 rpm
– RM 253.2 T: 2800 rpm
– Maximum fuel tank capacity: 900 cm³ (0.9 l)
– Weight:
– RM 248.2 T: 28 kg
– RM 253.2 T: 29 kg
– Maximum grass catcher box capacity: 55 l
– Cutting width:
– RM 248.2 T: 46 cm
– RM 253.2 T: 51 cm
19.2 Blade
– Minimum thickness a: 2.0 mm
– Minimum width b: 55 mm
– Sharpening angle c: 30°
19.3 Sound Values and Vibration Values
RM 248.2 T
The K value for the sound pressure level is 2 dB(A). The K value for the guaranteed sound power level is 1.2 dB(A). The K value for the vibration values is 1.40 m/s².
– Sound pressure level LpA measured in accordance with EN ISO 5395-2: 80 dB(A)
– Guaranteed sound power level LWAd measured in accordance with 2000/14/ EC / S.I. 2001/1701: 94 dB(A)
– Vibration value ahv, handlebar, measured in accordance with EN ISO 5395-2: 2.80 m/s² RM 253.2 T
The K value for the sound pressure level is 2 dB(A). The K value for the guaranteed sound power level is 1.4 dB(A). The K value for the vibration value is 2.2 m/s².
– Sound pressure level LpA measured in accordance with EN ISO 5395-2: 84 dB(A)
– Guaranteed sound power level LWAd measured in accordance with 2000/14/ EC / S.I. 2001/1701: 97 dB(A)
– Vibration value ahv, handlebar, measured in accordance with EN ISO 5395-2: 5.50 m/s² For information on compliance with Employers’ Vibration Directive 2002/44/EC and S.I. 2005/1093, see www.stihl.com/vib.
19.4 REACH
REACH is an EC regulation and stands for the Registration, Evaluation, Authorisation and Restriction of Chemical substances.
For information on compliance with the REACH regulation see www.stihl.com/reach.
Spare Parts and Accessories
20.1 Spare parts and accessories
These symbols indicate original STIHL spare parts and original STIHL accessories.
STIHL recommends the use of original STIHL spare parts and accessories.
Despite ongoing market observation, STIHL is unable to judge the reliability, safety and suitability of other manufacturers’ spare parts and accessories; accordingly, STIHL cannot warrant for the use of those parts.
Original STIHL spare parts and original STIHL accessories are available from STIHL dealers.
20.2 Essential Spare Parts
STIHL assumes no liability for injury to people or damage to property resulting from the use of unauthorised attachments or spare parts.
– Blade, RM 248 T: 6350 702 0103
– Blade, RM 253 T: 6371 702 0102
– Blade fastening screw: 9008 319 9028
– Washer: 0000 702 6600
Disposal
21.1 Disposing of the Lawn Mower
Information on disposal is available from your local authority or from a STIHL dealer.
Improper disposal may be harmful to health and pollute the environment.
► Take STIHL products including packaging to a suitable collection point for recycling in accord‐ ance with local regulations.
► Do not dispose of the product with domestic waste.
EC Declaration of Conformity
22.1 STIHL RM 248.2 T, RM 253.2 T Lawn Mower
STIHL Tirol GmbH
Hans Peter Stihl-Strasse 5
6336 Langkampfen
Austria
declares under our sole responsibility that
– design: lawn mower
– manufacturer’s brand: STIHL
– type: RM 248.2 T, 253.2 T
– cutting width:
– RM 248.2 T: 46 cm
– RM 253.2 T: 51 cm
– serial number:
– RM 248.2 T: 6350
– RM 253.2 T: 6371
complies with the relevant provisions of Directives 2000/14/EC, 2006/42/EC, 2014/30/EU and 2011/65/EU and has been developed and manufactured in accordance with the versions of the following standards valid on the date of manufacture: EN ISO 5395-1, EN ISO 5395-2 and EN ISO 14982.
Approved body involved: TÜV Rheinland LGA Products GmbH Tillystrasse 2
90431 Nuremberg, Germany
The measured and guaranteed sound power levels were determined in accordance with Directive 2000/14/EC, Appendix VIII.
– Measured sound power level, RM 248.2 T: 93.2 dB(A)
– Guaranteed sound power level, RM 248.2 T: 94 dB(A)
– Measured sound power level, RM 253.2 T: 96.0 dB(A)
– Guaranteed sound power level, RM 253.2 T: 97 dB(A)
The technical documents are stored at STIHL
Tirol GmbH.
The year of manufacture and machine number are indicated on the lawn mower.
Langkampfen, 02.07.2021 STIHL Tirol GmbH
Matthias Fleischer, Head of Research and Development Division
23.1 STIHL RM 248.2 T, RM 253.2 T Lawn Mower
STIHL Tirol GmbH
Hans Peter Stihl-Strasse 5
6336 Langkampfen
Austria
declares under our sole responsibility that
– design: lawn mower
– manufacturer’s brand: STIHL
– type: RM 248.2 T, 253.2 T
– cutting width:
– RM 248.2 T: 46 cm
– RM 253.2 T: 51 cm
– serial number:
– RM 248.2 T: 6350
– RM 253.2 T: 6371
complies with the relevant provisions of the UK regulations Noise Emission in the Environment by Equipment for Use Outdoors Regulations 2001, Supply of Machinery (Safety) Regulations 2008, Electromagnetic Compatibility Regulations 2016 and Restriction of the Use of Certain Hazardous Substances in Electrical and Electronic Equipment Regulations 2012 and has been developed and manufactured in accordance with the versions of the following standards valid on the date of manufacture: EN ISO 5395-1, EN ISO 5395-2 and EN ISO 14982.
Approved body involved:
TUV Rheinland UK Ltd
1011 Stratford Road
Solihull, B90 4BN
The measured and guaranteed sound power levels were determined in accordance with the UK regulation Noise Emission in the Environment by Equipment for Use Outdoors Regulations 2001, Schedule 11.
– Measured sound power level, RM 248.2 T: 93.2 dB(A)
– Guaranteed sound power level, RM 248.2 T: 94 dB(A)
– Measured sound power level, RM 253.2 T: 96 dB(A)
– Guaranteed sound power level, RM 253.2 T: 97 dB(A)
The technical documents are stored at STIHL
Tirol GmbH.
The year of manufacture and machine number are indicated on the lawn mower.
Langkampfen, 01.07.2022
STIHL Tirol GmbH
Matthias Fleischer, Head of Research and Development Division
Sven Zimmermann, Head of Quality Division
www.stihl.com

















