
STIHL RMA 235

Introduction
Dear Customer,
Thank you for choosing STIHL. We develop and manufacture our quality products to meet our customers’ requirements. The products are designed for reliability even under extreme conditions.
STIHL also stands for premium service quality.
Our dealers guarantee competent advice and instruction as well as comprehensive service support.
STIHL expressly commits itself to a sus‐ trainable and responsible handling of natural resources. This user manual is intended to help you use your STIHL product safely and in an environmentally friendly manner over a long service life.
We thank you for your confidence in us and hope you will enjoy working with your STIHL product.

Dr. Nikolas Stihl
IMPORTANT! READ BEFORE USING AND KEEP IN A SAFE PLACE FOR REFERENCE.
Guide to Using this Manual
2.1Applicable Documents
This instruction manual constitutes the original manufacturer’s instructions in the sense of EC Directive 2006/42/EC. Local safety regulations apply.
► In addition to this instruction manual, read, understand and keep the following documents:
– STIHL AK battery safety information
– STIHL AL 101, 300, 500 charger instruction manual
– Safety information for STIHL batteries and products with built-in batteries:
www.stihl.com/safety-data-sheets
2.2 Warning Notices in Text
DENGER
■ This notice refers to risks that result in serious or fatal injury.
► Serious or fatal injuries can be avoided by taking the precautions mentioned.
WARNING
■ This notice refers to risks that can result in serious or fatal injury.
► Serious or fatal injuries can be avoided by taking the precautions mentioned.
NOTICE
■ This notice refers to risks that can result in damage to property.
► Damage to property can be avoided by taking the precautions mentioned.
2.3 Symbols in Text
This symbol refers to a chapter in this instruction manual.
Overview
3.1 Lawn Mower and Battery

- Handlebar
The handlebar is used to hold, guide, and transport the lawnmower. - Control bar
The control bar switches the blades on and off together with the locking button. - Locking button
The locking button switches the blades on and off together with the control bar for mowing. - Rotary knob
The rotary knob clamps the upper handlebar onto the lower handlebar and is used to fold down the handlebar. - Discharge flap
The discharge flap closes off the discharge chute. - Transport handle
The transport handle is used to transport the lawnmower. - Flap
The flap covers the battery and activation key. - Activation key
The activation key activates the lawnmower. - Locking lever
The locking lever keeps the battery in the battery compartment. - Battery compartment
The battery compartment holds the battery. - Grass catcher box
The grass catcher box collects the mown grass. - Lever
The lever is used to set the cutting height. - Level indicator
The level indicator shows how full the grass catcher box is. - Battery
The battery supplies the lawnmower with power. - LEDs
The LEDs indicate the battery charge state and faults. - Button
The button activates the LEDs on the battery.
# Rating plate with machine number
3.2 Symbols
The symbols can be on the lawnmower or battery and have the following meaning:
This symbol identifies the activation key.
This symbol identifies the key receptacle.
| This symbol indicates the lawnmower’s weight. | |
| 1 LED illuminates red. The battery is too warm or too cold. | |
| 4 LEDs flashing red. There is a fault in the battery. | |
| Guaranteed sound power level in accordance with Directive 2000/14/EC in dB(A) for the purpose of comparing the sound emissions of products. | |
| The number beside the symbol indicates the energy content of the battery according to the cell manufacturer’s specifications. The available energy content is lower in practice. | |
![]() | Do not dispose of the product with domestic waste. |
Activating and deactivating the blade.
Safety Precautions
4.1 Warning Symbols
The warning symbols on the lawnmower or battery has the following meaning:
| Follow the safety instructions and their measures. | |
| Read, understand and keep the instruction manual. | |
| Beware of objects being thrown upkeep a safe distance and keep other people away. | |
| Do not touch a turning blade. | |
| Remove the battery during work stoppages, transport, storage, maintenance, or repair. | |
| Protect the lawnmower from rain and humidity. | |
| Pull out the activation key during work stoppages, transport, storage, maintenance, or repair. | |
| Maintain a safe distance. | |
| Protect the battery from heat and fire. | |
| Protect the battery from rain and moisture. Do not immerse in liquids. | |
| Observe the permissible temperature range for the battery. |
4.2 Intended Use
The STIHL RMA 235 lawn mower is used to mow dry grass.
The lawnmower is supplied with power by a STIHL AK battery.
WARNING
■ Batteries not approved by STIHL for the lawnmower may cause fires and explosions. This may result in a serious or fatal injury to people and damage to property.
► Use the lawnmower with a STIHL AK battery.
■ Failure to use the lawnmower or battery as intended may result in a serious or fatal injury to people and damage to property.
► Use the lawnmower and battery as described in this instruction manual.
4.3 Requirements for the User
WARNING
■ Uninstructed users cannot recognize or value‐ ate the dangers posed by the lawnmower and battery. This may result in a serious or fatal injury to the user or other people.
► Read, understand and keep the
instruction manual.
► If passing on the lawnmower or battery to another person: provide them with the instruction manual also.
► Make sure that the user meets the following conditions:
– The user is rested.
– The user is physical, sensorily, and mentally capable of operating the lawnmower and battery and working with them. If the user is physically, sensorily, or mentally impaired, the machine must only be used under supervision or following instruction by a responsible person.
– The user can recognize and evaluate the dangers posed by the lawnmower and battery.
– The user is aware that they are responsible for accidents and damage.
– The user is of legal age or the user is being trained under supervision in a profession in accordance with national regulations.
– The user has received instruction from a STIHL specialist dealer or a competent person before using the lawnmower for the first time.
– The user is not impaired by alcohol, medicines, or drugs.
► If anything is unclear: consult a STIHL specialist dealer.
4.4 Clothing and Equipment
WARNING
■ Objects may be thrown up at high velocity while working. This may result in injury to the user.
► Wear long trousers made from resistant material.
■ Dust may be stirred up while working. Breath-ing in dust may be harmful to health and cause allergic reactions.
► If dust is stirred up: wear a dust mask.
■ Unsuitable clothing may get caught on wood, brambles, and in the lawnmower. This may result in serious injury to the user.
► Wear close-fitting clothing.
► Remove scarves and jewelry.
■ The user may come into contact with the blade during cleaning, maintenance, or transport. This may result in injury to the user.
► Wear work gloves made from resistant material.
■ Wearing unsuitable footwear may cause the user to slip. This may result in injury to the user.
► Wear sturdy, closed-toed footwear with high-grip soles.
■ Material particles may be expelled when sharpening the blade. This may result in injury to the user.
► Wear close-fitting safety glasses. Suitable safety glasses are tested in accordance with EN 166 or national regulations and available commercially with the corresponding marking.
► Wear work gloves made from resistant material.
4.5 Work Area and Surroundings
4.5.1 Lawn Mower
WARNING
■ By standing people, children, and animals can‐ not recognize or evaluate the dangers posed by the lawnmower and high-velocity objects.
This may result in serious injury to standing people, children, and animals and damage to property.
► Keep standing people, children, and animals out of the work area.
► Maintain a distance from objects.
► Do not leave the lawnmower unattended.
► Make sure that children cannot play with the lawnmower.
■ The lawnmower is not waterproof. Working in the rain or in a damp environment may result in electric shock. This may result in injury to the user and damage to the lawnmower.
► Do not work in the rain or in a damp environment.
► Do not mow wet grass.
■ Electrical components of the lawnmower may produce sparks. Sparks may cause fires and explosions in highly flammable or explosive environments. This may result in a serious or fatal injury to people and damage to property.
► Do not work in a highly flammable or explosive environment.
4.5.2 Battery
WARNING
■ Bystanders, children, and animals cannot recognize or assess the dangers of the battery. Bystanders, children, and animals may be seriously injured.
► Keep bystanders, children, and animals away from the work area.
► Do not leave the battery unattended.
► Make sure that children cannot play with the battery.
■ The battery is not protected against all ambient conditions. If the battery is exposed to certain ambient conditions, it may catch fire or explode. This can result in serious injuries and damage to property.
| ► Protect the battery from heat and fire. ► Do not throw the battery into a fire. | |
| ► Use and store the battery at temper‐ features between ‑ 10 °C and + 50 °C. | |
| ► Protect the battery from rain and dampness – do not immerse it in fluids. |
► Keep the battery away from metallic objects.
► Do not expose the battery to high pressure.
► Do not expose the battery to microwaves.
► Protect the battery from chemicals and salts.
4.6 Safe Condition
4.6.1 Lawn Mower
The lawn mower is in a safe condition when the following conditions are met:
- The lawn mower is undamaged.
- The lawn mower is clean and dry.
- The controls are working and have not been modified.
- The blade is correctly attached.
- Genuine STIHL accessories for this lawnmower are attached.
- The accessories are correctly attached.
WARNING
■ If not in a safe condition, components may no longer operate correctly and safety devices may be disabled. This may result in a serious or fatal injury to people.
► Do not use a damaged lawnmower.
► If the lawnmower is dirty or wet: clean the lawnmower and allow it to dry.
► Do not modify the lawnmower.
► If the controls are not working: do not use the lawnmower.
► Attach genuine STIHL accessories for this lawnmower.
► Attach the blade as described in this instruction manual.
► Attach accessories as described in this instruction manual or in the instruction manual for the accessories.
► Do not insert objects into the apertures in the lawnmower.
► Never connect the key receptacle terminals to metallic objects and cause a short circuit.
► Replace worn or damaged warning signs.
► If anything is unclear: consult a STIHL specialist dealer.
4.6.2 Blade
The blade is in a safe condition when the following conditions are met:
- The blade and attachments are undamaged.
- The blade is not deformed.
- The blade is correctly attached.
- The blade is correctly sharpened.
- The blade is burr-free.
- The blade is correctly balanced.
- The minimum thickness and minimum width of the blade are not fallen below,
20.2. - The sharpening angle is observed at
20.2.
WARNING
■ In unsafe conditions, blade parts may come loose and be expelled. This may result in serious injury to people.
► Use an undamaged blade and attachments.
► Attach the blade correctly.
► Sharpen the blade correctly.
► If the minimum thickness or minimum width is fallen below: replace the blade.
► Has the blade been balanced by a STIHL specialist dealer?
► If anything is unclear: consult a STIHL specialist dealer.
4.6.3 Battery
The battery is in a safe condition when the following conditions are met:
- The battery is not damaged.
- The battery is clean and dry.
- The battery is working and has not been modified.
WARNING
■ The battery cannot function safely if it is not in a safe condition. There is a risk of serious injury to persons.
► Use an undamaged and functioning battery.
► Do not charge a damaged or defective battery.
► If the battery is dirty or wet: clean the battery and allow it to dry.
► Do not modify the battery.
► Do not insert objects into the apertures in the battery.
► Never connect the battery terminals to metallic objects and cause a short circuit.
► Do not open the battery.
► Replace worn or damaged warning signs.
■ Fluid may leak from a damaged battery. If the fluid contacts the skin or eyes, this may cause irritation.
► Avoid contact with the fluid.
► In the event of contact with the skin: wash the affected areas with plenty of soap and water.
► In the event of contact with the eyes: rinse the eyes with plenty of water for at least 15 minutes and seek medical attention.
■ A damaged or defective battery may emit an unusual odor, smoke, or catch fire. This may result in a serious or fatal injury to people and damage to property.
► If the battery emits an unusual odor or smoke: do not use the battery and keep it away from flammable materials.
► If the battery catches fire: try to extinguish the battery using a fire extinguisher or water.
4.7 Working
WARNING
■ In certain situations, the user may no longer be able to concentrate on their work. This may result in the user stumbling, falling, and becoming seriously injured.
► Work calmly and carefully.
► If the light and visibility conditions are poor: do not use the lawnmower.
► Operate the lawn mower alone.
► Watch out for obstacles.
► Do not tilt the lawnmower.
► Work standing on the ground and maintain balance.
► If signs of fatigue occur: take a break.
► If mowing on a slope: mow across the slope.
► Do not mow on steep slopes.
■ The turning blade may cut the user. This may result in serious injury to the user.
► Do not touch a turning blade.
► If the blade is blocked by an object: switch the lawnmower off, pull out the activation key and remove the battery. Only then remove the object.
■ The lawnmower may cause vibrations when working.
► Wear gloves.
► Take breaks.
► If signs of a circulatory disturbance occur: consult a doctor.
■ If the blade hits a foreign object when working, the foreign object or parts of it may be damaged or thrown up at high velocity. This may result in injury to people and damage to property.
► Remove foreign objects from the work area.
■ When the control bar for mowing is released, the blade continues to turn for a short time. This may result in serious injury to people.
► Wait until the blade is no longer turning.
■ Sparks can be produced if the turning blade hits a hard object. Sparks may cause fires in highly flammable environments. This may result in a serious or fatal injury to people and damage to property.
► Do not work in a highly flammable environment.
DANGER
■ If working near live wires, the blade may come into contact with the live wires and damage them. This may result in a serious or fatal injury to the user.
► Do not work near live wires.
■ The user may be struck by lighting if working during a thunderstorm. This may result in a serious or fatal injury to the user.
► Do not work during thunderstorms.
4.8 Transporting
4.8.1 Lawn Mower
WARNING
■ The lawnmower may tip over or move during transport. This may result in injury to people and damage to property.
| ► Pull out the activation key. | |
| ► Remove the battery. |
► Secure the lawnmower with lashing straps, belts, or a net so it cannot tip over and move.
4.8.2 Battery
WARNING
■ The battery is not protected against all ambient conditions. The battery may be damaged if it is exposed to certain ambient conditions and damage to property may occur.
► Never transport a damaged battery.
► Store the battery in non-conductive packaging.
■ The battery may turn over or shift during transport. This may result in personal injuries and damage to property.
► Pack the battery in the packaging in such a way that it cannot move.
► Secure the packaging so that it cannot move.
4.9 Storing
4.9.1 Lawn Mower
WARNING
■ Children cannot recognize or evaluate the dangers posed by the lawnmower. There is a risk of serious injury to children.
| ► Pull out the activation key. | |
| ► Remove the battery. |
► Keep the lawnmower out of reach of children.
■ Moisture may cause corrosion to the electric contacts on the lawnmower and metal components. This may result in damage to the lawnmower.
| ► Pull out the activation key. | |
| ► Remove the battery. |
► Keep the lawn mower clean and dry.
■ If the activation key and battery are inserted during storage, the blade may unintentionally be activated. This may result in serious injury to people and damage to property.
| ► Pull out the activation key. | |
| ► Remove the battery. |
4.9.2 Battery
WARNING
■ Children are not aware of and cannot assess the dangers of the battery and can be seriously injured.
► Store the battery out of the reach of children.
■ The battery is not protected against all ambient conditions. The battery may be damaged if it is exposed to certain ambient conditions.
► Store the battery in a clean and dry condition.
► Store the battery in an enclosed location.
► Store the battery separately from the mower and charger.
► Store the battery in non-conductive packaging.
► Store the battery at temperatures between -10°C and +50°C.
4.10 Cleaning, Maintenance, and Repair
WARNING
■ If the activation key and battery are inserted during cleaning, maintenance, or repair, the blade may unintentionally be activated. This may result in serious injury to people and
damage to property.
| ► Pull out the activation key. | |
| ► Remove the battery. |
■ Abrasive cleaning agents, using a water jet for cleaning or sharp objects may result in damage to the lawnmower, blade, and battery. If the lawnmower, blade, and battery are not cleaned correctly, components may no longer operate correctly and safety devices may be disabled. This may result in serious injury to people.
► Clean the lawnmower, blade, and battery as described in this instruction manual.
■ If the lawnmower, blade, or battery are not maintained or repaired correctly, components may no longer operate correctly and safety devices may be disabled. This may result in a serious or fatal injury to people.
► Do not maintain or repair the lawnmower or battery yourself.
► If the lawnmower or battery needs to be maintained or repaired: consult a STIHL specialist dealer.
► Maintain the blade as described in this instruction manual.
■ The user may cut themselves on sharp cutting edges during blade cleaning, maintenance, or repair. This may result in injury to the user.
► Wear work gloves made from resistant material.
■ The blade may become hot during sharpening.
This may result in the user burning themselves.
► Wait until the blade has cooled down.
► Wear work gloves made from resistant material.
5Preparing the Lawn Mower for Operation
5.1 Preparing the Lawn Mower for Operation
The following steps must be performed before commencing work:
► Make sure that the following components are in safe condition:
– Lawnmower,
4.6.1.
– Blade,
4.6.2.
– Battery,
4.6.3.
► Check the battery,
11.3.
► Fully charge the battery,
6.1.
► Clean the lawnmower,
16.2.
► Check the blade,
11.2.
► Attach the handlebar,
7.1.
► Fold up the handlebar,
7.2.1.
► If mowing and the mown grass is to be collected in the grass catcher box: attach the grass catcher box,
7.3.2.
► If mowing and the mown grass is to be ejected to the rear: detach the grass catcher box,
7.3.3.
► Set the cutting height,
12.2.
► Check the controls,
11.1.
► If the steps cannot be performed: do not use the lawnmower and consult a STIHL special-ist dealer.
Charging the Battery, LEDs
6.1 Charging the Battery
The charging time depends on several factors, e.g. temperature of the battery or the ambient temperature. The actual charging time may differ from the specified charging time. For specified charging times see www.stihl.com/chargingtimes.
► Recharge the battery fully as described in the instruction manual for the STIHL AL 101, 300, 500 chargers.

► Press the button (1).
The LEDs (5) glow green for about 5 seconds and indicate the state of charge.
► If the LED on the right flashes green: Charge the battery.
6.3 LEDs on Battery
The LEDs can show the state of charge or malfunctions. The LEDs can glow or flash green or red.
The state of charge is indicated when the LEDs glow or flash green.
► If the LEDs glow or flash red: Troubleshooting,
19.1.
There is a malfunction in the mower or battery.
Assembling the Lawn Mower
7.1 Attaching the Handlebar
► Switch the lawnmower off, pull out the activation key and remove the battery.
► Place the lawnmower on a level surface.

► Hold lower handlebars (1) against the lawnmower so the bores align.
► Push screws (3) together with washers (2) through the bores in lower handlebar (1) and lawnmower (4) from the outside inwards, screw in and tighten to 3 Nm.
Both lower handlebars (1) are firmly attached to the lawnmower (4).

► Hold upper handlebar (5) against lower handlebars (1) so the bores align.
► Place cable (10) into cable clip (8).
► On the side with the cable, push screw (6) through bores (11) in cable clip (8), upper handlebar (5), and lower handlebar (1) from the outside inwards.
► On the other side, push screw (6) through bores (11) in the upper handlebar (5) and lower handlebar (1) from the outside inwards.
► Fit rotary knob (9) onto screws (6) on both sides and screw in.
The upper handlebar (5) is firmly attached to lower handlebars (1).
► Place the cable into cable clips (7).
► Press cable clip (7) onto the upper handlebar (5) and allow engaging.
► Press cable clip (12) onto lower handlebar (1) and allow to engage.
The handlebar must not be dismantled again.
7.2 Folding Up and Folding the Handlebar
7.2.1 Folding Up the Handlebar
► Switch the lawnmower off, pull out the activation key and remove the battery.
► Place the lawnmower on a level surface.

► Fold up the upper handlebar (2) and hold with one hand. Make sure that cable (4) is not damaged.
► Tighten rotary handles (1). Handlebar (2) is firmly attached to the lawnmower.
The upper handlebar (2) is firmly attached to the lower handlebar (3).
7.2.2 Folding the Handlebar
The handlebar can be folded for space-saving transport or storage.
► Switch the lawnmower off, pull out the activation key and remove the battery.
► Place the lawnmower on a level surface.

► Unscrew rotary handles (1) until they turn freely.
► Fold-down upper handlebar (2) forwards, ensuring that cable (3) is not damaged.
7.3 Assembling, Attaching, and Detaching the Grass Catcher Box
7.3.1 Assembling the Grass Catcher Box
► Fit upper part of grass catcher box (1) onto the lower part of grass catcher box (2).
► Press pins (3) through openings (4) from the inside.
► Press the upper part of the grass catcher box (1) downwards.
The upper part of the grass catcher box engages with a click.
7.3.2 Attaching the Grass Catcher Box
► Switch the lawnmower off.
► Place the lawnmower on a level surface.
► Open discharge flap (1) and hold it open.
► Take hold of the grass catcher box (2) by the handle (3) and attach to mounts (4) using the hooks.
► Set down discharge flap (1) on the grass catcher box (2).
7.3.3 Detaching the Grass Catcher Box
► Switch the lawnmower off.
► Place the lawnmower on a level surface.
► Open the discharge flap and hold it open.
► Remove the grass catcher box upwards by the handle.
► Close the discharge flap.
Removing and Fitting the Battery
8.1 Fitting the Battery

► Place the lawnmower on a level surface.
► Open flap (1) as far as the stop and hold.
► Push battery (2) into the battery compartment (3) as far as it will go.
Battery (2) engages with a click and is locked in place.
► Close flap (1).
8.2 Removing the Battery
► Place the lawnmower on a level surface.
► Open flap (1) as far as the stop and hold.
► Press locking lever (2). Battery (3) is released.
► Remove the battery (3).
► Close flap (1).
Inserting and Removing the Activation Key
9.1 Inserting the Activation Key
► Open flap (1) as far as the stop and hold.
► Insert activation key (2) in key receptacle (3).
► Close flap (1).
9.2 Removing the Activation Key
► Open the flap as far as the stop and hold.
► Pull out the activation key.
► Close the flap.
► Keep the activation key out of the reach of children.
Switching the Lawn Mower On and Off
10.1 Activating and Deactivating the Blade
10.1.1 Activating the Blade
► Place the lawnmower on a level surface.
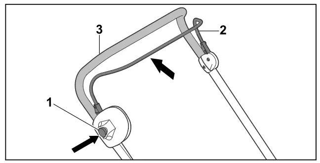
► Press the locking button (1) with the right hand and hold.
► Pull control bar for mowing (2) with the left hand fully in the direction of the handlebar (3) and hold so the thumb encloses handlebar (3). The blade turns.
► Release locking button (1).
► Hold handlebar (3) and control bar for mowing (2) with the right hand so the thumb encloses handlebar (3).
10.1.2 Deactivating the Blade
► Release the control bar for mowing.
► Wait until the blade is no longer turning.
► If the blade continues to turn: pull out the activation key, remove the battery and consult a STIHL specialist dealer.
The lawnmower is defective.
Checking the Lawn Mower and Battery
11.1 Checking the Controls
Locking button and control bar
► Pull out the activation key.
► Remove the battery.
► Press the locking button and release it again.
► Pull the control bar fully in the direction of the handlebar and release it again.
► If the locking button or the control bar is stiff or does not spring back into the initial position: do not use the lawnmower and consult a STIHL specialist dealer.
The locking button or the control bar is defective.
Activating the blade
► Insert the activation key.
► Fit the battery.
► Press the locking button with the right hand and hold.
► Pull the control bar with the left hand fully in the direction of the handlebar and hold so that the thumb encloses the handlebar.
The blade turns.
► If 3 LEDs flash red: pull out the activation key, remove the battery and consult a STIHL specialist dealer.
There is a fault in the lawnmower.
► Release the locking button and control bar.
The blade stops turning after a short time.
► If the blade continues to turn: pull out the activation key, remove the battery, and consult a STIHL specialist dealer.
The lawnmower is defective.
11.2 Checking the Blade
► Switch the lawnmower off, pull out the activation key and remove the battery.
► Tilt the lawnmower sideways and set it down,
16.1.
► Measure the following:
– Thickness a
– Width b
– Sharpening angle c
► If the minimum thickness or minimum width are fallen below: replace the blade,
20.2.
► If the sharpening angle is not observed: sharpen the blade,
20.2.
► If anything is unclear: consult a STIHL specialist dealer.
11.3 Testing the Battery
► Press the button on the battery.
The LEDs glow or flash.
► If the LEDs do not glow or flash: Do not use the battery and contact your STIHL servicing dealer.
There is a malfunction in the battery.
Operating the Lawn Mower
12.1 Holding and Guiding the Lawn Mower
► Hold the handlebar with both hands so that the thumbs enclose the handlebar.
12.2 Adjusting the Cutting Height
Five cutting heights can be set:
- 25 mm = position 1
- 35 mm = position 2
- 45 mm = position 3
- 50 mm = position 4
- 60 mm = position 5
The positions are indicated on the lawnmower.

► Hold the lawnmower at the handle.
► Press lever (2) outwards and hold.
► Move the lawnmower to the desired position by raising and lowering the lever. The current cutting height can be read off at the cutting height indicator (3).
► Release lever (2). The lawnmower engages.
12.3 Mowing

► Push the lawn mower forwards slowly and in a controlled manner.
12.4 ECO Mode
The STIHL cordless lawn mower detects the current working conditions and adjusts the blade speed automatically.
This may extend the battery life.
12.5 Emptying the Grass Catcher Box
The flow of air generated by the blade raises the level indicator (1). The flow of air stops when the grass catcher box is full. If the flow of air is too low, level indicator (2) returns to its resting state.
This is a prompt to empty the grass catcher box. The functionality of the level indicator is restricted if the flow of air is impaired. External influences such as wet, dense, or high grass, low cutting levels, dirt, or the like can impair the flow of air and the functionality of the level indicator.
► If the level indicator drops to its resting state: empty the grass catcher box.
► Switch the lawnmower off.
► Detach the grass catcher box.
► Open tab (1).
► Open and hold the upper part of the grass catcher box (2) by the handle (3).
► Hold the lower handle with the second hand.
► Empty the grass catcher box.
► Close the grass catcher box.
► Attach the grass catcher box.
After Finishing Work
13.1 After Finishing Work
► Switch off the mower, remove the activation key and battery.
► If the mower is wet: Allow the mower to dry.
► If the battery is wet: Allow the battery to dry.
► Clean the mower.
► Clean the battery.
Transporting
14.1 Transporting the Lawn Mower
► Switch the lawnmower off.
The blade must not be turning.
► Pull out the activation key and remove the battery.
Pushing the lawnmower
► Push the lawn mower forwards slowly and in a controlled manner.
Carrying the lawnmower
► Wear work gloves made from resistant material.
► If only the lawnmower is being carried:
► Fold-down the handlebar.
► Hold the lawnmower with one hand on the transport handle (1) and the other hand on housing (2).
► Lift and carry the lawnmower.
► If the lawnmower and grass catcher box are to be carried at the same time:
► Hold the lawnmower with one hand on the transport handle (1).
► Lift the lawnmower and carry it to the side of the body.
Transporting the lawnmower in a vehicle
► Secure the lawnmower upright so it does not tip over and cannot move.
14.2 Transporting the Battery
► Switch off the mower and remove the battery.
► Make sure the battery is in a safe condition.
► Observe the following points when packing the battery:
– The packaging must be non-conductive.
– Make sure the battery cannot shift inside the packaging.
► Secure the packaging so that it cannot move.
The battery is subject to the requirements for the transport of dangerous goods. The battery is classified as UN 3480 (lithium-ion batteries) and has been tested in accordance with the UN Manual of Tests and Criteria, Part III, sub-section 38.3. For transport regulations see www.stihl.com/safety-data-sheets
Storing
15.1 Storing the Lawn Mower
► Switch the lawnmower off, pull out the activation key and remove the battery.
► Store the lawnmower in accordance with the following conditions:
- The lawnmower is out of reach of children.
- The lawnmower is clean and dry.
- The lawnmower cannot tip over.
- The lawnmower cannot roll away.
15.2 Storing the Battery
STIHL recommends that you store the battery with a charge between 40% and 60% (2 LEDs glow green).
► Check the following points when storing the battery:
- The battery is out of the reach of children.
- The battery is clean and dry.
- The battery is in an enclosed location.
- The battery is stored separately from the mower and charger.
- The battery is in non-conductive packaging.
- The battery is in a temperature range between
- 10°C and +50°C.
Cleaning
16.1 Placing the Lawn Mower in the Cleaning Position
► Switch the lawnmower off, pull out the activation key and remove the battery.
► Place the lawnmower on a level surface.
► Detach the grass catcher box.
► Hold the lawnmower at handlebar (1), tilt sideways, and set down.
16.2 Cleaning the Lawn Mower
► Switch the lawnmower off, pull out the activation key and remove the battery.
► Clean the lawnmower with a damp cloth.
► Clean the discharge chute with a soft brush or a damp cloth.
► Remove any foreign bodies from the battery compartment and clean the battery compartment with a damp cloth.
► Clean the electric contacts in the battery compartment with a paintbrush or a soft brush.
► Clean ventilation slots (1), (2) with a paintbrush.
► Upend the lawnmower.
► Clean the area around the blade and the blade with a stick, a soft brush, or a damp cloth.
16.3 Cleaning the Battery
► Clean the battery with a damp cloth.
Maintenance
17.1 Removing and Attaching the Blade
17.1.1 Removing the Blade
► Switch the lawnmower off, pull out the activation key and remove the battery.
► Tilt the lawnmower sideways and set it down.
► Hold blade (1) with one hand.
► Unscrew the screw (2) in the direction of the arrow and remove it together with the coupler (3).
► Remove blade (1).
► Discard screw (2) and coupler (4). Use a new screw and new coupler to attach the blade (1).
17.1.2 Attaching the Blade
► Switch the lawnmower off, pull out the activation key and remove the battery.
► Tilt the lawnmower sideways and set it down.
► Clean the blade contact surface and blade bushing.
► Fit mowing blade (1) onto the blade bushing with the curved wings pointing upwards.
► The locating lugs (4) on the blade bushing must be located in the recesses in the mowing blade.
► Hold mowing blade (1) with one hand and fit a new coupler (3).
► Apply Loctite 243 thread locker to the thread of new screw (2).
► Screw-in screw (2) and tighten to 20 Nm.
17.2 Sharpening and Balancing the Blade
Sharpening and balancing the blade correctly requires a lot of practice.
STIHL recommends having the blade sharpened and balanced by a STIHL specialist dealer.
WARNING
■ The cutting edges of the blade are sharp. This may result in the user cutting themselves.
► Wear work gloves made from resistant material.
► Switch the lawnmower off, pull out the activation key and remove the battery.
► Upend the lawnmower.
► Remove the blade.
► Sharpen the blade. Observe the sharpening angle and cool the blade,
20.2.
Bluing of the blade during sharpening is not permitted.
► Attach the blade.
► If anything is unclear: consult a STIHL specialist dealer.
Repairing
18.1 Repairing the Lawn Mower
The user should not repair the lawnmower or blade themselves.
► If the lawnmower or blade is damaged: do not use the lawnmower or blade and consult a STIHL specialist dealer.
► If warning signs are illegible or damaged: have the warning signs replaced by a STIHL specialist dealer.
Troubleshooting
19.1 Remedying Lawn Mower or Battery Faults
| Fault | LEDs on the battery | Cause | Remedy |
| The lawnmower does not start when switched on. | 1 LED flashes green. | The battery charge state is too low. | 4 Charge the battery. |
| 1 LED illuminates red. | The battery is too warm or too cold. | 4 Pull out the activation key. 4 Remove the battery. 4 Allow the battery to cool down or warm-up. | |
| 3 LEDs flash red. | There is a fault in the lawnmower. | 4 Pull out the activation key. 4 Remove the battery. 4 Clean the electric contacts in the battery compartment. 4 Fit the battery. 4 Switch the lawnmower on. 4 If 3 LEDs still flash red: do not use the lawnmower and consult a STIFIL specialist dealer. | |
| 3 LEDs illuminate red. | The lawnmower is too warm. | 4 Pull out the activation key. 4 Remove the battery. 4 Allow the lawnmower to cool down. | |
| 4 LEDs flash red. | There is a fault in the battery. | 4 Remove the battery and fit it again. 4 Switch the lawnmower on. 4 If 4 LEDs still flash red: do not use the battery and consult a STIFIL specialist dealer. | |
| The electrical connection between the lawnmower and battery has been interrupted. | 4 Pull out the activation key. 4 Remove the battery. 4 Clean the electric contacts in the battery compartment. 4 Insert the activation key. |
| Fault | LEDs on the battery | Cause | Remedy |
| I. Fit the battery. | |||
| The lawnmower or battery is damp. | 4 Pull out the activation key. 4 Remove the battery. 4 Clean the lawnmower. 4 Allow the lawnmower or battery to dry. | ||
| The resistance at the blade is too great. | 4 Set a higher cutting height. 4 Switch the lawnmower on in lower grass. | ||
| The area around the blade is blocked. | 4 Clean the lawnmower. | ||
| The lawn mower stops during operation. | 3 LEDs illuminate red. | The lawnmower is too warm. | 4 Pull out the activation key. 4 Remove the battery. 4 Allow the lawnmower to cool down. 4 Clean the lawnmower. 4 Do not switch the lawnmower on too frequently within a short time. 4 Set a higher cutting height. 4 Mow shorter grass. |
| The blade is blocked. | 4 Pull out the activation key. 4 Remove the battery. 4 Clean the lawnmower. | ||
| There is an electrical fault. | b. Remove the battery and fit it again. 4 Switch the lawnmower on. | ||
| The lawn mower vibrates excessively during operation. | The blade fastening screw is loose. | I. Tighten the screw. | |
| The blade is not correctly balanced. | I. Sharpen and balance the blade. | ||
| The lawnmower operating time is too short. | The battery is not fully charged. | 4 Fully charge the battery. | |
| The battery service life has been exceeded. | 4 Replace the battery. | ||
| The area around the blade is blocked. | 4 Clean the lawnmower. | ||
| The blade is blunt or worn. | 4 Sharpen and balance the blade. | ||
| The resistance at the blade is too great. | 4 Set a higher cutting height. 4 Mow shorter grass. | ||
| The battery gets stuck when fitting into the battery compartment. | The guides or electric contacts in the battery compartment are dirty. | 4 Clean the lawnmower. | |
| Charging fails to start after fitting the battery into the charger. | 1 LED illuminates red. | The battery is too warm or too cold. | 4 Leave the battery inserted in the charger. Charging starts automatically as soon as the permissible temperature range is reached. |
| The grass has not been cut cleanly or the lawn is yellow. | The blade is blunt or worn. | 4 Sharpen and balance the blade. |
| Fault | LEDs on the battery | Cause | Remedy |
| The resistance at the blade is too great. | 4 Set a higher cutting height. 4 Mow shorter grass. |
Specifications
20.1 STIHL RMA 235.0 Lawn Mower
– Permissible battery: STIHL AK
– Weight without battery: 14 kg
– Maximum grass catcher box capacity: 30 l
– Cutting width: 33 cm
– Speed: 3,400 rpm
– Speed in ECO mode: 2,900 rpm
For information on the battery life see www.stihl.com/battery-life.
20.2 Blade
– Minimum thickness a: 1.6 mm
– Minimum width b: 56 mm
– Sharpening angle c: 30°
20.3 STIHL AK Battery
– Battery technology: Lithium-ion
– Voltage: 36 V
– Capacity in Ah: see rating label
– Energy content in Wh: see rating label
– Weight in kg: see rating label
– Permissible temperature range for operation and storage: -10°C to +50°C
20.4 Sound Values and Vibration Values
The K value for the sound pressure level is 2 dB(A). The K value for the sound power level is 1.5 dB(A). The K value for the vibration value is 0.9 m/s².
– Sound pressure level LpA measured in accordance with EN 60335-2-77: 76 dB(A)
– Guaranteed sound power level was measured in accordance with 2000/14/EC / S.I. 2001/1701: 89 dB(A)
– Vibration value have measured in accordance with EN 60335-2-77, handlebar: 1.8 m/s²
The indicated vibration values were measured in accordance with a standardized test method and can be used for the purpose of comparing electrical appliances. The actual vibration values that occur may deviate from the indicated values, depending on the type of application. The indicated vibration values can be used for an initial assessment of the vibration load. The actual vibration load must be assessed. Times during which the electrical appliance is switched off, along with times during which it is switched on but running without load, can also be taken into consideration.
For information on compliance with Employers’ Vibration Directive 2002/44/EC and S.I. 2005/1093, see www.stihl.com/vib.
20.5 REACH
REACH is an EC regulation and stands for the Registration, Evaluation, Authorisation, and Restriction of Chemical substances.
For information on compliance with the REACH regulation see www.stihl.com/reach.
Spare Parts and Accessories
21.1 Spare parts and accessories
These symbols indicate original STIHL spare parts and original STIHL accessories.
STIHL recommends the use of original STIHL spare parts and accessories.
Despite ongoing market observation, STIHL is unable to judge the reliability, safety, and suitability of other manufacturers’ spare parts and accessories; accordingly, STIHL cannot warrant the use of those parts.
Original STIHL spare parts and original STIHL accessories are available from STIHL dealers.
21.2 Essential Spare Parts
– Blade: 6311 702 0110
– Blade fastening screw: 9018 321 1800
– Coupler: 6311 702 0600
Disposal
22.1 Disposing of the Lawn Mower
Information on disposal is available from a STIHL specialist dealer.
► Dispose of the lawnmower, blade, accessories, and packaging in accordance with regulations and in an environmentally friendly manner.
EC Declaration of Conformity
23.1 STIHL RMA 235.0 Lawn Mower
STIHL Tirol GmbH Hans Peter Stihl-Strasse 5 6336 Langkampfen Austria declares under our sole responsibility that
– design: cordless lawn mower
– manufacturer’s brand: STIHL
– type: RMA 235.0
– cutting width: 33 cm
– serial number: 6311
complies with the relevant provisions of Directives 2000/14/EC, 2006/42/EC, 2014/30/EU, and 2011/65/EU and has been developed and manufactured in accordance with the versions of the following standards valid on the date of manufacture: EN 60335-1, EN 60335‑2-77, EN 55014-1 and EN 55014-2.
Approved body involved:
TÜV Rheinland LGA Products GmbH
Tillystrasse 2
90431 Nuremberg, Germany
The measured and guaranteed sound power levels were determined in accordance with Directive 2000/14/EC, Appendix VIII.
– Measured sound power level: 87.9 dB(A)
– Guaranteed sound power level: 89 dB(A)
The technical documents are stored at STIHL Tirol GmbH.
The year of manufacture and machine number is indicated on the lawnmower.
Langkampfen, 02.10.2020
STIHL Tirol GmbH
Matthias Fleischer, Head of Research and Development Division

Sven Zimmermann, Head of Quality Division
UKCA Declaration of Conformity
24.1 STIHL RMA 235.0 Lawn Mower
STIHL Tirol GmbH
Hans Peter Stihl-Strasse 5 6336 Langkampfen Austria declares under our sole responsibility that
– design: cordless lawn mower
– manufacturer’s brand: STIHL
– type: RMA 235.0
– cutting width: 33 cm
– serial number: 6311
complies with the relevant provisions of the UK regulations Noise Emission in the Environment by Equipment for Use Outdoors Regulations 2001, Supply of Machinery Safety) Regulations 2008, Electromagnetic Compatibility Regulations 2016, and Restriction of the Use of Certain Hazardous Substances in Electrical and Electronic Equipment Regulations 2012 and has been developed and manufactured in accordance with the versions of the following standards are valid on the date of manufacture: EN 60335-1,
EN 60335‑2-77, EN 55014-1, and EN 55014-2.
Approved body involved:
TUV Rheinland UK Ltd
1011 Stratford Road
Solihull, B90 4BN
The measured and guaranteed sound power levels were determined in accordance with the UK regulation Noise Emission in the Environment by Equipment for Use Outdoors Regulations 2001, Schedule 11.
– Measured sound power level: 87.9 dB(A)
– Guaranteed sound power level: 89 dB(A)
The technical documents are stored at STIHL
Tirol GmbH.
The year of manufacture and machine number is indicated on the lawnmower.
Langkampfen, 02.11.2021
STIHL Tirol GmbH
Matthias Fleischer, Head of Research and
Development Division
Sven Zimmermann, Head of Quality Division
Safety Information for Lawn Mowers
25.1 Introduction
This chapter describes the general safety instructions preformulated in the standard EN 60335-2-77, Annex EE, for electrically operated lawnmowers.
WARNING
■ Read all the safety instructions, instructions, illustrations, and technical data provided with the lawnmower. Failure to comply with the following instructions may cause electrical shock, fire, and/or serious injury. Keep all safety instructions and instructions for the future.
25.2 Training
a) Read the instruction manual carefully. Ensure that you are familiar with the controls and the correct use of the machine;
b) Never allow children or other persons who are not familiar with the instructions for use to use the lawnmower. Local regulations may specify a minimum age for users;
c) Never mow in the vicinity of other persons, particularly children or animals;
d) Be aware that the person operating the machine or the user is responsible for accidents involving third parties or their property.
25.3 Preparatory Measures
a) Always wear sturdy shoes and long trousers when operating the machine. Never operate the machine barefoot or in lightweight sandals. Avoid wearing loose clothing or clothing with hanging cords or belts.
b) Inspect the area on which the machine is to be used and remove any objects that could be taken in and thrown up by the machine.
c) Before using the machine, always visually inspect the cutting blade, the retaining pins, and the entire cutting unit for wear or damage.
To avoid imbalance, worn or damaged cutting blades and retaining pins must be replaced in pairs. Worn or damaged warning signs must be replaced.
25.4 Handling
a) Only mow during the day or with good artificial light.
b) If possible, avoid using the machine when the grass is wet.
c) Always ensure good stability on slopes.
d) Operate the machine only at a walking pace.
e) Only mow across and never up or down the slope.
f) Be particularly careful when changing direction on a slope.
g) Do not mow on excessively steep slopes.
h) Be particularly careful when turning the lawnmower around or pulling it towards you.
i) Stop the cutting blade(s) when the machine needs to be tilted for transportation over surfaces other than grass and when moving the lawnmower from and to the area to be mown.
j) Never use the lawnmower with damaged safety devices or protective grilles or without attached safety devices, e.g. deflectors and/or grass-catching units.
k) Exercise care when starting or pressing the starting switch and observe the manufacturer’s instructions. Ensure that you keep your feet far enough away from the cutting blade(s).
l) The lawnmower must not be tilted when starting it unless the lawnmower needs to be lifted during the process. In this case, only tilt it as far as is absolutely necessary and only raise the side facing away from the user. m)
Do not start the motor when you are standing in front of the discharge chute.
n) Never put hands or feet on or underneath rotating parts. Always keep away from the discharge opening.
o) Never lift or carry a lawnmower with the motor running.
p) Stop the motor and pull out the starting key.
Ensure that all moving parts have come to a complete stop:
– whenever you leave the lawnmower;
– before remedying blockages, including those in the discharge chute;
– before checking, cleaning, or working on the lawnmower;
– after hitting a foreign object. Inspect the lawnmower for damage and perform the necessary repairs before restarting and using the lawnmower.
If the lawnmower begins to vibrate excessively, it must be checked immediately.
– Check for damage;
– make the necessary repairs to damaged parts;
– ensure that all screws, pins, and bolts are tightly fastened.
25.5 Maintenance and Storage
a) Ensure that all nuts, pins, and bolts are tightly fastened and that the machine is in a safe working condition.
b) Check the grass-catching unit regularly for wear or loss of functionality.
c) In the interests of safety, replace all worn or damaged parts.
d) Be aware that on machines with more than one cutting blade, the movement of one cutting blade can cause the other cutting blade to turn.
e) Ensure when adjusting the machine that your fingers do not become pinched between moving cutting blades and stationary parts of the machine.
f) Allow the motor to cool down before storing the machine.
g) Note when maintaining the cutting blades that the cutting blades can be moved even if the power source is switched off.
h) In the interests of safety, replace all worn or damaged parts. Only use genuine spare parts and accessories.




















