RL-MM
Instruction Manual![]()
MultiSystem

In the STIHL MultiSystem, various MultiEngines and MultiTools are combined to form a machine.
In this Instruction Manual, the functional unit of MultiEngine and MultiTool is referred to as a machine.
Accordingly, the instruction manuals for the Mul‐ engine and the MultiTool constitute the entire Instruction Manual for the machine.
Always read both manuals carefully before using your machine for the first time and keep them safe for future reference.
Guide to Using this Manual
2.1 Pictograms
All the pictograms attached to the machine are shown and explained in this manual.
2.2 Symbols in text
WARNING
Warning where there is a risk of an accident or personal injury or serious damage to property.
NOTICE
Caution where there is a risk of damaging the machine or its individual components.
2.3 Engineering improvements
STIHL’s philosophy is to continually improve all of its products. For this reason, we may modify the design, engineering, and appearance of our products periodically.
Therefore, some changes, modifications, and improvements may not be covered in this manual.
Safety Precautions and Working Techniques
Special safety precautions must be observed when working with the aerator because its pointed and sharp-edged blades rotate at high speed.
Always read and make sure you understand both user manuals (Multi‐Engine and MultiTool) before using your power tool for the first time, and keep them in a safe place for future reference. Non-compliance with the user manuals may cause serious or even fatal injury.
Lend or rent your power tool only to persons who are familiar with this model and its operation – do not lend or rent your power tool without the Multi‐Engine and MultiTool user manuals.
Use the power tool only for aerating lawns and similar grassed areas.
The machine must not be used for any other purposes – the risk of an accident!
Only use attachments and accessories that are explicitly approved for this power tool model by STIHL or are technically identical. If you have 3 Safety Precautions and Working Techniques and any questions in this respect, consult your dealer.
Use only high-quality parts and accessories. Oth‐ erwise, there is a risk of accidents and damage to the machine.
STIHL recommends the use of original STIHL replacement parts, blades, and accessories. They are specifically designed to match the product and meet your performance requirements.
The deflector on this power tool cannot protect the operator from all objects thrown by the attachment (stones, glass, wire, etc.). Ejected objects may also ricochet and strike the operator.
Never attempt to modify your power tool in any way since this may increase the risk of personal injury. STIHL excludes all liability for personal injury and damage to property caused while using unauthorized attachments.
Do not use a high-pressure washer to clean the power tool. The solid jet of water may damage parts of the unit.
3.1 Clothing and Equipment
Wear proper protective clothing and equipment.
Clothing must be sturdy but allow complete freedom of movement.
Wear close-fitting clothes such as a boiler suit, not a loose jacket.
Do not wear clothing that could become trapped in wood, brush, or moving parts of the machine. Do not wear a scarf, necktie, or jewelry.
Tie up and secure long hair above your shoulders.
Wear steel-toed safety boots with non-slip soles.
WARNING
To reduce the risk of eye injuries, wear close-fitting safety glasses in accordance with European Standard EN 166. Make sure the safety glasses are a snug fit.
Wear “personal” sound protection, e.g. ear defenders.
Wear sturdy protective gloves made of a resistant material (e. g. leather).
STIHL offers a comprehensive range of personal protective equipment.
3.2 Transporting the machine

Always stop the engine.
Carry your power tool by the handle, attachment in front of you.
Do not touch hot parts of the machine – the risk of burn injury!
By vehicle: When transporting in a vehicle, prop‐ early secure your machine to prevent turnover, damage, and fuel spillage.
3.3 Before starting
Check that your power tool is properly assembled and in good condition – refer to the appropriate chapters in the MultiEngine and MultiTool user manuals.
– Blade correctly and securely mounted and in good condition (clean, move freely, not war‐ ped)
– Inspect the deflectors for damage and wear.
Do not operate the machine with a damaged deflector – replace damaged parts.
– Never attempt to modify the controls or safety devices.
– Keep the handles dry and clean – free from oil and dirt – this is important for safe control of the machine.
– Swing the bike handle to the normal operating position and tighten it down firmly with the rotary knob. See the chapter on “Adjusting the Bike Handle” in the MultiEngine user manual.
The power tool must only be operated when it is in good operating condition – Risk of accident!
Check the gearbox for the correct position, and adjust if necessary. This helps reduce the risk of injury from the MultiTool rotating in the wrong direction.
See also notes on “Mounting the MultiTool”.
Ensure that the gear unit and the rotor blades are correctly attached and aligned and avoid contact with the rotor blades – the risk of injury!
As soon as the engine starts running, the power tool generates toxic exhaust gas. These gases may be odorless and invisible and may contain unburned hydrocarbons and benzene. Never run the engine indoors or in poorly ventilated locations, even if your model is equipped with a catalytic converter.

Arrows on the rotor blades show the direction of rotation. The arrows on the rotor blades must point in the same direction as the arrows on the gear.
If you use metal tools, position the gear so that the axle is below the drive shaft.
Use this position for:
– BF-MM cultivator
– BK-MM bolo tines
– FC-MM edger
– RL-MM aerator
– MF-MM dethatcher
3.4 Holding and Guiding the Tool
Make sure you always have a firm and secure footing.

Always hold the unit firmly with both hands on the handles.
Right hand on the control handle, left hand on grip on the handlebar.
3.5 While Working
In the event of impending danger or in an emergency, switch off the engine immediately by moving the slide control / stop switch/button to 0 or STOP.

To reduce the risk of injury from contact with the tool and ejected objects, do not allow any other persons within a radius of 5 meters of your own position.This distance must also be maintained in relation to objects (vehicles, window panes) –the risk of property damage!
The correct engine idle speed is important to ensure that the work tool stops moving when you let go of the throttle trigger. Check and correct the idle speed setting at regular intervals. If the attachment still rotates when the engine is idling, have your dealer check your machine and make proper adjustments or repairs – see MultiEngine user manual.
The gear head becomes hot during operation. Do not touch the gear housing – the risk of burns!
To reduce the risk of injury from thrown objects or contact with the attachment, never operate the unit without a properly mounted deflector designed specifically for the unit and the attachment.
Always stand behind the deflector or to one side of the machine during operation – never in front of the attachment.
Take special care in slippery conditions – wet or icy, on slopes or uneven ground, etc.
To reduce the risk of accidents or injury, remove all obstacles and objects from the work area.
Inspect the work area – solid objects (stones, pieces of metal, etc.) may damage the attachment.
To avoid the risk of electrocution, never use your power tool in areas where electrical lines are laid on the surface or buried just below the surface. Striking and damaging such lines with the attachment could cause serious or even fatal injury.
Operate your power tool at a normal walking pace only.
Be extremely cautious when pulling the power tool towards you because of the risk of injury from contact with the rotating attachment.
Make sure you always have a firm and secure footing.
Be extremely cautious when changing direction with the power tool – especially on slopes.
On slopes, always work parallel to the gradient to reduce the risk of injury from slipping or contact with the attachment.
Never work on steep slopes because of the risk of injury through loss of control of the power tool.
Take particular care when working close to fences, walls, stones, roots, trees, and areas of dense growth. Solid objects could be thrown in your direction or may damage the attachment –risk of accident!
When working next to high scrub, bushes, and hedges, avoid harming animals!
Be particularly alert and cautious when wearing ear protection because your ability to hear warnings (shouts, alarms, etc.) is impaired.
Take breaks when you start getting tired or feeling fatigued – the risk of accidents!
Work calmly and carefully – in daylight conditions and only when visibility is good. Proceed with caution, do not put others in danger.
If your power tool is subjected to unusually high loads for which it was not designed (e.g. heavy impact or a fall), always check that it is in good condition before continuing work – see also “Before Starting”. Make sure the safety devices are working properly. Never use a power tool that is no longer safe to operate. In case of doubt, contact a dealer.
Do not touch the attachment while the engine is running. If the attachment becomes jammed by an obstruction, switch off the engine immediately before attempting to remove the obstruction –otherwise, risk of injury!
Opening the throttle while the attachment is blocked increases the load and reduces engine speed. The clutch then slips continuously and this causes overheating and damage to important components (e.g. clutch, polymer housing components) – and this can increase the risk of injury from the attachment moving while the engine is idling.
Check the attachment at frequent and regular intervals during operation, or as soon as there is a noticeable change in behavior:
– Shut off the engine, and hold the machine securely.
– Check condition and secure position; look for cracks.
– Replace damaged working tools immediately, even if they have only superficial cracks.
Clean the attachment and deflector at regular intervals during operation.
– Shut off the engine
– Use gloves
– Remove grass, weeds, clumps of soil, etc.
To reduce the risk of injury, shut off the engine before changing attachments.
Do not continue using or attempting to repair dam‐aged or cracked cutting attachments by welding, straightening, or modifying the shape (out of balance).
3.6 After Finishing Work
After finishing work or before leaving the power tool unattended: Shut off the engine.
After finishing work, clean dirt, soil, and plant residue to the attachment – wear gloves to reduce the risk of injury.
Do not use any grease solvents when cleaning.
After having thoroughly cleaned, coat the metal surface of attachments with a corrosion inhibitor.
3.7 Maintenance and Repairs
Service the machine regularly. Do not attempt any maintenance or repair work not described in the MultiTool and MultiEngine instruction manuals. Has all other work been performed by a servicing dealer?
STIHL recommends that you have servicing and repair work carried out exclusively by an authorized STIHL servicing dealer. STIHL dealers are regularly given the opportunity to attend training courses and are supplied with the necessary technical information.
Only use high-quality replacement parts in order to avoid the risk of accidents and damage to the power tool. If you have any questions in this respect, consult a servicing dealer.
STIHL recommends the use of original STIHL replacement parts. They are specifically designed to match your model and meet your performance requirements.
To reduce the risk of injury, always shut off the engine before carrying out any maintenance or repairs or cleaning the machine.
Using the Unit

Your RL‑MM is designed for aerating lawns and other grassed areas.
4.1 Preparations
If the lawn is very dry, spray it with water before you start work: this softens the soil a little and reduces the amount of dust created.
WARNING
Clear away all obstacles and solid objects from the work area.
► Plan the best route for aerating.

Operate the MultiEngine with RL‑MM aerator in the forward direction only.
The blades may only be mounted and operated in one position. Arrows on the blades show the required direction of rotation – see chapter on “Mounting the MultiTool”.

WARNING
Never work without the deflector!
The deflector ensures that cuttings and other debris are directed away from the machine and operator.
4.2 Aerating the lawn
- Secure the handlebar in the normal operating position.
- Start the engine.
- Operate at no less than half throttle, or at full throttle.
- Choose a working speed that produces the required aerating depth without lugging down the engine.
- Operate at no more than a normal walking pace.
- Do not push the blades into the ground.
4.3 Cleaning the blades
Pieces of grass or roots may become tightly wrapped around blade mounting and between the blades during operation. Clean the blades as follows:
– Shut off the engine.
– Wear work gloves.
– Pull the hitch pins out of the axle.
– Pull the blades off the axle.
– Remove pieces of roots, plants, and soil.
Refer to “Mounting the MultiTool” for mounting instructions.
Approved MultiEngines
Only use MultiEngines supplied by STIHL or expressly approved by STIHL for use with the MultiTool.
This MultiTool may only be used in combination with the STIHL MM 56 MultiEngine.
Mounting the MultiTool
6.1 Removing Existing MultiTools
WARNING
Wear gloves to reduce the risk of injury from contact with sharp MultiTools and/or hot surfaces of the gearbox.

- Remove the hitch pins and pull the MultiTools (if fitted) off the axle – see also “Mounting the MultiTool” in the instruction manual of the other MultiTool.
- Clean the gearbox if necessary.
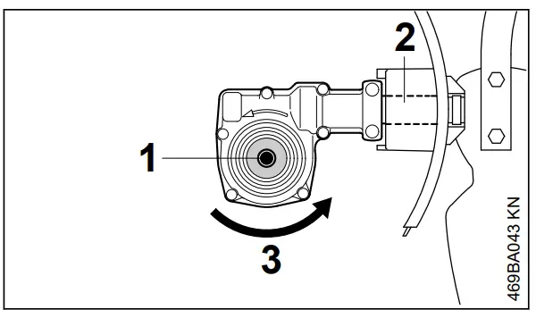
6.2 Checking Position of Gearbox
WARNING
To reduce the risk of injury from the MultiTool rotating in the wrong direction, check that position of the gearbox is correct and adjust if necessary.

The axle (1) must be below the shaft (2).
The direction of rotation (3) of MultiTool.
6.3 Adjusting Position of Gearbox

- Loosen clamp screws on the gearbox.
- Turn the gearbox through 180°.
- Line up the gearbox in the correct position.
- Tighten down the two clamp screws on the gearbox in the following sequence:
– Tighten the first screw moderately.
– Tighten the second screw moderately.
– Tighten down the first screw firmly.
– Tighten down the second screw firmly.
NOTICE
It must not be possible to rotate the gearbox on the drive tube.
6.4 Mounting the MultiTool
- Arrange the blades in the order they will be fitted on the axle, noting the following points:
Left-hand and right-hand blades are different.
The direction of rotation is marked with arrows on the gearbox and blades. Make sure the arrows point in the same direction.

- Rotate the inner right-hand blade (4) on the axle until it can be pushed into position –check the direction of rotation again (arrows).
The hub of the inner blade is larger than that of the outer blade. - Rotate the outer right-hand blade (5) on the axle until it can be pushed into position – check the direction of rotation again (arrows).
- Insert and engage the hitch pin (6) in the hole in the axle – fold the hitch pin flat against the blade.
- Use the same procedure to mount the blades on the left-hand side.
Starting / Stopping the Engine
7.1 Starting the Engine
Always follow the starting procedure described in the MultiEngine instruction manual.


- Secure the handlebar in the normal operating position.
- Retract the wheels, if fitted – see chapter on “Wheels” in MultiEngine instruction manual.
- Retract the spur, if fitted.
- Check that the MultiTool is not touching the ground or any other obstacles. The unit must rest on the engine flange and the support on the frame.
- Make sure you have good balance and secure footing – as shown in the illustration.
WARNING
To reduce the risk of injury from contact with the rotating attachment, always stand to the side of the power tool, never in front of the attachment.
- With your left hand on the loop handle, press the unit firmly against the ground – do not touch the throttle trigger or lockout lever.
NOTICE
Do not stand or kneel on the handlebar or frame.
WARNING
The attachment may begin to move as soon as the engine starts. For this reason, blip the throttle after starting – the engine returns to idling speed.
Now follow the starting procedure described in the MultiEngine instruction manual.
7.2 Stopping the Engine
► See MultiEngine instruction manual.
Storing the Machine
For periods of about 30 days or longer
► Remove, clean, and inspect the cutting blade.
► Store the machine in a dry and secure location. Keep out of the reach of children and other unauthorized persons
Maintenance and Care
The following intervals apply to normal operating conditions only. If your daily working time is longer or operating conditions are difficult (very dusty work area, etc.), shorten the specified intervals accordingly.
All accessible screws and nuts
- Retighten if necessary Blades
- Visual inspection, check tightness before starting work and after every refueling stop
- Have checked for out-of-balance if necessary, replace if out-of-balance
- Replace if damaged
Safety labels
- Replace illegible safety labels
Minimize Wear and Avoid Damage
Observing the instructions in this manual and the MultiEngine manual helps reduce the risk of unnecessary wear and damage to the power tool.
The power tool must be operated, maintained, and stored with the due care and attention described in these instruction manuals.
The user is responsible for all damage caused by non-observance of the safety precautions, and operating and maintenance instructions. This includes in particular:
– Alterations or modifications to the product not approved by STIHL.
– Using tools or accessories which are neither approved nor suitable for the product or are of poor quality.
– Using the product for purposes for which it was not designed.
– Using the product for sports or competitive events.
– Consequential damage caused by continuing to use the product with defective components.
10.1 Maintenance Work
All the operations described in the chapter on “Maintenance and Care” must be performed on a regular basis. If these maintenance operations cannot be performed by the owner, they should be performed by a servicing dealer.
STIHL recommends that you have servicing and repair work carried out exclusively by an authorized STIHL servicing dealer. STIHL dealers are regularly given the opportunity to attend training courses and are supplied with the necessary technical information.
If these maintenance operations are not carried out as specified, the user assumes responsibility for any damage that may occur. Among other parts, this includes:
– Corrosion and other consequential damage resulting from improper storage.
– Damage to the product resulting from the use of poor quality replacement parts.
10.2 Parts Subject to Wear and Tear
Some parts of the power tool are subject to normal wear and tear even during regular operation in accordance with instructions and, depending on the type and duration of use, have to be replaced in good time. Among other parts, this includes:
– Blade
– Mounting hardware for blade
– Deflector
Main Parts

- Outer right-hand blade
- Inner right-hand blade
- Inner left-hand blade
- Outer left-hand blade
- Hitch pin
Specifications
12.1 Attachment
| 4 blades | |
| Diameter: | 230 mm |
| Working width: | 200 mm |
12.2 Weight
| 4 blades with hub: | 2.0 kg |
12.3 REACH
REACH is an EC regulation and stands for the Registration, Evaluation, Authorization, and Restriction of Chemical substances.
For information on compliance with the REACH regulation (EC) No. 1907/2006 see www.stihl.com/reach
Maintenance and Repairs
Users of this machine may only carry out the maintenance and service work described in this user manual. All other repairs must be carried out by a servicing dealer.
STIHL recommends that you have servicing and repair work carried out exclusively by an authorized STIHL servicing dealer. STIHL dealers are regularly given the opportunity to attend training courses and are supplied with the necessary technical information.
When repairing the machine, only use replacement parts that have been approved by STIHL for this power tool or are technically identical.
Only use high-quality replacement parts in order to avoid the risk of accidents and damage to the machine.
STIHL recommends the use of original STIHL replacement parts.
Original STIHL parts can be identified by the STIHL part number, the
logo, and the STIHL parts symbol K (the symbol
may appear alone on small parts).
Disposal
Contact the local authorities or your STIHL servicing dealer for information on disposal. Improper disposal can be harmful to health and pollute the environment.

- Take STIHL products including packaging to a suitable collection point for recycling in accordance with local regulations.



















