STIHL FSE 60, 71, 81

Instruction Manual
Dear Customer,
Thank you for choosing a quality engineered STIHL product.
It has been built using modern production techniques and comprehensive quality assurance. Every effort has been made to ensure your satisfaction and trouble-free use of the product.
Please contact your dealer or our sales company if you have any queries concerning this product.
Your
Dr. Nikolas Stihl
Guide to Using this Manual
1.1 Pictograms
All the pictograms attached to the machine are shown and explained in this manual.
1.2 Symbols in text
WARNING
Warning where there is a risk of an accident or personal injury or serious damage to property.
NOTICE
Caution where there is a risk of damaging the machine or its individual components.
1.3 Engineering improvements
STIHL’s philosophy is to continually improve all of its products. For this reason, we may modify the design, engineering, and appearance of our products periodically.
Therefore, some changes, modifications, and improvements may not be covered in this manual.
Safety Precautions and Working Techniques
Some special safety precautions must be observed when working with this powerful tool because of the very high speed of its cutting attachment and the fact that it is powered by electricity.
It is important that you read the instruction manual before first use and keep it in a safe place for future reference. Non-observance of the instruction manual may result in serious or even fatal injury.
Observe all applicable local safety regulations, standards, and ordinances.
If you have not used this model before: Have your dealer or other experienced user show you how it is operated or attend a special course in its operation.
Minors should never be allowed to use this product.
Keep bystanders, especially children, and animals away from the work area.
When the machine is not in use, store it so that it does not endanger others. Secure it against unauthorized use, disconnect the plug from the power supply.
The user is responsible for avoiding injury to third parties or damage to their property.
Do not lend or rent your unit without the instruction manual. Be sure that anyone using it understands the information contained in this manual.
Persons who are not able to operate the power tool safely due to limited physical, sensory, or mental ability may work with it only under supervision or after being instructed appropriately by a responsible person.
The use of noise-emitting power tools may be restricted to certain times by national or local regulations.
Before each use, check that your power tool is in good condition. Pay special attention to the power cord, main plug, and safety devices.
Do not use the power cord to pull or carry the power tool.
Disconnect the plug from the wall outlet before performing any work on the machine, e.g. cleaning, maintenance, replacing parts.
The deflector on this power tool cannot protect the operator from all objects thrown by the cutting attachment (stones, glass, wire, etc.). Such objects may ricochet and then hit the operator.
Do not use a pressure washer to clean your power tool. The solid jet of water may damage parts of the power tool.
Do not spray the power tool with water.
2.1 Physical Condition
To operate this power tool you must be rested, in good physical condition, and have mental health.
If you have any condition that might be aggravated by strenuous work, check with your doctor before operating a power tool.
Do not operate the power tool if you are under the influence of any substance (drugs, alcohol) which might impair vision, dexterity, or judgment.
2.2 Accessories and replacement parts
Only use cutting attachments and accessories that are explicitly approved for this power tool by STIHL or are technically identical. If you have any questions in this respect, consult a servicing dealer. Use only high-quality tools and accessories in order to avoid the risk of accidents and damage to the machine. STIHL recommends the use of genuine STIHL tools and accessories. They are specifically designed to match the product and meet your performance requirements.
Never attempt to modify your machine in any way since this may increase the risk of personal injury. STIHL excludes all liability for personal injury and damage to property caused while using unauthorized attachments.
2.3 Applications
Depending on the cutting attachment fitted, use your power tool only for cutting grass, wild growth, and similar materials.
Do not use your power tool for any other purpose because of the increased risk of accidents and damage to the power tool itself. Never attempt to modify the product in any way since this may result in accidents or damage to the product.
2.4 Clothing and Equipment
Wear proper protective clothing and equipment.
Clothing must be sturdy but allow complete freedom of movement. Wear snug-fitting clothing, an overall and jacket combination, do not wear a work coat.
Avoid clothing that could get caught on branches or brushes or moving parts of the machine. Do not wear a scarf, necktie, or jewelry. Tie up long hair so that it is above shoulder level. Wear sturdy shoes with non-slip soles.
WARNING
To reduce the risk of eye injuries, wear close-fitting safety glasses in accordance with European Standard EN 166. Make sure the safety glasses are a comfortable and snug fit.
Wear a face shield and make sure it is a good fit.
A face shield alone does not provide adequate eye protection. Wear hearing protection, e.g. earplugs or earmuffs.
Wear heavy-duty work gloves made of durable material (e.g. leather).
STIHL offers a comprehensive range of personal protective clothing and equipment.
2.5 Transporting the Power Tool
Always switch off the power tool and unplug it from the power supply.
Carry the unit hanging from the shoulder strap or properly balanced by the drive tube or loop handle.
Transporting by vehicle: Properly secure the power tool to prevent turnover and damage.
2.6 Before Starting Work
Inspect the power tool.
Check that your power tool is properly assembled and in good condition – refer to appropriate chapters in the instruction manual.
- Starting lockout lever and trigger switch must move freely – the switch must return to the idle position when it is released.
- Use only an approved combination of cutting attachment, deflector, handle and harness. All parts must be assembled properly and securely. To reduce the risk of injury, never use metal cutting attachments.
- Check that the cutting attachment is properly and securely mounted and in good condition.
- Check protective devices (e.g. deflector for cutting attachment) for damage or wear.
Always replace damaged parts. Never operate the unit with a damaged deflector. - Keep the handles dry and clean – free from oil and dirt – for safe control of the power tool.
- Adjust the handle to suit your height and reach.
To reduce the risk of accidents, do not operate your power tool if it is not properly assembled and in good condition.
Do not operate your power tool if any of its components are damaged or not properly mounted.
Never attempt to modify the controls or the safety devices in any way.
Before switching on your power tool, make sure the cutting attachment is not touching the ground or any other object.
To reduce the risk of injury, avoid contact with the cutting attachment.
Note that the cutting attachment continues to run for a short period after the power tool is switched off the flywheel effect.
Electrical Connection.
Reduce the risk of electric shock:
- The voltage and frequency of the power tool (see rating plate) and the voltage and frequency of your power supply must be the same.
- Check the connecting cord, plug, and extension cord for damage. Never use damaged cords, couplings, plugs, or connecting cords that do not comply with regulations.
- Always connect the power tool to a properly installed wall outlet.
- Check that the insulation of the power cord, extension cord, plug, and coupling is in good condition.
- Never touch the mains plug, connecting cord, extension cord, or electrical connections with wet hands.
- Make sure the extension cord used complies with the regulations for the intended application.
Position the connecting and extension cords correctly: - Check minimum cross-section of wires (wire gauge) – see “Connecting to Power Supply”.
- To reduce the risk of stumbling, position and mark the connecting cord so that it cannot be damaged or endanger others.
- Using unsuitable extension cords can be dangerous. Use only extension cords approved for outdoor use which are labeled as such and have the appropriate wire gauge.
- The plug and coupling of the extension cord must be water-proof and must never be immersed in water.
- Do not chafe on edges, pointed or sharp objects
- Do not squeeze through gaps in doors or windows
- If cords are twisted – unplug the power tool and straighten them out
- Never touch the rotating cutting attachment
- Always unwind the extension cord completely from the cable drum to reduce the risk of fire from overheating.
2.7 Holding and Controlling the Power Tool
Always hold the unit firmly with both hands on the handles. Make sure you always have good balance and secure footing.
Always hold the machine on the right-hand side of your body.
Left hand on loop handle, right hand on the control handle, even if you are left-handed.
2.8 During Operation
If the power supply cord is damaged, immediately disconnect the plug from the wall outlet to avoid the risk of electric shock.
Avoid damage to the power supply cord. Do not drive over it, pinch or tug it.
Never jerk the connecting cord to disconnect it from the wall outlet. To unplug, grasp the plug, not the cord.
Be sure your hands are dry before touching the plug or power cord.
Never spray water on the unit – the risk of short circuit!
The drive motor is not waterproof. To reduce the risk of a short circuit or electrocution, never work with the power tool in the rain or in wet or very damp locations.
Do not leave the power tool outdoors in the rain.
In case of imminent danger or in an emergency, switch off the motor immediately – release the trigger switch and start lockout.
Your power tool is designed to be operated by one person only. Do not allow other persons in the work area.
The cutting attachment may catch and fling objects a great distance and cause injury – therefore, do not allow any other persons within a radius of 15 meters of your own position. To reduce the risk of damage to property, also maintain this distance from other objects (vehicles, windows). Even maintaining a distance of 15 meters or more cannot exclude the potential danger.
Inspect the work area: Stones, pieces of metal, or other solid objects may be thrown more than 15 meters and cause personal injury or damage to the cutting attachment and property (e.g. parked vehicles, windows).
To reduce the risk of injury from thrown objects, never operate the unit without the proper deflector for the type of cutting attachment being used.
Do not cut wet grass.
Take care in slippery conditions on slopes and uneven ground.
Keep the connecting cord behind the power tool at all times – do not walk backward – the risk of stumbling.
Watch out for obstacles: Roots and tree stumps that could cause you to trip or stumble.
Always stand on the ground while working, never on a ladder, work platform, or any other insecure support.
Be particularly alert and cautious when wearing hearing protection because your ability to hear warnings (shouts, alarms, etc.) is restricted.
To reduce the risk of accidents, take a break in good time to avoid tiredness or exhaustion.
Work calmly and carefully – in daylight conditions and only when visibility is good. Stay alert so as not to endanger others.
Special care must be taken when working in difficult, overgrown terrain.
When cutting high scrub, under bushes and hedges: Keep cutting attachment at a minimum height of 15 cm to avoid harming small animals.
Check the cutting attachment at regular short intervals during operation or immediately if there is a noticeable change in cutting behavior:
– Switch off the power tool, hold it firmly and press the cutting attachment into the ground to bring it to a standstill, and disconnect the plug from the power supply.
– Check condition and tightness, look for cracks.
– Replace damaged cutting attachments immediately, even if they have only superficial cracks.
– Clean grass and plant residue off the cutting attachment mounting at regular intervals
– remove any build-up of material from the cutting attachment and deflector.
Always switch off the power tool and unplug it from the power supply before replacing the cut-ting attachment This avoids the risk of injury from the motor starting unintentionally.
Do not continue using or attempt to repair damaged or cracked cutting attachments by welding, straightening, or modifying the shape (out of balance).
This may cause parts of the cutting attachment to come off and hit the operator or bystanders at high speed and result in serious or fatal injuries.
Use only the deflector with a properly mounted line limiting blade to ensure the mowing lines are automatically trimmed to the approved length.
To reduce the risk of injury, avoid contact with the blade.
To reduce the risk of injury, always switch off the power tool and unplug it from the power supply before manually adjusting the nylon line.
Using the unit with over-long nylon cutting lines reduces the engine’s operating speed. This results in overheating and damage to the motor.
To reduce the risk of injury, never use wire in place of the nylon cutting line.
If your power tool is subjected to unusually high loads for which it was not designed (e.g. heavy impact or a fall), always check that it is in good condition before continuing work – see also “Before Starting Work”. Make sure the safety devices are working properly. Do not continue operating your power tool if it is damaged. In case of doubt, consult your servicing dealer.
Before leaving the power tool unattended: Switch it off and disconnect the plug from the power supply.
2.9 Vibrations
Prolonged use of the power tool may result in vibration-induced circulation problems in the hands (white finger disease).
No general recommendation can be given for the length of usage because it depends on several factors.
The period of usage is prolonged by:
– Hand protection (wearing warm gloves)
– Work breaks The period of usage is shortened by:
– Any personal tendency to suffer from poor circulation (symptoms: frequently cold fingers, tingling sensations).
– Low outside temperatures.
– The force with which the handles are held (a tight grip restricts circulation).
Continual and regular users should monitor closely the condition of their hands and fingers. If any of the above symptoms appear (e.g. tingling sensation in fingers), seek medical advice.
2.10 Maintenance and Repairs
Always switch off the machine and disconnect the plug from the power supply before carrying out any maintenance work to reduce the risk of injury from the motor starting unintentionally.
Service the machine regularly. Do not attempt any maintenance or repair work not described in the instruction manual. Has all other work been performed by a servicing dealer?
STIHL recommends that you have servicing and repair work carried out exclusively by an authorized STIHL servicing dealer. STIHL dealers are regularly given the opportunity to attend training courses and are supplied with the necessary technical information.
Only use high-quality replacement parts in order to avoid the risk of accidents and damage to the machine. If you have any questions in this respect, consult a servicing dealer.
STIHL recommends the use of genuine STIHL replacement parts. They are specifically designed to match your machine model and meet your performance requirements.
Never attempt to modify your power tool in any way since this will increase the risk of personal injury.
Regularly check that the insulation of the power cord and plug is in good condition and shows no sign of aging (brittleness).
Electrical components, e.g. power cord, may only be repaired or replaced by a qualified electrician. Clean plastic components with a cloth. Do not use aggressive detergents. They may damage the plastic.
Do not spray the machine with water.
Check the tightness of mounting screws on safety devices and the cutting attachment and retighten if necessary.
Clean cooling air inlets in motor housing as necessary.
Store the machine in a safe and dry place.
Using the Unit
3.1 Mowing

► Hold your trimmer with both hands – right hand on the control handle – left hand on the loop handle.
► Stand upright – hold the unit in a relaxed position and always on the right side of your body.
► Swing the trimmer steadily to the left and right like a scythe, while maintaining the required cutting height.
► Avoid contact with fences, walls, rocks, etc. since it will result in a higher rate of wear.
3.1.1 Mowing with depth wheel

A depth wheel can be quickly fitted to the trimmer (see “Mounting Depth Wheel”).
– It limits the cutting range of the mowing line.
– reduces the risk of the rotating mowing line causing damage (e.g. tree bark)
3.2 Edging

The unit can be quickly converted to a power edger (see “Converting Unit to Power Edger”).
► Use the unit as shown.
► Guide the mowing line along the edge of the lawn – use the depth wheel (see “Mounting Depth Wheel”) or hold the unit at the right height.
3.3 Disposal
Do not throw cuttings in the garbage can – they can be composted!
Approved Combinations of Cutting Attachment, Deflector, Handle, and Harness

4.1 Approved Combinations
Select the correct combination from the table according to the cutting attachment you intend to use.
WARNING
For safety reasons, no other combinations are permitted – the risk of accidents.
Only mowing heads (1, 2) may be used on trimmers with a curved drive tube and loop handle.
4.2 Cutting Attachments
4.2.1 Mowing heads
1 STIHL AutoCut C 52
2 STIHL AutoCut C 6‑2
4.3 Deflector
3 Deflector with a blade, for mowing heads
4.4 Handle
4 Loop handle
4.5 Harness
5 Shoulder strap may be used
Mounting the Drive Tube

► Pull the protective cap off the drive tube.
► Push the drive tube (1) into the motor housing (2) as far as the mark (A), turning the drive tube back and forth at the same time.
► Tighten down the screw (3) in the housing firmly.
Mounting the Loop Handle
6.1 Mounting the Loop Handle

► Fit the loop handle (1) on the drive tube at a distance A of about 30 cm from the control handle (2).
► Insert the hex nut (3) in the loop handle (1).
► Squeeze the ends of the clamp together, fit the M6x40 screw (4) with washer (5) from the other side and tighten down firmly.
6.2 Adjusting Loop Handle to Most Comfortable Position
► Loosen the screw (4).
► Move the loop handle (1) along the drive tube to the required position – tighten down the screw (4) firmly.
Mounting the Deflector

► Push the deflector (1) over the clamp (2) as far as the stop.

► Fit the locknut (3) in the hex recess on the deflector.
► Make sure the holes line up.
► Insert the M6x30 screw (4) and tighten it down firmly.
Mounting the Cutting Attachment
8.1 Placing Power Tool on the Ground

► Switch off the power tool.
► Lay your trimmer on its back with the loop handle facing down and the output shaft facing up.
8.2 Fitting Mowing Head without Screw Mounting
Keep the supplement sheet for the mowing head in a safe place!
8.2.1 STIHL AutoCut C 5-2

► Slip the mowing head (2) onto the shaft – as AutoCut 5-2.
► Turn the spool (9) clockwise until the two arrowheads line up – secure the spool in this position.
► Insert the cap (8) in the spool, press it down as far as to stop, and turn it clockwise at the same time.
► Turn the cap until you feel resistance and then tighten it down firmly by hand.
8.2.2 STIHL AutoCut C 6-2

► Place the mowing head (2) on the shaft (3) while inserting the internal hexagon (2) on the hexagon (4)
► Hold the mowing head (2) with your hand.
► Turn cap (1) clockwise and tighten it firmly by hand.
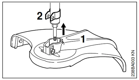
8.3 Removing the Mowing Head
► Hold the spool housing steady
► Unscrew the cap counterclockwise.
Mounting Depth Wheel
The depth wheel is included in the scope of supply or is available as a special accessory.
It limits the working range of the mowing line.
– It helps reduce the risk of the rotating mowing line causing damage (e.g. tree bark).
– It maintains the correct ground clearance when edging.

The depth wheel (1) can be locked in three different positions (A, B, or C) on the support (2). This allows the reach of the mowing line to be varied.
A Working range of mowing line extends beyond the outside diameter of the depth wheel, e.g. for lawn edging.
B Working range of mowing line extends up o outside diameter of depth wheel.
C Working range of mowing line does not reach as far as the outside diameter of depth wheel, e.g. for mowing around trees.
9.1 Mounting Depth Wheel on Support

► Push the depth wheel (1) into the required position on the support (2) until the locking hooks (3) engage.
Squeeze the locking hooks (3) together to release the depth wheel (1) from the support (2).
9.2 Fitting Depth Wheel on Deflector

► Push the depth wheel (1) with support onto the deflector (4).

► Secure the depth wheel (1) on the deflector’s (4) hook (6) with the locking tab (5).
The depth wheel (1) can be released from the hook (6) and pulled off the deflector (4) by raising the locking tab (5) slightly.
Converting Unit to Power Edger

► Loosen the screw (1).
► Rotate the loop handle (2) 180°.
► Tighten down the screw (1) firmly.

The trimmer can now be turned through 180° and used as a power edger (see “Applications”).
Connecting to Power Supply
The voltage and frequency of the machine (see rating plate) must match the voltage and frequency of the power connection.
The minimum fuse protection of the power connection must comply with the specifications – see “Specifications”.
The machine must be connected to the power supply via an earth leakage circuit breaker to disconnect the power supply if the differential current to the earth exceeds 30 mA.
The power connection must correspond to IEC 60364 and relevant national regulations.
11.1 Extension cord
The design of the extension cord must at least fulfill the same features as the connecting cord on the machine. Observe the design marking (type designation) on the connecting cord.
The cores in the cord must have the following minimum cross-section depending on the mains voltage and cord length.
| Cord length 220 V – 240 V: Up to 20 m 20 m to 50 m 100 V – 127 V: Up to 10 m 10 m to 30 m | Minimum cross-section 1.5 mm² 2.5 mm² AWG 14 / 2.0 mm² AWG 12 / 3.5 mm² |

► Insert the plug (1) into the extension cord coupling (2)
11.2 Strain relief clamp, strain relief flap (supports extension cord and reduces the likelihood of disconnection of extension cord receptacles and trimmer plug)
The strain relief (cable retainer) protects the connecting cable from damage.
► make a loop (3) in the extension cord
► Pass the loop (3) through the opening (4)
► Slip the loop (3) over the hook (5) and pull it tight
► Plug the extension cord into a properly installed outlet
Fitting the Harness
A shoulder strap is available as a special accessory.
Wear the shoulder strap over your left shoulder and adjust its length so that the spring hook lies against your right hip.
The open side of the hook should face away from your body. Attach the spring hook to the carrying ring (see “Main Parts”).
Switching On

► make sure you have a firm and secure stance
► Hold your trimmer with both hands – right hand on the control handle – left hand on the loop handle.
► Stand upright – hold the unit in a relaxed position and always on the right side of your body.
► The cutting attachment must not touch any objects or the ground
► Press down the starting lockout lever (1) and hold it in that position.
► Squeeze the trigger switch (2).
Switching Off
► Release the trigger switch and start the lockout lever.
WARNING
Note that the cutting attachment continues to run for a short period after you let go of the throttle trigger and start lockout lever – flywheel effect.
During longer work breaks – disconnect the plug from the power supply.
When the machine is not in use, shut it off so that it does not endanger others.
Secure it against unauthorized use.
Overload Cutout
STIHL FSE 71 and FSE 81 electric trimmers are equipped with an overload cutout.
The overload cut out cuts off the power supply in case of mechanical or thermal overload.
If the overload cutout has cut off the power supply:
► Wait about 3 minutes before switching on again.
Do not switch on the unit during this period because you will otherwise prolong the required cooling time.
Once the motor starts:
► Run the unit for about 15 seconds offload. This helps cool the motor windings and considerably delays renewed tripping of the over-load cutout.
Storing the Machine
For periods of 3 months or longer
► Thoroughly clean the machine, especially the cooling air inlets.
► Take out the spool with nylon lines and engage the ends of the lines in the spool’s notches. Clean and inspect the spool.
The resilience and service life of the nylon line can be increased by storing it in a container filled with water.
► Store the machine in a dry, high, or locked location, out of the reach of children and other unauthorized persons.
Maintaining the Mowing Head
17.1 Placing Power Tool on the Ground

► Switch off the power tool.
► Lay your trimmer on its back with the loop handle facing down and the output shaft facing up.
17.2 Re-Adjusting the Mowing Line

► holds the rotating mowing head above the ground – tap it on the ground once – about 3 cm fresh line is advanced.
► The blade (1) on the deflector (2) trims surplus mowing line to the correct length – avoid tapping the mowing head more than once at a time!
Line feed operates only if both lines still have a minimum length of 2.5 cm. If the line is shorter than 2.5 cm:
WARNING
To reduce the risk of injury, always shut off the engine before adjusting the nylon mowing line by hand.
► Lay your trimmer on its back, make sure it is secure.
► Press down the cap on the spool as far as the stop.
► Pull the ends of the lines out of the spool.
If the spool is empty, refill with mowing line
17.3 Replacing the Mowing Line
Always check the mowing head for wear before replacing the mowing line.
WARNING
If signs of heavy wear are visible, the mowing head must be completely replaced.
The mowing line is referred to as ‘line’ in the following.
An illustrated guide to replacing lines is supplied with the mowing head. So keep the instructions for the mowing head in a safe place.
► Remove the mowing head if necessary
17.4 STIHL AutoCut C 5‑2
17.4.1 Disassembling the mowing head and removing remaining nylon line
In normal operation, the supply of nylon line in the head is used up almost completely.
► Hold the mowing head steady and rotate the cap (1) counterclockwise until it can be removed.
► Pull the spool (2) out of the mowing head (3) and remove the remaining line.
17.4.2 Assembling the mowing head
► Fit the empty spool in the mowing head.
If the spring (4) has popped out:
► push it into the spool (2) until it engages in position with an audible click.
► Mount the mowing head – see “Mounting the Mowing Head”.
17.4.3 Winding line onto the spool

► Use a green-coded nylon line with a diameter of 2 mm (0.08 in).
► Cut two 2 m (6ft 6in) lengths of nylon line from the reel (special accessory).
► Rotate the spool (2) counterclockwise until the two arrow points are in alignment.
► Push the straight end of each line through one of the sleeves (5) in the mowing head (3) until you feel a noticeable resistance – and then continue pushing as far as the stop.
► Hold the mowing head steady.
► Rotate the spool counterclockwise until the shortest line is about 10 cm (4 in).
► If necessary, cut the long line to a length of about 10 cm (4 in).
The mowing head is now full.
Maintenance and Care
| The following intervals apply to normal operating conditions only. If your daily working time is longer or operating conditions are difficult (very dusty work area, etc.), shorten the specified intervals accordingly. | before starting work | after finishing work or daily | weekly | Allow | if problem | if damaged | if required | |
| Complete machine | Visual inspection (condition) | X | ||||||
| Clean | X | |||||||
| Power cord | Check | X | ||||||
| Have replaced by dealer) | X | |||||||
| Switch, starting lockout | Check operation | X | ||||||
| Have replaced by dealer) | X | X | ||||||
| Cooling inlets | Clean | X | ||||||
| All accessible screws and nuts | Retighten | X | ||||||
| The following intervals apply to normal operating conditions only. If your daily working time is longer or operating conditions are difficult (very dusty work area, etc.), shorten the specified intervals accordingly. | before starting work | after finishing work or daily | weekly | Allow | wail: laid 1! | if damaged | if required | |
| Cutting attachment (mowing head) | Visual Inspection | X | ||||||
| Replace | X | |||||||
| Check tightness | X | |||||||
| Safety labels | Replace | X | ||||||
Minimize Wear and Avoid Damage
Observing the instructions in this manual helps reduce the risk of unnecessary wear and damage to the power tool.
The power tool must be operated, maintained, and stored with the due care and attention described in this instruction manual.
The user is responsible for all damage caused by non-observance of the safety precautions, operating, and maintenance instructions in this manual. This includes in particular:
– Alterations or modifications to the product not approved by STIHL.
– Using tools or accessories which are neither approved nor suitable for the product or are of poor quality.
– Using the product for purposes for which it was not designed.
– Using the product for sports or competitive events.
– Consequential damage caused by continuing to use the product with defective components.
19.1 Maintenance Work
All the operations described in the “Maintenance Chart” must be performed on a regular basis. If these maintenance operations cannot be performed by the owner, they should be performed by a servicing dealer.
STIHL recommends that you have servicing and repair work carried out exclusively by an authorized STIHL servicing dealer. STIHL dealers are regularly given the opportunity to attend training courses and are supplied with the necessary technical information.
1) STIHL recommends a STIHL servicing dealer.
If these maintenance operations are not carried out as specified, the user assumes responsibility for any damage that may occur. Among other things, this includes:
– Damage to the motor due to neglect or deficient maintenance (e.g. not cleaning cooling air inlets).
– Damage due to incorrect electrical connection (voltage, inadequately rated connecting cords).
– Corrosion and other consequential damage resulting from improper storage.
– Damage to the product resulting from the use of poor quality replacement parts.
19.2 Parts Subject to Wear and Tear
Some parts of the power tool are subject to normal wear and tear even during regular operation in accordance with instructions and, depending on the type and duration of use, have to be replaced in good time. Among other parts, this includes:
– Cutting attachment
– Deflector
– Carbon brushes
Main Parts
Power cord- Angle screwdriver
- Cooling inlets
- Switch
- Starting lockout lever
- Carrying ring
- Loop handle
- Drive tube
- Mowing head
- Line limiter blade
- Deflector
- Depth wheel (included as standard equipment or available as a special accessory)
- Strain relief (cord retainer) # Serial number
Specifications
21.1 Engine
21.1.1 FSE 60
| Rated voltage: Frequency: Rated current: Power: | 230 V 50 Hz 2.3 A 540 W |
1)Version for Australia: 240 V
2) Version with 10-meter power supply cord for the UK
| The rated speed at the mowing line diameter of 350 mm: Protect with a fuse Protection class: | 7400 rpm min. 10 A II, |
21.1.2 FSE 71
| Rated voltage: Frequency: Rated current: Power: The rated speed at the mowing line diameter of 350 mm: Protect with a fuse Protection class: | 1) 230 V 50 Hz 2.3 A 540 W 7400 rpm min. 10 A II, |
21.1.3 FSE 81
| Rated voltage: Frequency: Rated current: Power: The rated speed at the mowing line diameter of 350 mm: Protect with a fuse Protection class: | 230 V 50 Hz 4.3 A 1000 W 7400 rpm min. 10 A II, |
21.2 Length
| FSE 60: FSE 71: FSE 81: | 1530 mm 1530 mm 1530 mm |
21.3 Weight
complete with cutting attachment and deflector
| FSE 60: FSE 60:²) FSE 71: FSE 71²) FSE 81: FSE 81²) | 3.9 kg 4.5 kg 4.0 kg 4.6 kg 4.7 kg 5.3 kg |
21.4 Noise and Vibration Data
Noise and vibration data are determined on the basis of the rated maximum speed.
For further details on compliance with Vibration Directive 2002/44/EC visit www.stihl.com/vib.
21.4.1 Sound pressure level Lp to EN 50636-2-91
| FSE 60: FSE 71: FSE 81: | 83 dB(A) 82 dB(A) 83 dB(A) |
21.4.2 Sound power level Lw to EN 50636-2-91
| FSE 60: FSE 71: FSE 81: | 94 dB(A) 93 dB(A) 93 dB(A) |
21.4.3 Vibration level have to EN 50636-2-91
| Handle, left | Handle, right | |
| FSE 60: FSE 71: FSE 81: | 3.9 m/s²) 3.3 m/s²) 2.9 m/s²) | 3.6 m/s²) 2.9 m/s²) 2.2 m/s²) |
The K‑factor in accordance with Directive 2006/42/EC is 2.0 dB(A) for the sound pressure level and sound power level; the K‑factor in accordance with Directive 2006/42/EC is 2.0 m/s² for the vibration level.
21.5 REACH
REACH is an EC regulation and stands for the Registration, Evaluation, Authorisation, and Restriction of Chemical substances. For information on compliance with the REACH regulation (EC) No. 1907/2006 see www.stihl.com/reach.
Maintenance and Repairs
Users of this machine may only carry out the maintenance and service work described in this user manual. All other repairs must be carried out by a servicing dealer.
STIHL recommends that you have servicing and repair work carried out exclusively by an authorized STIHL servicing dealer. STIHL dealers are regularly given the opportunity to attend training courses and are supplied with the necessary technical information.
When repairing the machine, only use replacement parts that have been approved by STIHL for this power tool or are technically identical. Only use high-quality replacement parts in order to avoid the risk of accidents and damage to the machine.
STIHL recommends the use of original STIHL replacement parts.
Original STIHL parts can be identified by the STIHL part number, the
®logo, and the STIHL parts symbol
(the symbol may appear alone on small parts).
Disposal
Observe all country-specific waste disposal rules and regulations.

STIHL products must not be thrown in the garbage can. Take the product, accessories, and packaging to an approved disposal site for environmentally-friendly recycling.
Contact your STIHL servicing dealer for the latest information on waste disposal.
EC Declaration of Conformity
ANDREAS STIHL AG & Co. KG
Bad. 115
D-71336 Waiblingen
Germany
declares under our sole responsibility that
| Designation: Make: Series:Serial identification number: | Electric trimmer STIHL FSE 60 FSE 71 FSE 81 4809 |
conforms to the relevant provisions of Directives 2011/65/EU, 2006/42/EC, 2014/30/EU, and 2000/14/EC and has been developed and manufactured in compliance with the following standards in the versions valid on the date of production:
EN 55014‑1, EN 55014‑2, EN 60335‑1, EN 50636-2-91, EN 61000‑3‑2, EN 61000‑3‑3
The measured and guaranteed sound power level was determined according to Directive 2000/14/EC, Annex VIII, using the ISO 11094 standard.
Notified body involved:
TÜV Rheinland Product Safety GmbH
Am Grauen Stein
D-51105 Köln
(NB 0197)
Measured sound power level
FSE 60:
94 DB(A)
24 EC Declaration of Conformity
| FSE 71: FSE 81: | 93 DB(A) 93 DB(A) |
Guaranteed sound power level
| FSE 60: FSE 71: FSE 81: | 96 db(A) 95 db(A) 95 db(A) |
Technical documents deposited at:
ANDREAS STIHL AG & Co. KG
Produktzulassung
The year of construction, the country of manufacture, and the machine number are shown on the machine.
Done at Waiblingen, 03.02.2020
ANDREAS STIHL AG & Co. KG
pp
Dr. Jürgen Hoffmann
Head of Product Data, Regulations, and Licensing
Power cord
















