STIHL FSE 60 Electric Grass Trimmer

FSE 60, 71, 81
Product Information
The FSE 60, 71, 81 is an electric grass trimmer designed for cutting and edging grass in various applications. It features a sturdy construction and comes with multiple safety features to ensure safe operation. The trimmer is equipped with a cutting tool, protective guard, handle, and shoulder strap for comfortable use. It also has a vibration reduction system for reduced operator fatigue.
Product Usage Instructions
Safety Precautions:
- Keep children, animals, and spectators away from the working area.
- Wear sturdy shoes with non-slip soles while operating the trimmer.
- To reduce the risk of eye injuries, wear tight-fitting safety goggles that meet the EN 166 standard. Ensure proper fit of the goggles.
- Use a face shield for additional face protection. Note that a face shield does not provide sufficient eye protection.
- Do not operate the trimmer on wet grass.
- Be aware of the vibration levels during operation and take breaks if necessary.
- Follow proper maintenance and repair procedures to ensure safe and efficient operation.
Assembly:
- Attach the handle to the shaft of the trimmer.
- Mount the protective guard onto the holder.
- Install the cutting tool (STIHL AutoCut C 5-2 or C 6-2) by following the provided instructions.
- Connect the trimmer to a power source using the appropriate power cord.
Operation:
- Hold the trimmer with a firm grip and ensure the switch and lock-off button are released.
- Start the trimmer by pressing the switch and lock-off button simultaneously.
- Adjust the cutting height and angle as desired.
- Move the trimmer back and forth to cut and edge the grass.
Maintenance:
- Clean the entire machine as needed.
- Check and replace the power cord, switch, lock-off button, and safety labels if damaged.
- Follow the maintenance and care instructions provided in the user manual for optimal performance and longevity of the trimmer.
Pictograms
All the pictograms attached to the machine are shown and explained in this manual.
Symbols in text
- Warning where there is a risk of an accident or personal injury or serious damage to property.
- Caution where there is a risk of damaging the machine or its individual components.
Engineering improvements
- STIHL’s philosophy is to continually improve all of its products. For this reason we may modify the design, engineering and appearance of our products periodically.
- Therefore, some changes, modifications and improvements may not be covered in this man‐ ual.
Safety Precautions and Working Techniques
- Special safety precautions must be observed when working with this machine because of the very high speed of its cutting attachment and the fact that it is powered by electric‐ ity.
- Before commissioning, it is important to read and understand the User Manual and to keep it in a safe place for future reference. Failure to observe the User Manual may lead to serious or even fatal injury.
- Observe the national safety regulations issued, e.g. by the employers’ liability insurance associa‐ tion, social security institutions, occupational safety and health authorities and other organiza‐ tions.
- If you have not used this machine before: Have your dealer or other experienced user show you how to handle your machine safely or attend a specialist course.
- Minors should never be allowed to use the machine – except for young trainees over the age of 16 when working under supervision.
- Children, animals and onlookers must not be allowed near the machine.
- When the machine is not in use, shut it off so that it does not endanger others. Secure it against unauthorized use and disconnect the mains plug.
- The user is responsible for accidents or risks involving third parties or their property.
- Do not pass on or lend the machine to persons who are not familiar with this model and its han‐ dling – always include the User Manual.
- Persons who are not able to operate the power tool safely due to limited physical, sensory or mental ability may work with it only under super‐ vision or after being instructed appropriately by a responsible person.
- The use of noise-emitting power tools may be restricted to certain times by national or local regulations.
- Before each use, check that the unit is in proper condition. Pay special attention to the connecting cable, mains plug and safety devices.
- Do not use the connecting cable to pull or trans‐ port the unit.
- Disconnect plug from wall outlet before perform‐ ing any work on the machine, e.g. cleaning, maintenance, replacing parts.
- The deflector on this power tool cannot protect the operator from all objects ejected by the cut‐ ting attachment (stones, glass, wire, etc.). Ejec‐ ted objects may also ricochet and strike the oper‐ ator.
- Do not use a high-pressure washer to clean the power tool. The solid jet of water may damage parts of the unit.
- Do not spray the power tool with water.
Physical fitness
- To operate the power tool you must be rested, and in good physical condition and mental health.
- If you have any condition that might be aggrava‐ ted by strenuous work, check with your doctor before operating a power tool.
- Do not operate the power tool if you have con‐ sumed alcohol or taken medication which may impair responsiveness, or taken drugs.
Accessories and Spare Parts
- Only use cutting attachments and accessories that are explicitly approved for this power tool by STIHL or are technically identical. If you have any questions about this, consult your dealer.
- Use only high-quality parts and accessories. Oth‐ erwise, there is a risk of accidents and damage to the unit.
STIHL recommends the use of genuine STIHL tools and accessories. They are specifically designed to match the product and meet your performance requirements.
Never attempt to modify your power tool in any way since this may increase the risk of personal injury. STIHL excludes all liability for personal injury and damage to property caused while using unauthorized attachments.
Applications
- Depending on the cutting attachment fitted, use your power tool only for cutting grass, over‐ growth and similar materials.
- Do not use the power tool for any other purpose because of the increased risk of accidents and damage to the power tool itself. The product must not be modified in any way – this may also lead to accidents or damage to the unit.
Clothing and Equipment

- Wear proper protective clothing and equipment.
- Clothing must be sturdy but allow complete freedom of movement. Wear close-fitting clothing – a boiler‐ suit, not a loose work jacket.
- Do not wear clothing which could become trap‐ ped in wood, brush or moving parts of the machine. Do not wear a scarf, necktie or jewelry. Tie up and secure long hair above your should‐ ers.
- Wear sturdy shoes with non-slip soles.

WARNING
Transporting the Unit
Always switch off the machine and unplug it from the mains plug.
Carry the machine hanging from the shoulder strap or properly balanced by the shaft or loop handle.
Transporting by vehicle: Properly secure the machine to prevent tipping over and damage.
Before Starting Work
Check the unit
Check that your machine is in safe operating condition – refer to appropriate sections in the User Manual:
- The starting lockout lever and trigger switch must move freely – the switch must return to the idle position when it is
- Use only an approved combination of cutting attachment, deflector, handle and carrying All parts must be assembled properly and securely. To reduce the risk of injury, never use metal cutting attachments!
- Check that the cutting attachment is properly and securely mounted and in good
- Check safety devices (e.g., deflector for cut‐ ting attachments) for damage and/or Always replace damaged parts. Never operate the unit with a damaged deflector
- Keep the handles dry, clean and free from dirt, for safe control of the power tool
- Adjust handle to suit your height and
To reduce the risk of accidents and personal injury, do not operate the unit if it is not in proper condition!
- Only operate the unit if all of its components are undamaged and securely mounted.
- To reduce the risk of eye injuries, wear close-fitting safety glasses in accordance with European Standard EN 166. Make sure the safety glasses are a snug fit.
- Wear face protection and make sure it is a good fit. Face protection alone is not sufficient to pro‐ tect the eyes.
- Wear “personal” sound protection, e.g. ear defenders.
- Wear sturdy protective gloves made of a resistant material (e.g. leather).
- STIHL offers a comprehensive range of personal protective equipment.
- Never attempt to modify the controls or safety devices.
- Before switching on your power tool, make sure the cutting attachment is not touching the ground or any other object.
- Avoid contact with the cutting attach‐ ment – risk of injury!
- Note that the cutting attachment con‐ tinues to run for a short period after the power tool is switched off – fly‐ wheel effect.
Electrical connection.
Reduce the risk of electric shock:
- Voltage and frequency of the machine (see rating plate) and the voltage and frequency of your power supply must be the
- Examine the connecting cord, power plug and extension cord for Damaged cords, couplings and plugs or connecting cords that do not comply with the regulations must not be used
- Always connect the engine analyzer to a prop‐ erly installed wall
- Check that the insulation of the connection cable, extension cord, plug and coupling is in good condition.
- Never touch the power plug, power cord and extension cord, and electrical plug connec‐ tions with wet
- Any extension cords used must comply with the specifications for the particular application Position the connection cable and extension cord correctly:
- Check minimum cross section of wires (wire gauge) – see “Connecting to Power Supply”.
To reduce the risk of stumbling, position and mark the connecting cord so that it cannot be damaged or endanger
- Using unsuitable extension cords can be dan‐ Only use extension cords that are approved for outdoor use, are appropriately labeled and have a sufficient cable cross-sec‐ tion.
- The plug and coupling of the extension cord must be water-proof and must never be immersed in water.
- Do not allow cord to rub on edges or pointed or sharp objects.
- don’t trap or squeeze the cord in or under doors or windows
- If cords are twisted – unplug the power tool and straighten them out
- Never touch the rotating cutting attachment
- Always unwind the extension cord completely from the cable reel to reduce the risk of fire from
Holding and Guiding the Tool
- Always hold the tool firmly with both hands on the handles. Make sure you always have a firm and secure footing.
- Always hold the machine on the right-hand side of your body.

- Left hand on loop handle, right hand on control handle, even if you are left-handed.
While Working
- If the power cord is damaged, imme‐ diately disconnect the plug from the wall outlet to avoid the risk of electric shock.
- Avoid damage to the power supply cord. Do not drive over it, pinch or tug it.
- Never jerk the connecting cord to disconnect it from the wall outlet. To unplug, grasp the plug, not the cord.
- The power cord and power plug must never be touched with wet hands.
- Never spray water on the unit – risk of short cir‐ cuit!
- The drive motor is not waterproof. To reduce the risk of a short circuit or electrocution, never work with the power tool in the rain or in wet or very damp locations.
- Do not leave the unit outdoors in the rain.
- In case of imminent danger or in an emergency, switch off the motor immediately – release the trigger switch and starting lockout.
- Your power tool is designed to be operated by one person only. Do not allow other persons in the work area.

- There is a risk of accident from ejected objects within a wide area around the working space, so you must ensure that there is no-one within a 15 m radius of the machine. This distance must also be maintained in relation to objects (vehi‐ cles, window panes) –
risk of property damage! Even at distances beyond 15 m, the danger can‐ not be ruled out.
- Check the work site – rocks, metal objects etc. could get caught up and ejected – potentially beyond a dis‐ tance of 15 m – risk of injury! Such objects can also damage the cutting attachment and other property (e.g. parked vehicles, windows).
- Never work without protection suitable for the respective machine and cutting tool – risk of injury from ejected objects!
- Do not cut wet grass.
- Take care in slippery conditions on slopes and uneven ground.
- Keep the connecting cord behind the power tool at all times – do not walk backwards – risk of stumbling.
- Watch out for obstacles: Tree stumps, roots – risk of tripping or stumbling!
- Only work while standing on the ground, never on a ladder, work platform or other unstable sur‐ face.
- Be particularly alert and cautious when wearing hearing protection because your ability to hear warnings (shouts, alarms, etc.) is restricted.
- Take breaks when you start getting tired or feel‐ ing fatigue – risk of accidents!
- Work calmly and carefully – in daylight conditions and only when visibility is good. Proceed with caution, do not put others in danger.
- Be particularly careful when working on difficult, densely grown terrain.
- When mowing in high bushes, under shrubbery and hedges: Hold the cutting tool at a working height of at least 15 cm – to avoid risks to ani‐ mals.
- Check the cutting tool regularly at frequent inter‐ vals, and immediately if you notice a change in its behavior:
- Switch off the tool, hold it firmly and press the cutting attachment into the ground to bring it to a standstill, and disconnect the plug from the power
- Check condition and tightness of connections, look out for fine cracks
- Immediately replace defective cutting tools, also in the event of minor hairline cracks
- Clean grass and plant residue off the cutting attachment mounting at regular intervals – remove any accumulated material from the cutting attachment and
- Always switch off the tool and unplug it from the power supply before replacing the cutting attach‐ ment. Risk of injury from the motor starting unin‐ tentionally!
- Do not continue using or attempt to repair dam‐ aged or cracked cutting attachments by means of welding, straightening or modifying the shape (unbalanced).
- Particles or pieces may come off and hit the operator or a bystander at a high speed – risk of most severe injuries!
- If a rotating cutting attachment touches a rock or another hard object, sparks may be generated which may possibly ignite combustible materials. Dried-out plants and undergrowth are combusti‐ ble, especially in hot and dry weather. If there is a risk of fire, do not use cutting attachments in the vicinity of combustible materials, dried-out plants or brushwood. It is mandatory that you ask the responsible forestry office about current fire hazards.
- Only use the deflector with properly mounted blade that ensures the mowing line is restricted to the permissible length.
- To reduce the risk of injury, avoid contact with the blade.
- To reduce the risk of injury, always switch off the tool and unplug it from the power supply before manually adjusting the mowing line.
- Misuse with mowing lines that are too long reduces the working speed of the engine. This results in overheating and damage to the motor.
- To reduce the risk of injury, never use wire in place of the nylon cutting line.
- If the unit is subjected to unusual stress for which it was not designed (e.g., heavy impact or a fall), always check that it is in safe operating condition before continuing work – see also “Before Start‐ ing Work”. Make sure the safety devices are working properly. Do not continue operating your machine if it is damaged. In case of doubt, con‐ tact a dealer.
- Before leaving the machine unattended: Turn it off and disconnect the mains plug.
Vibrations
Prolonged use of the power tool may result in vibration-induced circulation problems in the hands (whitefinger disease). No general recommendation can be given for the length of usage because it depends on several factors.
The period of usage is prolonged by:
- Hand protection (wearing warm gloves)
- Work breaks
The period of usage is shortened by:
- Any personal tendency to suffer from poor cir‐ culation (symptoms: frequently cold fingers, tingling sensations).
- Low outside
- The force with which the handles are held (a tight grip restricts circulation).
Continual and regular users should monitor closely the condition of their hands and fingers. If any of the above symptoms appear (e.g. tingling sensation in fingers), seek medical advice.
Maintenance and Repairs
- Always switch off the machine and disconnect the plug from the power supply before carrying out any maintenance work to reduce the risk of injury from the motor starting unintentionally.
- Service the machine regularly. Do not attempt any maintenance or repair work not described in the instruction manual. Have all other work per‐ formed by a servicing dealer.
- STIHL recommends that you have servicing and repair work carried out exclusively by an author‐ ized STIHL servicing dealer. STIHL dealers are regularly given the opportunity to attend training courses and are supplied with the necessary technical information.
- Only use high-quality replacement parts in order to avoid the risk of accidents and damage to the machine. If you have any questions in this respect, consult a servicing dealer.
- STIHL recommends the use of genuine STIHL replacement parts. They are specifically designed to match your machine model and meet your performance requirements.
- Never attempt to modify your power tool in any way since this will increase the risk of personal injury.
- Regularly check that the insulation of the power cord and plug is in good condition and shows no sign of ageing (brittleness).
- Electrical components, e.g. power cord, may only be repaired or replaced by a qualified electrician.
- Clean plastic components with a cloth. Do not use aggressive detergents. They may damage the plastic.
- Do not spray the machine with water.
- Check tightness of mounting screws on safety devices and the cutting attachment and retighten if necessary.
- Clean cooling air inlets in motor housing as nec‐ essary.
- Store the machine is a safe and dry place.
Using the Unit
Mowing 
- Hold your trimmer with both hands – right hand on the control handle – left hand on the loop
- Stand upright – hold the unit in a relaxed posi‐ tion and always on right side of your
- Swing the trimmer steadily to the left and right like a scythe, while maintaining the required cutting
- Avoid contact with fences, walls, rocks, since it will result in a higher rate of wear.
Mowing with depth wheel
A depth wheel can be quickly fitted to the trim‐ mer (see “Mounting Depth Wheel”).
- It limits the cutting range of the mowing line
- reduces the risk of the rotating mowing line causing damage (e.g. tree bark)
Edging
The unit can be quickly converted to a power edger (see “Converting Unit to Power Edger”).
- Use the unit as shown
- Guide the mowing line along the edge of the lawn – use the depth wheel (see “Mounting Depth Wheel”) or hold the unit at the right
Disposal
Do not throw cuttings in the garbage can – they can be composted.
Approved Combinations of Cutting Attachment, Deflector, Handle and Harness

Select correct combination from the table accord‐ ing to the cutting attachment you intend to use.
WARNING
For safety reasons no other combinations are permitted – risk of accidents.
Only mowing heads (1) may be used on trim‐ mers with a curved drive tube and loop handle.
Cutting Attachments
- Mowing heads
- STIHL AutoCut C 6‑2
Deflector
- Deflector with blade, for mowing heads
Handle
- Loop handle
Harness
- Shoulder strap may be used
Mounting the Drive Tube
- Pull the protective cap off the drive
- Push the drive tube (1) into the motor hous‐ ing (2) as far as the mark (A), turning the drive tube back and forth at the same
- Tighten down the screw (3) in the housing
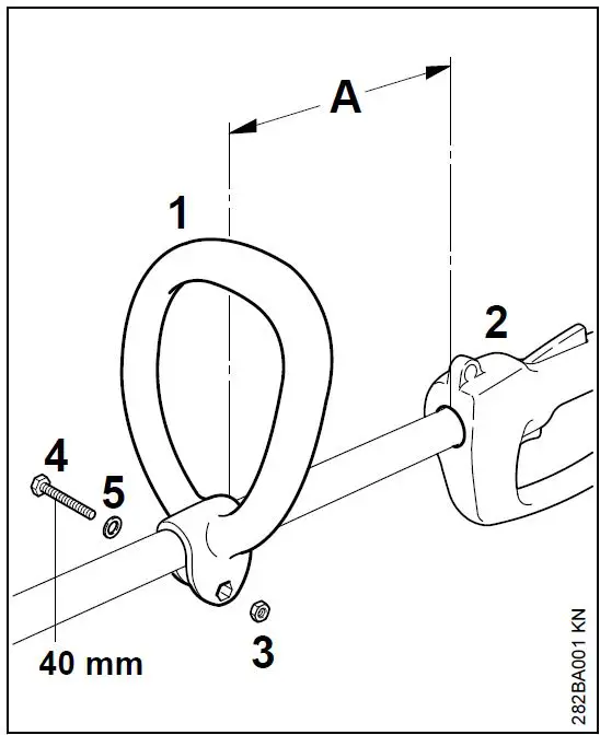
Mounting the Loop Handle
Mounting the Loop Handle
- Fit the loop handle (1) on the drive tube at a distance A of about 30 cm from the control handle (2).
- Insert the hex nut (3) in the loop handle (1).
- Squeeze the ends of the clamp together, fit the M6x40 screw (4) with washer (5) from the other side and tighten down
Adjusting Loop Handle to Most Comfortable Position
- Loosen the screw (4).
- Move the loop handle (1) along the drive tube to the required position – tighten down the screw (4) firmly.
Mounting the Deflector

- Push the deflector (1) over the clamp (2) as far as stop

- Fit the locknut (3) in the hex recess on the deflector.
- Make sure the holes line
- Insert the M6x30 screw (4) and tighten it down
Mounting the Cutting Attachment
Placing Power Tool on the Ground
- Switch off the power
- Lay your trimmer on its back with the loop handle facing down and the output shaft facing
Fitting Mowing Head without Screw Mounting
Keep the supplement sheet for the mowing head in a safe place!
STIHL AutoCut C 5-2

- Slip the mowing head (2) on to the shaft – as AutoCut□5-2.
- Turn the spool (9) clockwise until the two arrow heads line up – secure the spool in this
- Insert the cap (8) in the spool, press it down as far as stop and turn it clockwise at the same
- Turn the cap until you feel resistance and then tighten it down firmly by
STIHL AutoCut C 6-2

- Place the mowing head (2) on the shaft (3) while inserting the internal hexagon (2) on the hexagon (4)
- Hold the mowing head (2) with your
- Turn cap (1) clockwise and tighten it firmly by hand.
Removing the Mowing Head
- Hold the spool housing steady
- Unscrew the cap
Mounting Depth Wheel
The depth wheel is included in the scope of sup‐ ply or is available as a special accessory.
It limits the working range of the mowing line.
- It helps reduce the risk of the rotating mowing line causing damage (e.g. tree bark).
- It maintains the correct ground clearance when edeging.

The depth wheel (1) can be locked in three differ‐ ent positions (A, B or C) on the support (2). This allows the reach of the mowing line to be varied.
- Working range of mowing line extends beyond the outside diameter of the depth wheel, g. for lawn edging.
- Working range of mowing line extends up to outside diameter of depth
- Working range of mowing line does not reach as far as outside diameter of depth wheel, e.g. for mowing around trees.
Mounting Depth Wheel on Sup-port
- Push the depth wheel (1) into the required position on the support (2) until the locking hooks (3) engage.
- Squeeze the locking hooks (3) together to release the depth wheel (1) from the support (2).
Fitting Depth Wheel on Deflector

- Push the depth wheel (1) with support on to the deflector (4).

- Secure the depth wheel (1) on the deflec‐ tor’s (4) hook (6) with the locking tab (5).
The depth wheel (1) can be released from the hook (6) and pulled off the deflector (4) by raising the locking tab (5) slightly.
Converting Unit to Power Edger

- Loosen the screw (1).
- Rotate the loop handle (2) 180°.
- Tighten down the screw (1)

- The trimmer can now be turned through 180° and used as a power edger (see “Applications”).
Connecting to Power Supply
- The voltage and frequency of the machine (see rating plate) must match the voltage and fre‐ quency of the power connection.
- The minimum fuse protection of the power con‐ nection must comply with the specifications – see “Specifications”.
- The machine must be connected to the power supply via an earth-leakage circuit breaker to dis‐ connect the power supply if the differential cur‐ rent to earth exceeds 30 mA.
- The power connection must correspond to IEC 60364 and relevant national regulations.
Extension cord
The design of the extension cord must at least fulfill the same features as the connecting cord on the machine. Observe the design marking (type designation) on the connecting cord.
The cores in the cord must have the following minimum cross-section depending on the mains voltage and cord length.
Cord length Minimum cross-section 220 V – 240 V:
- Up to 20 m 1.5 mm2
- 20 m to 50 m 2.5 mm2
- 100 V – 127 V:
- Up to 10 m AWG 14 / 2.0 mm2
- 10 m to 30 m AWG 12 / 3.5 mm2

Insert the plug (1) into the extension cord cou‐ pling (2)
Strain relief clamp, strain relief flap (supports extension cord and reduces the likelihood of disconnection of extension cord receptacles and trimmer plug)
The strain relief (cable retainer) protects the con‐ necting cable from damage.
- make a loop (3) in the extension cord
- Pass the loop (3) through the opening (4)
- Slip the loop (3) over the hook (5) and pull it tight
- Plug the extension cord into a properly instal‐ led outlet
Fitting the Harness
A shoulder strap is available as a special acces‐ sory.
Wear the shoulder strap over your left shoulder and adjust its length so that the spring hook lies against your right hip.
The open side of the hook should face away from your body. Attach the spring hook to the carrying ring (see “Main Parts”).
Switching On
- make sure you have a firm and secure stance
- Hold your trimmer with both hands – right hand on the control handle – left hand on the loop
- Stand upright – hold the unit in a relaxed posi‐ tion and always on right side of your
- The cutting attachment must not touch any objects or the ground
- Press down the starting lockout lever (1) and hold it in that
- Squeeze the trigger switch (2).
Switching Off
- Release the trigger switch and starting lockout
- Do not switch on the unit during this period because you will otherwise prolong the required cooling time.
- Once the motor starts:
- Run the unit for about 15 seconds off This helps cool the motor windings and con‐ siderably delays renewed tripping of the over‐ load cutout.
Storing the Machine
If not used for periods of about 30 days or longer
- Thoroughly clean the machine, especially the ventilation slots
- Take out the spool with mowing lines and engage the ends of the lines in the spool’s Clean and inspect the spool.
The resilience and service life of the mowing line can be increased by storing it in a container filled with water.
- Store the machine in a dry and secure loca‐ Keep out of the reach of children and other unauthorized persons
Placing Power Tool on the Ground
- Note that the cutting attachment continues to run for a short period after you let go of the throttle trigger and starting lockout lever – flywheel effect.
- During longer work breaks – disconnect the plug from the power supply.
- When the machine is not in use, shut it off so that it does not endanger others.
- Secure it against unauthorized use.
Overload Cutout
- STIHL FSE 71 and FSE 81 electric trimmers are equipped with an overload cutout.
- The overload cut out cuts off the power supply in case of mechanical or thermal overload.
- If the overload cutout has cut off the power sup‐ ply:
- Wait about 3 minutes before switching on
- Do not switch on the unit during this period because you will otherwise prolong the required cooling time. Once the motor starts:
- Run the unit for about 15 seconds off load. This helps cool the motor windings and considerably delays renewed tripping of the overload cutout
Storing the Machine
- If not used for periods of about 30 days or longer
- Thoroughly clean the machine, especially the ventilation slots
- Take out the spool with mowing lines and engage the ends of the lines in the spool’s notches. Clean and inspect the spool. The resilience and service life of the mowing line can be increased by storing it in a container filled with water.
- Store the machine in a dry and secure location. Keep out of the reach of children and other unauthorized persons
Maintaining the Mowing Head
Placing Power Tool on the Ground

- Switch off the power tool.
- Lay your trimmer on its back with the loop handle facing down and the output shaft facing up.
Re-Adjusting the Mowing Line

- hold the rotating mowing head above the ground – tap it on the ground once – about 3 cm fresh line is
- The blade (1) on the deflector (2) trims surplus mowing line to the correct length – avoid tap‐ ping the mowing head more than once at a time!
- Line feed operates only if both lines still have a minimum length of 2.5 cm.
- If the line is shorter than 2.5 cm:
WARNING
To reduce the risk of injury, always shut off the engine before adjusting the nylon mowing line by hand.
- Lay your trimmer on its back, make sure it is secure.
- Press down the cap on the spool as far as stop.
- Pull the ends of the lines out of the
If the spool is empty, refill with mowing line
Replacing the Mowing Line
Always check the mowing head for wear before replacing the mowing line.
WARNING
If signs of heavy wear are visible, the mowing head must be completely replaced.
The mowing line is referred to as ‘line’ in the fol‐ lowing.
An illustrated guide to replacing lines is supplied with the mowing head. So keep the instructions for the mowing head in a safe place.
- Remove the mowing head if necessary
Maintenance and Care
| The following intervals apply to normal operating conditions only. If your daily working time is longer or operating conditions are difficult (very dusty work area, etc.), shorten the specified intervals accordingly. | before starting work | after finishing work or daily | weekly | monthly | if problem | if damaged | if required | |
| Complete machine | Visual inspection (condition) | X | ||||||
| Clean | X | |||||||
| Power cord | Check | X | ||||||
| Have replaced by dealer1) | X | |||||||
| Switch, starting lockout | Check operation | X | ||||||
| Have replaced by dealer1) | X | X | ||||||
| Cooling inlets | Clean | X | ||||||
| All accessible screws and nuts | Retighten | X | ||||||
| The following intervals apply to normal operating conditions only. If your daily working time is longer or operating conditions are difficult (very dusty work area, etc.), shorten the specified intervals accordingly. | before starting work | after finishing work or daily | weekly | monthly | if problem | if damaged | if required | |
| Cutting attachment (mowing head) | Visual Inspection | X | ||||||
| Replace | X | |||||||
| Check tightness | X | |||||||
| Safety labels | Replace | X | ||||||
Minimize Wear and Avoid Damage
Observing the instructions in this manual helps reduce the risk of unnecessary wear and dam‐ age to the power tool.
The power tool must be operated, maintained and stored with the due care and attention described in this instruction manual.
The user is responsible for all damage caused by non-observance of the safety precautions, oper‐ ating and maintenance instructions in this man‐ ual. This includes in particular:
- Alterations or modifications to the product not approved by STIHL.
- Using tools or accessories which are neither approved or suitable for the product or are of a poor
- Using the product for purposes for which it was not designed.
- Using the product for sports or competitive
- Consequential damage caused by continuing to use the product with defective
Maintenance Work
All the operations described in the “Maintenance Chart” must be performed on a regular basis. If these maintenance operations cannot be per‐ formed by the owner, they should be performed by a servicing dealer.
STIHL recommends that you have servicing and repair work carried out exclusively by an author‐ ized STIHL servicing dealer. STIHL dealers are regularly given the opportunity to attend training courses and are supplied with the necessary technical information.
If these maintenance operations are not carried out as specified, the user assumes responsibility for any damage that may occur. Among other things, this includes:
- Damage to the motor due to neglect or defi‐ cient maintenance (e.g. not cleaning cooling air inlets).
- Damage due to incorrect electrical connection (voltage, inadequately rated connecting cords).
- Corrosion and other consequential damage resulting from improper
- Damage to the product resulting from the use of poor quality replacement
Parts Subject to Wear and Tear
Some parts of the power tool are subject to nor‐ mal wear and tear even during regular operation in accordance with instructions and, depending on the type and duration of use, have to be replaced in good time. Among other parts, this includes:
- Cutting attachment
- Deflector
- Carbon brushes
Main Parts

- Power cord
- Angle screwdriver
- Cooling inlets
- Switch
- Starting lockout lever
- Carrying ring
- Loop handle
- Drive tube
- Mowing head
- Line limiter blade
- Deflector
- Depth wheel (included as standard equipment or available as special accessory)
- Strain relief (cord retainer) # Serial number
Specifications
Engine
FSE 60
- Rated voltage: 230 V
- Frequency: 50 Hz
- Rated current: 2.3 A
- Power: 540 W
- Rated speed at mowing line diameter of 350 mm: 7400 rpm
- Protect with a fuse min. 10 A
- Protection class: II, E
FSE 71
- Rated voltage: 230 V1)
- Frequency: 50 Hz
- Rated current: 2.3 A
- Power: 540 W
- Rated speed at mowing line diameter of 350 mm: 7400 rpm
- Protect with a fuse min. 10 A
- Protection class: II, E
FSE 81
- Rated voltage: 230 V
- Frequency: 50 Hz
- Rated current: 4.3 A
- Power: 1000 W
Rated speed at mowing line diameter of 350 mm:
- 7400 rpm
- Protect with a fuse min. 10 A
- Protection class: II, E
Length
- FSE 60: 1530 mm
- FSE 71: 1530 mm
- FSE 81: 1530 mm
Weight
- complete with cutting attachment and deflector FSE 60: 3.9 kg
- FSE 602): 4.5 kg
- FSE 71: 4.0 kg
- FSE 712): 4.6 kg
- FSE 81: 4.7 kg
- FSE 812): 5.3 kg
Noise and Vibration Data
- Noise and vibration data are determined on the basis of the rated maximum speed.
- For further details on compliance with Vibration Directive 2002/44/EC see
- www.stihl.com/vib
Sound pressure level Lp to EN 62841-4-4
- FSE 60: 83 dB(A)
- FSE 71: 82 dB(A)
- FSE 81: 83 dB(A)
Sound power level Lw to EN 62841-4-4
- FSE 60: 94 dB(A)
- FSE 71: 93 dB(A)
- FSE 81: 93 dB(A)
Vibration level ahv to EN 62841-4-4
- Handle, left Handle, right
- FSE 60: 3.9 m/s2 3.6 m/s2
- FSE 71: 3.3 m/s2 2.9 m/s2
- FSE 81: 2.9 m/s2 2.2 m/s2
The K‑factor in accordance with Directive 2006/42/EC is 2.0 dB(A) for the sound pressure level and sound power level; the K‑factor in accordance with Directive 2006/42/EC is 2.0 m/s2 for the vibration level.
REACH
REACH is an EC regulation and stands for the Registration, Evaluation, Authorization and Restriction of Chemical substances.
For information on compliance with the REACH regulation (EC) No. 1907/2006 see
Maintenance and Repairs
Users of this machine may only carry out the maintenance and service work described in this user manual. All other repairs must be carried out by a servicing dealer. STIHL recommends that you have servicing and repair work carried out exclusively by an authorized STIHL servicing dealer. STIHL dealers are regularly given the opportunity to attend training courses and are supplied with the necessary technical information When repairing the machine, only use replace‐ ment parts which have been approved by STIHL for this power tool or are technically identical. Only use high-quality replacement parts in order to avoid the risk of accidents and damage to the machine. STIHL recommends the use of original STIHL replacement parts. Original STIHL parts can be identified by the STIHL part number, the { logo and the STIHL parts symbol K (the symbol may appear alone on small parts).
Disposal

Contact the local authorities or your STIHL serv‐ icing dealer for information on disposal.
Improper disposal can be harmful to health and pollute the environment
- Take STIHL products including packaging to a suitable collection point for recycling in accord‐ ance with local
- Do not dispose with domestic
EC Declaration of Conformity
ANDREAS STIHL AG & Co. KG
Badstr. 115
D-71336 Waiblingen
Germany
declares under our sole responsibility that Designation: Electric trimmer
Make: STIHL
Series: FSE 60 FSE 71
Serial identification number: FSE 81, 4809
conforms to the relevant provisions of Directives
- 2011/65/EU, 2006/42/EC, 2014/30/EU and
- 2000/14/EC and has been developed and manu‐ factured in compliance with the following stand‐ ards in the versions valid on the date of produc‐ tion:
- EN 55014‑1, EN 55014‑2, EN 62841-1,
- EN 62841-4-4, EN 61000‑3‑2, EN 61000‑3‑3
The measured and guaranteed sound power level was determined according to Directive 2000/14/EC, Annex VIII, using the ISO 11094 standard. Notified body involved: VDE Prüf- und Zertifizierungsinstitut Merianstrasse 28 63069 Offenbach
Measured sound power level
- FSE 60: 94 db(A)
- FSE 71: 93 db(A)
- FSE 81: 93 db(A)
Guaranteed sound power level
- FSE 60: 96 db(A)
- FSE 71: 95 db(A)
- FSE 81: 95 db(A)
Technical documents deposited at: ANDREAS STIHL AG & Co. KG Produktzulassung
The year of construction, the country of manufac‐ ture and the machine number are shown on the machine.
Done at Waiblingen, 01.08.2022 ANDREAS STIHL AG & Co. KG
Robert Olma, Vice President, Regulatory Affairs & Global Governmental Relations
General Power Tool Safety Warnings
Introduction
This chapter reproduces the pre-formulated, gen‐ eral safety precautions specified in the IEC 62841 standard for hand-held motor-oper‐ ated electric tools. STIHL is obliged to publish these texts.
The safety precautions and warnings on avoiding an electric shock given under “Electrical Safety” do not apply to STIHL cordless products.
- Read all safety warnings, instructions, illustra‐ tions and specifications provided with this power tool. Failure to follow all instructions lis‐ ted below may result in electric shock, fire and/or serious Save all warnings and instructions for future reference.
The term “electric power tool” in the safety warn‐ ings refers to mains-operated (corded) power tools or battery-operated (cordless) power tools.
Work area safety
- Keep work area clean and well Cluttered or dark areas invite accidents.
- Do not operate power tools in explosive atmospheres, such as in the presence of flammable liquids, gases or Power tools create sparks which may ignite the dust or fumes.
- Keep children and bystanders away while operating a power Distractions can cause you to lose control.
Electrical safety
- Power tool plugs must match the outlet. Never modify the plug in any way. Do not use any adapter plugs with earthed (groun‐ ded) power Unmodified plugs and matching outlets will reduce risk of electric shock.
- Avoid body contact with earthed or grounded surfaces, such as pipes, radiators, ranges and refrigerators. There is an increased risk of electric shock if your body is earthed or
- Do not expose power tools to rain or wet Water entering a power tool will increase the risk of electric shock.
- Do not abuse the Never use the cord for carrying, pulling or unplugging the power tool. Keep cord away from heat, oil, sharp edges or moving parts. Damaged or entan‐ gled cords increase the risk of electric shock.
- When operating a power tool outdoors, use an extension cord suitable for outdoor use. Use of a cord suitable for outdoor use reduces the risk of electric shock.
- If operating a power tool in a damp location is unavoidable, use a residual current device (RCD) protected Use of an RCD reduces the risk of electric shock.
Personal safety
- Stay alert, watch what you are doing and use common sense when operating a power Do not use a power tool while you are tired or under the influence of drugs, alcohol or medication. A moment of inattention while operating power tools may result in serious personal injury.
- Use personal protective Always wear eye protection. Protective equipment such as a dust mask, non-skid safety shoes, hard hat or hearing protection used for appropriate conditions will reduce personal injuries.
- Prevent unintentional starting. Ensure the switch is in the off-position before connecting to power source and/or battery pack, picking up or carrying the Carrying power tools with your finger on the switch or energising power tools that have the switch on invites accidents.
- Remove any adjusting key or wrench before turning the power tool on. A wrench or a key left attached to a rotating part of the power tool may result in personal
- Do not overreach. Keep proper footing and balance at all This enables better con‐ trol of the power tool in unexpected situa‐ tions.
- Dress properly. Do not wear loose clothing or Keep your hair and clothing away from moving parts. Loose clothes, jewellery or long hair can be caught in moving parts.
- If devices are provided for the connection of dust extraction and collection facillities, ensure these are connected and properly Use of dust collection can reduce dust- related hazards.
- Do not let familiarity gained from frequent use of tools allow you to become complacent and ignore tool safety principles. A careless action can cause severe injury within a frac‐ tion of a second.
Power tool use and care
- Do not force the power tool. Use the correct power tool for your The correct power tool will do the job better and safer at the rate for which it was designed.
- Do not use the power tool if the switch does not turn it on and Any power tool that cannot be controlled with the switch is dan‐ gerous and must be repaired.
- Disconnect the plug from the power source and/or remove the battery pack, if detacha‐ ble, from the power tool before making any
adjustments, changing accessories, or stor‐ ing power tools. Such preventive safety measures reduce the risk of starting the power tool accidentally.
- Store idle power tools out of the reach of children and do not allow persons unfamiliar with the power tool or these instructions to operate the power Power tools are dan‐ gerous in the hands of untrained users.
- Maintain power tools and Check for misalignment or binding of moving parts, breakage of parts and any other condi‐ tion that may affect the power tool’s opera‐ tion. If damaged, have the power tool repaired before use. Many accidents are caused by poorly maintained power tools.
- Keep cutting tools sharp and Properly maintained cutting tools with sharp cutting edges are less likely to bind and are easier to control.
- Use the power tool, accessories and tool bits etc. in accordance with these instructions, taking into account the working conditions and the work to be Use of the power tool for operations different from those intended could result in a hazardous situa‐ tion.
- Keep handles and grasping surfaces dry, clean and free from oil and Slippery handles and grasping surfaces do not allow for safe handling and control of the tool in unexpected situations.
Service
- a) Have your power tool serviced by a qualified repair person using only identical replace‐ ment This will ensure that the safety of the power tool is maintained.
Grass Trimmer/Lawn Edge Trimmer Safety Warnings
- Do not use your machine in bad weather, especially during thunderstorms. This will reduce the risk of being struck by
- Thoroughly check the work area for wild ani‐ Wild animals may be injured by the machine when it is running.
- Thoroughly search the work area and remove all stones, sticks, wires, bones and other foreign Ejected parts may cause injuries.
- Always check that the cutting tool and the cutting unit are not damaged before Damaged parts increase the risk of injury.
- Check the power cable and any extension cables for signs of damage or aging before use. If the power cable is damaged or worn during use, turn off the machine and do not touch the cable before you have disconnec‐ ted the mains plug. A damaged power or extension cable may result in an electric shock, fire and/or serious injury
- Always keep the protective covers in their proper place. Protective covers must always be ready for use and properly A protective cover that is loose, damaged or not functioning properly may result in injury.
- Keep air inlet openings free from debris. Blocked air inlets and debris may cause overheating or pose a fire
- Wear eye protection and ear Wearing suitable personal protective equipment will reduce the risk of injury.
- Always wear non-slip, protective shoes when operating the machine. Never work barefoot or with open This will reduce the risk of a foot injury due to contact with the rotating cutting element.
- When operating the machine, always wear clothing that covers your legs, such as pants. Contact with the rotating cutting element or lines may cause
- Keep bystanders away from the area where the machine is Ejected parts may cause serious injuries.
- Do not operate the machine higher than waist level. This will avoid unintended con‐ tact with the cutting element and will enable better control of the machine in unexpected
- Walk when you operate the machine, never run. You will thereby reduce the risk of slip‐ ping or falling, which may result in injury.
- When working on slopes, always make sure you have a firm footing; always work across the slope, never up or down and always be
- Do not operate the machine in wet or bushes and may accidentally be damaged or nicked by the cutting element.
- Keep all parts of your body away from the rotating cutting element or cutting Never remove any material from the machine unless you have disconnected the machine from the power supply. The rotating cutting element or the cutting lines may result in serious injuries.
- When carrying the machine, always make sure that it is turned off and turned away from your Proper handling of the machine will reduce the likelihood of acci‐ dental contact with the rotating cutting ele‐ ment or cutting lines.
- Only use replacement cutting heads as well as plastic cutting lines and elements accord‐ ing to the manufacturer’s specifications. Wrong spare parts may result in loss of con‐ trol, breakage or injuries.
- Do not replace the plastic lines or blades with metal wires or Use of the machine with cutting elements that are not recommended may result in injuries.
References
Country Routing Page: Welcome to STIHL | STIHL
REACH Regulation: Available in different languages | STIHL | STIHL
Information on Physical Agents Directive Vibration | STIHL | STIHL
Country Routing Page: Welcome to STIHL | STIHL
REACH Regulation: Available in different languages | STIHL | STIHL
Information on Physical Agents Directive Vibration | STIHL | STIHL
























