FSA 57
Cordless Grass Trimmer
Instruction Manual
![]()
Introduction
Dear Customer,
Thank you for choosing STIHL. We develop and manufacture our quality products to meet our customers’ requirements. The products are designed for reliability even under extreme conditions.
STIHL also stands for premium service quality. Our dealers guarantee competent advice and instruction as well as comprehensive service support.
STIHL expressly commit themselves to a sustainable and responsible handling of natural resources. This user manual is intended to help you use your STIHL product safely and in an environmentally friendly manner over a long service life.
We thank you for your confidence in us and hope you will enjoy working with your STIHL product.
Dr. Nikolas Stihl
IMPORTANT! READ BEFORE USING AND KEEP IN A SAFE PLACE FOR REFERENCE.
Guide to Using this Manual
2.1 Applicable Documentation
Local safety regulations apply.
► Read, understand and save the following documents in addition to this instruction manual:
– Instruction manual and packaging of the cutting attachment you are using
– Safety notices and precautions for STIHL AK battery.
– Safety information for STIHL batteries and products with built-in batteries: www.stihl.com/safety-data-sheets
2.2 Symbols used with warnings in the text
WARNING
■ This symbol indicates dangers that can cause serious injuries or death.
► The measures indicated can avoid serious injuries or death.
NOTICE
■ This symbol indicates dangers that can cause damage to property.
► The measures indicated can avoid damage to property.
2.3 Symbols in Text
This symbol refers to a chapter in this instruction manual.
Overview
3.1 Trimmer, Battery and Charger

- Battery Compartment
Accommodates the battery. - Locking Lever
Secures the battery in the battery compartment. - Control Handle
For operating, holding and controlling the trimmer. - Trigger
The trigger switches the motor on and off. - Trigger Lockout
Unlocks the trigger. - Release Slide
Operated together with the trigger lockout to unlock the trigger. - Lock Button
Locks the shaft at the required length. - Star Knob Nut
Secures loop handle to shaft. - Loop Handle
For holding and controlling the trimmer. - Shaft
Connects all components. - Bump Guard
Helps protect objects from contact with the cutting attachment. - LED
The LED indicates the operating status of the charger. - Appliance Plug
Connects cable to wall outlet. - Connecting Cable
Connects charger to appliance plug. - Charger
Charges the battery. - Battery
Supplies power to the trimmer. - LEDs
Indicate battery’s state of charge and malfunctions. - Button
Activates the LEDs on the battery.
# Rating Label with Serial Number
3.2 Deflector and Cutting Attachments

- Line Limiting Blade
Trims nylon lines to correct length. - Mowing Head
Holds the nylon lines. - Fan wheel
Cools the electric motor. - Deflector
Protects user from flying debris and contact with the cutting attachment.
3.3 Symbols
Meanings of symbols that may be on the trimmer, battery and charger:
| This symbol indicates in what direction the release slide has to be pushed. | |
| This symbol shows the rated speed of the cutting attachment. | |
| 1 LED glows red. Battery too hot or too cold. | |
| 4 LEDs flash red. There is a malfunction in the battery. | |
| LED glows green and LEDs on battery glow or flash green. Battery is being charged. | |
| LED flashes red. No electrical contact between battery and charger or malfunction in battery or charger. | |
| Guaranteed sound power level according to directive 2000/14/EC in dB(A) in order to make sound emissions of products comparable. | |
| The data next to this symbol indicates the energy content of the battery according to the cell manufacturer’s specification. The energy content available during operation is lower. | |
![]() | Operate the electric product in a dry place, indoors only. |
![]() | Do not dispose of the product with your household waste. |
Safety Precautions
4.1 Warning Signs
4.1.1 Warning symbols
Meanings of warning signs and labels on the brush cutter, battery and charger:
![]() | Observe safety warnings and take the necessary precautions. |
![]() | Read and understand the User Manual and keep it in a safe place. |
![]() | Wear protective glasses. |
| Observe the safety advice concerning flying objects and associated measures. | |
| Remove the battery during work interruptions, transport, storage, maintenance or repair. | |
| Protect brush cutter and charger from rain and dampness. | |
| Maintain a safe distance. | |
| Protect battery against heat and fire. | |
| Protect the battery from rain and moisture and do not immerse it in liquids. |
4.2 Intended use
The STIHL FSA 57 brush cutter is designed for mowing grass.
Never use the brush cutter in the rain.
The STIHL AK battery feeds the brush cutter with power.
The STIHL AL 101 charger is used to charge the STIHL AK battery.
WARNING
■ There is a risk that batteries and chargers that are not explicitly approved by STIHL for the brush cutter can cause fire or explosion. Persons may be seriously or fatally injured, and property may be damaged.
► Use the brush cutter with a STIHL AK battery.
►Recharge the STIHL AK battery with a STIHL AL 101, AL 301 or AL 500 charger.
■ Using brush cutter, battery or charger for purposes for which they were not designed can cause material damage and serious or fatal injuries.
► Use the brush cutter, battery and charger as specified in this User Manual.
4.3 The Operator
WARNING
■ Users without adequate training or instruction cannot recognize or assess the risks involved in using the trimmer, battery and charger. The user or other persons may sustain serious or fatal injuries.
► Read, understand and save the instruction manual.
► If you pass the trimmer, battery and charger on to another person: Always give them the instruction manual.
► Make sure the user meets the following requirements:
– The user must be rested.
– The user must be in good physical condition and mental health to operate and work with the trimmer, battery and charger. If the user’s physical, sensory or mental ability is restricted, he or she may work only under the supervision of or as instructed by a responsible person.
– The user is able to recognize and assess the risks involved in using the trimmer, battery and charger.
– The user must be of legal age or is being trained in a trade under supervision in accordance with national rules and regulations.
– The user has received instruction from a STIHL servicing dealer or other experienced user before working with the trimmer for the first time.
– The user must not be under the influence of alcohol, medication or drugs.
► If you have any queries: Contact a STIHL servicing dealer for assistance.
4.4 Clothing and equipment
WARNING
■ Objects can be thrown at high speed during operation. This may result in injury to the user.
► Wear close-fitting safety glasses. Suitable safety glasses are tested in accordance with EN 166 or national regulations and available commercially with the corresponding marking.
► Wear face protection.
► Wear long trousers made from resistant material.
■ Dust can be whipped up during operation.
Whipped up dust can damage the respiratory passages and cause allergic reactions.
► If dust is generated: Wear a dust respirator mask.
■ Inappropriate clothing can snag on wood, brush or the brush cutter. Users not wearing suitable clothing are at risk of serious injury.
► Wear close-fitting clothing.
► Remove scarves and jewelry.
■ The user may come into contact with the rotating cutting attachment during operation. This may result in serious injury to the user.
► Wear robust footwear.
► Wear long trousers made from resistant material.
■ There is a risk of the user coming into contact with the cutting attachment or the line limiting blade during cleaning and maintenance work and when the cutting attachment is mounted or removed. This may result in injury to the user.
► Wear work gloves made from resistant material.
■ Wearing unsuitable footwear may cause the user to slip. This may result in injury to the user.
► Wear sturdy, closed-toed footwear with high-grip soles.
4.5 Work Area and Surroundings
4.5.1 Brush cutter
WARNING
■ Bystanders, children and animals are not aware of the dangers of the brush cutter and objects being thrown into the air and cannot assess them. Bystanders, children and animals may be seriously injured and property may be damaged.
► Keep bystanders, children and animals at a distance of 15 m from the working area.
► Maintain a distance of 15 m from objects.
► Do not leave the brush cutter unattended.
► Ensure that children cannot play with the brush cutter.
■ The brush cutter is not waterproof. If you work in the rain or in a damp environment, an electric shock may occur. The user may be injured and the brush cutter may be damaged.
► Do not work in the rain or in a damp environment.
■ Electrical components of the brush cutter can produce sparks. Sparks can cause fires and explosions in a flammable or explosive environment. This can result in serious injuries or death and damage to property.
► Do not work in a flammable environment or in an explosive environment.
■ Bystanders, children and animals cannot recognize or assess the dangers of the battery.
Bystanders, children and animals may be seriously injured.
► Keep bystanders, children and animals away from the work area.
► Do not leave the battery unattended.
► Make sure that children cannot play with the battery.
■ The battery is not protected against all ambient conditions. If the battery is exposed to certain ambient conditions, the battery may catch fire, explode or be irreparably damaged. This may result in serious injury to people and damage to property.
► Protect battery from heat and fire.
► Do not throw the battery into a fire.
► Do not charge, use and store the battery outside of the specified temperature limits,
20.5.
► Protect the battery from rain and moisture and do not immerse it in liquids.
► Keep battery away from small metal parts.
► Do not expose the battery to high pressure.
► Do not expose the battery to microwaves.
► Protect the battery from chemicals and salts.
4.5.3 Charger
WARNING
■ Bystanders and children are not aware of and cannot assess the dangers of a charger or electric current. Bystanders, children and animals may be seriously or fatally injured.
► Keep bystanders, children and animals away from the work area.
►Make sure that children cannot play with the charger.
■ The charger is not waterproof. If you work in the rain or in a damp environment, an electric shock may occur. The user may be injured and the charger may be damaged.
► Do not operate it in the rain or in a damp environment.
■ The charger is not protected against all ambient conditions. If the charger is exposed to certain ambient conditions, it may catch fire or explode. This may result in serious injury to people and damage to property.
► Operate the charger in an enclosed, dry room.
► Do not operate the charger in a flammable environment or in an explosive environment.
► Do not operate the charger on a readily combustible surface.
► Do not use and store the charger outside of the specified temperature limits,
20.5.
■ The connecting cable is a trip hazard. People may be injured and the charger may be damaged.
► Lay the connecting cable flat on the floor.
4.6 Safe Condition
4.6.1 Brush cutter
The brush cutter is in a safe condition if the following points are observed:
– The brush cutter is not damaged.
– The brush cutter is clean and dry.
– The controls function properly and have not been modified.
– A combination of cutting attachment and deflector recommended in this user manual is mounted.
– The cutting attachment and deflector are properly mounted.
– Genuine STIHL accessories for this brush cutter are fitted.
– The accessories are correctly attached.
WARNING
■ If not in safe condition, components may no longer operate correctly and safety devices may be disabled. This may result in serous or fatal injury to people.
► Work only with an undamaged brush cutter.
► If the brush cutter is dirty or wet: Clean the brush cutter and allow it to dry.
► Never attempt to modify your brush cutter.
Exception: Mounting one of the combinations of cutting attachment and deflector recommended in this user manual.
► If the controls do not function properly: Do not use your brush cutter.
► Never mount metal cutting attachments.
► Fit genuine STIHL accessories for this brush cutter.
► Mount the cutting attachment and deflector as described in this user manual.
► Attach accessories as described in this User Manual or in the User Manual for the accessories.
► Never insert objects in the openings of the brush cutter.
► Replace worn or damaged labels.
► If you have any doubts, be sure to consult a STIHL dealer.
4.6.2 Deflector
The deflector is in a safe condition if the following points are observed:
– The deflector is not damaged.
– The line limiter blade is correctly installed.
WARNING
■ If the product does not comply with safety requirements, components will no longer function properly or safety devices may be rendered inoperative. This can result in serious injuries.
► Work only with an undamaged deflector.
► Work with a correctly installed line limiter blade.
► If you have any queries: Contact your STIHL servicing dealer.
4.6.3 Mowing Head
The mowing head is in a safe condition if the following points are observed:
– The mowing head is not damaged.
– The mowing head is not jammed.
– The mowing lines are properly installed.
– If a Polycot mowing head with polymer blades is used:
– The polymer blades are free of damage and tears.
– The polymer blades are properly mounted.
– The wear limits are not exceeded.
WARNING
■ If they are in an unsafe condition, parts of the mowing head, mowing lines or polymer blades may come off and be ejected at high speed.
They may cause serious injury to persons.
► Work only with an undamaged mowing head.
► If a PolyCut mowing head with polymer blades is used: Never work with damaged polymer blades.
► Never use metal objects in place of the nylon mowing lines or polymer blades.
► Observe and remain inside the wear limits.
► If you have any doubts, be sure to consult a STIHL dealer.
4.6.4 Battery
The battery is in a safe condition if the following points are observed:
– Battery is undamaged.
– The battery is clean and dry.
– Battery functions properly and has not been modified.
WARNING
■ A battery that is not in a safe condition cannot operate safely. Persons may be seriously injured.
► Never work with a damaged battery.
► Never attempt to charge a damaged or defective battery.
► If the battery is dirty: Clean the battery.
► If the battery is wet or damp: Allow the battery to dry,
20.6.
► Never attempt to modify the battery.
► Never insert objects in the battery’s openings.
► Never bridge the battery’s contacts with metallic objects (short circuit).
► Do not open the battery.
► Replace worn or damaged labels.
■ Fluid may leak from a damaged battery. If that liquid comes into contact with the skin or eyes, the skin or eyes may be irritated.
► Avoid contact with the liquid.
► If skin contact occurs: Wash affected areas of skin with plenty of water and soap.
► In the event of contact with eyes: Rinse eyes with plenty of water for at least 15 minutes and consult a doctor.
■ A damaged or defective battery may smell unusual, emit smoke or burn. Persons may be seriously or fatally injured, and property may be damaged.
► If the battery smells unusual or emits smoke: do not use the battery and keep it away from combustible substances.
► If the battery catches fire: Attempt to extinguish the battery with a fire extinguisher or water.
4.6.5 Charger
The charger is in a safe condition if the following points are observed:
– Charger is undamaged.
– Charger is clean and dry.
WARNING
■ If components do not comply with safety requirements, they will no longer function properly and safety devices may be rendered inoperative. This can result in serious or fatal injuries.
► Do not use a damaged charger.
► If the charger is dirty or wet: Clean the charger and allow it to dry.
► Never attempt to modify the charger.
► Never insert objects in the charger’s openings.
► Never bridge the charger’s contacts with metallic objects (short circuit).
► Do not open the charger.
4.7 Working
WARNING
■ In certain situations, the user may no longer be able to concentrate on their work. This may result in the user stumbling, falling and suffering serious injury.
► Work carefully and calmly.
► If light and visibility are poor: Do not use your trimmer.
► Operate the trimmer alone.
► Keep the cutting attachment close to the ground.
► Watch out for obstacles.
► Work standing on the ground and keep your balance.
► If you feel tired, take a break.
■ The rotating cutting attachment can cut the user. This may result in serious injury to the user.
► Do not touch the rotating cutting attachment.
► If the cutting attachment is blocked by an object: Switch off the brush cutter and remove the battery. Only then should you remove the object.
■ If the behavior of the trimmer changes during operation or feels unusual, it may no longer be in a safe condition. There is a risk of serious injury to people and damage to property.
► Stop working, remove the battery and consult a STIHL dealer.
■ Vibrations may occur during brush cutter operation.
► Wear gloves.
► Take breaks.
► If signs of a circulatory disturbance occur: Consult a doctor.
■ If the cutting attachment makes contact with a foreign object during operation, the object or parts of it may be thrown at high speed. Persons may be injured or property damaged.
► Remove foreign objects from the working area.
■ If the rotating cutting attachment makes contact with a hard object, sparks may occur and the cutting attachment can be damaged.
Sparks can cause fires in a flammable environment. Persons may be seriously or fatally injured and property may be damaged.
► Do not use the tool in a flammable environment.
► Make sure the cutting attachment is in a safe condition.
■ Note that the cutting attachment continues to rotate for a short period after you release the trigger. There is a risk of serious injury to persons.
► Wait until the cutting attachment comes to a complete stop.
4.8 Charging
WARNING
■ A damaged or defective charger may produce an unusual smell or emit smoke during the charging process. This may result in personal injuries and damage to property.
► Disconnect the plug from the wall outlet.
■ The charger can overheat and cause a fire if heat dissipation is inadequate. This can result in serious or fatal injuries and damage to property.
► Do not cover the charger.
4.9 Connecting to the power supply
Contact with live components may occur for the following reasons:
– The connecting cable or the extension cord is damaged.
– The mains plug of the connecting cable or extension cord is damaged.
– The socket is not properly installed.
DANGER
■ Contact with live parts may result in electric shock. This may result in serious or fatal injury to the user.
► Make sure that the connecting cable, extension cord and their mains plugs are undamaged.
If the connecting cable or the extension cord is damaged:
► Do not touch the damaged area.
► Disconnect the mains plug from the power supply.
► Make sure your hands are dry before touching the connecting cable, extension cord or mains plugs.
► Plug the mains plug of the connecting cable or extension cord into a properly installed, shockproof socket with the correct fuse rating.
► Install the charger with a ground fault circuit interrupter (30 mA, 30 ms).
■ A damaged or unsuitable extension cable can result in electric shock. There is a risk of serious or fatal injury.
► Use an extension cable with the correct cable cross-section,
20.4.
WARNING
■ Overvoltage can occur in the charger if the line voltage or frequency are incorrect during charging. The charger may be damaged.
► Make sure that the mains voltage and the mains frequency of the power supply match the data on the rating plate of the charger.
■ If the charger is connected to a power strip, electrical components may be overloaded during the charging process. The components may overheat and cause a fire. Persons may be seriously or fatally injured, and property may be damaged.
► Ensure that the technical specifications for the power strip are not exceeded by the information on the rating plate of the charger and of all electrical devices connected to the power strip.
■ An incorrectly routed connecting cable or extension cord may be damaged, and people may trip over it. People may be injured, and the connecting cable or extension cord may be damaged.
► Route and mark the connecting cable and extension cord so that people will not trip over them.
► Route the connecting cable and extension cord so that they are not under tension or tangled.
► Route the connecting cable and extension cord so that they will not be damaged, kinked or crushed and will not be chafed.
► Protect the connecting cable and extension cord from heat, oil and chemicals.
► Lay the connecting cable and extension cord on a dry surface.
■ The extension cable warms up in operation. If that heat cannot escape, it may cause a fire.
► If using a cable reel: completely unroll the cable reel.
■ If wiring and pipes are laid in the wall, they may be damaged if the charger is mounted on the wall. Contact with wiring can result in electric shock. This may result in serious injury to people and damage to property.
► Make sure there is no wiring or pipes in the wall at the proposed mounting site.
■ If the charger is not mounted on the wall as described in this User Manual, the charger or the battery may fall or the charger may overheat. This may result in injury to people and damage to property.
► Mount the charger on a wall as described in this User Manual.
■ If the charger is mounted on a wall with the battery inserted, the battery may fall out of the charger. This may result in injury to people and damage to property.
► Mount the charger on the wall first before inserting the battery.
4.10 Transporting
4.10.1 Trimmer
WARNING
■ The trimmer may turn over or shift during transport. This may result in personal injuries and damage to property.
► Remove the battery.
► Secure the trimmer with lashing straps or a net to prevent it turning over and moving.
4.10.2 Battery
WARNING
■ The battery is not protected against all ambient conditions. The battery may be damaged if it is exposed to certain ambient conditions, and damage to property may occur.
► Never transport a damaged battery.
■ The battery may turn over or shift during transport. This may result in injury to people and damage to property.
► Pack the battery in packaging in such a way that it cannot move.
► Secure the packaging so that it cannot move.
4.10.3 Charger
WARNING
■ The charger may turn over or move while being transported. This may result in personal injuries and damage to property.
► Disconnect the plug from the wall outlet.
► Remove the battery.
► Secure the charger with lashing straps, belts or a net to prevent it turning over and moving.
■ The connecting cable must not be used for carrying the charger. The connecting cable and the charger may be damaged.
► Wind up the connecting cable and attach it to the charger.
4.11 Storing
4.11.1 Trimmer
WARNING
■ Children are not aware of and cannot assess the dangers of a trimmer and can be seriously injured.
► Remove the battery.
► Store the trimmer out of the reach of children.
■ Dampness can corrode the electrical contacts on the trimmer and metal components. This can damage the trimmer.
► Remove the battery.
► Store the trimmer in a clean and dry condition.
4.11.2 Battery
WARNING
■ Children are not aware of and cannot assess the dangers of the battery Children may be seriously injured.
► Store the battery out of the reach of children.
■ The battery is not protected against all ambient conditions. If the battery is exposed to certain ambient conditions, the battery may be irreparably damaged.
► Store the battery in a clean and dry condition.
► Store the battery in an enclosed space.
► Store the battery separately from the brush cutter.
► If the battery is stored in the charger, disconnect the mains plug and store the battery at a state of charge between 40% and 60% (2 lit green LEDs).
► Do not store the battery outside of the specified temperature limits,
20.5.
4.11.3 Charger
WARNING
■ Children are not aware of and cannot assess the dangers of a charger. Children can be seriously injured or killed.
► Disconnect the plug from the wall outlet.
► Store the charger out of reach of children.
■ The charger is not protected against all ambient conditions. If the charger is exposed to certain ambient conditions, the charger may be damaged.
► Disconnect the plug from the wall outlet.
► If the charger is hot: Allow the charger to cool down.
► Store the charger in a clean, dry place.
► Store the charger in an enclosed room.
► Do not store the charger outside of the specified temperature limits,
20.5.
■ The connecting cable should not be used for carrying the charger or hanging up the charger. The connecting cable and the charger may be damaged.
► Hold the charger by the housing in a secure grip. The charger is provided with a handle recess to make it easy to pick up the charger.
► Hang the charger on the wall mounting.
4.12 Cleaning, Maintenance and Repair
WARNING
■ The brush cutter may start up unintentionally if the battery is left in place during cleaning, maintenance or repair operations. This may result in serious injury to people and damage to property.
► Remove the battery.
■ Aggressive cleaning agents, a water jet or pointed objects can damage the trimmer, deflector, cutting attachment, battery and the charger. If the trimmer, deflector, cutting attachment, battery or charger are not cleaned correctly, components may no longer function properly or safety devices may be rendered inoperative. They may cause serious injury to persons.
► Clean the trimmer, deflector, cutting attachment, battery and charger as described in this instruction manual.
■ If the trimmer, deflector, cutting attachment, battery and charger are not properly serviced or repaired, components may no longer function properly or safety devices may be rendered inoperative. This may result in serous or fatal injury to people.
► Do not attempt to service or repair the trimmer, deflector, cutting attachment, battery or charger.
► If the trimmer, deflector, cutting attachment, battery or the charger require servicing or repairs: Contact your STIHL servicing dealer for assistance.
Preparing Trimmer for Operation
5.1 Preparing the Brush cutter for Operation
The following steps must be performed before commencing work:
► Ensure that the following components are in safe condition:
– Brushcutter,
4.6.1.
– Deflector,
4.6.2.
– Mowing head,
4.6.3.
– Battery,
4.6.4.
– Charger,
4.6.5.
► Check the battery,
11.2.
► Fully charge the battery,
6.2.
► Clean the brushcutter,
16.1.
► Mount the deflector,
7.1.
► Mount the loop handle,
7.3.
► Adjust length of shaft,
8.1.
► Adjust the loop handle,
8.2.
► Check the controls,
11.1.
► If you cannot carry out this work: Do not use your brush cutter and contact your STIHL dealer for assistance.
Charging the Battery, LEDs
6.1 Mounting the Charger on a Wall
The charger can be mounted on a wall.

► Check the following points when mounting the charger on a wall:
– Suitable fixing materials.
– The charger is level.
The following dimensions are observed:
– a = at least 100 mm
– b (for AL 101) = 75 mm
– b (for AL 301) = 100 mm
– b (for AL 500) = 120 mm
– c = 4.5 mm
– d = 9 mm
– e = 2.5 mm
6.2 Charging the Battery
The charging time depends on various factors, e.g. the battery temperature or the ambient temperature. For optimum performance, observe the recommended temperature ranges,
20.6. The actual charging time may vary from the charging time indicated. The charging time is indicated at www.stihl.com/charging-times.
The charging process starts automatically when the mains plug is plugged into a socket and the battery is inserted into the charger. The charger switches off automatically when the battery is fully charged.
The battery and the charger warm up during charging.

► Plug the mains plug (6) into an easily accessible socket (7).
The charger (3) will run a self-test. The LED (4) will glow green for about 1 second and red for about 1 second.
► Routing the connecting cord (5).
► Insert the battery (2) in the guides in the charger (3) and press it home as far as stop.
The LED (4) glows green. The LEDs (1) glow green and the battery (2) is being charged.
► When the LED (4) and the LEDs (1) on the battery no longer light up: The battery (2) is fully charged and can be removed from the charger (3).
► If the charger (3) is no longer required. Disconnect the mains plug (6) from the wall outlet (7).
6.3 State of Charge

► Press the button (1).
The LEDs (5) glow green for about 5 seconds and indicate the state of charge.
► If the LED on the right flashes green: Charge the battery.
6.4 LEDs on Battery
The LEDs can show the state of charge or malfunctions. The LEDs can glow or flash green or red.
The state of charge is indicated when the LEDs glow or flash green.
► If the LEDs glow or flash red: Troubleshooting,
19.
Malfunction in trimmer or battery.
6.5 LED on Charger
The LED indicates the operating status of the charger.
If the LED glows green, the battery is being charged.
► If the LED flashes red: Rectify the malfunction.
Malfunction in charger.
Assembling the Trimmer
7.1 Mounting the Deflector
► Switch off the trimmer and remove the battery.

The line limiting blade (1) is already installed in the deflector (2) and must not be removed.
► Push the deflector (2) into the guides on the housing as far as stop.
The deflector (2) is tight against the housing.
► Insert and tighten down the screws (3) firmly.
The deflector (2) must not be removed again.
7.2 Mounting and Removing the Mowing Head
7.2.1 Mounting the Mowing Head
► Switch off the trimmer and remove the battery.

► Fit the fanwheel (2) on the shaft (3) with fan blades facing down.
If the fanwheel is not fitted, the motor will not be cooled properly and the trimmer will cut out during operation.
► Hold fanwheel (2) steady with one hand.
► Fit the mowing head (1) on the shaft (3),turn it clockwise by hand and tighten it down firmly.
7.2.2 Removing the Mowing Head

► Switch off the trimmer and remove the battery.
► Hold fanwheel (2) steady with one hand.
► Unscrew the mowing head (1) counterclock wise.
► Remove the fanwheel.
7.3 Mounting the Loop Handle
► Switch off the trimmer and remove the battery.

► Line up the loop handle (2) so that the recess for the star knob nut (1) is on the right of the control handle and the openings in the loop handle (2) are facing the operator.
► Ease the ends of the loop handle (2) apart and push it onto the control handle until it engages in position.
► Insert the screw (3) through the hole.
► Fit the star knob nut (1) and tighten it down.
The loop handle (2) must not be removed again.
Adjusting Trimmer for User
8.1 Adjusting Length of Shaft
The length of the shaft can be adjusted to suit the height and reach of the user.
► Switch off the trimmer and remove the battery.
► Hold the shaft firmly.

► Depress lock button (1) and hold it in that position.
► Pull or push the control handle (2) to the required position.
► Release the lock button (1).
► Move the control handle (2) back and forth until it engages.
8.2 Adjusting the Loop Handle
The loop handle can be set in different positions to suit the height and reach of the user.
► Switch off the trimmer and remove the battery.

► Loosen the star knob nut (1).
► Swing the loop handle (2) to the required position.
► Tighten down the star knob nut (1) firmly.
Removing and Fitting the Battery
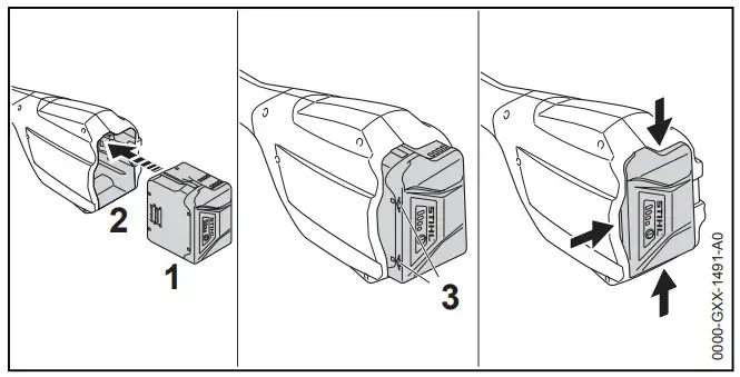
9.1 Fitting the Battery

► Insert the battery (1) in the battery compartment (2) and press it home until you hear a click.
Arrows (3) on battery (1) are still visible and battery (1) is held securely in battery compartment (2). There is no electrical contact between the trimmer and battery (1).
► Push the battery (1) into the battery compartment (2) as far as stop.
The battery (1) engages with a second click and is flush with the trimmer’s housing.
9.2 Removing the Battery
► Stand the trimmer on a level surface.
► Hold one hand in front of the battery compartment to ensure the battery does not fall out.

► Press the locking lever (1) with your other hand.
The battery (2) is unlocked and can be removed.
Switching the Trimmer On/Off
10.1 Switching On
► Hold the trimmer firmly with one hand on the control handle – wrap your thumb around the handle.
► Hold the trimmer firmly with the other hand on the loop handle – wrap your thumb around the handle.

► Push the release slide (1) in the direction of the loop handle with your thumb and hold it there.
► Depress the trigger lockout (2) with your hand and hold it there.
You can let go of the release slide (1).
► Pull the trigger (3) with your index finger and hold it there.
The motor accelerates and the cutting attachment rotates.
10.2 Switching Off
► Release the trigger and lockout lever at the same time.
► Wait for the cutting attachment to come to a standstill.
► If the cutting attachment continues to rotate:
Remove the battery and contact your STIHL servicing dealer.
The trimmer has a malfunction.
Testing the Trimmer and Battery
11.1 Checking the Controls
Release slide, trigger lockout and trigger
► Remove the battery.
► Attempt to pull the trigger lever without depressing the release slide and the trigger lockout.
► If the trigger can be pulled: Do not use your trimmer and contact your STIHL dealer for assistance.
Release slide or trigger lockout is faulty.
► Push the release slide (1) in the direction of the loop handle with your thumb and hold it there.
► Depress the trigger lockout lever and hold it in that position.
► Pull the trigger.
► Let go of the trigger, trigger lockout and release slide.
► If the trigger, trigger lockout or release slide is stiff or does not spring back to the idle position: Do not use your trimmer and contact your STIHL dealer for assistance.
The trigger, trigger lockout or release slide has a malfunction.
Switching on the trimmer
► Fit the battery.
► Push the release slide (1) in the direction of the loop handle with your thumb and hold it there.
► Depress the trigger lockout lever and hold it in that position.
► Pull the trigger and hold it there.
The cutting attachment rotates.
► If 3 LEDs flash red: Remove the battery and contact your STIHL dealer for assistance.
There is a malfunction in the trimmer.
► Release the trigger.
The cutting attachment stops rotating after a brief delay.
► If the cutting attachment continues to rotate:
Remove the battery and contact your STIHL dealer for assistance.
The trimmer has a malfunction.
11.2 Testing the Battery
► Press button on battery.
The LEDs glow or flash.
► If the LEDs do not glow or flash: Do not use the battery and contact your STIHL servicing dealer.
There is a malfunction in the battery.
Operating the Trimmer
12.1 Holding and Controlling the Trimmer

► Hold the trimmer with one hand on the control handle – wrap your thumb around the control handle.
► Hold the trimmer with the other hand on the loop handle – wrap your thumb around the loop handle.
12.2 Mowing
The cutting height is determined by the distance of the cutting attachment from the ground.

► Swing the brush cutter steadily back and forth in an arc.
► Walk forward slowly in a controlled manner.
► If you work with a bump guard: Extend the bump guard (1) fully.
For optimum performance, observe the recommended temperature ranges,
20.6.
12.3 Adjusting Nylon Line
► Tap the rotating mowing head on the ground.
About 30 mm of fresh nylon line is advanced.
The line limiting blade in the deflector trims the mowing lines to the correct length.
Automatic feed does not operate if the mowing lines are shorter than 25 mm.
► Switch off the trimmer and remove the battery.
► Press the button on the mowing head and hold it depressed.
► Pull out the mowing lines.
► If the mowing lines cannot be pulled out to required length: Install a new spool with mowing line.
The spool is empty.
After Finishing Work
13.1 After Finishing Work
► Switch off the brush cutter and remove the battery.
► If the brush cutter is wet: Allow the brush cutter to dry.
► If the battery is moist or wet: Allow the battery to dry,
20.6.
► Clean the brush cutter.
► Clean the deflector.
► Clean the cutting attachment.
► Clean the battery.
Transporting
14.1 Transporting the brush cutter
► Switch off the brush cutter and remove the battery.
► Adjust the shaft to its shortest length.
Carrying the Brushcutter
► Carry the brush cutter in one hand properly balanced by the shaft, with the cutting attachment behind you.
Transporting the brush cutter in the car
► Secure the brush cutter to prevent turnover and movement.
14.2 Transporting the Battery
► Switch off the brush cutter and remove the battery.
► Check that the battery is in a safe condition.
► Pack the battery in packaging in such a way that it cannot move inside the packaging.
► Secure the packaging so that it cannot move.
The battery is subject to the Carriage of Dangerous Goods regulations. The battery is classified as UN 3480 (lithium ion batteries) and has been tested pursuant to UN Manual Tests and Criteria Part III, Subsection 38.3.
The transport regulations can be found at www.stihl.com/safety-data-sheets.
14.3 Transporting the Charger
► Disconnect the plug from the wall outlet.
► Remove the battery.
► Wind up the connecting cable and attach it to the charger.
► Transporting the charger in a vehicle: Secure the charger with lashing straps, belts or a net to prevent it turning over and moving.
15 Storing
15.1 Storing the Trimmer
► Switch off the trimmer and remove the battery.
► Remove the spool.
► Observe the following points when storing the trimmer:
– The trimmer is out of the reach of children.
– The trimmer is clean and dry.
15.2 Storing the Battery
STIHL recommends keeping the battery in a charging state between 40% and 60 % (2 green LEDs lit).
► The battery should be stored in such a way that the following conditions are fulfilled:
– The battery is out of the reach of children.
– The battery is clean and dry.
– The battery is in an enclosed space.
– The battery is separated from the brushcutter.
– If the battery is stored in the charger, disconnect the mains plug and store the battery at a state of charge between 40% and 60% (2 lit green LEDs).
– Do not store the battery outside of the specified temperature limits,
20.5.
NOTICE
■ If the battery is not stored as described in this User Manual, the battery may become deeply discharged and irreparably damaged.
► Charge a discharged battery before storing it. STIHL recommends keeping the battery state of charge between 40% and 60% (2 lit green LEDs).
► Store the battery separately from the brush cutter.
15.3 Storing the Charger
► Disconnect the mains plug from the power supply.

► Wind up the connecting cable and attach it to the charger.
► Observe the following points when storing the charger:
– Charger is out of the reach of children.
– The charger is clean and dry.
– Charger is in an enclosed space.
– The charger is not suspended from the connecting cable or the holder (3) for the connecting cable.
– Do not store the charger outside of the specified temperature limits,
20.5.
Cleaning
16.1 Cleaning the Brush cutter
► Switch off the brush cutter and remove the battery.
► Clean the brush cutter with a damp cloth.
► Clean vents with a paintbrush.
► Remove foreign objects from the battery compartment and clean the battery compartment with a damp cloth.
► Clean the electrical contacts in the battery compartment with a paintbrush or soft brush.
► Clean the area underneath the fan wheel with a soft brush.
16.2 Cleaning the Deflector and Cutting Attachment
► Switch off the trimmer and remove the battery.
► Clean the deflector and cutting attachment with a damp cloth or a soft brush.
16.3 Cleaning the Battery
► Clean the battery with a damp cloth.
16.4 Cleaning the Charger
► Disconnect the mains plug from the power supply.
► Clean the charger with a damp cloth.
► Clean vents with a paintbrush.
► Clean the charger’s electrical contacts with a paintbrush or a soft brush.
Maintenance
17.1 Maintenance Intervals
The maintenance intervals are dependent on the environmental and operating conditions. STIHL recommends the following maintenance intervals:
Every 12 months
► Have the trimmer checked by a STIHL servicing dealer.
Repairing
18.1 Repairing the Trimmer, Battery and Charger
The trimmer, cutting attachment, battery and charger are not user serviceable.
► If the trimmer or cutting attachment is damaged: Do not use your trimmer or cutting attachment and contact your STIHL servicing dealer.
► If the battery has a malfunction or is damaged: Replace the battery.
► If the charger has a malfunction or is damaged: Replace the charger.
► If the connecting cable has a malfunction or is damaged: Do not use the charger and have connecting cable replaced by a STIHL servicing dealer.
Troubleshooting
19.1 Troubleshooting the Brush cutter or Battery
| Fault | LEDs on the battery | Cause | Remedy |
| The brush cutter does not start when switched on. | 1 LED flashing green. | State of charge of the battery is too low. | ► Charge the battery. |
| 1 LED emits red light. | The battery is too warm or too cold. | ► Remove the battery. ► Allow the battery to cool down or warm up. | |
| 3 LEDs flash red. | The brush cutter has a malfunction. | ► Remove the battery. ► Clean electrical contacts in the battery compartment. ► Insert battery. ► Switch on the brush cutter. ► If 3 LEDs continue to flash red: Do not use your brush cutter and contact your STIHL dealer for assistance. | |
| 3 LEDs light up red. | Trimmer is too hot. | ► Remove the battery. ► Allow trimmer to cool down. | |
| 4 LEDs flash red. | There is a fault in the battery. | ► Remove battery and reinsert it. ► Switch on the brush cutter. ► If 4 LEDs continue to flash red: Do not use the battery; contact a STIHL authorized dealer. | |
| No electrical contact between brush cutter and battery. | ► Remove the battery. ► Clean electrical contacts in the battery compartment. ► Insert battery. |
| Fault | LEDs on the battery | Cause | Remedy |
| The brush cutter or battery is damp. | ► Allow the brush cutter or battery to dry, | ||
| The brush cutter cuts out during operation. | 3 LEDs light up red. | Trimmer is too hot. | ► Remove the battery. ► Allow trimmer to cool down. |
| There is an electrical fault. | ► Remove battery and reinsert it. 1,- Switch on the brush cutter. | ||
| The runtime of the brush cutter is too short. | The battery is not fully charged. | ► Fully charge the battery. | |
| The battery service life has been exceeded. | ► Replace battery. | ||
| Mowing head cannot be unscrewed by hand. | Mowing head over- tightened. | ► Block the fan wheel with the stop pin. ► Unscrew mowing head by hand. 1,- Remove the stop pin. | |
| Charging does not start when the battery is inserted into the charger. | 1 LED emits red light. | The battery is too warm or too cold. | ► Leave battery inserted in charger. Charging starts automatically as soon as the permitted temperature range is reached. |
19.2 Troubleshooting the Charger
| Fault | LED on Charger | Cause | Remedy |
| Battery not being charged. | The LED flashes red. | No electrical contact between charger and battery. | ► Remove the battery. ► Clean contacts on charger. ► Insert battery. |
| There is a malfunction in the charger. | ► Do not use the charger and contact your STIHL dealer for assistance. |
Specifications
20.1 STIHL FSA 57 Trimmer
– Approved battery: STIHL AK
– Weight without battery, cutting attachment and deflector: 2,4 kg
– Length without cutting attachment: 1490 mm up to 1690 mm
For battery life see www.stihl.com/battery-life.
20.2 STIHL AK Battery
– Battery technology: lithium-ion
– Voltage: 36 V
– Capacity in Ah: see rating label
– Energy content in Wh: see rating label
– Weight in kg: See rating label
20.3 STIHL AL 101 Charger
– Rated voltage: See rating plate
– Frequency: see rating plate
– Rated power: see rating plate
– Charging current: See rating plate
For charging times, see www.stihl.com/chargingtimes.
20.4 Extension Cords
If an extension cord is used, the cross sectional area of its conductors must meet the following minimum requirements – depending on the line voltage and length of the extension cord:
If rated voltage on the rating label is 220V to 240V:
– Cord length up to 20 m: AWG 15 / 1.5 mm²
– Cord length 20 m up to 50 m: AWG 13 /2.5 mm²
If rated voltage on the rating label is 100V to 127V:
– Cord length up to 10 m: AWG 14 / 2.0 mm²
– Cord length 10 m up to 30 m: AWG 12 /3.5 mm²
20.5 Temperature limits
WARNING
■ The battery is not protected against all ambient conditions. If the battery is exposed to certain environmental conditions, it may catch fire or explode. This may result in serious injury to people and damage to property.
► Do not charge the battery below -20°C or above +50°C.
► Do not use the brush cutter, battery or charger below – 20 °C or above + 50 °C.
► Do not store the brush cutter, battery or charger below -20°C or above +70°C.
20.6 Recommended temperature ranges
For optimum performance of the brush cutter, battery and charger, observe the following temperature ranges:
– Charging: 5°C to 40°C
– Use: – 10 °C to + 40 °C
– Storage: – 20 °C to + 50 °C
If the battery is charged, used or stored outside the recommended temperature ranges, performance may be reduced.
If the battery is wet or moist, allow the battery to dry for at least 48 h between 15°C and 50°C and with less than 70% humidity. Higher humidity may extend the drying time.
20.7 Noise and Vibration Data
K-value (uncertainty) for sound pressure levels is 2 dB(A). K-value (uncertainty) for sound power levels is 2 dB(A). K-value (uncertainty) for vibration levels is 2 m/s².
STIHL recommends that you wear hearing protection.
– Sound pressure level LpA measured according to EN 50636-2-91: 74 dB(A)
– Sound power level LwA measured according to EN 50636-2-91: 89 dB(A)
– Vibration measurement ahv measured according to EN 50636-2-91; control handle and loop handle: 4,0 m/s²
The vibration values quoted above have been measured according to a standardized test procedure and may be used to compare electric power tools. Depending on the type of usage, the vibrations that actually occur may differ from the values quoted. The vibration values quoted may be used for an initial assessment of the user’s exposure to vibrations. The actual exposure to vibrations has to be estimated. This process may also take into account times during which the electric power tool is switched off and times during which it is switched on but running off load.
For information on compliance with Vibration Directive 2002/44/EC visit www.stihl.com/vib.
20.8 REACH
REACH is an EC regulation and stands for the Registration, Evaluation, Authorization and Restriction of Chemical substances.
For information on compliance with the REACH regulation see www.stihl.com/reach.
Combinations of Cutting Attachments and Deflectors
21.1 STIHL FSA 57 brushcutter
The following mowing heads may be mounted with the deflector:
– STIHL AutoCut C 3-2 mowing head:
– with round, low-noise mowing line with a diameter of 1.6 mm or 2.0 mm
– Poly Cut 3-2 mowing head
– with blades
– with round, low-noise mowing line with a diameter of 1.6 mm or 2.0 mm
Spare Parts and Accessories
22.1 Spare parts and accessories
These symbols indicate original STIHL spare parts and original STIHL accessories.
STIHL recommends the use of original STIHL spare parts and accessories.
Despite ongoing market observation, STIHL is unable to judge the reliability, safety and suitability of other manufacturers’ spare parts and accessories; accordingly, STIHL cannot warrant for the use of those parts.
Original STIHL spare parts and original STIHL accessories are available from STIHL dealers.
Disposal
23.1 Disposal of Brushcutter, Battery and Charger
Contact the local authorities or your STIHL dealer for information on disposal.
Improper disposal can be harmful to health and pollute the environment.
► Take STIHL products including packaging to a suitable collection point for recycling in accordance with local regulations.
► Do not dispose with domestic waste.
EC Declaration of Conformity
24.1 STIHL FSA 57 Brush cutter
ANDREAS STIHL AG & Co. KG
Badstraße 115
D-71336 Waiblingen
Germany
declare under our sole responsibility that
– category: Cordless brush cutter
– Manufacturer’s brand: STIHL
– model: FSA 57
– serial number: 4522
conforms to the relevant provisions of Directives 2011/65/EU, 2006/42/EC, 2014/30/EU and 2000/14/EC and has been developed and manufactured in compliance with the following standards in the versions valid on the date of production: EN 55014‑1, EN 55014‑2, EN 60335‑1 and EN ISO 12100 taking EN 50636‑2‑91 into account.
The measured and guaranteed sound power levels were determined according to Directive 2000/14/EC, Annex VI.
BeetElite benannte Stelle: VDE Prüf- u. Certify zierungsinstitut, Merianstraße 28, 63069 Offenbach, Deutschland
– Measured sound power level: 89 dB(A)
– Guaranteed sound power level: 91 dB(A)
The technical documents are stored at ANDREAS STIHL AG & Co. KG Produktzulas sung.
The year of manufacture, country of manufacture and serial number are specified on the rating plate of the brush cutter.
Waiblingen, 2022-08-01
ANDREAS STIHL AG & Co. KG![]()
Robert Olma, Vice President, Regulatory Affairs & Global Governmental Relations
UKCA Declaration of Conformity
25.1 STIHL FSA 57 Brush cutter
ANDREAS STIHL AG & Co. KG
Badstraße 115
D-71336 Waiblingen
Germany
declare under our sole responsibility that
– category: Cordless brush cutter
– Manufacturer’s brand: STIHL
– model: FSA 57
– Serial number: 4522
complies with the relevant provisions of the UK regulations The Restriction of the Use of Certain Hazardous Substances in Electrical and Electronic Equipment Regulations 2012, Supply of Machinery (Safety) Regulations 2008, Electromagnetic Compatibility Regulations 2016 and Noise Emission in the Environment by Equipment for use Outdoors Regulations 2001 and has been developed and manufactured in accordance with the versions of the following standards valid on the date of manufacture:
EN 55014-1, EN 55014-2, EN 60335-1 and EN ISO 12100 taking into account the standard EN 50636-2-91.
The measured and guaranteed sound power levels have been determined in accordance with UK regulation Noise Emission in the Environment by Equipment for use Outdoors Regulations 2001, Schedule 9.
Participating notified body: INTERTEK Testing & Certification Ltd, Academy Place, 1-9 Brook Street, Brentwood, Essex, CM14 5NQ, United Kingdom
– Measured sound power level: 89 dB(A)
– Guaranteed sound power level: 91 dB(A)
The technical documents are stored at ANDREAS STIHL AG & Co. KG.
The year of manufacture, country of manufacture and serial number are specified on the rating plate of the brush cutter.
Waiblingen, 2022-08-01
ANDREAS STIHL AG & Co. KG![]()
Robert Olma, Vice President, Regulatory Affairs & Global Governmental Relations
www.stihl.com
0458-806-0121-C
© ANDREAS STIHL AG & Co. KG 2022
0458-806-0121-C. VA2.K22.
Printed on chlorine-free paper
Paper is recyclable.
Translation of Original Instruction Manual
0000008790_010_GB
References
Country Routing Page: Welcome to STIHL | STIHL
STIHL - Working times per battery charge | STIHL
Battery charging times
REACH Regulation: Available in different languages | STIHL | STIHL
Safety Data Sheets and Battery Documents of the STIHL products | STIHL | STIHL
Information on Physical Agents Directive Vibration | STIHL | STIHL
Country Routing Page: Welcome to STIHL | STIHL



















