
STIHL FSE 31, 41
Instruction Manual

![]()
![]()
Dear Customer,
Thank you for choosing a quality engineered STIHL product.
It has been built using modern production techniques and comprehensive quality assurance. Every effort has been made to ensure your satisfaction and trouble-free use of the product.
Please contact your dealer or our sales company if you have any queries concerning this product.
Your

Dr. Nikolas Stihl
This instruction manual is protected by copyright. All rights reserved, especially the rights to reproduce, translate and process with electronic systems.
Guide to Using this Manual
Pictograms
All the pictograms attached to the machine are shown and explained in this manual.
Symbols in text
WARNING
Warning where there is a risk of an accident or personal injury or serious damage to property.
NOTICE
Caution where there is a risk of damaging the machine or its individual components.
Engineering improvements
STIHL’s philosophy is to continually improve all of its products. For this reason, we may modify the design, engineering, and appearance of our products periodically.
Therefore, some changes, modifications, and improvements may not be covered in this manual.
Safety Precautions and Working Techniques
Special safety precautions must be observed when working with this powerful tool because of the very high speed of its cutting attachment and the fact that it is powered by electricity.
It is important that you read and understand the User Manual before commissioning and keep it in a safe place for future reference. Non-compliance with the User Manual may cause serious or even fatal injury.
Observe the national safety regulations issued, e.g., by the employers’ liability insurance association, social security institutions, occupational safety, and health authorities or other organizations.
If you have not used this machine before: Have your dealer or other experienced user show you how to handle your machine safely or attend a specialist course.
Minors should never be allowed to use the machine – except for young trainees over the age of 16 when working under supervision.
Children, animals, and onlookers must not be allowed near the machine. When the machine is not in use, shut it off so that it does not endanger others. Secure it against unauthorized use, and disconnect the plug from the power supply.
The user is responsible for accidents or risks involving third parties or their property.
Do not pass on or lend the machine to persons who are not familiar with this model and its handling – always include the User Manual.
Persons who are not able to operate the power tool safely due to limited physical, sensory, or mental ability may work with it only under supervision or after being instructed appropriately by a responsible person.
The use of noise-emitting power tools may be restricted to certain times by national or local regulations.
Before each use, check that your power tool is in good condition. Pay special attention to the power cord, mains plug, and safety devices.
Do not use the power cord to pull or carry the power tool.
Disconnect the plug from the wall outlet before performing any work on the machine, e.g. cleaning, maintenance, replacing parts.
The deflector on this power tool cannot protect the operator from all objects ejected by the cutting attachment (stones, glass, wire, etc.). Ejected objects may also ricochet and strike the operator.
Do not use a high-pressure washer to clean the power tool. The solid jet of water may damage parts of the unit.
Do not spray the power tool with water.
Physical fitness To operate the power tool you must be rested, and in the good physical condition and mental health.
If you have any condition that might be aggravated by strenuous work, check with your doctor before operating a power tool.
Do not operate the power tool if you have consumed alcohol or taken medication that may impair responsiveness or taken drugs.
Accessories and replacement parts
Only use cutting attachments and accessories that are explicitly approved for this power tool by STIHL or are technically identical. If you have any questions in this respect, consult a STIHL dealer. Use only high-quality parts and accessories. Otherwise, there is a risk of accidents and damage to the unit.
STIHL recommends the use of genuine STIHL tools and accessories. They are specifically designed to match the product and meet your performance requirements.
Never attempt to modify your power tool in any way since this may increase the risk of personal injury. STIHL excludes all liability for personal injury and damage to property caused while using unauthorized attachments.
Applications Depending on the cutting attachment fitted, use your power tool only for cutting grass, overgrowth, and similar materials.
Do not use the power tool for any other purpose because of the increased risk of accidents and damage to the power tool itself. The product must not be modified in any way – this may also lead to accidents or damage to the unit.
Clothing and equipment
Wear proper protective clothing and equipment.
Clothing must be robust but allow complete freedom of movement. Wear close-fitting clothing – a boilersuit, not a loose work jacket.
Do not wear clothing that could become trapped in wood, brush, or moving parts of the machine. Do not wear a scarf, necktie, or jewelry. Tie up and confine long hair above your shoulders.
Wear sturdy shoes with non-slip soles.
WARNING
To reduce the risk of eye injuries, wear close-fitting safety glasses in accordance with European Standard EN 166. Make sure the safety glasses are a snug fit.
Wear face protection and make sure it is a good fit. Face protection alone is not sufficient to protect the eyes.
Wear “personal” sound protection, e.g. ear defenders.
Wear sturdy protective gloves made of a resistant material (e.g. leather).
STIHL can supply a comprehensive range of personal protective equipment.
Transporting the machine
Always switch off the tool and unplug it from the power supply.
Transporting by vehicle: Properly secure the power tool to prevent tipping over and damage.
Before Starting Work
Check the machine
Check that your machine is properly assembled and in good condition – refer to the appropriate chapters in the instruction manual:
- The trigger switch must move freely – the switch must return to the idle position when it is released.
- Use only an approved combination of cutting attachment, deflector, and handle. All parts must be assembled properly and securely. To reduce the risk of injury, never use metal cutting attachments!
- Check that the cutting attachment is properly and securely mounted and in good condition.
- Check safety devices (e.g., deflector for cutting attachments) for damage and/or wear. Always replace damaged parts. Never operate the unit with a damaged deflector
- Keep the handles dry, clean, and free from dirt, for safe control of the power tool
- Adjust the handle to suit your height and reach.
To reduce the risk of accidents and personal injury, do not operate your power tool if it is not properly assembled and in good condition!
Do not operate your power tool if any of its components are damaged or not properly mounted.
Never attempt to modify the controls or safety devices Before switching on your power tool, make sure the cutting attachment is not touching the ground or any other object.
Avoid contact with the cutting attachment – the risk of injury!
Note that the cutting attachment continues to run for a short period after the power tool is switched off – flywheel effect.
Electrical connection.
Reduce the risk of electric shock:
- Voltage and frequency of the machine (see rating plate) and the voltage and frequency of your power supply must be the same.
- Examine the connecting cord, power plug, and extension cord for damage. Damaged cords, couplings, plugs, or connecting cords that do not comply with the regulations must not be used
- Always connect the engine analyzer to a properly installed wall outlet.
- Check that the insulation of the power cord, extension cord, plug, and coupling is in good condition
- Never touch the power plug, power cord and extension cord, and electrical plug connections with wet hands.
- Any extension cords used must comply with the specifications for the particular application
Position the connecting and extension cords correctly:
- Check minimum cross-section of wires (wire gauge) – see “Connecting to Power Supply”.
- To reduce the risk of stumbling, position and mark the connecting cord so that it cannot be damaged or endanger others.
- Using unsuitable extension cords can be dangerous. Use only extension cords approved for outdoor use which are labeled as such and have the appropriate wire gauge.
- The plug and coupling of the extension cord must be water-proof and must never be immersed in water.
- Do not chafe on edges, pointed or sharp objects
- don’t trap or squeeze the cord in or under doors or windows
- If cords are twisted – unplug the power tool and straighten them out
- Never touch the rotating cutting attachment
- Always completely unroll the connecting cord from the cable reel to avoid the risk of fire due to overheating
Holding and guiding the machine
Always hold the tool firmly with both hands on the handles. Make sure you always have a firm and secure footing.
Always hold the tool on the right-hand side of your body.

Left hand on the loop handle, right hand on the control handle, even if you are lefthanded.
While working
If the power cord is damaged, immediately disconnect the plug from the wall outlet to avoid the risk of electric shock.
Avoid damage to the power supply cord. Do not drive over it, pinch or tug it.
Never jerk the connecting cord to disconnect it from the wall outlet. To unplug, grasp the plug, not the cord.
The power cord and power plug must never be touched with wet hands.
Never spray water on the unit – the risk of short circuit!
The drive motor is not waterproof. To reduce the risk of a short circuit or electrocution, never work with the power tool in the rain or in wet or very damp locations.
Do not leave the power tool outdoors in the rain.
In case of imminent danger or in an emergency, switch off the motor immediately – release the trigger switch and start lockout.
Your power tool is designed to be operated by one person only. Do not allow other persons in the work area.

There is a risk of accident from ejected objects within a wide area around the working space, so you must ensure that there is no one within a 15 m radius of the machine. This distance must also be maintained in relation to objects (vehicles, window panes) – the risk of property damage! Even at distances beyond 15 m, the danger cannot be ruled out.
Check the work site – rocks, metal objects, etc. could get caught up and ejected – potentially beyond a distance of 15 m – the risk of injury! Such objects can also damage the cutting attachment and other property (e.g. parked vehicles, windows).
Never work without protection suitable for the respective machine and cutting tool – the risk of injury from ejected objects!
Do not cut wet grass.
Take care in slippery conditions on slopes and uneven ground.
Keep the connecting cord behind the power tool at all times – do not walk backward – the risk of stumbling.
Watch out for obstacles such as tree stumps, and roots – the risk of tripping or stumbling!
Only work while standing on the ground, never on a ladder, work platform, or another unstable surface.
Be particularly alert and cautious when wearing hearing protection because your ability to hear warnings (shouts, alarms, etc.) is restricted.
Take breaks when you start getting tired or feeling fatigued – the risk of accidents!
Work calmly and carefully – in daylight conditions and only when visibility is good.
Proceed with caution, do not put others in danger.
Be particularly careful when working on difficult, densely grown terrain.
Check the cutting tool regularly at frequent intervals, and immediately if you notice a change in its behavior:
- Switch off the tool, hold it firmly and press the cutting attachment into the ground to bring it to a standstill, and disconnect the plug from the power supply.
- Check the condition and tightness of connections, look out for fine cracks
- Immediately replace defective cutting tools, also in case of minor hairline cracks
- Clean grass and plant residue off the cutting attachment mounting at regular intervals – remove any accumulated material from the cutting attachment and deflector.
Always switch off the tool and unplug it from the power supply before replacing the cutting attachment. Risk of injury from the motor starting unintentionally!
Do not continue using or attempting to repair damaged or cracked cutting attachments by means of welding, straightening, or modifying the shape (unbalanced).
Particles or pieces may come off and hit the operator or a bystander at a high speed – the risk of most severe injuries!
If a rotating cutting attachment touches a rock or another hard object, sparks may be generated which may possibly ignite combustible materials. Also, dried-out plants and brushwood are combustible, above all in hot and dry weather. If there is a risk of fire, do not use cutting attachments in the vicinity of combustible materials, dried-out plants, or brushwood. It is mandatory that you ask the responsible forestry office about current fire hazards.
Only use the deflector with a properly mounted blade that ensures the mowing line is restricted to the permissible length.
To reduce the risk of injury, avoid contact with the blade.
To reduce the risk of injury, always switch off the tool and unplug it from the power supply before manually adjusting the mowing line. Misuse with mowing lines that are too long reduces the working speed of the engine. This results in overheating and damage to the motor.
To reduce the risk of injury, never use wire in place of the nylon cutting line.
If your power tool is subjected to unusual stress for which it was not designed (e.g. heavy impact or a fall), always check that it is in good condition before continuing work – see also “Before Starting Work”. Make sure the safety devices are working properly. Do not continue operating your machine if it is damaged. In case of doubt, contact a dealer.
Before leaving the power tool unattended: Switch it off and disconnect the plug from the power supply.
Vibrations
This power tool minimizes the vibrations transmitted to the operator’s hands.
However, the operator should seek medical advice in the event of suspected circulatory problems in the hands (e.g. tingling sensation in the fingers).
Maintenance and Repairs
Always switch off the machine and disconnect the plug from the power supply before carrying out any maintenance work to reduce the risk of injury from the motor starting unintentionally.
Service the machine regularly. Do not attempt any maintenance or repair work not described in the instruction manual. Has all other work been performed by a servicing dealer?
STIHL recommends that you have servicing and repair work carried out exclusively by an authorized STIHL servicing dealer. STIHL dealers are regularly given the opportunity to attend training courses and are supplied with the necessary technical information.
Only use high-quality replacement parts in order to avoid the risk of accidents and damage to the machine. If you have any questions in this respect, consult a servicing dealer.
STIHL recommends the use of genuine STIHL replacement parts. They are specifically designed to match your machine model and meet your performance requirements.
Never attempt to modify your power tool in any way since this will increase the risk of personal injury.
Regularly check that the insulation of the power cord and plug is in good condition and shows no sign of aging (brittleness).
Electrical components, e.g. power cord, may only be repaired or replaced by a qualified electrician.
Clean plastic components with a cloth. Do not use aggressive detergents. They may damage the plastic.
Do not spray the machine with water.
Check the tightness of mounting screws on safety devices and the cutting attachment and retighten if necessary.
Clean cooling air inlets in motor housing as necessary. Store the machine in a safe and dry place.
Using the Unit
Mowing

- Hold your trimmer with both hands – right hand on the control handle (1) – and left hand on the assist handle (2).
- Stand upright – hold the trimmer in a relaxed position and always on the right side of your body.
- Make sure the cutting attachment is not touching the ground or any other objects.
- Swing the machine to and fro, keeping the mowing head inclined forwards at an angle of about 20° – 30°.
- The cutting height is determined by the distance of the mowing line from the lawn surface.
- Mow with the left-hand side wherever possible; cuttings and stones are thrown away from the operator in this position.
- Avoid contact with fences, walls, rocks, etc. since it will result in a higher rate of wear.
Mowing under Obstacles
The angle of the shaft and mowing head can be adjusted for easier mowing under hedges and bushes, see “Adjusting Angle of Shaft”.
Working with the Bumper (FSE 41 only)

The bumper (1)
- Limits the cutting range of the mowing line.
- Reduces the risk of the rotating mowing line causing damage (e.g. tree bark).
- Maintains the correct ground clearance when edging.
Edging (FSE 41 only)

The unit can be quickly converted into a power edger (see “Converting Unit to Power Edger”).
- Use the unit as shown.
- Guide the mowing line along the edge of the lawn – hold the unit at the right height or use the bumper.
Disposal

Do not throw cuttings into the garbage can – they can be composted!
Mounting the Deflector

- Position the deflector (1) on the underside of the motor housing (2).
- Deflector body must be on the left.
- Rotate the deflector 90° in the guide slots.

- Locking pawl (3) must engage.
- Take the screw (4) out of the retainer, insert it in the hole (5) and tighten it down firmly.
- Pull the cover (6) off the line limiter blade.
Fitting the Bumper (FSE 41 only)

- Place the bumper (7) on the pegs (8) and locators in the deflector and secure in position with the two screws (9).
Adjusting Nylon Line
Hold the rotating mowing head above the ground – tap it on the ground once – about 3 cm fresh line is advanced.
The blade (1) on the deflector (2) trims the surplus line to the correct length – avoid tapping the mowing head more than once at a time.
Line feed operates only if both lines still have a minimum length of 2.5 cm.
If the nylon lines are shorter than 2.5cm, readjust them manually – see “Manual Adjustment of Nylin Line”.
Manual Adjustment of Nylon Line
- Switch off the trimmer.
- Disconnect the plug from the wall outlet.
- Turn the trimmer on its back.

- Push home the button (1) on the spool as far as the stop.
- Pull the ends of the nylon line (2) out of the spool.
If the spool is empty, see “Replacing Nylon Line”.
Adjusting the Handles
Adjusting Length of Shaft (FSE 41 only)
Press the lock button (1).- Pull the control handle (2) upwards on the shaft (3) and engage it in one of the 3 positions: A, B, or C
Adjusting Control Handle (FSE 41 only)
Only possible in positions A and C.- Press the lock button (1).
- Rotate the control handle (2) at 180° on the shaft (3) and engage it in one of the 2 positions: 0° or 180°
Adjusting the Assist Handle
Press the lock button (4).- Adjust the angle of the assist handle (5) and engage in one of 3 positions: A, B or C
Adjusting Angle of Shaft
Press down the locking lever (1).- Adjust the angle of the shaft (2) and engage in in one of 3 positions: A, B, or C
Converting Unit to Power Edger
FSE 41 only
Rotate the control handle (1) 180° relative to the shaft and engage it in position – see “Adjusting the Handles”.- Swing the motor housing (2) at 45° and engage it in position, see “Adjusting Shaft Angle”
Connecting to Power Supply
The voltage and frequency of the machine (see rating plate) must match the voltage and frequency of the power connection.
The minimum fuse protection of the power connection must comply with the specifications – see “Specifications”.
The machine must be connected to the power supply via an earth leakage circuit breaker to disconnect the power supply if the differential current to earth exceeds 30 mA.
The power connection must correspond to IEC 60364 and relevant national regulations.
Extension cord
The design of the extension cord must at least fulfill the same features as the connecting cord on the machine. Observe the design marking (type designation) on the connecting cord. The cores in the cord must have the following minimum cross-section depending on the mains voltage and cord length.
| Cord length | Minimum crosssection |
| 220 V – 240 V: Up to 20 m 20 m to 50 m | 1.5 mm² 2.5 mm² |
| 100 V – 127 V: Up to 10 m 10 m to 30 m | AWG 14/2.0 mm² AWG 12/3.5 mm² |
Insert the plug (1) into the extension cord coupling (2).
Strain Relief
The strain relief (cord retainer) protects the connecting cord against damage.
Make a loop in the extension cord.- Pass the loop (3) through the opening (4).
- Slip the loop (3) over the hook (5) and pull it tight.
- Connect the extension cord plug to a properly installed wall outlet.
Switching On
Make sure you have a secure and balanced footing.- Hold your trimmer with both hands – right hand on the control handle – left hand on the assist handle.
- Stand upright – hold the trimmer in a relaxed position and always on right side of your body.
- Make sure the cutting attachment is not touching the ground or any other objects.
- Squeeze the trigger switch (1).
Switching Off
- Release the trigger switch.
WARNING
Note that the cutting attachment continues to run for a short period after you let go of the switch–flywheel effect.
During longer work breaks – disconnect the plug from the wall outlet.
When the power tool is not in use, store it in such a way that it does not endanger others.
Secure it against unauthorized use.
Storing the Machine
For periods of 3 months or longer
- Thoroughly clean the machine, especially the cooling air inlets.
- Take out the spool, clean it and check it for damage.
The resilience and service life of the nylon line can be increased by storing it in a container filled with water.
- Store the machine in a dry, high or locked location – out of the reach of children and other unauthorized persons.
Replacing Nylon Line
Preparations
- Switch off the trimmer.
- Disconnect the plug from the wall outlet.
- Turn the trimmer on its back.
Removing Remaining Nylon Line
In normal operation, the supply of nylon line in the head is used up completely.
Removing the Spool
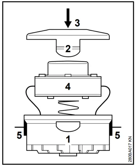
Hold the housing (1) steady.- Press in the tabs (2) and remove the cover (3).
- Pull the spool (4) out of the housing.
Installing a New Spool
Use nylon line with a diameter of 1.4 mm.- Thread the ends of the lines through the openings (5) in the housing (1).
- Place the spool (4) in the housing.
- Press home the cover (3) until both tabs (2) engage with an audible click
Maintenance and Care
| The following intervals apply for normal operating conditions. The specified intervals must be shortened accordingly when working for longer than normal or under difficult cutting conditions (extensive dust, etc.). | Before staffing work | At the end of work and/or daily | Akaam | Monthly | If faulty | If damaged | As required | |
| Complete unit | visual inspection (condition) | X | ||||||
| Clean | X | |||||||
| Connecting cable | check | X | ||||||
| Have replaced by servicing dealerl) | X | |||||||
| Switch | Function test | X | ||||||
| Have replaced by servicing dealerl) | X | X | ||||||
| Cool air intakes | clean | X | ||||||
| Accessible screws, nuts, and bolts | Tighten | X | ||||||
| Cutting attachment (mowing head) | Visual inspection | X | ||||||
| Have replaced by servicing dealerl) | X | |||||||
| Check for a secure fit | X | |||||||
| Safety information label | replace | X | ||||||
1) STIHL recommends STIHL dealers
Minimize Wear and Avoid Damage
Observing the instructions in this manual helps reduce the risk of unnecessary wear and damage to the power tool.
The power tool must be operated, maintained, and stored with the due care and attention described in this instruction manual.
The user is responsible for all damage caused by non-observance of the safety precautions, operating, and maintenance instructions in this manual. This includes in particular:
- Alterations or modifications to the product not approved by STIHL.
- Using tools or accessories which are neither approved or suitable for the product or are of poor quality.
- Using the product for purposes for which it was not designed.
- Using the product for sports or competitive events.
- Consequential damage is caused by continuing to use the product with defective components.
Maintenance Work
All the operations described in the “Maintenance Chart” must be performed on a regular basis. If these maintenance operations cannot be performed by the owner, they should be performed by a servicing dealer.
STIHL recommends that you have servicing and repair work carried out exclusively by an authorized STIHL servicing dealer. STIHL dealers are regularly given the opportunity to attend training courses and are supplied with the necessary technical information.
If these maintenance operations are not carried out as specified, the user assumes responsibility for any damage that may occur. Among other things, this includes:
- Damage to the motor due to neglect or deficient maintenance (e.g. not cleaning cooling air inlets).
- Damage due to incorrect electrical connection (voltage, inadequately rated connecting cords).
- Corrosion and other consequential damage resulting from improper storage.
- Damage to the product resulting from the use of poor quality replacement parts.
Parts Subject to Wear and Tear
Some parts of the power tool are subject to normal wear and tear even during regular operation in accordance with instructions and, depending on the type and duration of use, have to be replaced in good time. Among other parts, this includes:
- Cutting Attachment
- Deflector
Main Parts

| 1 Control handle 2 Switch 3 Strain relief (cord retainer) 4 Power cord 5 Lock button for assist handle 6 Lock button for control handle (FSE 41 only) 7 Assist handle 8 Shaft | 9 Locking lever for motor housing 10 Cooling inlets 11 Motor housing 12 Deflector 13 Line limiter blade 14 Bumper (FSE 41 only) 15 Mowing head # Serial number |
Specifications
Motor
FSE 31, 230 V version
| Voltage: | 230 V |
| Frequency: | 50 Hz |
| Rated current: | 1.1 A |
| Power rating: | 245 W |
| Rated speed under load: | 10,100 rpm |
| Fuse: | min. 10 A |
| Insulation: | II, |
FSE 41, 230 V, 240 V version 1)
| Voltage: | 230 V, 240 V1) |
| Frequency: | 50 Hz |
| Rated current: | 1.7 A |
| Power rating: | 400 W |
| Rated speed under load: | 9,900 rpm |
| Fuse: | min. 10 A |
| Insulation: | II, |
1) Version for Australia
FSE 41, 120 V version
| Voltage: | 120 V |
| Frequency: | 60 Hz |
| Rated current: | 3.8 A |
| Power rating: | 400 W |
| Rated speed under load: | 9,900 rpm |
| Fuse: | min. 10 A |
| Insulation: | II, |
Length
| FSE 31: | 1100 mm |
| FSE 41: | 1180 mm |
Weight
complete with cutting attachment and deflector
| FSE 31: | 2.2 kg |
| FSE 31¹): | 2.8kg |
| FSE 41: | 2.6 kg |
| FSE 41¹): | 3.2kg |
¹) Version with 10-meter power supply cord for the UK
Mowing head
| Nylon line diameter | |
| FSE 31: | 1.4 mm |
| FSE 41: | 1.4 mm |
| Nylon line capacity | |
| FSE31: | 2x4m |
| FSE41: | 2x4m |
Noise and Vibration
Data Noise and vibration data are determined on the basis of the rated maximum speed.
For further details on compliance with Vibration Directive 2002/44/EC visit www.stihl.com/vib.
Sound pressure level Lp to EN 50636-291
| FSE 31: | 82 dB(A) |
| FSE 41: | 87 dB(A) |
Sound power level Lw to EN 50636-2-91
| FSE 31: | 92 dB(A) |
| FSE 41: | 96 dB(A) |
Vibration level ahv to EN 50636-2-91
| Handle, left | handle, right | |
| FSE 31: | 1.2 m/s² | 1.8 m/s² |
| FSE 41: | 2.2 m/s² | 1.3 m/s² |
The K-factor in accordance with Directive 2006/42/EC is 2.0 dB(A) for the sound pressure level and sound power level; the K-factor in accordance with Directive 2006/42/EC is 2.0 m/s for the vibration level. 2
REACH
REACH is an EC regulation and stands for the Registration, Evaluation, Authorisation, and Restriction of Chemical substances.
For information on compliance with the REACH regulation (EC) No. 1907/2006 see www.stihl.com/reach.
Maintenance and Repairs
Users of this machine may only carry out the maintenance and service work described in this user manual. All other repairs must be carried out by a servicing dealer.
STIHL recommends that you have servicing and repair work carried out exclusively by an authorized STIHL servicing dealer. STIHL dealers are regularly given the opportunity to attend training courses and are supplied with the necessary technical information.
When repairing the machine, only use replacement parts that have been approved by STIHL for this power tool or are technically identical. Only use high-quality replacement parts in order to avoid the risk of accidents and damage to the machine.
STIHL recommends the use of original STIHL replacement parts.
Original STIHL parts can be identified by the STIHL part number, the
logo, and the STIHL parts symbol
(the symbol may appear alone on small parts).
Disposal
Observe all country-specific waste disposal rules and regulations.

STIHL products must not be thrown in the garbage can. Take the product, accessories, and packaging to an approved disposal site for environment-friendly recycling.
Contact your STIHL servicing dealer for the latest information on waste disposal.
EC Declaration of Conformity
ANDREAS STIHL AG & Co. KG
Badstr. 115
D-71336 Waiblingen
Germany
declare under our sole responsibility that
| Designation: | Electric trimmer |
| Make: | STIHL |
| Series: | FSE 31 FSE 41 |
Serial identification
number: 4815
conforms to the relevant provisions of Directives 2011/65/EU, 2006/42/EC, 2014/30/EU, and 2000/14/EC and has been developed and manufactured in compliance with the following standards in the versions valid on the date of production:
EN 55014-1, EN 55014-2, EN 60335-1, EN 50636-2-91, EN 61000-3-2, EN 61000-3-3
The measured and guaranteed sound power levels were determined according to Directive 2000/14/EC, Annex VI, using the ISO 11094 standard.
Participating notified body:
VDE Prüf- u. Zertifizierungsinstitut, Merianstraße 28, 63069 Offenbach, Deutschland
Measured sound power level
FSE 31: 92 dB(A)
Guaranteed sound power level
FSE 31: 94 dB(A)
Technical documents deposited at: ANDREAS STIHL AG & Co. KG Produktzulassung
The year of construction, the country of manufacture and the machine number are shown on the machine.
Done at Waiblingen, 15.07.2021
ANDREAS STIHL AG & Co. KG
pp

Dr. Jürgen Hoffmann
Director of Product Certification & Regulatory Affairs
![]()
UKCA Declaration of Conformity
ANDREAS STIHL AG & Co. KG
Badstr. 115
D-71336 Waiblingen
Germany
declare under our sole responsibility that
| Designation: | Electric trimmer |
| Make: | STIHL |
| Series: | FSE 31 FSE 41 |
Serial identification
number: 4815
conforms to the relevant provisions of UK regulations The Restriction of the Use of Certain Hazardous Substances in Electrical and Electronic Equipment Regulations 2012, Supply of Machinery (Safety) Regulations 2008, and Noise Emission in the Environment by Equipment for Use Outdoors Regulations 2001 and has been manufactured in compliance with the following standards in the versions valid on the date of production:
EN 55014-1, EN 55014-2, EN 60335-1, EN 50636-2-91, EN 61000-3-2, EN 61000-3-3
The measured and guaranteed sound power levels were determined in accordance with the UK regulation Noise Emission in the Environment by Equipment for Use Outdoors Regulations 2001, Schedule 9, using the ISO 11094 standard.
Participating notified body:
Intertek Testing & Certification Ltd, Academy Place, 1 – 9 Brook Street, Brentwood, Essex, CM14 5NQ, United Kingdom
Measured sound power level
FSE 31: 92 dB(A)
Guaranteed sound power level
FSE 31: 94 dB(A)
Technical documents deposited at:
ANDREAS STIHL AG & Co. KG
The year of construction, the country of manufacture, and the machine number is shown on the machine.
Done at Waiblingen, 15.07.2021
ANDREAS STIHL AG & Co. KG
pp

Dr. Jürgen Hoffmann
Director of Product Certification & Regulatory Affairs
![]()
0458-280-0121-C
www.stihl.com



Hold the rotating mowing head above the ground – tap it on the ground once – about 3 cm fresh line is advanced.
Press the lock button (1).
Only possible in positions A and C.
Press the lock button (4).
Press down the locking lever (1).
Rotate the control handle (1) 180° relative to the shaft and engage it in position – see “Adjusting the Handles”.
Insert the plug (1) into the extension cord coupling (2).
Make a loop in the extension cord.
Make sure you have a secure and balanced footing.
Hold the housing (1) steady.
Use nylon line with a diameter of 1.4 mm.














