LSC-31 Landscape Series Panel Solar
User Manual
LSC-31 – TECHNICAL SPECIFICATIONS
| Luminosity | 3000 |
| SOLAR PANEL | |
| Type | Monocrystalline |
| Capacity | 18.75 W / 16.2V |
| Li-Ion BATTERY | |
| Capacity | 3.7 Vdc / 115.44WH / 2.6AH |
| Charge & Discharge Temp. | Charge : 0 to/a 45 °C – Discharge :-20 to/a 65 °C |
| Recharge Time | 7 H |
| ILLUMINATION | |
| LED (OSRAM) | 3030 / 42pcs |
| Light Color Temp. | 4000K, Ra 80+ |
| Effciency | 190 lm/W |
| OPERATION | Up to 10 nights |
| Backup (cloudy days) | Mode 1: (15% + PIR) Til Dawn Mode 2: 30% x 5H + (15%+PIR) Til Dawn Mode 3: 35% Til Dawn |
| Operation Modes | Mode 1: Red – Mode 2: Green – Mode 3: Orange |
| Mode Indication LED | Mode 1: Red – Mode 2: Green – Mode 3: Orange |
| Capacity Indication | Green : ³ 70% Orange : 70% to/a 30% Red / Rojo: < 30% |
| PIR Sensor | 120º, >5m |
| IP Code | IP65 / IK08 |
| Directives | CE (IEC60598-1 / IEC60598-2-3 / EN55015 / EN61547) |
| Light Sensitivity | > 50 Lux: Off < 10 Lux: On |
| Installation Height & Spacing | 3 to/a 3.5 m, 12m |
WARNING
- Keep the device away from fire and rise risk
- There are no replaceable parts inside the lamp. If disassembled warranty will be void.
- Do not remove battery for any other use. If backup time is too short, lamp’s battery needs to be recharged under bright sunlight
- Clean solar panel regularly for more effcient operation and longer backup (Suggestion: At least every 6 months)
- Long term storage might cause battery damage and leakage, Leakage might cause battery spontaneous combustion
- Operation temperature for this lamp must comply with Technical Speciffications
Parts Identification

- Solar Panel
- PIR Sensor
- LED Lamp
- Indicator Light
- Switch
- Bracket
Special Features:
Monocrystalline Solar Panel Li-ion Rechargeable Battery Configurable Operation Modes Material: Aluminum alloy & PC
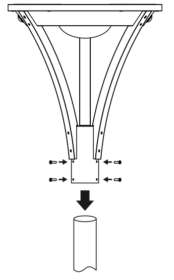
Installation Instructions
- Fix the lamp, supports, and bracket with screws

- Fix the Bracket to the pole using screws

Solar Panel must be oriented toward sun and avoiding any shade for battery charging efficiency
IMPORTANT
- Use standard installation accessories
- If stored, charge the lamp every 3 months, to avoid battery damage
- If stored for more than 1 year without charging, make a charge & discharge process to assure battery is in good condition, otherwise it is not allowed to use.
Operation Instructions
Power On/Off: Press switch for 1.5 Sec, approx.
Mode Change: Press switch shortly to choose Mode 1, Mode 2, or Mode 3.
Select Operation Mode according to your own requirements
Available Modes:
Mode 1 (Red): (15%+PIR) Until dawn
Mode 2 (Green): 30% x 5Hr + (15%+PIR) Until Dawn
Mode 3 (Orange): 35% Until Dawn
Battery Power Indication:
Green: > 70%
Orange: Between 70% and 30%
Red: < 30%
Note: Indicator regularly shows Battery Capacity. When changing Operation Mode it shows selected mode for 5 Sec, then it returns to show Battery Capacity
Dimensions
Packing Information
| Model | Packing Type | PackedUnits | Dimensions | Carton Weight | |
| Net | Gros | ||||
| LSC-31 | Carton | 1 | 505 x 160 x 500 | 9 | 9.5 |
Net and Gross weight information is for reference purposes only


















