Xmart HL-WALL-18 Solar Lamp

TECHNICAL SPECIFICATIONS
- Luminosity 1000
SOLAR PANEL
- Type & Capacity Monocrystalline 1.5 W
Li-Ion BATTERY
- Capacity 3.7 Vdc / 7.4WH / 2.000 mAH
- Charge & Discharge Temperature Charge
- Recharge Time Discharge
ILLUMINATION
- LED (OSRAM) 2835 – 20pcs
- Light Color Temperature 4000K, Ra 80+
- Efficiency 190 lm/W
OPERATION
- Backup (During cloudy days) Up to 10 nights
- Operation Modes Mode 1: 100 LM + PIR 1000 LM (10Seg)
- Mode 2: 0 LM + PIR 1000 LM (10Seg)
- Mode 3: 300 LM x 6h
- Mode Indication Mode 1: 1 Flash
- Mode 2: 2 Flashes
- Mode 3: 3 Flashes
- Capacity Indication N/A
- PIR 120º, >3m
- IP/IK Codes IP65 / IK10
- Directives CE (IEC60598-1 / IEC60598-2-3 / EN55015 / EN61547)
- Installation Height 2.5 to/a 3.5 mts
WARNING
- Keep the device away from fire and fire risk
- There are no replaceable parts inside the lamp. If disassembled warranty will be void.
- Do not remove the battery for other use. If backup time is too short, the lamp’s battery needs to be recharged under bright sunlight
- Clean solar panels regularly for more efficient operation and longer backup (Suggestion: At least every 6 months)
- Long-term storage might cause battery damage and leakage, Leakage might cause battery spontaneous combustion
- The operation temperature for this lamp must comply with Technical Specifications
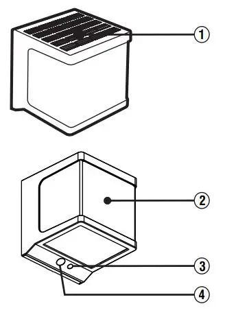
Parts Identification
- Solar Panel
- Lampshade
- Switch
- PIR And Indicator
Special Features:
- Monocrystalline Solar Panel
- Li-ion Rechargeable Battery
- Equipped With PIR Sensor
- Configurable Operation Modes
- ABS & PC Case
- Compact Design, High Brightness
Installation Instructions
Fix the lamp to the wall with a screw
Solar Panel must be oriented toward the sun for battery charging efficiency
IMPORTANT
- Use standard installation accessories
- If stored, charge the lamp every 3 months, to avoid battery damage
- If stored for more than 1 year without charging, make a charge & discharge process to assure the battery is in good condition, otherwise, it is not allowed to use.
Operation Instructions
- Power On/Off: Press switch for 1.5 Sec, approx.

- Mode Change: Press the switch shortly to choose Mode 1, Mode 2, or Mode 3.
The indicator LED will flash once when selecting Mode 1, twice when selecting Mode 2, and 3 times when selecting Mode 3
Select Operation Mode according to your own requirements
Available Modes:
- Mode 1: 100LM + PIR 1000LM x 10s
- Mode 2: 0LM + PIR 1000LM x 10s
- Mode 3: 300LM x 6H
Operation Mode Indicator (Red LED):
- Mode 1: 1 Flash
- Mode 2: 2 Flashes
- Mode 3: 3 Flashes
Dimensions
- Top View
- Front View
- Side View
- Rear View
Easy-to-Install Design

Packing Information
| Model | Packing Type | Packed Units | Dimensions | Carton Weight | |
- HL-WALL-18 Inner Box 1 138 x 130 x 134 0.57 0.64
- Carton 27 432 x 408 x 415 15.60 17.4
Net and Gross weight information is for reference purposes only




















