INNOVATE EI6121 TV Wall Mount

Thank you for choosing this ERGO-INNOVATE product! At ERGO-INNOVATE we strive to provide you with the best quality products and services in the industry. Should you have any issues, please don’t hesitate to contact at [email protected]
IMPORTANT SAFETY INFORMATION
- Please carefully read all instructions before attempting installation. If you do not understand the instructions or have any concerns or questions, please contact our customer service at [email protected].
CAUTION: Avoid potential personal injuries and property damage! - Do not use this product for any purpose that is not explicitly specified in this manual. Do not exceed weight capacity. We are not liable for damage or injury caused by improper mounting, incorrect assembly or inappropriate use.
- This product is designed for use in wood stud, solid concrete, concrete block and brick walls – DO NOT install into drywall alone.
- The wall must be capable of supporting five times the weight of the TV and mount combined.
Check the VESA Pattern of Your TV before the Installation

If this mount is NOT compatible, please contact customer service at [email protected] to find a compatible mount.
Verify Your Wall Construction
CAUTION: DO NOT install into drywall alone.
If you are are not sure the wall construction, please contact our product support line at [email protected].
Tools Needed (Not lncluded)
Supplied Parts and Hardware
Warning: This product contains small items that could be a choking hazard if swallowed.
Before starting assembly, verify all parts are included and undamaged. Do not use damaged or defective parts. lf you require replacement parts, contact our customer service at
[email protected].
Please note: Not all hardware included in this package will be used.
Supplied Parts and Hardware for Step 1
Supplied Parts and Hardware for Step 2
TV Bolts [Only one bolt size fits your TV]
Note: The bolts are shown in accordance with the actuals.
Supplied Part and Hardware for Step 3
Note: The lag screw is shown in accordance with the actual size.
Step 1 Choose the Combination that Applies to Your VESA Hole Pattern
Attach the extender brackets to faceplate using 4 pcs bolts [E1] and 4 pcs nuts [E2] for pattern [B] and [C].
Note: The small bump on the extender bracket [02] should be aligned with the hole on the faceplate [01].
Step 2: Secure the Faceplate [01] or Faceplate [01] with Extender Brack
Bolt length: Verify adequate thread engagement with bolts or bolts/spacers combination. We recommend thread engagement by at least 5 turns.
- Too short will not hold the TV.
- Too long will damage the TV.

Note: If necessary, the spacers can be used in multi-layer. If the installation fails after trying various methods, please contact customer service at [email protected].
Step 3 Attach the Arm Assembly/Wall Plate [03] to Wall
For wood stud installation, follow STEP 2A For concrete installation, follow STEP 2B
Step 3A Wood Stud Option
WARNING:
- Avoid potential personal injury or property damage! DO NOT over-tighten the lag screws [A1]. Tighten the lag screws [A1] only until the they are pulled firmly against the arm assembly/wall plate [03].
- DONOT USE ANCHOR [A2] FOR THIS STEP!
- Ensure the arm assembly/wall plate [03] is securely fastened to the wall before continuing to the next step.
- Any material covering the wall must not exceed 5/8 in. (16 mm)
- Stud center must be verified.



Step 3B Solid Concrete or Concrete Block Option
WARNING:
- Avoid potential personal injury or property damage! DO NOT over-tighten the lag screws [A1]. Tighten the lag screws [A1] only until they pulled firmly against the wall plate.
- Ensure the wall plate is securely fastened to wall before continuing to the next step.
- Any material covering the wall must not exceed 5/8 in. (16 mm)
- Mount the wall plate directly onto the concrete surface.
- Minimum solid concrete thickness: 203 mm (8 in.)
- Minimum concrete block size: 203 x 203 x 406 mm (8 x 8 x 16 in.)
- Never drill into the mortar between blocks.


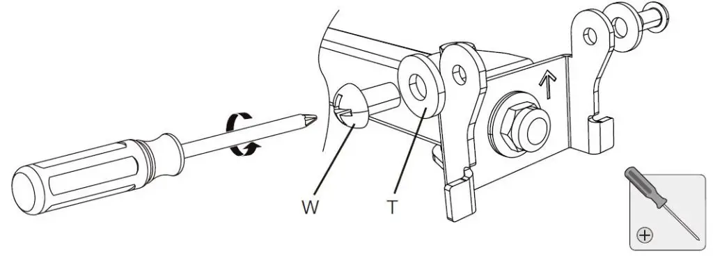
Step 4 Secure the TV onto the Arm
Step 4-1 Remove the preassembled bolts [T] and washers [W] from the arm, and keep them for the use in step 4-3.
Step 4-2 Hang the TV to the arm.
Step 4-3 Tighten the bolts [T] and washers [W] to secure TV to the arm.
Step 5 Tilt Adjustment
- Slightly loosen both tilt bolts [T] slightly.
- Adjust TV to your desired tilt angle.
- Retighten both tilt bolts [T] to fix the tilt angle.

Step 6 Level Adjustment
- Slightly loosen the preassembled bolt [L] using wrench.
- Level your TV.
- Retighten the preassembled bolt [L] using wrench to secure the TV in place.

Note: Please do not-over-tighten or over-loosen the bolt [L].
Thank you again for choosing this ERGO-INNOVATE product!
All of us at ERGO-INNOVATE do appreciate your product purchase. We hope that you are as happy with your product as we are designing and manufacturing it for you. We strive to provide you with the best quality products and services in the industry. Should you have any issues, please don’t hesitate to contact us at [email protected].

























