Secura QLF418-B2 TV Wall Mount 
IMPORTANT SAFETY INSTRUCTIONS
PLEASE READ ENTIRE MANUAL PRIOR TO USE
SAVE THESE INSTRUCTIONS
- Does your TV (including accessories) weigh more than 110 lb (49.8 kg)?
No — Perfect!
Yes — This mount is NOT compatible. Visit Secura-av.com or call
US: +1 (800) 359-5520 | EMEA: +31 (0) 495 580 852 | UK: +44 (0) 800 056 2853 to find a compatible mount. - What is your wall made of?

- Do you have all the tools needed?

- Ready to begin?
Please read through these instructions completely to be sure you’re comfortable with this easy install process.
Also check your TV owner’s manual to see if there are any special requirements for mounting your TV.
If you do not understand these instructions or have doubts about the safety of the installation, assembly or use of this product, contact Customer Service at US: +1 (800) 359-5520 | EMEA: +31 (0) 495 580 852 | UK: +44 (0) 800 056 2853.
CAUTION: Avoid potential personal injury or property damage!
- This product is designed for use in wood stud, solid concrete, and concrete block walls – DO NOT install into drywall alone
- The wall must be capable of supporting five times the weight of the TV and mount combined
- Do not use this product for any purpose not explicitly specified by manufacturer
- Manufacturer is not responsible for damage or injury caused by incorrect assembly or use.
Dimensions
STEP 1 Attach TV Bracket to TV
WARNING: This product contains small items that could be a choking hazard if swallowed.
Before starting assembly, verify all parts are included and undamaged. If any parts are missing or damaged, do not return the damaged item to your dealer; contact Customer Service. Never use damaged parts!
NOTE: Not all hardware included will be used.
- Measure Your TV Hole Pattern
Measure the width and height of your TV hole pattern in mm.
Record your measurements:
Width _________mm x Height _________mm
| inches | cm | mm |
| 3 | 7.5 | 75 |
| 4 | 10 | 100 |
| 7 ⅞ | 20 | 200 |
| 11 ¾ | 30 | 300 |
| 15 ¾ | 40 | 400 |
| 23 ⅝ | 60 | 600 |
inch dimensions are approximate

Assemble Your TV Bracket
Based on your TV hole pattern measurements, determine which TV bracket configuration to use, A, B, C, D, E or F. 


- Assemble TV bracket extenders 05 onto TV bracket 04 as illustrated. Secure using eight screws 06 in the corner holes shown.
- Assemble TV bracket extenders 05 onto TV bracket 04 as illustrated. Secure using eight screws 06 in the corner holes shown.
Select TV Screw Diameter
Test the TV screw diameters (M6, and M8) in the threaded inserts on the back of your TV to determine which screw diameter fits your TV. 
Select TV Screw Length
- For flat-back TVs, no spacers 03 required.
- Spacers 03 supplied for:
- Round (irregular) back TVs
- Extra space needed (for cables or inset mounting holes)

Standard configurations are shown. For special applications, or if you are uncertain about your hardware selection, contact Customer Service.
CAUTION:
Verify adequate thread engagement with your screw/washer/spacer combination AND TV bracket.
- Too short will not hold the TV.
- Too long will damage the TV.

Attach TV Bracket
Position your TV bracket configuration (A, B, C, D, E or F) onto your TV, making sure the bracket is both centered and level over your TV hole pattern.
NOTE: The hanging tab H on faceplate 04 must be oriented toward the top of the TV. Secure the TV bracket using your selection: (a) screw/washer or (b) screw/washer/spacer.
CAUTION: Avoid potential personal injuries and property damage! DO NOT use power tools for this step. Tighten the screws only enough to secure the TV bracket to the TV. DO NOT overtighten the screws.
STEP 2 Attach Wall Plate to Wall
WARNING: This product contains small items that could be a choking hazard if swallowed.
Before starting assembly, verify all parts are included and undamaged. If any parts are missing or damaged, do not return the damaged item to your dealer; contact Customer Service. Never use damaged parts!
NOTE: Not all hardware included will be used.
STEP 2A Attach Wall Plate to Wall
Wood Stud Option
CAUTION: Avoid potential personal injury or property damage!
- Drywall covering the wall must not exceed 5/8 in. (16 mm)
- Minimum wood stud size: nominal 2 x 4 in. (51 x 102 mm) actual 1 ½ x 3 ½ in. (38 x 89 mm)
- Minimum horizontal space between lag bolts: 16 in. (406 mm)
- Stud center must be verified

CAUTION: Avoid potential personal injury or property damage!
Improper use could reduce the holding power of the lag bolt 09 . Tighten the lag bolts 09 only until the washers 10 are pulled FIRMLY against the wall plate 08 .
DO NOT over-tighten the lag bolts 09 .
Go to STEP 3 on PAGE 16.
STEP 2B Attach Wall Plate to Wall
Solid Concrete or Concrete Block Option
CAUTION: Avoid potential personal injury or property damage!
- Mount wall plate 08 directly onto concrete surface (no wall covering)
- Minimum solid concrete thickness: 8 in. (203 mm)
- Minimum concrete block size: 8 x 8 x 16 in. (203 x 203 x 406 mm)
- Minimum horizontal space between fasteners: 16 in. (406 mm)
Concrete Installation Kit CMK1 is not included
Contact Customer Service to inquire about the additional hardware.
CAUTION: Avoid potential personal injury or property damage!
Improper use could reduce the holding power of the lag bolt C1 . Tighten the lag bolts C1 only until the washers C2 are pulled FIRMLY against the wall plate 08 .
DO NOT over-tighten the lag bolts C1 .
Fischer UX10 x 60R C3 – included in the Concrete Installation Kit CMK1).
STEP 3 Hang Your TV
STEP 3 Parts and Hardware
Before starting assembly, verify all parts are included and undamaged. If any parts are missing or damaged, do not return the damaged item to your dealer; contact Customer Service. Never use damaged parts!
WARNING: This product contains small items that could be a choking hazard if swallowed.
Attach Arm to Wall Plate
HEAVY! You may need assistance with this step.
CAUTION: Avoid potential injury or property damage!
For concrete applications, the base of the arm 11 must remain centered in the wall plate 08 .
NOTE: When mounting to wood stud walls, the arm 11 can be adjusted within the wall plate 08 for optimal positioning.
CAUTION: Avoid potential injury or property damage! Screws 12 must be installed to secure the arm 11 to the wall plate 08 .
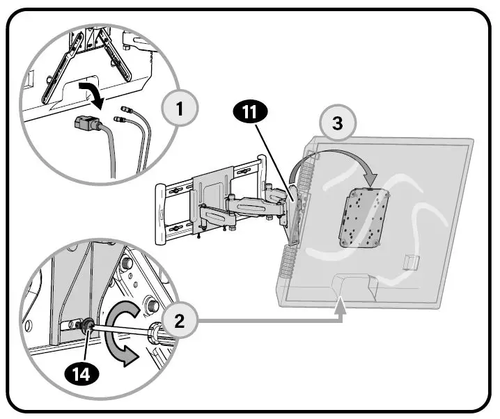
Hang TV onto Arm
HEAVY! You may need assistance with this step.
CAUTION! Avoid potential injury or property damage!
This screw 14 and washer 15 must be installed to secure the TV onto arm 11 .
Manage Cables
IMPORTANT: Fully extend arm assembly 11 to ensure you have enough slack in the cables to prevent binding.
TV Adjustments
TILT ADJUSTMENT
Your TV should adjust easily when moved, then stay in place.
If your TV is too loose or too tight, adjust the tilt tension knob T .
NOTE: Once your TV is in place, tighten the tilt tension knob T to prevent unwanted movement.
LEVEL ADJUSTMENT
To adjust the leveling of your TV, loosen screw 14 , level your TV, then tighten screw 14 .
CAUTION! Screw 14 must be installed to secure the TV onto the arm 11 .
SIDE-TO-SIDE
CAUTION: Avoid potential injury or property damage!
For concrete applications, the base of arm 11 MUST remain centered in wall plate 08. For wood stud ONLY: Arm 11 can be adjusted within wall plate 08 for optimal positioning.
REMOVING THE TV
HEAVY! You may need assistance with this step.
REMOVING THE ARM
Thank you for choosing Secura! Please take a moment to let us know how we did:
Legrand AV Inc.
6436 City West Parkway Eden Prairie, MN 55344 USA
US: +1 (800) 359-5520
Legrand AV Netherlands B.V.
Franklinstraat 14
6003 DK Weert Netherlands
UK: +44 (0) 800 056 2853
EMEA: +31 (0) 495 580 852
Authorized Representative for the UK
Starline Holding Technology Ltd. Unit C Island Road
Reading RG2 0RP UK
Legrand AV Inc. and its affiliated corporations and subsidiaries (collectively, “Legrand”), intend to make this manual accurate and complete. However, Legrand makes no claim that the information contained herein covers all details, conditions, or variations. Nor does it provide for every possible contingency in connection with the installation or use of this product. The information contained in this document is subject to change without notice or obligation of any kind. Legrand makes no representation of warranty, expressed or implied, regarding the information contained herein. Legrand assumes no responsibility for the accuracy, completeness or sufficiency of the information contained in this document.
©2021 Legrand AV Inc. All rights reserved. Secura is a brand of Legrand. Secura, the Secura logo, and MountFinder are trademarks of Legrand.
All other brand names or marks are used for identification purposes and are trademarks of their respective owners.


No — Perfect!



















