goobay 49745 TV Wall Mount Basic

Product Information
The product is a TV wall mount called Basic FULLMOTION (M). It is a universal wall mount designed to securely attach your TV or screen to vertical and stable room walls. The mount has a load capacity of 35 kg and is suitable for screens with a size range of – 178 cm (37 – 70 inches). It supports VESA standards including 200×200, 300×300, 400×200, 400×400, and 600×400. The mount has a swivel range, tilt range, and rotation range for flexible positioning. It comes with various components such as the TV wall mount, mounting rail, Allen key, spanner, screws, washers, spacers, and user manual.
Product Usage Instructions
- Safety Instructions: Read and follow the safety instructions provided in the user manual to prevent accidents and damages.
- Preparation: Ensure you have all the required tools mentioned in Tab. 2 before starting the installation process.
- Mounting on a Stable Wooden Wall: Refer to Fig 1 for detailed instructions on how to mount the TV wall mount on a stable wooden wall.
- Mounting on a Concrete Wall: Follow the instructions provided in Fig. 2 for mounting the TV wall mount on a concrete wall.
- Attaching the Mounting Rails to the Screen: Use Fig. 3 as a reference to attach the mounting rails to your screen.
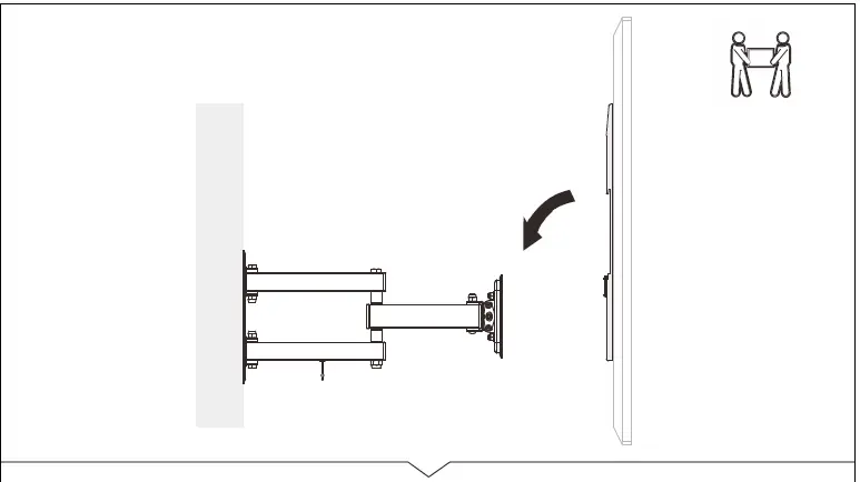
- Mounting the Screen and Securing it: Follow the steps shown in Fig. 4 to mount the screen securely. This step should be performed by two people.
- Hooking the Cable into the Bracket: Use Fig. 5 as a guide to hook the cable into the bracket for a neat installation.
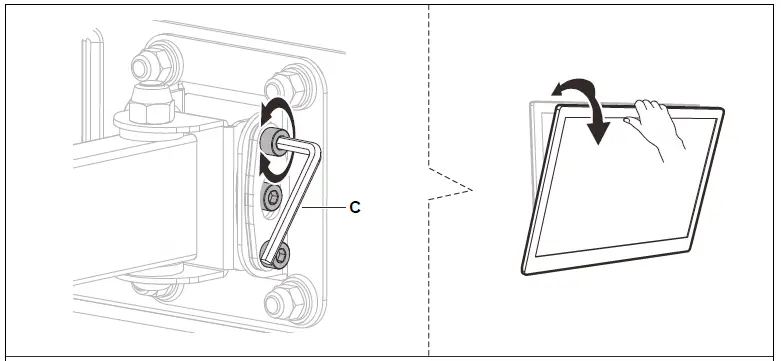
- Adjusting the Angle of Rotation: Refer to Fig. 6 to adjust the angle of rotation according to your desired viewing position.
- Adjusting the Tilt Angle and Swivel Angle: Follow the instructions provided in Fig. 7 to adjust the tilt angle and swivel angle for optimal viewing experience.
- Maintenance, Care, Storage, and Transport: Follow the guidelines provided in the user manual for maintenance, care, storage, and transport of the TV wall mount.
For more detailed warranty terms and conditions, visit www.mygoobay.com.
Note: The product is intended for indoor use only. Using it in other ways or not following the safety instructions may result in accidents, injuries, and damages to persons and property.
TV wall mount Basic FULLMOTION
Tab. 1


Tab. 2

Safety instructions
The user manual is part of the product and contains important information for correct use.
- Read the user manual completely and carefully before use.
The user manual must be available for uncertainties and passing the product.
- Keep this user manual.
- Do not modify product and accessories.
- Use product, product parts and accessories only in perfect condition.
- In case of questions, defects, mechanical damage, trouble and other problems, non-recoverable by the documentation, contact your dealer or pro-ducer.
Not suitable for children and persons with physically and/or mentally limited abilities.
- Secure packaging, small parts and insulation against accidental use.
- Mounting, dismounting, care, storage, transport and disposal may only be carried out by users with basic mechanical knowledge.
- Have maintenance and repair work carried out by qualified personnel only.
- Avoid stresses such as heat and cold, moisture and direct sunlight vibration and mechanical pressure.
- Place, install and transport product, product parts and accessories in a safe way.
- When working with burdens, secure yourself and the working place, let a second person help you.
- Do not install the product to places with direct sunlight or bright light.
This contributes to eye fatigue. - Do not hold limbs between shear parts during use.
- Moving product parts can pinch or squeeze limbs.
- Keep enough space around product and to the whole system to ensure proper ventilation and mobility.
- Compare the specifications of all products used.
- The specifications of all used products must match or be within the specified range.
- The included mounting material is only suitable for mounting on massive stone or concrete ceilings. The bearing surfaces must be able to withstand the weight of the wall bracket and the devices attached to it.
- For other ceiling types use suitable mounting material.
- Use the mounting screws provided.
- Do not over-tighten the screws.
- Threads can be damaged.
Description and Function
Product
The product is a universal wall mount for attaching your TV or screen to vertical and stable room walls.
Scope of Delivery
See Tab. 1.
- TV wall mount (A)
- Mounting rail (B)
- Allen key (C)
- Spanner (D)
- M6x14 (M-A)
- M8x16 (M-B)
- M6x30 (M-C)
- M8x35 (M-D)
- Washer D8 (M-E)
- Spacer (M-F)
- Spacer (M-G)
- Wall screw 6.3×55 (W-A)
- Concrete dowel 10.0×45 (W-B)
- Washer D6 (W-C)
- User Manual
Required Tools
See Tab. 2.
- Line finder (1)
- Spirit level (2)
- Pencil (3)
- Drill (4)
- Suitable drill bit (wood Ø 4.5 mm / concrete Ø 10.0 mm) (5)
- Socket wrench (6)
- Philips screwdriver (7)
Specifications
| Item No. | 49745 |
| Screen size | 94 – 178 cm (37 – 70″) |
| Load capacity | 35 kg |
| Wall distance | 63 – 427 mm |
| Distance between threaded holes according to VESA standard (vertical x horizontal) | 200×200, 300×300, 400×200, 400×400, 600×400 |
| Dimensions (depth x width x height) / Weight | 427 x 655 x 420 mm / 3.1 kg |
| Swivel range | -90° ~ +90° |
| Tilt range | -15° ~ +10° |
| Rotation range | -3° ~ +3° |
Intended Use
We do not permit using the device in other ways like described in chapter „Description and Function“ or in the „Safety Instructions“. Use the product only in dry interior rooms. Not attending to these regulations and safety instructions might cause fatal accidents, injuries, and damages to persons and property.
Preparation
- Check the scope of delivery for completeness and integrity.
Mounting
Mounting on a stable wooden wall
See Fig 1.
Mounting on a concrete wall
See Fig. 2.
Attaching the mounting rails to the screen
See Fig. 3.
Mounting the screen and secure it
See Fig. 4.
This step must be carried out by 2 people!
Hooking the cable into the bracket
See Fig. 5.
Adjusting the angle of rotation
See Fig. 6.
Adjusting the tilt angle and swivel angle
See Fig. 7.


Maintenance, Care, Storage and Transport
- Let maintenance and repair work only be carried out by qualified personnel.
- Protect the joints from dirt and grease them regularly with light machine oil.
- Only use a dry and soft cloth for cleaning.
Use caution when cleaning to avoid scratches. In case of heavy soiling, the clea-ning cloth can be slightly moistened with water. - Do not use detergents or chemicals.
- Regularly check the tightness of product/screws.
Fixing holes can remain visible when the product is removed. After prolonged use, a stain may remain on the underground. - Store the product out the reach of children and in a dry and dust-protected ambience when not in use.
- Keep and use the original packaging for transport.
Disposal instructions
This product does not belong into the household waste. At the end of its working life, give it back to the manufacturer, the sales outlet or established for this pur-pose, public collection points for free. Details of disposal are regulated by the respective country‘s law. Recyclables are into the recycle circuit, in order to gain new raw materials. The following recyclable materials are collected in municipal collection: Waste glass, plastics, scrap metal, sheets and much more. With this type of scrap usage you are making an important contribution to protecting our environment.
Warranty
Detailed warranty conditions on www.mygoobay.com.
Symbols used
| For indoor use only | IEC 60417- 5957 | ![]() |
REV2022-11-21
V1.0aw
Goobay®
by Wentronic GmbH
Pillmannstraße 12
38112 Braunschweig
Germany
Made in China
© by Wentronic Deutschland
Hotline: +49 (0180) 5005882
E-Mail: [email protected]
Web: www.wentronic.com/content/mygoobay/
(at the „basic rate“ according to ECJ, ruling of 02.03.2017, ref. C-568/15).)





















