Kimex 012-1141 Fixed TV Wall Mount

Read the entire instruction manual before you start installation and assembly. If you have any questions regarding any of the instructions or warnings, please contact your local distributor for assistance.
CAUTION
- Use with products heavier than the rated weights indicated may result in instability causing possible injury.
- Mounts must be attached as specified in assembly instructions. Improper installation may result in damage or serious personal injury.
- Safety gear and proper tools must be used. This product should only be installed by professionals.
- This product is designed to be installed only on solid concrete walls or brick walls.
- Make sure that the supporting surtace Wii Surely supports the combined weight or the equipment and all attached hardware and components.
- Use the mounting screws provided and DO NOT OVER-TIGHTEN mounting screws
- This product contains small items that could be a choking hazard if swallowed. Keep these items away from children.
- This product is intended for indoor use only. Using this product outdoors could lead to product failure and personal injury.
IMPORTANT
Ensure that you have received all parts according to the component checklist prior to installation. If any parts are missing or faulty, telephone your local distributor for a replacement.
MAINTENANCE
Check that the bracket is secure and safe to use at regular intervals (at least every three months).
- 50×50/75×75
- 100×100/200×100
- 200×200/300×200
- 300×300/400×200
- 400×300/400×400
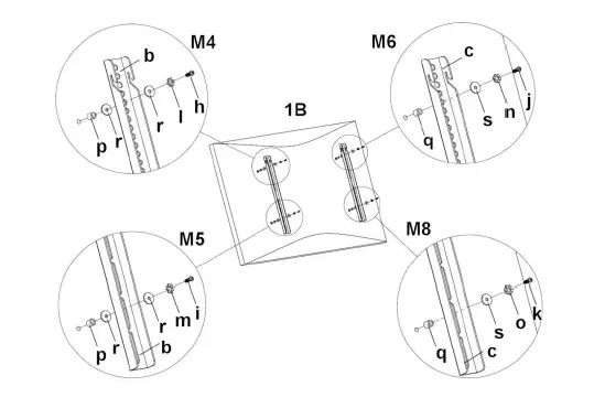
SPARE PARTS
ASSEMBLING
Mounting on a PLANE rear TV
Mounting on a non-FLAT rear TV
Mounting the bracket to the wall
Attaching monitor to the wall















