HYUNDAI HHE552201 TV Wall Mount

TECHNICAL PARAMETER
- Max VESA: 400 x 400mm;
- Maximum load: 30KG;
- Tilt: -10~+10° degrees.
PARTS LIST
Please check the parts in the package in comparison with the following list, make sure all of the parts are in the package. Never use defective parts, never replace part with different specifications.

- A. M6x50 Self-tap Screw (3)
- B. 10×50 Plastic Anchor (3)
- C. M6 Washer (7)
- D. 5mm Plastic Sleeve (4)
- E1. M4x16 screws (4)
- E2. M6x16 screws (4)
- F. M8x16 screws (4)
- G. M6x12 screws (4)
- H. M6 Cap nut (4)
- I. Level (1)
Installation and operation instructions
Note: please read the instructions carefully before installation!
Step 1:
- (a) Use the wall plate as a template to draw three holes.
- (b) Drill holes of dia 8mm and 60mm depth in the wall.

Step 2:
- (a) Wedge three plastic anchors into the holes.
- (b) Screw one self-tap screw into the middle plastic anchor and keep the screw 3mm away from the wall.

Step 3: Install the wall plate. Hang the wall plate onto the middle self-tap screw and keep the level and screw the other two self-tap screws into the holes.

Step 4: Install the adapter. Install the monitor/TV to the front plate with suitable screws selected from the parts bag.

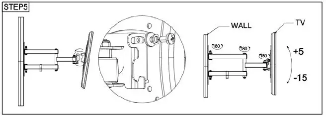
Step 5: Hand the TV and fix the screws. Loosen the screws and adjust 5” up and 15° down the angle of the monitor/TV.

TECHNICAL SPECIFICATIONS
- Fits for tv size: 23’’-55’’
- Max load capacity: 30kg
- Distance to wall: 70-400mm
- VESA: 100*100mm, 100*200mm, 200*100mm, 200*200mm, 400*400mm
- Tilt: -10~+10°
- Swivel Range: ±90°
- Screen Level: N/A
- Material: Cold rolled steel
- Surface technology: Spray paint
© 2022 The Investment Company Europe B.V. HYUNDAI is a trademark of HYUNDAI Corporation Holdings, Korea. Licensed to The Investment Company Europe B.V. All rights reserved.
Licensed by HYUNDAI Corporation Holdings, Korea. Imported/Distributed by The Investment Company Europe B.V. exclusively developed for sales in the Netherlands, Belgium, and Luxembourg.
PATENT PENDING
The artwork and design of this package are protected by European copyright law and may not be reproduced, distributed, displayed, published or used for any purpose without prior written permission. It is not permitted to alter, or reproduce any trademarks or copyright notice from this package.
KEEP THIS INSTRUCTION MANUAL FOR REFERENCE AS IT CONTAINS IMPORTANT INFORMATION.















