
Universal Flat Screen
TV Wall Mount
Low Profile Flat Bracket
VK-4000-BK

INSTRUCTION MANUAL
Please read these instructions carefully and retain them for future reference.
THE HIGHLIGHTS
• Universal Flat Screen TV Wall Mount
• Fits TVs up to 42″
• Tool kit included
• Step by step installation template
• Steel structure insuring maximum strength
FEATURES
- Maximum weight capacity of 20kg
- 200mm x 200mm maximum VESA screen mounting size
- 160mm x 105mm maximum wall mounting size
- Spirit level included
INCLUDED WITH YOUR TV MOUNT
- Wall plate and screen brackets
- Spirit level
- Drilling installation template
- Assortment of all necessary wall bolts, screws, and washers
- User manual
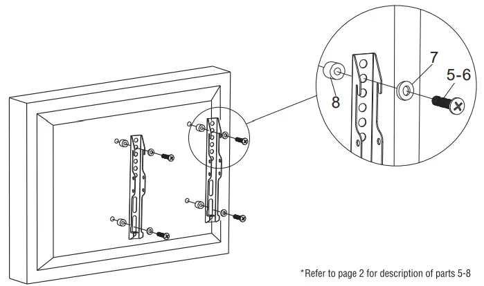
DESCRIPTION OF PARTS
1) Wallplate. 2) Screen brackets. 3) Spirit level. 4) Drilling installation template. 5 – 11) Tool kit: assortment of wall bolts, screws, and washers.

INSTALLING YOUR TV MOUNT
STEP 1: WALL PLATE INSTALLATION
- A) WOOD STUD INSTALLATION:
- Use a high-quality electronic stud tinder (commercially available) to locate the dead center of the wood stud and mark the location with a pencil.
- Attach the spirit level to the drilling template and with the help of an assistant ensure the drilling template is level, position the drilling template against the wall in the desired mounting location.
- Mark two positions that are in alignment with the wood stud. Takedown the drilling template and pre-drill a hole in the wood stud at the marked location.
- Position the wall plate against the wall and line up the mounting slots with the drilled holes. Check the spirit level to verify that the wall plate is level.
- For each location, insert a bolt and washer into the wall.
- Tighten each bolt by turning clockwise until tight.
CAUTION: Do not over-tighten the bolts – doing so may cause unnecessary damage to the wall. Avoid excessive torque.
CAUTION: Do not release the wall plate until it is properly mounted and secured to the wall.

B) CONCRETE / BRICK WALL INSTALLATION:
Note: The anchors must be used for concrete and brick wall installation.
- Attach the spirit level to the drilling template, with the help of an assistant place the drilling template into position against the wall, using the spirit level to ensure it is level.
- Mark four holes to be used for securing the mount, and remove the drilling template. Mark the holes directly onto the concrete or brick, never between the blocks.
- Drill holes using an electric drill and a masonry drill bit at the positions you marked.
- Insert an anchor into each hole.
- If necessary, a hammer can be used to lightly tap each anchor into place so that they are flush with the wall.
- Once all of the anchors are in place, move the wall plate into position. Check the spirit level to verify that the wall plate is level.
- Insert bolts and washers into the anchors and tighten. Do not fully tighten until all bolts are in place.

(STEP 2: DISPLAY BRACKET INSTALLATION )
The installation kit includes screws of various diameters and lengths to ensure optimal installation, however, some screens may require different size screws. In this case, please ensure that the necessary screws are bought.
- Place your screen down on a soft, flat surface, and locate the mounting points that are located on the back of the screen.
- Determine which screw is the correct length by carefully inserting a straw or toothpick, and mark how deep the mounting point is.
- According to the size of the screen’s holes, choose the corresponding screws and washers and thread them in line.
- Tighten the screws to secure the brackets on the screen.

( STEP 3: FINAL INSTALLATION & ADJUSTMENT)
- Hook the TV rails/hooks over the top of the wall plate.
- Rotate the long screw at the bottom of the bracket to tighten and secure the mount.

MAINTENANCE
- Check the mounting serews every two months for tightness
SAFETY PRECAUTIONS
- Make sure these instructions are read and completely understood before attempting installation. If you are unsure of any part of this installation, please contact a professional installer for assistance.
- The product should only be used with the parts provided by the manufacturer.
- The wall mount is intended for personal use only. Commercial use invalidates the warranty and the supplier cannot be held responsible for injury or damage caused when using the product for any other purpose than that which it was intended for.
- The wall or mounting surface must be capable of supporting the combined weight of the mount and the display, otherwise, the structure must be reinforced.
- Safety gear and proper tools should be used. Whilst the installation of the bracket can be done by a single person, we recommend two people for installation, as some TVs may be large and heavy. Failure to follow instructions could lead to property damage, serious injury, or death.
- This wall mount is not intended for use by children, or persons with reduced physical, sensory or mental capabilities, or lack of experience and knowledge, unless they have been given supervision or instruction concerning the use of the device by a person responsible for their safety. Extreme caution must be exercised.
- Children should be supervised to ensure that they do not play with the wall mount. Packaging must never be left within reach of children since it is potentially dangerous.
- This product contains small items that could be a choking hazard if swallowed. Keep these items away from young children.
This product was designed to be installed on wood stud walls and solid concrete walls. Before installing, make sure the wall will support the combined load of the equipment and hardware. Never exceed the maximum load capacity, or else it may result in product failure or personal injury.
Note: this product is intended for indoor use only. The use of this product outdoors could lead to product failure or personal injury.









