
VESA Adapter for Compatible AOC Monitors
Instruction Manual

SKU: MOUNT-AOC1A
Scan the QR code with your mobile device or follow the link for helpful videos and specifications related to this product.
https://vivo-us.com/products/mount-aoc1a
GET IN TOUCH | Monday-Friday from 7:00am-7:00pm CST
www.vivo-us.com
Chat live with an agent!
309-278-5303
WARNING!
If you do not understand these directions, or if you have any doubts about the safety of the installation, please call a qualified technician. Check carefully to make sure there are no missing or defective parts. Improper installation may cause damage or serious injury. Do not use this product for any purpose that is not explicitly specified in this manual. Do not exceed weight capacity. We cannot be liable for damage or injury caused by improper mounting, incorrect assembly, or inappropriate use.
WARNING: CHOKING HAZARD
SMALL PARTS – NOT FOR CHILDREN UNDER 3 YEARS. ADULT SUPERVISION IS REQUIRED.
PACKAGE CONTENTS

ASSEMBLY STEPS
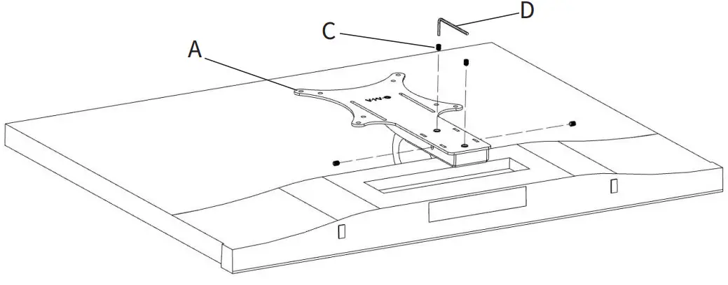
STEP 1
Slide the VESA Bracket (A) onto the monitor’s mounting post.

STEP 2
Insert Set Screws (C) into threaded holes in Adapter Bracket (A), and tighten with the Allen Wrench (D).
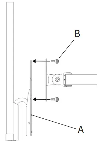
STEP 3
Mount the Adapter Bracket (A) with the monitor to your VESA mount using M4x12mm Thumbscrews (B). Do not overtighten; the Thumbscrews only need to be finger-tight.

Love your new VIVO setup and want to share?
Tag us in your photo! @vivo_us
Open Monday – Friday 7:00 am – 7:00 pm CST,
our dedicated support team can offer immediate assistance with rapid response times. If any parts are received damaged or defective, please contact us. We are happy to replace parts to ensure you have a fully functioning product.
[email protected]
www.vivo-us.com
| AVG. RESPONSE TIME (within office hrs): 1HR 8M – 23% within < 15m – 38% within < 30m – 61% within < 1hr – 83% within < 2hr – 92% within < 3hrAVG. RESOLUTION TIME (within office hrs): < 15 M AVG. RESOLUTION TIME (within office hrs): < 15 M |
FOR MORE VIVO PRODUCTS, CHECK OUT OUR WEBSITE AT: www.vivo-us.com















