V I V O MOUNT-VTK1 VESA Adapter for Compatible Viotek Monitors Instruction Manual
SMALL PARTS – NOT FOR CHILDREN UNDER 3 YEARS. ADULT SUPERVISION IS REQUIRED.
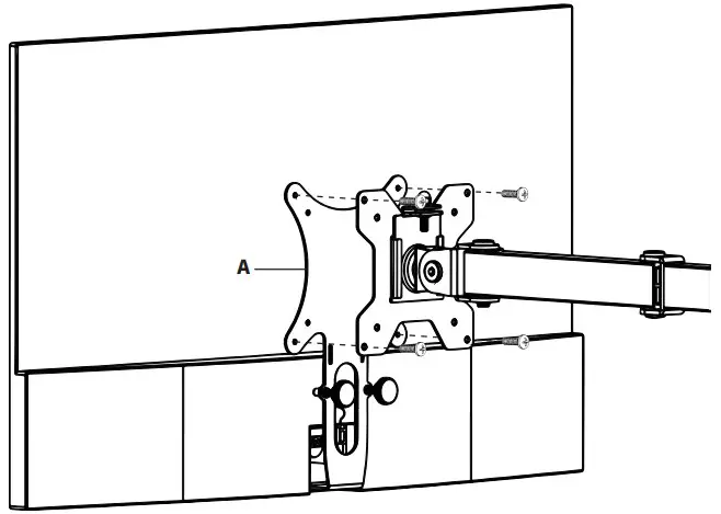
PACKAGE CONTENTS
- A (x1) VESA Adapter

- S-A (x2) M4x22mm Thumbscrew

- S-B (x2) M4 Caps

ASSEMBLY STEPS
Thread M4x22mm Thumbscrews (S-A) into VESA Adapter (A) just far enough to attach M4 Caps (S-B).
Slide VESA Adapter (A) into the opening in the back of the monitor until it clicks into place. Tighten
M4x22mm Thumbscrews (S-A) to secure it in place. To remove VESA Adapter (A), loosen M4x22mm Thumbscrews (S-A), then press the tab on the back of the monitor to slide VESA Adapter (A) off.
Assemble VESA Adapter (A) to your mount or stand using the existing hardware (Not included).
Love your new VIVO setup and want to share? Tag us in your photo! @vivo_us
Open Monday – Friday 7:00am – 7:00pm CST,
our dedicated support team can offer immediate assistance with rapid response times. If any parts are received damaged or defective, please contact us. We are happy to replace parts to ensure you have a fully functioning product.
SKU: MOUNT-VTK1
Scan the QR code with your mobile device or follow the link for helpful videos and specifications related to this product. Instruction Manual
https://vivo-us.com/products/mount-vtk1
GET IN TOUCH | Monday-Friday from 7:00am-7:00pm CST

[email protected]
AVG. RESPONSE TIME (within office hrs): 1HR 8M
– 23% within < 15m
– 38% within < 30m
– 61% within < 1hr
– 83% within < 2hr
– 92% within < 3hr

www.vivo-us.com
Chat live with an agent!
AVG. RESOLUTION TIME (within office hrs): < 15 M

309-278-5303
AVG. RESOLUTION TIME (within office hrs): 5M 4S


















