
GFV22CB
21.5″ GAMING MONITOR

USER MANUAL
In order to continue serving our customers and providing the best products, our product information including our user manuals may receive updates from time to time. Please check our website for the latest user manuals and product materials.
Safety Precautions
Read and observe the following warnings and information below.
- Before cleaning, always unplug your monitor. It is recommended that you use a dry cloth or slightly damp cloth to clean your monitor. A dry cloth is, however, the safest. If using a damp cloth, wait for your monitor to completely dry before plugging it in again.
- Do not use alcohol or ammonia-based cleaner and/or liquids to clean your monitor.
- This monitor features ventilation openings on the back of the unit. Avoid blocking these openings to prevent the monitor from overheating.
- Avoid placing this monitor near any heat sources, e.g., portable heaters or heating vents, as this may cause damage to your monitor.
- Do not spray cleaner and or any kind of liquid directly onto the monitor’s screen or any part of the monitor.
- Do not insert anything into any part of the monitor especially the ventilation openings.
- Always make sure your monitor is placed on a secure, level surface to prevent it from falling and sustaining damage.
- Unplug your monitor during any extended periods of non-use.
- Do not place heavy items on the monitor or monitor cables.
- Do not attempt to disassemble or remove parts from the monitor. Any disassembly or modification not performed by an authorized technician can result in damage to the monitor and/or possible exposure to high voltage electricity which may lead to serious injury or death.
VIOTEK® shall not be held responsible for injury or damage of products or persons due to failure to adhere to the aforementioned precautions or any others noted hereafter.
The terms HDMI and HDMI High-Definition Multimedia Interface, and the HDMI Logo are trademarks or registered trademarks of HDMI Licensing Administrator, Inc. in the United States and other countries.
Section 2: Box Contents



Extra screws may be included as a backup.
Product Overview
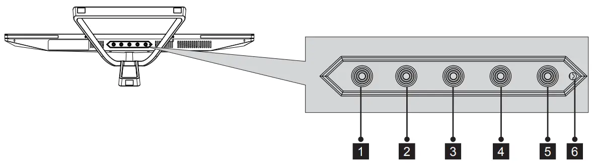
3.1 – Monitor Buttons

1 M Menu Button: Press to display the OSD menu or enter sub-menus.
2
Down Button: Press to move down in the menus.
3
Up Button: Press to move up in the menus.
4 E Exit Button: Press to exit.
5
Power Button: Press to turn the monitor on/off.
6 LED Indicator: Changes colors to indicate status. Refer to Section 8.
3.2 – Monitor Ports

7 DC IN Power Connector: Insert the power cable to supply power to the monitor.
8 DisplayPort (DP) 1.2 Connector: Insert one end of the DP cable into the computer’s DP output and connect the other end to the monitor’s DP port.
9 HDMI 1.4 Connectors: Insert one end of the HDMI cable into the computer’s HDMI output and connect the other end to the monitor’s HDMI port.
10 Audio Output: Insert one end of the audio cable into an external audio source, e.g., speakers or headphones, to pass audio signals through the monitor.
Stand Installation
- Open the package and take out the product with foam still attached. Gently place it on a desktop or table.
- Take out the stand and base. Connect the stand into the base hole and use the included screwdriver and four NO.1 screws to fasten base to the stand.

- Attach the stand to monitor via the opening on the back and use one NO.2 screw o fix the stand onto the monitor. Make sure the stand is securely attached to the back of the monitor. Remove face-down the monitor from the remaining foam section and stand it up on the desired surface.

If needed, the stand can easily be detached from the monitor by loosening the NO. 2 screw on the top of the stand. Gently place the monitor face-down on a flat surface, then unscrew the stand to remove it.
Section 5: Wall Mounting
VESA and/or mounting accessories not included.
- Open the package and take out the monitor with the foam still attached. Gently place it on a desktop or table. If the monitor is attached to the stand, remove the stand by removing the screw on the back of the monitor just above the stand.
- Attach the four NO. 3 screws into the mounting holes at the back of the monitor.

- Follow the directions that came with your mounting kit (not included) to mount the monitor on the wall or monitor stand.

Section 6: Basic Operation
- Insert one end of the DP cable into your PC’s graphics card. An HDMI cable may also be used. HDMI cable not included.
For optimal refresh rate (or “performance”), it is recommended to use an DP cable with the monitor’s corresponding connector. - Connect the other end of the cable to the corresponding connector on your monitor. See the image below.

- Connect the power cable to your monitor then connect the other end to your power source. It is recommended that you use a surge protector with adequate
voltage if a wall outlet cannot be reached directly. - Locate the power button on the monitor and press it to turn the monitor on.
Overclocking — DisplayPort (DP) Only
Depending on your graphics card, it may be possible to overclock the monitor’s refresh rate up to 140Hz (overclocked from 120Hz native). Doing so may limit max. resolution as determined by your graphics card.
Overclocking can result in image distortion based on the configuration of the connected device. It may be possible to reduce distortion by lowering the monitor resolution.
AMD FreeSync
This feature is off by default. To activate, you must have hardware with FreeSync capability, a DP or HDMI cable, and the latest graphic drivers. After connecting your computer and monitor with a DP or HDMI cable, you need to enable the function in your graphics card menu. See your graphics card manufacturer’s documentation for instructions.
Section 7: Indicator Light
Solid blue light indicates power is on and the monitor is operating normally. Flashing blue light indicates no video source, no horizontal or vertical signal has been
detected or voltage is low. Please ensure your computer is on and all video cables are fully inserted and/or connected.

Section 8: OSD Setup
The On-Screen Display (OSD) Menu may be used to adjust your monitor’s settings and appears on the screen after turning on the monitor and pressing the M button.
When using the monitor for the first time, settings will automatically adjust to optimal settings according to your computer’s configuration.
- Press any one of the buttons (M,
,
, E,
) to activate the navigation window.
- Press M
to enter the OSD menu.
- Press
or
to browse Main Menu settings (Brightness, Image, Color Temp., etc.).
• Highlight the desired setting, then press M to enter the sub-menu.
• Press
or
to browse sub-menus, then press M to highlight the desired function.
• Press
or
to adjust the parameter, then press M to confirm the changes and exit the current screen.
4. Press E
to exit the current screen.
8.1 – OSD Menu Functions
| 1 1 11[ 1 1 [II | H•111,11 Ilt 1 | “1. 1 • It | ‘HI 1 11 |
| Brightness | Brightness | 0-100 | Adjust display brightness |
| Contrast | 0-100 | Adjust display contrast | |
| ECO | Standard, Game, RTS, FPS, Movie, Text | Set visual mode | |
| DCR | On | Turn on the DCR function | |
| Off | Turn off DCR function | ||
| Image | Aspect | Auto | Best for overall use |
| Wide | Set image aspect ratio to fullscreen | ||
| 4:3 | Set image aspect ratio to 4:3 | ||
| Color Temp. | Color Temp. | Warm, Cool, User | Set the display color temperature mode |
| RED | 0-100 | Customize the display screen RGB component according to preference | |
| BLUE | 0-100 | ||
| GREEN | 0-100 | ||
| OSD Setting | Language | English, | Set OSD language |
| OSD H. Position | 0-100 | Adjust the OSD Horizontal position | |
| OSD V. Position | 0-100 | Adjust the OSD Vertical position | |
| OSD Timer | 0-60 | Adjust OSD display time | |
| Transparency | 0-100 | Adjust OSD transparency | |
| Reset | Reset | None | Reset monitor configurations |
| Misc | Signal Source | HDMI1, HDMI2, DP | DP or HDMI signals input |
| Volume | 0-100 | Adjust audio volume | |
| Low blue ray | 0-100 | Set blue light filtering level | |
| FreeSync | On, Off | Turn on/off FreeSync | |
| Over Driver | High, Middle, Low, Off | Set Overdrive function |
Section 9: ECO Modes and Game plus
- Press any one of the buttons(M,
,
, E,
)to activate the navigation window.
- Press

to switch Game plus modes. Choose the crosshair icon best suited for your game. These game icons are primarily designed to optimize your aim during shooting games, though they can be used for other scenarios.
- Press
(
) button to switch ECO modes. These modes (Standard, Text, Movie, Game, FPS, and RTS) can be used to optimize settings according to your activity. Standard mode is suitable for most activities.

Section 10: Troubleshooting
The screen is blank
- Press the power button to turn the monitor on.
- Confirm the brightness and contrast settings are set normally.
- Check if the Indicator Light is flashing. If so, there is no signal from your video source.
- If your source is a notebook or laptop, be sure that its settings are in mirror or extension mode and the device itself is powered on.
The image is out of focus
- Ensure the video cable is inserted properly at both ends.
The screen is flashing - Try an alternative power source. Insufficient power may cause this issue.
- Ensure devices such as non-shielded speakers, fluorescent lighting, AC
transformers, table fans, etc. are a safe distance away from your screen to avoid magnetic disturbances.
The color bleeds or visual effects appear unusual. - If your screen is all red or blue, or any colors disappear, check to see that the cable is properly inserted. A loose connection can cause a bad signal.
- Try connecting to another video source for comparison.
The screen appears to be scrolling, rolling, or moving unusually.
- Check that your source frequency is within 60-144Hz.
- Reconnect and ensure your video cable is secure.
The monitor needs cleaning - Make sure the monitor has been powered off before cleaning.
- Always use soft, non-abrasive cloth when cleaning.
- Use a dry, non-abrasive cloth to gently remove debris or dust.
- If necessary, lightly dampen a non-abrasive cloth with water and gently clean the surface.
- Never use alcohol or ammonia-based cleaning solutions.
- Never spray liquid directly onto any part of the monitor.
The indicator light does not work - Check if the power is on.
- Check if the power line is connected with power.
Cannot plug and play.
- Inspect if the monitor is compatible with PC.
- Inspect if the graphics card is compatible with the monitor.
- Inspect if the pins in the interface are curved.
Dim image
- Adjust the brightness and contrast ratio.
Image jitter/moire pattern - Nearby electric equipment may interfere with the monitor.
Light indicator is on or flashing, but there is no image displayed on the screen - Check if the monitor power is on.
- Check if the graphics card is installed properly.
- Check if the signal line connects securely with the monitor.
- Check if the pins in the interface are curved.
Check that the monitor signal source is set correctly. - Press and hold the E button on the OSD for ~2 seconds to auto-reset the image.
Color shortage (red, green, or blue) - Check cable connectors for curved or damaged pins. Replace cables if needed.
Color difference (colors are not optimized)
- Press M (
) twice to bring up the OSD menu. Scroll down to RESET, press(
). Press E
to exit menus after the color reset process has been completed.
Section 11: Specifications
| Item | Detail |
| Model Number | GFV22CB |
| Screen Size | 21.5″ |
| Display Panel | TN |
| Viewing Angle | H170° / V160° |
| Aspect Ratio | 16:9 |
| Resolution | 1920 x 1080p |
| Refresh Rate | 60Hz (Overclock: 144Hz) |
| LED Indicator | Power on: Blue (solid); Power saving: Blue (flashing) |
| Brightness | a220cd/m2; Max: 250cd/m2 |
| Default Color Temperature | 6500 |
| Color Gamut | 92% sRGB; 68% NTSC |
| Pixel Pitch | 0.24795 x 0.24795 mm (H x V) |
| Response Time | 4ms GTG (OD) |
| Display Colors | 16.7M colors |
| Ports | DisplayPort x 1, HDMI x 2, Audio out x 1 |
| Power | AC 100-240V (50/60Hz) |
| Adapter | DC12V, 2.5A |
| Power Consumption | Typical: 22W; Max: 32W; Standby 5 0.5W |
| OSD Language | English, |
| Usage Temp. | 32°F-104°F (operating), -4°F— 140°F (storage), 1085% RH (non-condensing) |
| Tilt Angle | Forward 5°; Backward 15° (±2°) |
| VESA Mounting | 75 x 75 mm |
| Dimensions (without stand) | 19.34 x 1.45 x 11.56 in (491.3 x 36.9 x 293.6 mm) |
| Dimensions (with stand) | 19.34 x 6.17 x 15.1 in (491.3 x 156.7 x 383.5 mm) |
| Weight (without stand) | 4.92 lb (Net) |
| Weight (with stand) | 5.51 lb (Net) / 7.94 lb (Gross) |
Section 12: Three-Year Limited Hardware Warranty
Your VIOTEK® GFV22CB Monitor (”Product”) includes a Three-Year Limited Hardware Warranty (“Warranty”). The Warranty covers product defects in materials and workmanship under normal use. This Warranty is limited to residents of the United States and Canada only and is available only to original purchasers. This Warranty gives you specific legal rights and you may also have other rights which vary from state to state.
This warranty starts on the date of your purchase and lasts for three years (the “Warranty Period”). The Warranty Period is not extended if the Product is repaired or replaced. We may change the availability of this limited warranty at our discretion, but any changes will not be retroactive.
Warranty services are provided by Viotek Warranty Pro (“WP”). If a hardware defect arises and a valid claim is received within the Warranty Period, at its option and to the extent permitted by law, WP will: (1) repair the hardware defect by using new or refurbished parts that are equivalent to new in performance and reliability; or (2) exchange the Product with a new product or a refurbished one that is substantially equivalent to the original product. This Warranty is for one replacement only of like-items and does not cover items out of production if the product is no longer made or stocked. This Warranty is not assignable or transferable. The original purchaser may call WP’s toll-free number at 1-855-229-9472 for service requests.
When a product or part is exchanged, any replacement item becomes your property and the replaced item becomes WP’s property. This warranty only covers technical hardware defectiveness during the warranty period and under normal use conditions. WP does not warrant the uninterrupted or error-free operation of this Product. This Warranty does not cover any damage due to: (a) transportation; (b) storage; (c) improper use; (d) failure to follow the product instructions or to perform any preventive maintenance; (e) modifications; (f) unauthorized repair; (g) normal wear and tear; or (h) external causes such as accidents, abuse, or other actions or events beyond our reasonable control.
Important: Do not disassemble the Product. Disassembling the Product will void this Warranty. Only WP or a party expressly authorized by WP should perform service on this Product.
DISCLAIMER OF WARRANTY: THE REMEDIES DESCRIBED ABOVE ARE YOUR SOLE AND EXCLUSIVE REMEDIES AND OUR ENTIRE LIABILITY FOR ANY BREACH OF THIS LIMITED WARRANTY. OUR LIABILITY SHALL UNDER NO CIRCUMSTANCES EXCEED THE ACTUAL AMOUNT PAID BY YOU FOR THE DEFECTIVE PRODUCT, NOR SHALL WE UNDER ANY CIRCUMSTANCES BE LIABLE FOR ANY CONSEQUENTIAL, INCIDENTAL, SPECIAL, OR PUNITIVE DAMAGES OR LOSSES, WHETHER DIRECT OR INDIRECT.
SOME STATES DO NOT ALLOW THE EXCLUSION OR LIMITATION OF INCIDENTAL OR CONSEQUENTIAL DAMAGES, SO THE ABOVE LIMITATION OR EXCLUSION MAY NOT APPLY TO YOU. THE DURATION AND REMEDIES OF ALL IMPLIED WARRANTIES, INCLUDING WITHOUT LIMITATION THE WARRANTIES OF MERCHANTABILITY AND FITNESS FOR A PARTICULAR PURPOSE ARE LIMITED TO THE DURATION OF THIS EXPRESS LIMITED WARRANTY.
DECLARATION OF CONFORMITY This device complies with Part 15 of the FCC Rules. Operation is subject to the following two conditions: (1) This device may not cause harmful interference, and (2) this device must accept any interference received, including interference that may cause undesired operation.
FCC RELATED INFORMATION: This equipment has been tested and found to comply with the limits for a Class B digital device, pursuant to Part 15 of the FCC Rules. These limits are designed to provide reasonable protection against harmful interference in a residential installation. This equipment generates, uses, and can radiate radio frequency energy and, if not installed and used in accordance with the instructions, may cause harmful interference to radio communications. However, there is no guarantee that interference will not occur in a particular installation. If this equipment does cause harmful interference to radio or television reception, which can be determined by turning the equipment off and on, the user is encouraged to try to correct the interference by one or more of the following measures:
- Reorient or relocate the receiving antenna.
- Increase the separation between the equipment and receiver. Connect the equipment into an outlet on a circuit different from that to which the receiver is connected.
- Consult the dealer or an experienced radio/TV technician for help.
The manufacturer is not responsible for any radio or TV interference caused by unauthorized modifications to this equipment. Such modifications could void the
user’s authority to operate the equipment.

COPYRIGHT © 2020 VIOTEK. ALL RIGHTS RESERVED.

























