VIOTEK NFI29CB 29-Inch LED WFHD 75Hz Multimedia Gaming Monitor
Safety Precautions
Read and observe the following warnings and information below.
- Before cleaning, always unplug your monitor. It is recommended that you use dry cloth or lightly damp cloth to clean your monitor. Dry cloth is, however, the safest. If using a damp cloth, wait for your monitor to completely dry before plugging it in again.
- Do not use alcohol or ammonia-based cleaner and/or liquids to clean your monitor.
- This monitor features ventilation openings on the back of the unit. Avoid blocking these openings to prevent the monitor from overheating.
- Avoid placing this monitor near any heat sources, e.g., portable heaters or heating vents, as this may cause damage to your monitor.
- Do not spray cleaner and or any kind of liquid directly onto the monitor’s screen or any part of the monitor.
- Do not insert anything into any part of the monitor, especially the ventilation openings.
- Always make sure your monitor is placed on a secure, level surface to prevent it from falling and sustaining damage.
- Unplug your monitor during any extended periods of non-use.
- Do not place heavy items on the monitor or monitor cables.
- Do not attempt to disassemble or remove parts from the monitor. Any disassembly or modification etc. not performed by an authorized technician can result in damage to the monitor and/or possible exposure to high voltage electricity which may lead to serious injury or death.
VIOTEK® shall not be held responsible for injury or damage of products or persons due to failure to adhere to the aforementioned precautions or any others noted hereafter.
The terms HDMI and HDMI High-Definition Multimedia Interface, and the HDMI Logo are trademarks or registered trademarks of HDMI Licensing Administrator, Inc. in the United States and other countries.
Box Contents

Product Overview
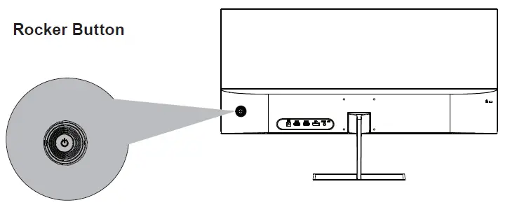
3.1 – Monitor Buttons

| Actions | Description |
| Rocker Up | Gameplus timer shortcut key |
| Rocker Down | Gameplus crosshair shortcut key |
| Rocker Left | Display mode menu shortcut key |
| Rocker Right | Signal source selection menu shortcut key |
| Press Rocker | Press and hold for ~6s to turn on or off the monitor. Quick-press to enter the OSD menu. Quick-press to Confirm operations / settings |
| Actions | Description |
| Rocker Up | Move up |
| Rocker Down | Move down |
| Rocker Left | Return to previous menu / Adjust value |
| Rocker Right | Enter next menu / Adjust value |
Monitor Ports

- Power Connector: Insert the power cable to supply power to the monitor.
- HDMI Connectors: Insert one end of the HDMI cable into the computer’s HDMI output and connect the other end to the monitor’s HDMI port.
- DP Connector: Insert one end of the DP cable into the computer’s DP output and connect the other end to the monitor’s DP port.
- Audio Output: Insert the audio cable for the output of audio signals.
Stand Installation
Keep the foam underneath the monitor before attaching the stand.
- Open the package and take out the monitor with foam still attached. Gently place it face-down on a desktop or table.
- Take out the stem and base. Use the included screwdriver and two screws to fasten base to the stem.

- Remove the foam covering the back of the monitor. Locate the two top slots of the opening on the back of the monitor. Insert the mounting plate into the two top slots. Continue to press in until it clicks into place to make sure the stand is installed in place.

- Place the monitor on your desktop or table after completing the installation and carefully adjust the monitor’s angle and/or orientation as desired.

- With the stand fully assembled, remove the remaining foam on the monitor and stand it up on a flat, level desktop or table. Press the button to remove the monitor from the bracket if mounting.

Make sure the monitor is laid on a flat surface before removing the stand.
Mount Installation
- Open the package and take out the product with foam still attached. Gently place it on a desktop or table. Remove the extra parts and the foam covering the monitor. If the monitor is already attached to the stand, remove the stand.

- Tighten four screws (not included) onto the mounting holes on the back of the monitor.

- Install the monitor on the wall, mount, or fixture as desired.
Basic Operation
- Insert one end of the DP cable (included) into your PC’s graphics card. An HDMI cable (not included) may also be used.
- Connect the other end of the cable to the corresponding port on your monitor.
- Connect the power cable to your monitor, then connect the other end to your power source. It is recommended that you use a surge protector with adequate voltage if a wall outlet cannot be reached directly.
- Locate the power button on the monitor and press and hold it for ~6s to turn the monitor on.
If you cannot locate the power button, please refer to Section 3.1.
Connecting an audio device (headphones, external speaker, etc.) through the audio out port may disable other audio devices.
VIOTEK Adaptive-Sync
Adaptive sync eliminates image tearing, stuttering and ghosting by adjusting of a monitor’s vertical refresh rate to the frame rate of the graphics card. It is compatible with GPUs that use AMD® FreeSync™ or NVIDIA® G-Sync™. The feature is off on VIOTEK monitors by default and must be manually enabled in the monitor’s OSD (see Section 8: OSD). To use this feature, the connecting device must be compatible with adaptive sync (FreeSync and/or G-Sync); have the latest graphic drivers; and be connected to the monitor using a DisplayPort (DP) cable.
Indicator Light

Solid blue light indicates power is on and the monitor is operating normally. Flashing blue light indicates no video source, no horizontal or vertical signal has been detected or voltage is low. Please ensure your computer is on and all video cables are fully inserted and/or connected.
OSD
The On-Screen Display (OSD) Menu may be used to adjust your monitor’s settings and appears on the screen after turning on the monitor and pressing the Rocker button on the back of the monitor.
When using the monitor for the first time, settings will automatically adjust to optimal settings according to your computer’s standard configuration settings.
- Press the Rocker button to enter the OSD screen.
- Push the Rocker button up or down to browse functions.
a. Highlight the functions you want to set and push the Rocker button to the right to enter the sub-menu.
b. Push the Rocker button up or down to browse the sub-menu. Then push the Rocker button to the right to highlight the functions you want to set.
c. Push the Rocker button up or down to highlight the options. Push the Rocker button to the right to confirm the settings and exit the current screen. - Push Rocker button to the left to return to exit the current screen and return to the previous menu.
| Main Menu | Sub-Menu | Options | Description |
|
Picture | Brightness | 0~100 | Adjust the overall lightness or darkness of the entire image |
| Contrast | 0~100 | Adjust the degree of difference between dark and bright areas of the image | |
|
DCR | On | Turn on dynamic contrast ratio (DCR) function which automatically adjusts image brightness based on what is being displayed | |
| Off | Turn off DCR function | ||
| ECO | Standard, Movie, Text, Game, FPS, RTS | Switch between preset display profiles | |
|
Color | Color temp. | Standard, Warm, Cool, sRGB, User Define | Set the display color temp. based on your preference |
| Red | 0~100 | Adjust individual RGB elements | |
| Green | 0~100 | ||
| Blue | 0~100 | ||
|
OSD Setting |
Language | English, 中文, 한국어, Deutsch, Español, Italiano, Français |
Set OSD language |
| OSD Horizontal | 0-100 | Adjust the OSD horizontal position | |
| OSD Vertical | 0-100 | Adjust the OSD vertical position | |
| OSD Transparency | 0-100 | Set the OSD overall transparency | |
| OSD Time Out | 10~60 | Set how long the OSD remains open after non-use | |
| Setup | Input Source | Auto Select, DP, HDMI 1, HDMI 2 | Display and/or change the input signal |
| Reset | N/A | Reset monitor configurations |
| Main Menu | Sub-Menu | Options | Description |
|
Other | Display Size | Full Screen, Auto, 4:3 | Set aspect ratio |
| Low Blue | Off, Weak, Strong | Set the filter to reduce harmful blue light emitted from the display | |
| Over Driver | On, Off | Turn on/off the function that enhances the monitor’s response time to decrease lag time | |
| FreeSync (Adaptive Sync) | On, Off | Turn on/off the Adaptive-Sync function (required for G-Sync and/or Freesync) | |
| HDR | Off, Auto, On | Turn on or off the HDR function |
OSD Shortcuts
- Push the Rocker button to the left to switch ECO modes. These modes (Standard, Movie, Text, Game, FPS, RTS) can be used to optimize settings according to your activity. Standard mode is suitable for most activities.

- Push the Rocker button to the right to switch select signals input source.

- Push the Rocker button DOWN to switch Game plus modes. Choose the crosshair icon best suited for your game. These game icons are primarily designed to optimize your aim during shooting games, though they can be used for other purposes.

- Push the Rocker button UP to set the GAME TIME.

Troubleshooting
The screen is blank
- Press the power button to turn on the monitor.
- Confi rm the brightness and contrast settings are set normally.
- Check if the indicator light is flashing. If so, this indicates there is no signal from your video source.
- If your source is a notebook or laptop, be sure that its settings are in mirror or extension mode and the device itself is powered on.
The image is out of focus
Ensure the video cable is inserted properly at both ends.
The screen is flashing
- Try an alternative power source. Insufficient current can be causing this issue.
- Ensure devices such as non-shielded speakers, fluorescent lighting, AC transformers, table fans, etc., are a safe distance away from your screen to avoid magnetic disturbances.
The color bleeds or visual effects appear unusual.
- If your screen is all red or blue, or any colors disappear, check to see that the cable is properly inserted. A loose connection can cause a bad signal.
- Try connecting to another video source for comparison. The screen appears to be scrolling, rolling, or moving unusually.
- Check that your source frequency is within 75Hz.
- Reconnect and ensure your video cable is secure. The indicator light does not work
- Check that the power is on.
- Check that the power line is connected with power. Cannot plug and play.
- Ensure the monitor is compatible with PC.
- Ensure the graphics card is compatible with the monitor.
- Check that the pins in the interface are not curved.
Dim image
- Adjust the brightness and contrast ratio.
Image jitter/moire pattern
- Nearby electric equipment may interfere with the monitor.
the light indicator is on or flashing, but there is no image displayed on the screen
- Check that the monitor power is on.
- Check that the graphics card is installed properly.
- Check that the signal line connects securely with the monitor.
- Check that the pins in the interface are not curved. Color shortage (red, green, or blue)
- Check cable connectors for curved or damaged pins. Replace cables if needed.
Cleaning
Take the following steps when cleaning the monitor. Do not press the monitor display with hands or other objects; otherwise, there is a risk of damaging the screen.
- Power off the monitor and PC.
- Disconnect the power cord from the product. Do not touch any cords or cables with wet hands. Electric shock may result.
- Use a dry, non-abrasive cloth to gently remove dust and debris.
- Lightly wet another soft cloth in water. Ring the cloth out well. Gently wipe the exterior of the product.
Never use alcohol, solvent, surfactant or ammonia-based cleaning solutions. Do not spray water or detergent directly on the product. - Connect the power cord to the product when cleaning is finished.
- Power on the product and PC.
Specifications
| Item | Detail |
| Model Number | NFI29CB |
| Screen Size | 29’’ |
| Display Type | ADS |
| Viewing Angle | H178° / V178° |
| Aspect Ratio | 21:9 |
| Resolution | 2560 x 1080p |
| Backlight | E-LED |
| LED Indicator | Power on: Blue (solid); Power saving: Blue (flashing) |
| Typical Brightness | 300 cd/m² (max.) |
| Default Color Temp. | 7500 |
| Color Gamut | 119%~123% sRGB; 85%~88% NTSC;90%~91% Adobe RGB |
| Contrast Ratio | 1000:1 (Static) |
| Pixel pitch | 0.2628 × 0.2628 (H x V) |
| Response Time | 7ms (5ms OD) |
| Refresh Rate | 75Hz (max.) |
| Ports | 1x DP, 2x HDMI 1.4, 1x Audio Out (3.5mm) |
| Power | 12V / 4A |
| Power Consumption | Max: 48W; Standby <=0.5W |
| OSD Language | English, 中文, 한국어, Deutsch, Español, Italiano, Français |
| Usage Temp. | 32°F~95°F (operating), -4°F~140°F (storage), 10-90% RH (non-condensing) |
| Tilt Angle | Forward 5°; Backward 15° |
| VESA Mounting | 75 x 75 mm |
| Dimension (with stand) | 227.02 x 16.76 x 6.7 in (686.4 x 425.7 x 170.1mm) |
| Weight | 8.16 Ib. / 11.68 Ib. (incl. packaging) |
Three-Year Limited Hardware Warranty
Your VIOTEK® NFI29CB LED Monitor (“Product”) includes a Three-Year Limited Hardware Warranty (“Warranty”). The Warranty covers product defects in materials and workmanship under normal use. This Warranty is limited to residents of the United States and Canada only and is available only to original purchasers. This Warranty gives you specific legal rights and you may also have other rights which vary from state to state.This warranty starts on the date of your purchase and lasts for three years (the “Warranty Period”). The Warranty Period is not extended if the Product is repaired or replaced. We may change the availability of this limited warranty at our discretion, but any changes will not be retroactive. Warranty services are provided by Viotek Warranty Pro (“WP”). If a hardware defect arises and a valid claim is received within the Warranty Period, at its option and to the extent permitted by law, WP will: (1) repair the hardware defect by using new or refurbished parts that are equivalent to new in performance and reliability; or (2) exchange the Product with a new product or a refurbished one that is substantially equivalent to the original product. This Warranty is for one replacement only of like-items and does not cover items out of production if the product is no longer made or stocked. This Warranty is not assignable or transferable. The original purchaser may call WP’s toll-free number at 1-855-229-9472 for service requests. When a product or part is exchanged, any replacement item becomes your property and the replaced item becomes WP’s property. This warranty only covers technical hardware defectiveness during the warranty period and under normal use conditions. WP does not warrant the uninterrupted or error-free operation of this Product. This Warranty does not cover any damage due to: (a) transportation; (b) storage; (c) improper use; (d) failure to follow the product instructions or to perform any preventive maintenance; (e) modifications; (f) unauthorized repair; (g) normal wear and tear; (h) overclocking; or (i) external causes such as accidents, abuse, or other actions or events beyond our reasonable control.
Important: Do not disassemble the Product. Disassembling the Product will void this Warranty. Only WP or a party expressly authorized by WP should perform service on this Product.
DISCLAIMER OF WARRANTY: THE REMEDIES DESCRIBED ABOVE ARE YOUR SOLE AND EXCLUSIVE REMEDIES AND OUR ENTIRE LIABILITY FOR ANY BREACH OF THIS LIMITED WARRANTY. OUR LIABILITY SHALL UNDER NO CIRCUMSTANCES EXCEED THE ACTUAL AMOUNT PAID BY YOU FOR THE DEFECTIVE PRODUCT, NOR SHALL WE UNDER ANY CIRCUMSTANCES BE LIABLE FOR ANY CONSEQUENTIAL, INCIDENTAL, SPECIAL OR PUNITIVE DAMAGES OR LOSSES, WHETHER DIRECT OR INDIRECT. SOME STATES DO NOT ALLOW THE EXCLUSION OR LIMITATION OF INCIDENTAL OR CONSEQUENTIAL DAMAGES, SO THE ABOVE LIMITATION OR EXCLUSION MAY NOT APPLY TO YOU. THE DURATION AND REMEDIES OF ALL IMPLIED WARRANTIES, INCLUDING WITHOUT LIMITATION THE WARRANTIES OF MERCHANTABILITY AND FITNESS FOR A PARTICULAR PURPOSE ARE LIMITED TO THE DURATION OF THIS EXPRESS LIMITED WARRANTY.
DECLARATION OF CONFORMITY
This device complies with Part 15 of the FCC Rules.
Operation is subject to the following two conditions: (1) This device may not cause harmful interference, and (2) this device must accept any interference received, including interference that may cause undesired operation.
FCC RELATED INFORMATION:
This equipment has been tested and found to comply with the limits for a Class B digital device, pursuant to Part 15 of the FCC Rules. These limits are designed to provide reasonable protection against harmful interference in a residential installation. This equipment generates, uses, and can radiate radio frequency energy and, if not installed and used in accordance with the instructions, may cause harmful interference to radio communications. However, there is no guarantee that interference will not occur in a particular installation. If this equipment does cause harmful interference to radio or television reception, which can be determined by turning the equipment off and on, the user is encouraged to try to correct the interference by one or more of the following measures:
- Reorient or relocate the receiving antenna.
- Increase the separation between the equipment and receiver.
- Connect the equipment into an outlet on a circuit different from that to which the receiver is connected.
- Consult the dealer or an experienced radio/TV technician for help.
The manufacturer is not responsible for any radio or TV interference caused by unauthorized modifications to this equipment. Such modifications could void the user’s authority to operate the equipment.






























