HANNspree HG342PCB 34 Inch UWQHD 144Hz Curved Gaming Monitor 
Before operating the monitor, please read this manual thoroughly. This manual should be retained for future reference.

This device complies with requirement of EMC directive 2014/30/EU with regard to Electromagnetic Compatibility, and 2014/35/EU and 93/68/EEC with regard to Low Voltage directive.
Socket-outlet shall be near the equipment and shall be accessible.
Trademark Notice:
HANNspree products incorporate High-Definition Multimedia Interface (HDMI TM) technology.
The terms HDMI and HDMI High-Definition Multimedia Interface, and the HDMI Logo are trademarks or registered trademarks of HDMI Licensing LLC in the United States and other countries.
RECYCLING INFORMATION
We, at HANNspree care very much about our environment protection strategy and firmly believe that it helps us have healthier earth via appropriate treatment and recycling of industrial technology devices at the end-of-life.
These devices contain recyclable materials, which can be re-decomposed and re-integrated into brand-new marvels. On the contrary, other material can be classified to hazardous and poisoned substances. We strongly encourage you to contact the provided information to recycle this product.
For more information, please visit http://www.hannspree.eu/
SAFETY NOTICE
- The changes or modifications not expressly approved by the party responsible for compliance could void the user’s authority to operate the equipment.
- Shielded interface cables and AC power cord, if any, must be used in order to comply with the emission limits.
- The manufacturer is not responsible for any radio or TV interference caused by unauthorized modification to this equipment. It is the responsibilities of the user to correct such interference.
- Only use attachments/accesories specified by the manufacturer.
WARNING:
To prevent fire or shock hazard, do not expose the monitor to rain or moisture. Dangerously high voltages are present inside the monitor. Do not open the cabinet. Refer servicing to qualified personnel only.
PRECAUTIONS
- Do not use the monitor near water, e.g. near a bathtub, washbowl, kitchen sink, laundry tub, swimming pool or in a wet basement.
- Do not place the monitor on an unstable cart, stand, or table. If the monitor falls, it can injure a person and cause serious damage to the appliance. Use only a cart or stand recommended by the manufacturer or sold with the monitor. If you mount the monitor on a wall or shelf, use a mounting kit approved by the manufacturer and follow the kit instructions.
- Slots and openings in the back and bottom of the cabinet are provided for ventilation. To ensure reliable operation of the monitor and to protect it from overheating, be sure these openings are not blocked or covered. Do not place the monitor on a bed, sofa, rug, or similar surface. Do not place the monitor near or over a radiator or heat register. Do not place the monitor in a bookcase or cabinet unless proper ventilation is provided.
- The monitor should be operated only from the type of power source indicated on the label. If you are not sure of the type of power supplied to your home, consult your dealer or local power company.
- Unplug the unit during a lighting storm or when it will not be used for long period of time. This will protect the monitor from damage due to power surges.
- Do not overload power strips and extension cords. Overloading can result in fire or electric shock.
- Never push any object into the slot on the monitor cabinet. It could short circuit parts causing a fire or electric shock. Never spill liquids on the monitor.
- Do not attempt to service the monitor by yourself; opening or removing covers can expose you to dangerous voltages and other hazards. Please refer all servicing to qualified service personnel.
- The wall socket shall be installed near the equipment and shall be easily accessible.
SPECIAL NOTES ON LCD MONITORS
The following symptoms are normal with LCD monitor and do not indicate a problem.
- Due to the nature of the fluorescent light, the screen may flicker during initial use. Turn off the Power Switch and then turn it on again to make sure the flicker disappears.
- You may find slightly uneven brightness on the screen depending on the desktop pattern you use.
- The LCD screen has effective pixels of 99.99% or more. It may include blemishes of 0.01% or less such as a missing pixel or a pixel lit all of the time.
- Due to the nature of the LCD screen, an afterimage of the previous screen may remain after switching the image, when the same image is displayed for hours. In this case, the screen is recovered slowly by changing the image or turning off the Power Switch for hours.
- If the screen suddenly flashes erratically or the backlighting fails, please contact your dealer or service center for repair. Do not attempt to repair the monitor yourself.
BEFORE YOU OPERATE THE MONITOR
FEATURES
- 86,4cm / 34” Wide Screen TFT Color LCD Monitor
- Crisp, Clear Display
- Ergonomic Design
- Space Saving, Compact Case Design
CHECKING THE CONTENTS OF THE PACKAGE
The product package should include the following items:
LCD Monitor 
Cables and User manual
INSTALLATION INSTRUCTIONS
INSTALL
REMOVE 
POWER
POWER SOURCE:
- Make sure that the power cord is the correct type required in your area.
- This LCD monitor has an Internal universal power supply that allows operation in either 100/120V AC or 220/240V AC voltage area (No user adjustment is required.)
- Connect the AC-power cord one end to your LCD monitor’s AC-input socket, the other end to wall-outlet.
ADJUSTING DISPLAY HEIGHT
- In order to achieve the best visual effects, it is recommended that the display be adjusted so that the entire screen is facing you before you adjust the display height according to your personal preference.
- Hold the top edge of the display (fig. A), to adjust it to appropriate height (fig. B).

Note
- Be sure not to exert pressure on the LCD while adjusting the height to prevent damaging or cracking the screen.
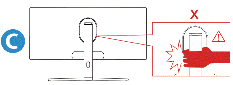
- Keep your fingers or hands away from the height adjustment mechanism (fig. C ) to prevent injury.

SETTING THE MONITOR ON THE WALL
DISSEMBLING THE STAND BASE:
- Disconnect all the cables and cords from the Monitor to prevent breakage.
- Carefully place the Monitor face down on a soft and flat surface (blanket, foam, cloth, etc) to prevent any damage to the Monitor.
- Move the quick release button upward to remove the base assembly.
- Remove the screws so that the stand base can be removed.
- Gently remove the stand base.

WALL MOUNTING THE MONITOR: 
- Purchase a VESA compatible wall bracket: VESA 75×75, 4 holes, M4, 35mm+7mm, 23kg.
- Locate your ideal Monitor position on the wall.
- Fix the wall bracket firmly on the wall.
- Secure the Monitor to the bracket using
the 4 mount holes on the back and center
of the Monitor.
Note:
- Please read the instructions of your specific wall bracket to properly wall mount the Monitor.
- The pitch of the mounting holes is 75mm horizontally and 75mm vertically.
- The screws type required is metric: M4, 35mm+7mm length.
- The Monitor stand base can be screwed on a table or a hard surface using the hole on the back of the stand base.
- For use only with UL listed wall mount bracket.
*Installing the LCD Monitor requires special skill that should only be performed by qualified service personnel. Customers should not attempt to do the work themselves. HANNspree bears no responsibility for improper mounting or mounting that results in accident or injury. You can ask a qualified service personnel about using an optional bracket to mount the Monitor to the wall.
MAKING CONNECTIONS
CONNECTING TO A PC
You can setup your monitor with the below suggested connections. Ensure your monitor is off during this process.
- Connect one end of the DP cable to the back of the monitor and connect the other end to the computer’s DP port.
- Connect one end of the HDMI cable (optional) to the back of the monitor and connect the other end to the computer’s HDMI port.
- Connect one end of the HDMI to DVI cable (optional) to the back of the monitor and connect the other end to the computer’s DVI port.
- Connect the audio cable between the monitor’s audio input and the PC’s audio output (green port).
- Plug one end of the AC power cord to the LCD monitor’s AC input socket, and the other end to Wall outlet.
- Turn on your monitor and computer.

| 1 | HDMI Input | 2 | DP Input |
| 3 | Earphone | 4 | Power AC Input |
ADJUSTING THE VIEWING ANGLE
- For optimal viewing it is recommended to look at the full face of the monitor, then adjust the monitor’s angle to your own preference.
- Hold the stand so you do not topple the monitor when you change the monitor’s angle.
- You may adjust the monitor for a viewing angle of -5° to 15°vertically and -15° to 15°horizontally.

NOTES:
- Do not touch the LCD screen when you change the angle. It may cause damage or break the LCD screen.
- Be careful not to place fingers or hands near the hinges when tilting the monitor, otherwise pinching can result.
OPERATING INSTRUCTIONS
GENERAL INSTRUCTIONS
Press the power button to turn the monitor on or off. The other control buttons are located on the front panel of the monitor (See Figure 4). By changing these settings, the picture can be adjusted to your personal preferences.
- The power cord should be connected.
- Connect your display cable from the monitor to your devices display input port.
- Press the power button to turn on the monitor. The power indicator will light up.

FRONT PANEL CONTROL
- Power Button:
Press this button to switch ON/OFF of monitor’s power. - Power Indicator:
Blue — Power On mode.
Red — Power Saving mode. - MENU / ENTER:
Turn the OSD menu on/off or enter to the previous menu. - Adjust ▲▼:
- Adjust Brightness and volume when the OSD is off.
- Navigate through adjustment icons when OSD is ON or adjust a function when function is activated.
- 【 E 】Button: 《Digital Input Models》
- Press【 E 】to enter Source selections. (Selections include DP, HDMI, etc. The actual selections may very depending on the models. This function is only available in models with digital inputs)
- The OSD menu is used as《confirmation》function during start-up.
NOTES:
- Do not install the monitor in a location near heat sources such as radiators or air dusts, or in a place subject to direct sunlight, or excessive dust or mechanical vibration or shock.
- Save the original shipping box and packing materials, as they will come in handy if you ever have to ship your monitor.
- For maximum protection, repackage your monitor as it was originally packed at the factory.
- To keep the monitor looking new, periodically clean it with a soft cloth. Stubborn stains may be removed with a cloth lightly dampened with a mild detergent solution. Never use strong solvents such as thinner, benzene, or abrasive cleaners, since these will damage the cabinet. As a safety precaution, always unplug the monitor before cleaning it.
HOW TO ADJUST A SETTINGS
| INPUT SOURCE | |
| AUTO SOURCE | From the Signal Selection menu, select the「AUTO SOURCE」 option to activate the automatic signal search function. [For DP/ HDMI Input only] |
| DP | Select the [DP] option to change the DP source. |
| HDMI | Select the [HDMI] option to change the HDMI source. |
| BRIGHTNESS/ CONTRAST | |
| BRIGHTNESS | Adjust the brightness value of the display according to your preference. Select「BRIGHTNESS」option to adjust the brightness value. |
| CONTRAST | Adjust the contrast value of the display according to your preference. Select「CONTRAST」option to adjust the contrast value. |
| ACTIVE CONTRAST | Optimal setting for high contrast images or videos. The dark and light areas of the image are automatically detected, and the contrast is enhanced to provide a clearer, sharper image. Also, you may select the「ACTIVE CONTRAST」option. |
| COLOR SETTING | |
| GAMMA | Setup the display gamma through the gamma function. Available settings are Off/ 1.8/ 2.0/ 2.2/ 2.4/ 2.6. |
| PICTURE MODE | Select the picture mode according to your preference: PC/ ECO/ Movie/ Game. |
| COLOR TEMPERATURE | Adjust the color temperature value of the display according to your preference: Normal/ Warm/ Cool. |
|
USER | Move the cursor to the User option and select it, 1. To adjust the red, enter the「Red」option and adjust the level. 2. To adjust the green, enter the「Green」option and adjust the level. 3. To adjust the blue, enter the「Blue」option and adjust the level. |
| HUE | Select the「HUE」option to adjust the hue of the display. |
| SATURATION | Select the「SATURATION」option to adjust the saturation of the display. |
| LOW BLUE LIGHT | Select the「LOW BLUE LIGHT」option to adjust the low blue |
| light of the display. | |
| PICTURE QUALITY SETTING | |
| SHARPNESS | Select the「Sharpness」option to adjust the sharpness of the display. |
| RESPONSE TIME | Setup the display response time through the response time function. Available settings are Off/ High/ Middle/ Low. |
| SUPER RESOLUTION | Select the super resolution according to your preference: Off/ High/ Middle/ Low. |
| BLACK LEVEL | Select the「Black Level」option to adjust the black level of the display. |
| DISPLAY | |
| ASPECT RATIO | Setup the aspect ratio of screen through the aspect ratio function. Available settings are Wide Screen/ 4:3/ 1:1/ Auto. |
| AUDIO | |
| MUTE | Select the「Mute」option to switch the function On or Off. [The availability of this function depends upon the selected model. Adjusting the volume while muted cancels Mute mode.] |
| VOLUME | Select the「Volume」option to change the volume level. Enter the option and adjust the level. [This function applies only to models with incorporated audio.] ● By high volume, risk of hearing damage exists. |
| AUDIO SOURCE | While transferring via the PIP/ PBP, it can select the audio source between DP or HDMI. [For DP/HDMI Input only] |
| MULTI-WINDOW | |
| MULTI-WINDOW | Select the「MULTI-WINDOW」option to switch the PIP/ PBP function. |
| SUB WIN2 INPUT | Select「SUB WIN2 INPUT」option to change the input source of the PIP/ PBP. Enter the option and select DP or HDMI (2.0). |
| PIP SIZE | Select「PIP SIZE」option to change the window size. Available settings are Small/ Medium/ Large. |
| PIP POSITION | Select「PIP POSITION」option to change the window position. Available settings are Top Left/ Bottom Left/ Top Right/ Bottom Right. |
| SWAP | Select「SWAP」option to change the 1st and 2nd window. |
| OSD | |
| LANGUAGE | Selec「t LANGUAGE」option to change the language of the OSD. Enter the option and select a language. [Reference only, the OSD Language depends on the selected model] |
| H-POSITION | Selec「t H-POSITION」option to adjust the horizontal position of the OSD. Enter the option and adjust the level. |
| V-POSITION | Selec「t V-POSITION」option to adjust the vertical position of the OSD. Enter the option and adjust the level. |
| TRANSPARENCY | Select「TRANSPARENCY」option to adjust the transparency of the OSD. Enter the option and adjust the level. |
| OSD TIME OUT | Select「OSD TIME OUT」option to set the OSD time out from 5 to 60 seconds. Enter the option and adjust the level. |
| OSD ROTATION | Select「OSD ROTATION」option to rotate the window of the OSD. Available settings are Normal/ 90/ 180/ 270. |
| OTHER | |
| DP VERSION | Select the「DP VERSION」option to switch the function DP1 or DP2 |
| ADAPTIVE-SYNC | Select the「ADAPTIVE-SYNC」option to change the ADAPTIVE-SYNC function. |
| HDR | Select the「HDR」option to change the HDR function. |
| CROSS | Select the「CROSS」option to change the CROSS function. |
| DDC/CI | Select the 「DDC/CI」option to switch the function On or Off. [Dual input mode optional] |
| RESET | Select the「RESET」option to reset to the monitor’s default setting. This will erase the current settings. |
PLUG AND PLAY
Plug & Play DDC2B Feature
This monitor is equipped with VESA DDC2B capabilities according to the VESA DDC STANDARD. It allows the monitor to inform the host system of its identity and, depending on the level of DDC used, communicate additional information about its display capabilities. The DDC2B is a bidirectional data channel based on the I²C protocol. The host can request EDID information over the DDC2B channel.
THIS MONITOR WILL APPEAR TO BE NON-FUNCTIONAL IF THERE IS NO VIDEO INPUT SIGNAL. IN ORDER FOR THIS MONITOR TO OPERATE PROPERLY, THERE MUST BE A VIDEO INPUT SIGNAL.
TECHNICAL SUPPORT (FAQ)
Q & A FOR GENERAL PROBLEMS
| PROBLEM & QUESTION | POSSIBLE SOLUTION |
| Power LED is not on | *Check if the Power Switch is in the ON position. *Power Cord should be connected. |
| No Plug & Play | *Check if the PC system is Plug & Play compatible. *Check if the Video Card is Plug & Play compatible. *Check if any plug pins on the HDMI or DP connector are bent. |
| The display is too dark or too bright. | *Adjust the Contrast and Brightness Controls. |
| Picture bounces or a wave pattern is present in the picture | *Move electrical devices that may cause electrical interference. |
|
The power LED is ON (Blue) but there’s no video or no picture. | *Computer Power Switch should be in the ON position. *Computer Video Card should be snugly seated in its slot. *Make sure monitor’s video cable is properly connected to the computer. *Inspect monitor’s video cable and make sure none of the pins are bent. *Make sure computer is operational by hitting the CAPS LOCK key on the keyboard while observing the CAPS LOCK LED. The LED should either turn ON or OFF after hitting the CAPS LOCK key. |
| Missing one of the primary colors (RED, GREEN, or BLUE) | *Inspect the monitor’s video cable and make sure that none of the pins are bent. |
| Screen image is not centered or sized properly. | * Adjust pixel frequency CLOCK and PHASE . |
| Picture has color defects (White does not look white) | *Adjust RGB color or select color temperature. |
| The screen resolution needs to be adjusted | *Use Windows 7/ Windows 8/ Windows 10 Right click anywhere on desktop and select Properties>Settings>Screen Resolution. Use the silder to adjust the reslution and click Apply. |
| No sound is outputted from monitor’s built-in speaker | *Make sure PC audio output cable is connected to screen’s LINE IN port (or AUDIO IN port). *Make sure the sound volume adjustment can be clearly identified. *Make sure the System > Silence option in the monitor menu is on. *While transferring via HDMI port but no sound is outputted, it is recommended to select AUDIO |
| Addendum related to Windows 7 / Windows 8 / Windows 10 | ||||
| When you encounter display problem under Windows 7/ Windows 8/ Windows 10, you need to do the following:
1. Make sure your PC computer (Hardware requirement) can support Windows 7/ Windows 8/ Windows 10. 2. Make sure your video card can run Windows 7/ Windows 8/ Windows 10. 3. If your video card can support Windows 7/ Windows 8/ Windows 10, need to install the latest Windows 7/ Windows 8/ Windows 10 driver of your video card.
Suggest to do the following: 1. Install the latest Windows 7/ Windows 8/ Windows 10 video driver of your video card. 2. Try to use the recommended display resolution that is supported by the monitor. 3. If the recommended display resolution is not working, try the second recommended display resolution. | ||||
| 1 | 2 | |||
| 35,56cm / 14” (16:9) | 1366×768@60Hz | 1366×768@50Hz | ||
| 39,6cm / 15.6” (16:9) | 1366×768@60Hz | 1366×768@75Hz | ||
| 40,64cm / 16” (16:9) | 1366×768@60Hz | 1366×768@50Hz | ||
| 43,2cm / 17” (16:10) | 1440×900@60Hz | 1440×900@75Hz | ||
| 47cm / 18.5” (16:9) | 1366×768@60Hz | 1366×768@75Hz | ||
| 48,3cm / 19” (5:4) | 1280×1024@60Hz | 1280×1024@75Hz | ||
| 48,3cm / 19” (16:10) | 1440×900@60Hz | 1440×900@75Hz | ||
| 51cm / 20” (16:9) | 1600×900@60Hz | 1600×900@50Hz | ||
| 56cm / 22” (16:10) | 1680×1050@60Hz | 1680×1050@50Hz | ||
| 54,6cm / 21.5” (16:9) 58,4cm / 23” (16:9) 60cm / 23.6” (16:9) 62,5cm / 24.6 (16:9) 68,6cm / 27 ” (16:9) |
1920×1080@60Hz |
1920×1080@50Hz | ||
| 70cm / 27.5” (16:10) | 1920×1200@60Hz | 1920×1200@50Hz | ||
| 71cm / 28” (16:9) | 1920×1080@60Hz | 1920×1080@50Hz | ||
| 71,1cm / 28” (16:9) | 3840 × 2160 @60Hz | 3840 × 2160 @50Hz | ||
| 97,8cm/38.5”(16:9) | 2560 x 1440@60Hz | 2560 x 1440@120Hz | ||
| 86,4cm/34”(21:9) | 3440×1440@60Hz | 3440×1440@50Hz | ||
| 111,25cm/43.8”(32:9) | 3840 × 1080 @60Hz | 3840 × 1080 @120Hz | ||
| And if you still have display problem after doing the above procedure, please visit Hannspree support and Service Website: http://www.hannspree.eu/en/monitors | ||||
| Windows is a registered trademark of Microsoft Corporation. | ||||
ERROR MESSAGE & POSSIBLE SOLUTIONS
- CABLE NOT CONNECTED:
- Check that the signal cable is properly connected, if the connector is loose, tighten the connector’s screws.
- Check the signal cable’s connection pins for damage.
- INPUT NOT SUPPORT :
If your computer has been set to unsuitable display mode, set the computer to display mode given in the following table.
FACTORY PRESET TIMING TABLE:
| MODE | RESOLUTION | HORIZONTAL FREQUENCY (KHz) | VERTICAL FREQUENCY (Hz) |
| 1 | 720×400 @70Hz | 31.469 | 70.087 |
| 2 | 640×480 @60Hz | 31.469 | 59.940 |
| 3 | 640×480 @67Hz | 35.000 | 66.667 |
| 4 | 640×480 @72Hz | 37.861 | 72.809 |
| 5 | 640×480 @75Hz | 37.500 | 75.000 |
| 6 | 800×600 @56Hz | 35.156 | 56.250 |
| 7 | 800×600 @60Hz | 37.879 | 60.317 |
| 8 | 800×600 @72Hz | 48.077 | 72.188 |
| 9 | 800×600 @75Hz | 46.875 | 75.000 |
| 10 | 832×624 @74.6Hz | 49.725 | 74.500 |
| 11 | 1024×768 @60Hz | 48.363 | 60.004 |
| 12 | 1024×768 @70Hz | 56.476 | 70.069 |
| 13 | 1024×768 @75Hz | 60.023 | 75.029 |
| 14 | 1280×1024 @75Hz | 79.976 | 75.025 |
| 15 | 1152×870 @75Hz | 68.681 | 75.062 |
| 16 | 1280×800 @60Hz | 49.306 | 59.910 |
| 17 | 1600×1200 @60Hz | 75.000 | 60.000 |
| 18 | 1280×720 @60Hz | 45.000 | 60.000 |
| 19 | 1280×1024 @60Hz | 63.981 | 60.020 |
| 20 | 1920×1440 @60Hz | 86.400 | 60.000 |
| 21 | 1600×900 @60Hz | 55.540 | 59.978 |
| 22 | 1680×1050 @60Hz | 64.674 | 59.883 |
| 23 | 1920×1080 @60Hz | 66.587 | 59.934 |
| 24 | 640x480p @60Hz | 31.500 | 60.000 |
| 25 | 720×480p @60Hz | 31.500 | 59.980 |
| 26 | 720×576p @50Hz | 31.250 | 50.000 |
| 27 | 720×576p @50Hz | 31.250 | 50.000 |
| 28 | 1280×720p @50Hz | 37.500 | 50.000 |
| 29 | 1280×720p @60Hz | 45.000 | 60.000 |
| 30 | 1920×1080p @50Hz | 56.250 | 50.000 |
| 31 | 1920×1080p @60Hz | 67.500 | 60.000 |
| 32 | 1920×1080p @120Hz | 127.000 | 120.000 |
| 33 | 1920×1080p @100Hz | 127.000 | 100.000 |
| 34 | 2560×1080p @60Hz | 54.000 | 50.000 |
| 35 | 2560×1080p @100Hz | 108.000 | 100.000 |
| 36 | 3840×2160p @50Hz | 108.000 | 50.000 |
| 37 | 3840×2160p @60Hz | 129.600 | 60.000 |
| 38 | 3840×2160p @30Hz | 64.800 | 30.000 |
| 39 | 1720×1440p @60Hz | 86.400 | 60.000 |
| 40 | 2560×1440p @60Hz | 88.860 | 60.000 |
| 41 | 3440×1440 @50Hz | 72.000 | 50.000 |
| 42 | 3440×1440 @60Hz | 86.400 | 60.000 |
| 43 | 3440×1440 @100Hz | 144.000 | 100.000 |
| 44 | 3440×1440 @120Hz | 172.800 | 120.000 |
| 45 | 3440×1440 @144Hz | 207.360 | 144.000 |
(Video mode)
| MODE | RESOLUTION |
| 1 | 640×480p @60Hz |
| 2 | 720×480i @60Hz |
| 3 | 720×480p @60Hz |
| 4 | 720×576i @50Hz |
| 5 | 720×576p @50Hz |
| 6 | 1280×720p @60Hz |
| 7 | 1920×1080i @50Hz |
| 8 | 1920×1080i @60Hz |
| 9 | 1920×1080p @50Hz |
| 10 | 1920×1080p @60Hz |
** We ensure that the monitor can be lighted under interlace signal mode, but we can not guarantee the image quality.
APPENDIX
SPECIFICATIONS
| LCD Panel | Driving system | TFT Color LCD |
| Size | 86,4cm / 34” Diagonal | |
| Pixel pitch | 0,07725mm(H) × 0,23175mm(V) | |
| Video | H-Frequency | 30KHz – 215KHz |
| V-Frequency | 56Hz – 165Hz | |
| Display Colors | 16.7M Colors | |
| Max. Resolution | 3440 × 1440 @144Hz | |
| Plug & Play | VESA DDC2BTM | |
| Power consumption | ON Mode | 56W (Typical) |
| Power Saving Mode | ≤0.5W | |
| OFF Mode | ≤0.3W | |
| Audio output | Rated Power 2.0 W rms (Per channel) | |
| Input Terminal | DP 1.4 x 2 HDMI 2.0 ×2 AUDIO OUT | |
| Maximum Screen Size | Hor. : 797.22mm Ver. : 333.72mm | |
| Power Source | AC 100–240V ~2.0A 50/60Hz | |
| Environmental Considerations | Operating Temp:5° to 35°C Storage Temp.: -20° to 60°C Operating Humidity: 10% to 85% | |
| Dimensions | 808.65 (W)×510.66(H)×256.08(D) mm 31.8 ”(W)×20.1 ”(H)×10.1 ”(D) | |
| Weight (NW) | 7.73 kg (17.03 lb) | |
*** The above specification is subject to actual product specification and is subject to change without prior notice.
NOTES:
The Maximum Resolution will depend on the display card supporting. A related issues can refer to http://www.hannspree.eu/en/monitors. FAQ section.


























