Cod. 1.045739 – Rev. ST.005436/001
POLYPHOSPHATE DISPENSER KIT
GAUDIUM SOLAR V2, TRIO V2
CODE 3.020628
General warnings.
All products are protected with suitable transport packaging.
The material must be stored in dry environments and protected against weathering.
This instruction manual provides technical information for installing the kit. As for the other issues related to kit installation (e.g. safety in the work site, environment protection, injury prevention), it is necessary to comply with the provisions specified in the regulations in force and principles of good practice.
Improper installation or assembly of the appliance and/or components, accessories, kit and devices can cause unexpected problems to people, animals and objects. Read the instructions provided with the product carefully to ensure a proper installation. Installation andmaintenance must be performed in compliance with the regulations in force, according to the manufacturer’s instructions and by authorised professionally qualified staff, intending staff with specific technical skills in the plant sector, as envisioned by the Law
Use
The proportional dispenser is used to dose in water the Cillit®-55 M-H Universal, a compound of natural mineral salts which efficiently prevent limescale deposits and corrosions from forming inside the circuits for the production of domestic hot and cold water.
The dispenser must not be installed in places where the temperature falls below 0°C.
Protection from deposits inside the systems is required by D.P.R. 59/2009, by the UNI-CTI 8065 standard and so by M.D. 37/08. The dispenser s in compliance to M.D. 174/04 and to M.D. 25/12, concerning the purity of materials. Please leave a copy of this instruction manual near the equipment.
TYPES OF INSTALLATION
The following containers can be used:
– Only installations inside a building: Solar Container; Solar Container Combo; Super Trio Container;
– Domus Container; Super Trio Domus Container.
Possible installations:
- Audax 6-8-12 with Trio Mono V2 Base
- Audax 6-8-12 with Trio V2 Base
- Gaudium Solar/Plus V2
- Magis Combo Plus 4-6-9 V2 in Basic Magis Pro
- Magis Combo Plus 4-6-9 V2 in Solar Container Combo
- Magis Combo Plus 4-6-9 V2 in Super Trio
- Magis Combo Plus 12-14-16 V2 in Super Trio Top
- Magis Pro 4-6-9 V2 in Basic Magis Pro
- Magis Pro 4-6-9 V2 in Super Trio
- Magis Pro 12-14-16 V2 in Super Trio Top
- Magis Pro 4-6-9 V2 in Trio Mono V2
- Magis Pro 4-6-9 V2 in Trio V2
- Trio Mono V2 Combi/Plus
- Trio V2 Combi/Plus
- Victrix Hybrid Plus in Basic Magis Pro
ATTENTION: The recirculation and polyphosphate dispenser cannot be installed at the same time.
TECHNICAL DATA.
Max. water temperature …………………. 30°C
Max. room temperature …………………. 40°C
Rated flow rate …………………………… 1.5 m³ /h
Head loss at rated flow rate …………….. 0.29 bar
Autonomy ……………………………….. 25 m³ (circa)
Cillit®-55 load ……………………………….. 80 g.
Cillit®-55 supply ……………………….. No. 2 bags 80 gr.
CHECKS AND MANAGEMENT.
Check the amount of product looking through the transparent basin: when the basin is empty, refill as shown in paragraph “Dispenser loading”. Only use Cillit®-55 M-H Universal to refill. Using other products, as well as voiding the warranty, can seriously damage the dispenser and the system.
POSSIBLE PROBLEMS AND THEIR CAUSES.
If the appliance does not consume the product, contact a licensed company (for example the Immergas Technical Assistance Centre) for the required checks, since in this case
the dispenser is not working.
| Possible cause | Solutions |
| Shut-off valves closed | Open the valves |
| Appliance not deaerated | Deaerate the appliance |
| Load not sufficiently hard-ened | Refill following the instructions |
| Inlet and/or outlet nozzles clogged | Clean the nozzles |
ASSEMBLY OF THE POLYPHOSPHATE DISPENSER (FIG.1)
Mount the O-rings provided in the relevant seats of the diaphragm unit (2) Using the relevant screws contained in the kit, connect the diaphragm unit (2) to the head (3) being careful to follow the direction of the arrow (1) on the diaphragm unit.
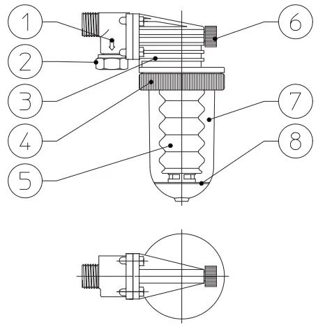
DISPENSER MAIN COMPONENTS

Key:
| 1 – Assembly direction 2 – 90° diaphragm unit 3 – Head 4 – Ring nut for basin | 5 – Bellows 6 – Drain screw 7 – Transparent basin 8 – Solubilization disc |
POLYPHOSPHATE DISPENSER INSTALLATION (Fig. 2)
– Open the front door of the container used.
– Disconnect power to the appliance at the switch on the circulation unit leaving the solar circuit active (see the instructions manual of the product installed).
– Partially empty the water in the storage tank at the drain valve (see the instructions manual of the product installed).
– Before performing this operation, close the cold water inlet cock upstream of the appliance installed and open any domestic hot water valve of the system in order to allow air into the storage tank. Disassemble the cold water inlet pipe on the circulation unit and install the kit.
– Mount the dispenser supporting bracket (1) on the metal-sheet plate of the circulation unit, fixing it with the 2 screws (3).
– Connect the pipe (7) fixing it to the bracket with the lock nut.
– Mount the polyphosphate dispenser (2) on the metal-sheet plate (1) inserting the relevant flat gasket.
– At this point mount the cold water inlet pipe (4 – 6) choosing one of the three possible solutions.
– 4 – vertical connection
– 5 – rear connection
– 6 – side connection
– Once assembly is complete, the ring nut and the polyphosphate dispenser (2) must be accessible from the front door, in order to refill with Cillit-55 IG.
– Make sure you have closed the storage tank drain valve and close the domestic hot water system valve which was opened previously. Reopen the domestic cold water inlet which was closed previously.
– Power the appliance again and close the front door.
POLYPHOSPHATE DISPENSER LOADING WITH SOLUBILIZATION DISC.
– Close the cold water shut-off valve.
– Open the closest hot water cock to release pressure in the hot water circuit, loosen the deaeration screw and unscrew the basin.
– Clean the basin, the bellow and the solubilisation disc with clean water.
– Pour a glass of water (60 cc) into the basin.
– Cut a corner of the 80 gr sealed bag with the Cillit®-55 M-H Universal and pour the whole content into the water of the basin.
– Rest the basin vertically on a surface and wait 5 minutes for the product to solidify in the water.
– After 5 minutes, remove excess water on the product.
– Put the solubilisation disc on it, insert the basin on the head and tighten the ferrule.
– With the deaeration screw still loose, open the cut-off cocks and wait 2 minutes for the complete deaeration.
– When only water is coming out, close the deaeration screw.
– Let the water flow for another 2 minutes, then loosen again the deaeration screw to check that deaeration is complete.
– Close the deaeration screw.
– The dispenser is ready for use.
![]()


















