
Code. 1.045341 – Rev. ST.005280/001
NON-RETURN VALVE KIT
ON CENTROTHERM FLUE
CODE 3.031599
GENERAL WARNINGS.
All Immergas products are protected with suitable transport packaging. The material must be stored in a dry place protected from the weather. This instruction manual provides technical information for installing the Immergas kit. As for the other issues related to kit installation (e.g. safety in the workplace, environmental protection, accident prevention), it is necessary to comply with the provisions specified in the regulations in force and with the principles of good practice.
Improper installation or assembly of the Immergas appliance and/or components, accessories, kits and devices can cause unexpected problems for people, animals and objects. Read the instructions provided with the product carefully to ensure proper installation. Installation and maintenance must be performed in compliance with the regulations in force, according to the manufacturer’s instructions and by professionally qualified staff, meaning staff with specific technical skills in the plant sector, as envisioned by the law.
ATTENTION.
The kit must be used only in conjunction with IMMERGAS gas condensing boilers, in accordance with the instructions given in the installation manual supplied with the appliance.
The kit can be installed only with concentric flue ø80/125 or with split flue ø80/80, in the configurations that require the connection in the collective flue (C10) – (C12).
This kit must necessarily be combined with the original Immergas flue system (Homologated).
SYSTEM COMPOSITION.
This kit must be combined with one of the following components (sold separately) to be functional and complete:
- C9 Ducting kit Ø 125 adapter
- Separator kit Ø 80 for condensing boilers

The kit comprises:
N° 1 – Lip seal Ø 80 (1)
N° 1 – Non-return valve on flue Ø 80 (2)
N° 1 – Extension Ø 125 (3)
N° 1 – Spacer Ø 80 sp. 5 mm (4)
N° 1 – Information sticker in the language (to be applied on the front casing)
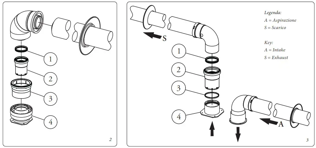
INSTALLATION WITH CONCENTRIC FLUE Ø80/125. (Fig. 2)
For this type of installation, eliminate the spacer Ø 80 sp. 5 mm. (Ref. 4 – Fig. 1);
- Insert the Ø 80 lip seal (1) in the Ø 80 flue non-return valve (2);
- Insert the Ø 80 flue gas non-return valve (2) in the flanged adapter (4)
- Fill the siphon of the non-return valve on the flue (2) with water;
- Insert the Ø 125 extension (3) into the flanged adapter (4);
- Insert the concentric bend Ø 80/125 and prepare the rest of the flue according to your needs.
- Refer to the instruction booklet of the boiler being installed to make the settings required by the C10 configuration.
INSTALLATION WITH SPLIT FLUE Ø80/80 (Fig. 3)
For this type of installation, remove the Ø 125 extension (Ref. 3- Fig. 1);
- Insert the Ø 80 spacer (3) in the Ø 80 flange connection (4);
- Insert the Ø 80 lip seal (1) in the Ø 80 flue non-return valve (2);
- Fill the siphon of the non-return valve on the flue (2) with water;
- Insert the Ø 80 flue gas non-return valve (2) into the Ø 80 flange connection (4);
- Insert the concentric bend Ø 80 and prepare the rest of the flue according to your needs.
- Refer to the instruction booklet of the boiler being installed to make the settings required by the C10-C12 configuration.
ATTENTION
At the end of the installation of this kit, it’s OBLIGATORY to apply the information sticker on the front casing of the product. The information sticker contains important warnings that must be observed; it’s supplied in all target languages of the product and depending on the country in which this kit is installed, choose the appropriate language.



















