DGC 7440 Steam oven
Installation Guide
Safety instructions for installation
Risk of damage from incorrect installation. Incorrect installation can cause damage to the steam oven. The steam oven must only be installed by a qualified person.
▶ The connection data (frequency and voltage) on the steam oven’s data plate must correspond with those of the electricity supply in order to ensure that no damage can occur to the steam oven. Compare this data before connecting the appliance. If in any doubt, consult a qualified electrician.
▶ Multi-socket adapters and extension leads do not guarantee the required safety of the appliance (fire hazard). Do not use them to connect the steam oven to the power supply.
▶ The socket and on-off switch should be easily accessible after the steam oven has been installed.
▶ The steam oven must be positioned so that you can see the contents of a cooking container placed on the top shelf level. Otherwise, there is a risk of injuries or spillages of hot food.
Installation
Installation notes
All dimensions are given in mm.
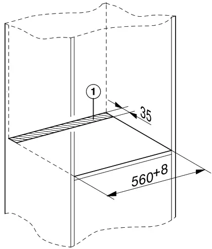
Cut-out for installing the water hoses
In order to prevent water damage due to damaged connection hoses, a cut-out must be made in the interim shelf of the housing unit.
Create a cut-out
in the interim shelf on which the steam oven is to be placed.
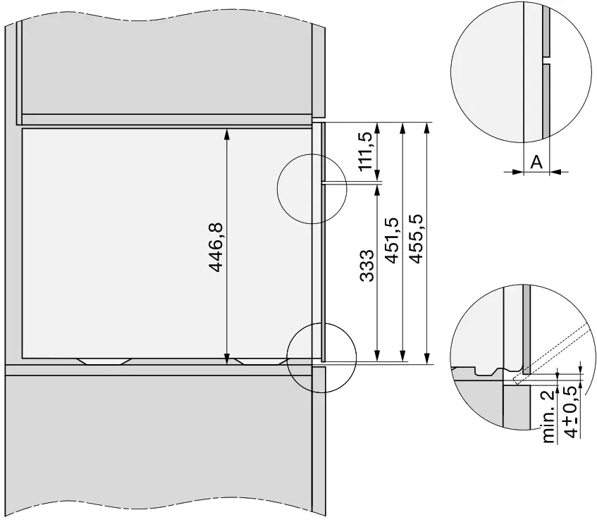
Building-in dimensions
Installation in a tall unit
The furniture housing unit must not have a back panel fitted behind the building-in niche.
Installation in a base unit
The furniture housing unit must not have a back panel fitted behind the building-in niche.
When building the oven into a base unit underneath a cooktop, please also observe the installation instructions for the cooktop as well as the building-in height required for the cooktop.
Side view
A Glass front: 22 mm, Metal front: 23.3 mm
Room for the control panel to open and close
The area in front of the control panel must not be blocked by anything (such as a door handle) that would hinder it from opening and closing.
Connections and ventilation
- Front view
- Mains connection cable, L = 2000 mm
- Stainless steel water inlet hose, L = 2000 mm
- Plastic drain hose, L = 3000 mm
The top end of the drain hose to where it connects to the siphon must not be higher than 500 mm. - Ventilation cut-out, min. 180 cm
- No connections permitted in this area
Installing the steam oven
Before installing and connecting the steam oven, please read the instructions in “Installation – Mains water connection” and “Installation Drainage”.
- Connect the mains connection cable to the appliance.
- Feed the water inlet hose and the drain hose through the cut-out in the base of the building-in niche.
Use the handle cut-outs on the side of the casing to lift the appliance.
The steam generator may malfunction if the steam oven is not on a level surface.
The maximum deviation from the horizontal that can be tolerated is 2°. - Push the steam oven into the installation niche and align. When doing so, make sure that the main connection cable and water hoses do not get trapped or damaged.
- Open the door.

- Secure the steam oven to the side walls of the unit using the wood screws supplied (3.5 x 25 mm).
- Connect the steam oven to the water inlet and drain (see “Installation Mains water connection” and “Installation – Drainage”).
- Connect the appliance to the mains electricity supply.
- Check the appliance for correct function in accordance with the operating instructions.
Mains water connection
Risk of injury and damage due to incorrect connection. Failing to connect the appliance correctly can result in personal injury and/or material damage. The appliance may only be connected to the water supply by a suitably qualified technician.
Danger to health and property due to contaminated water. The quality of the water used must conform to the requirements for drinking water in the country in which the steam oven is being used. Connect the steam oven to the water supply.
Connection to the water supply must comply with the applicable regulations in the country in which the appliance is being installed. This appliance must be installed according to AS/NZS 3500.1. Backflow prevention is already integrated into the appliance.
The steam oven complies with local and national regulations.
The steam oven must only be connected to a cold water supply.
If an upstream domestic water softening unit is connected, please make sure that the conductivity level of the water is maintained.
Water damage due to contamination.
Impurities in the water supply may accumulate in the valve of the steam oven. The valve can no longer close and water is streaming out. Flush the water lines before connecting the steam oven or when working on the water supply line.
The water connection pressure needs to be between 100 kPa (1 bar) and 600 kPa (6 bar). If the pressure is higher than 600 kPa, a pressure-reducing valve must be fitted.
A tap must be provided between the stainless steel hose and the household water supply to ensure that the water supply can be disconnected if necessary. The tap must be easily
accessible after the steam oven has been built in.
Fitting the stainless steel hose to the steam oven
Only use the stainless steel hose supplied. The stainless steel hose must not be shortened, extended, or replaced by another hose. Old or used hoses must not be connected to the steam oven.
The stainless steel hose must only be replaced by an original Miele spare part. A stainless steel hose that is suitable for use with drinking water is available to order from Miele (see back cover for contact details).
The length of the stainless steel hose supplied is 2000 mm.
- Remove the cover cap from the mains water connection at the back of the steam oven.
- Take the angled end of the stainless steel hose and check whether there is a washer. Fit one if necessary.
- Screw the stainless steel hose coupling nut onto the threaded union.
- Ensure that it is screwed into position correctly and watertight.
Connecting the water supply
- Disconnect the steam oven from the mains electricity supply before connecting it to the water supply.
Turn off the water supply at the tap before connecting the steam oven to the water supply.
The tap must be easily accessible after the steam oven has been built in.
To connect the steam oven to the water supply, a tap with a 3/4″ connection is required. - Check that a washer is present. Fit one if necessary.

- Connect the stainless steel hose to the tap.
- Ensure that it is screwed into position correctly.
- Turn on the tap slowly and check for leaks.
Correct the position of the washer and union if necessary.
Drainage
This appliance must be connected to the drainage system in accordance with AS/NZS 3500.2.
The drainage siphon must not be located higher than the drain hose connection point on the steam oven. This is to ensure that water can drain out completely after a program. The top end of the drain hose to where it connects to the siphon must not be higher than 500 mm. The drain hose supplied must not be shortened. The drain hose can be connected to
– a surface-mounted or flush-mounted siphon with a fixed hose connection, or
– the connection point on a sink drainage siphon.
The temperature of the drainage water is 70 °C.
Only genuine original Miele hoses can be used with this appliance.
Connecting the drain hose
- Connect the drain hose to the nozzle on the siphon.
- Then secure the drain hose with the hose clip.
Electrical connection
We recommend that you connect the steam oven to the electricity supply using a suitable switched electrical socket. This simplifies servicing. The socket must be easily accessible after the steam oven has been installed.
Risk of damage from the incorrect connection. The danger of injury! Miele cannot be held liable for unauthorized installation, maintenance, and repair work as this can be dangerous to users. Miele cannot be held liable for damage or injury (e.g. electric shock) caused by the lack of or inadequacy of an on-site earthing system. If the plug is removed from the connection cable or if the cable is supplied without a plug, the steam oven must be connected to the electrical supply by a suitably qualified and competent electrician.
If the socket is no longer accessible, or if a hard-wired connection is planned, an additional means of disconnection must be provided for all poles. Suitable means of disconnection include switches with an all-pole contact gap of at least 3 mm. These include miniature circuit breakers, fuses, and relays. The connection data is given on the data plate. Please ensure this information matches the household mains electricity supply. After installation, ensure that all electrical components are shielded and cannot be accessed by users.
Total power output
See data plate.
Connection data
The connection data is given on the data plate. Please ensure this information matches the household mains supply.
Residual current device
For extra safety, it is advisable to protect the steam oven with a suitable residual current device (RCD) with a trip range of 30 mA.
Replacing the mains connection cable
If replacing the mains connection cable, it must be replaced with a cable type H 05 VV-F, available from Miele.
Disconnecting from the mains
Risk of electric shock!
There is a risk of electric shock if the appliance is connected to the mains electricity supply during repair or service work. After disconnection, ensure the appliance cannot be switched back on by mistake.
DGC 7440 Steam oven

























