Miele H 7860 BP Built-In Oven Installation Guide
Installation
Safety instructions for installation
Risk of damage from incorrect installation.
Incorrect installation can cause damage to the drawer and/or the combination appliance.
The appliance must only be installed by a qualified person.
- Before connecting the drawer to the mains supply, ensure that the connection data on the data plate (voltage and frequency) match the mains electricity supply. This data must correspond in order to avoid the risk of damage to the drawer. Consult a qualified electrician if in any doubt.
- The socket and on-off switch should be easily accessible after the drawer has been installed.
- The drawer may only be built in in combination with those appliances quoted by Miele as being suitable. Miele cannot guarantee trouble-free operation if the appliance is operated in combination with appliances other than those quoted by Miele as being suitable.
- The base on which the drawer and the combination appliance are fitted must be fixed in place and must support the weight of both appliances.
- When building in the combination appliance, it is essential to follow the instructions given in the operating and installation instructions supplied with the combination appliance.
- The drawer must be installed in such a way that
- you can see into the vacuum chamber. This helps to avoid scalding and burns from touching the hot sealing bar or weld seam.
- there is enough space for the drawer to be pulled out fully and for opening the glass lid.
Installation notes
The drawer can be used in combination with the following Miele built-in appliances:
- all ovens with an appliance front width of 595 mm
- all steam ovens with an appliance front width of 595 mm
- all coffee machines with an appliance front width of 595 mm
- all microwaves with an appliance front width of 595 mm
- the Dialog oven with an appliance front width of 595 mm
When building in the drawer with a combination appliance, the combination appliance is placed on top of the drawer without the need for an interim shelf.
Building-in dimensions
All dimensions are given in mm.
Installation in a tall or base unit
The furniture housing unit must not have a back panel fitted behind the building-in niche.
If the drawer is to be installed in a base unit underneath a hob, please also observe the installation instructions for the hob as well as the building-in depth required for the hob.

- Worktop protrusion ≤ 29 mm
Combination appliance for niches with a height of 450 mm
The furniture housing unit must not have a back panel fitted behind the building-in niche.

Combination appliance for niches with a height of 590 mm
The furniture housing unit must not have a back panel fitted behind the building-in niche.

Side view
A
EVS 7010: 22 mm
EVS 7110: 23.3 mm
Connections and ventilation

- View from the front
- Mains connection cable, L = 2200 mm
- No connections permitted in this area
- Ventilation cut-out, min. 1800 mm2
Installation
The drawer has an integrated vacuum pump which contains oil. To prevent oil from leaking out, the drawer must be transported and stored in a horizontal position only. Do not tilt the drawer and do not stand it up on its side.
For safe transportation, the vacuum pump is provided with a transit device which must be removed before installation. The air filter supplied must be fitted in place of the transit device. There are also 2 safety screws on the back of the drawer to prevent the drawer from being opened unintentionally during transportation and when it is being removed from the packaging.
Fit the air filter before building in the drawer and remove the safety screws at the back.
Otherwise the drawer cannot be operated and has to be taken out of the housing unit.
Keep the transit device and safety screws for any future transportation. The transit device can be secured to the back of the drawer.
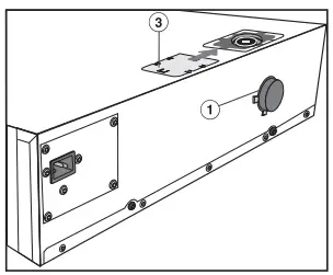
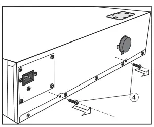
Fitting the air filter and removing the safety screws
- Slide the cover to the right and remove it.

- Pull the red transit device (1) up and out, e.g. with universal pliers.

- Screw the air filter (2) onto the vacuum pump using a screwdriver.

- Secure the transit device (1) to the back of the drawer.
- Slide the cover (3) over the opening to close it.

- Remove the safety screws (4) from the back of the drawer.

Oil may leak while transporting the drawer.
Remove the air filter (2) before transporting the drawer and plug the vacuum pump with the transit device (1).
To remove the air filter and fit the transit device, carry out these steps in reverse order.
Installing the drawer
Danger of injury due to incorrect installation.
The drawer is heavy and will tip forwards when open.
Installation must be carried out by two people.
Keep the drawer closed until it has been fitted to the side walls of the housing unit using the supplied anti-tipping mechanism.
Check that the base on which the drawer will sit is clean and level (use a spirit level). This is important for the appliance to function correctly.
Fitting the anti-tipping mechanism

- Measure the distance to the right and left-hand side walls of the housing (see illustration).
- Mark the uppermost position in the long slot of the anti-tipping mechanism (1). Make sure that the anti-tipping mechanism is flush with the base of the housing unit.

- Secure the anti-tipping mechanism to the right and left-hand side walls of the housing unit with the 4 screws supplied (4 x 16 mm).
Installing and connecting the drawer
- Check that the air filter is fitted and the safety screws have been removed from the back of the drawer (see “Installation – Building in”).
- Connect the mains cable to the drawer.
- Slide the closed drawer into the housing unit. When doing so make sure that the mains connection cable does not get trapped or damaged.
- Align the drawer at right angles.

When the drawer is first connected, or after an interruption to the mains, all of the sensor controls and indicators in the display will light up for approx. 10 seconds for testing (initialisation). As soon as they go out, the drawer is ready for use.
- When installing the combination appliance, protect the top edge of the front panel from abrasive marks.
- Install the combination appliance in accordance with the operating and installation instructions supplied with it.
Aligning the front of the drawer
After installing the combination appliance, it may be necessary under certain circumstances to align the front of the drawer and adjust the gap between the drawer and the combination appliance. To help you do this, there are 2 screws behind the drawer front with which the front is fixed to the drawer housing.
- Open the drawer.

- Loosen the fixing screws (1) on the right and left of the drawer housing. Do not remove the screws completely, as the front may fall off.
- Push the drawer up or down a little to correct the alignment and the gap.
- Tighten up the fixing screws.
Electrical connection
All electrical work should be carried out by a suitably qualified and competent person in strict accordance with current local and national safety regulations. Connection should be made via a switched socket. This will make it easier for service technicians should the appliance need to be repaired. The electrical socket must be easily accessible after installation.
Danger of injury.
Miele cannot be held liable for unauthorised installation, maintenance and repair work as this can be dangerous to users.
Miele cannot be held liable for damage or injury caused by incorrect installation, maintenance or repair work, or by an inadequate or faulty earthing system (e.g. electric shock).
If the plug is removed from the connection cable or if the cable is supplied without a plug, the appliance must be connected to the electrical supply by a suitably qualified electrician.
If the switched socket is not accessible after installation, or if the appliance is to be hard-wired, an additional means of disconnection must be provided for all poles. When switched off, there must be an all-pole contact gap of at least 3 mm in the switch (including switch, fuses and relays). Connection data is shown on the data plate. It must match the mains electrical supply.
After installation ensure that all electrical components are shielded and cannot be accessed by users.
Total power rating
See data plate
Connection data
The connection data is quoted on the data plate. Please ensure these match the household mains supply.
Residual current device
For extra safety, it is advisable to protect the drawer with a suitable residual current device (RCD) with a trip range of 30 mA.
Disconnecting from the mains
Risk of electric shock.
There is a risk of electric shock if the appliance is connected to the mains supply during repair or service work.
After disconnection, ensure the appliance cannot be switched back on by mistake.
To disconnect the appliance from the mains power supply, do one of the following depending on installation:
Safety fuses
- Completely remove fuses.
Automatic circuit breakers
- Press the (red) test button until the middle (black) button springs out.
Built-in circuit breakers
- Circuit breakers at least type B or C: Switch the lever from 1 (on) to 0 (off).
Residual current device (RCD)
- Switch the main switch from 1 (on) to 0 (off) or press the test button.
Replacing the mains connection cable
If the mains cable needs to be replaced it must be replaced with a special connection cable, type H 05 VV-F (PVC-insulated), available from your Miele dealer.






















