DURABOOK U11I Rugged Tablet Vehicle Dock User Manual
Package Contents
If any of following items is damaged, please contact your retailer.
- Vehicle Docking

- Car adapter

NOTE
The pictures are for reference only, actual items may slightly differ.
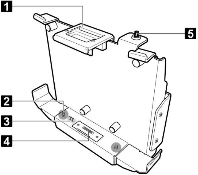
Product Overview
Front
| No. | Item |
| 1 | Top clamp |
| 2 | Grounding pin (x2) |
| 3 | Triple RF pass-thruconnectors (optional) |
| 4 | Docking connector |
| 5 | Lock (with key slot) |
Rear
Please contact dealer for appropriate adapter.
| No. | Item |
| 1 | DC-in jack* |
| 2 | LAN (RJ-45) port |
| 3 | USB3.0 port (x2) |
| 4 | USB2.0 port (x2) |
| 5 | HDMI port |
| 6 | VGA port |
| 7 | Serial port (RS-232) |
| 8 | Audio out jack |
| 9 | Microphone in jack |
| 10 | GPS antenna port |
| 11 | LTE antenna port |
| 12 | WIFI antenna port |
| 13 | Slide latch |
| 14 | Mounting holes for VESA mount(with VESA screw x4) |
Unlock the Lock
Lock on the docking cradle was locked during packaging. To unlock lock, do the following:
- Insert the lock key.
- Turn it clockwise until a “click” is heard, indicating the lock is released.
- Turn the key back counterclockwise to remove it from the key slot.
- Push the side latch all the way to the left to disengage the top clamp.


NOTE: Top clamp disengages automatically after the side latch is fully extended.
Docking the Tablet PC
- With screen side facing out and docking connector down, insert the tablet PC into the grounding pin on docking cradle.

- Secure the tablet PC by pressing firmly on the top clamp until a “click” is heard and the lock is fully engaged.

- Fully push the lock into position to ensure the lock is tightly secured
NOTE: If the lock cannot be pushed, adjust the lock position, and repeat step 3.
Undocking the Tablet PC
- Insert the lock key into the lock and turn clockwise until a “click” is heard. Turn the key back counterclockwise to remove it from the key slot. Refer to the “Unlock the Lock” section.

- Push the side latch all the way to the left to disengage the top clamp.
NOTE: Top clamp disengages automatically after the side latch is fully extended.
- Remove the tablet PC from the docking cradle.

Federal Communications Commission Statement
This equipment has been tested and found to comply with the limits for a Class A digital device, pursuant to part 15 of the FCC Rules. These limits are designed to provide reasonable protection against harmful interference when the equipment is operated in a commercial environment. This equipment generates, uses, and can radiate radio frequency energy and, if not installed and used in accordance with the instruction manual, may cause harmful interference to radio communications. Operation of this equipment in a residential area is likely to cause harmful interference in which case the user will be required to correct the interference at his own expense.
Warning: Operation of this equipment in a residential environment could cause radio interference.
IC Regulations
This device complies with Industry Canada’s licence-exempt RSSs. Operation is
subject to the following two conditions:
- This device may not cause interference; and
- This device must accept any interference, including interference that may cause undesired operation of the device.
This Class A digital apparatus complies with Canadian ICES-003.
Twinhead International Corp.
11F, No.550, Ruiguang Rd., Neihu, Taipei 11492, Taiwan, R.O.C.
![]()





























