DETEX 105830 Door Prop Alarm

The Detex EAX-300 is designed for applications that require a door prop alarm device on secured doors. The alarm, with approximately 100dB, will sound when someone attempts to keep the door open beyond the selected time.
The EAX-300, with it’s smaller size makes it the choice for quick and easy installations on emergency exit and restricted doors.
Should you have any Question/Problem with your Detex device please call Detex Technical Support from the job site at 1-800-729-3839 and choose option 2 on our menu. Please do not return the product to the distributor.
For WARRANTY information, scan code below or go to www.detex.com/warranty
For device installation videos, scan code below or go to www.detex.com/videos
PARTS BREAKDOWN

| PARTS BREAKDOWN | ||
| Item | Order Part # | Description |
| 1 | 105428-1 | Cover, gray |
| 105428-2 | Cover, black | |
| 2 | PP-5572 | Cover Lock, Nut & 2 Keys |
| 3 | MS-1039S | Mag Switch (surface mount) (see STEP 8) |
| 4 | PP-5567 | 9 Volt Battery |
| 5 | 102606 | Battery Retainer |
| 6 | 100783 | Cylinder Nut |
| 7 | 102655 | Cam Assembly Kit |
| 8 | 102627-15 | 8-32 Truss Head Screw |
| 9 | 105828-1 | S & R Circuit Board Kit, Standard |
| 105837-1 | S & R Circuit Board Kit, Weatherized | |
| 10 | PP-5374-46 | #4 x 3 /4″ Screw, PPH |
| 11 | 102715 | Backplate |
| 12 | 102665 | Magnet Kit |
| 13 | 102607 | Magnet Locator |
| 14 | 102633 | Hardware Kit (includes keystop parts)(not shown) |
Your particular part or configuration may not be shown:
Contact Detex technical support at 800-729-3839 (option 2)
| HARDWARE LIST | |||||
| SYMBOL | P/N & DESCRIPTION | DRILL SIZE | |||
![]() | P/N: PP-5183-29 | ||||
| #6 x 1-1/4″ PPH, TYPE AB THREAD FORMING (SMS) | #35 (7/64″) | ||||
![]() | P/N: 100980 1/4-20 x 1″ PPH MACHINE SCREW | #7 (.201″) | |||
![]() | P/N: 103276-63 #14 x 1″ PPH TYPE AB, SELF-DRILLING THREAD FORMING | 7/32″ or 3/16″ (OPTIONAL) | |||
![]() | P/N: PP-5360-108 6-32 x 1/2″ PPH TYPE C THREAD FORMING (ROLLING) | #32 (.116″) | |||
![]() | P/N: 102642-3 1/4″ x 1-3/16″ ANCHOR | 1/4″ | |||
STEP 1: REMOVE COVER FROM BACK-PLATE

STEPS 2-6: PREP DEVICE
Remove cam assembly from cover

Install mortise cylinder (sold separately) with cylinder nut provided

If 7-pin cylinder is used – OBSERVE

Re-install cam assembly

Set slide selector switch functions (See Table A)

Connect 9-volt battery and install as shown

Table A: Selector Switch Functions ( *Default settings; **Will shorten battery life)
| STATUS INDICATOR (SWITCH B) | OFF* | No indication that device is armed or disarmed. |
| ON | ARMED – red LED blinks approximately every 6 seconds.** DISARMED – green LED blinks approximately every 6 seconds.** | |
| DP (SWITCH A) | OFF* | Door prop mode |
| ON | Door chime mode |
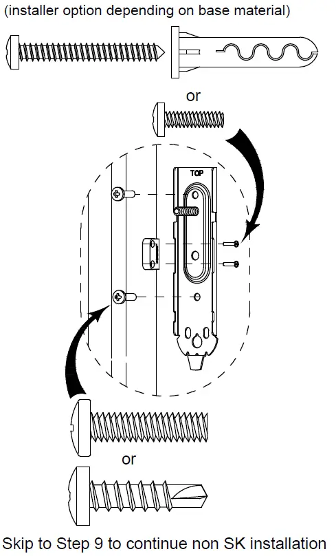
For Door Mounting – Door Prep & Backplate / Magnet Mounting (for Wall mounting (SK) go to step 7B)
Place Backplate and Magnet locator on door as shown below. Mark Backplate and Magnet holes on door and frame/mullion. Remove Backplate and Magnet locator before drilling holes.

(installer option depending on base material)

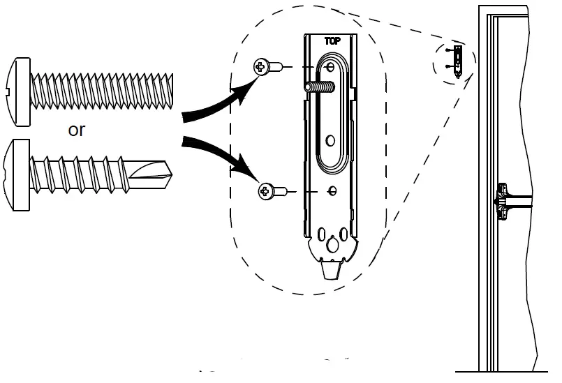
STEP 7B: For Wall Mounting (SK) – Backplate Mounting

STEP 8: NOT FOR USE ON EAX-300W

8d: SK Wire connections

NOTES:
- If wire runs longer than 10 feet, must use twisted pair.
- 1/16″ slotted jeweler screwdriver required.
Diagram shown typical for two door magnetic switches: MS-1039S & MS-1059S wire in series.
MS-2049 (Red wire not used)
Weatherized not available for SK installations

INSTALL DEVICE

OPTIONAL KEY STOP INSTALLATION
(Not required for normal operation)
(If required, key stop included in hardware kit)

Optional Accessories


SPECIAL NOTES and DEFINITIONS:
- The door needs to be closed to test the unit.
- When operating the ON/OFF switch, there is a slight delay.
- The key is inserted and removed only in the vertical position (home position).
- Key function: counter clockwise (CCW) = Armed; clockwise (CW) = Disarmed.
- The door prop function is selectable by setting SWITCH A to the OFF position. For door chime function, set SWITCH A to the ON position.

MAGNET HANDING / RE-HANDING PROCEDURE:
Magnet handing is where the device determines if the left, right or an external reed switch will be used to indicate if the door is opened or closed. When the battery is initially installed, the device simultaneously flashes the LEDs and chirps the siren a total of five times indicating the memory is cleared.
This indicates that the device is in the magnet handing process but not yet selected:
- Turn the key CW to the ‘OFF’ position.
- If re-handing is necessary, remove the unit from the door and momentarily short the REHANDING (orTest) jumper contacts. The device simultaneously flashes the LEDs and chirps the siren a total of five times.
- With the door open, install the device on the door.
- Turn the key CCW to the ‘ON’ position. The red LED blinks twice.
- Close the door or bring the external magnet into position with the external door switch.
The siren chirps and the LED flashes on the selected side of the device (red LED flashes for the left side or external; green LED flashes for right side).
The device will now operate normally, and the selected reed switch side is stored in memory so changing the battery does not require re-handing.


DOOR PROP OPERATIONS: The door prop function is selected by setting SWITCH A to the ‘OFF’ position. To arm the system, close the door and turn the key CCW to the ‘ON’ position. The red LED will flash twice indicating that the device is now armed. If the door is opened, the device will begin a timing countdown according to the selected amount of time (15 seconds default).
If the Status Indicator (switch B) is ‘ON’, the red LED will blink every second during the countdown. If the door is not closed before the door prop time runs out, the alarm sounds and the red LED flashes. Closing the door will silence the alarm and rearm the unit. To change the door prop timing, see the section Changing Door Prop Timing.
DOOR CHIME OPERATIONS:
The door chime function is selected by setting SWITCH A to the ‘ON’ position.
To arm the system, close the door and turn the key CCW to the ‘ON’ position. The red LED will flash twice indicating that the device is now armed. If the door is opened, the device sounds a series of siren chirps lasting five seconds. No other action is taken until the door is closed and the unit rearms.

DISARMING: To turn off the alarm or disarm the system, turn the key CW to the 2 o’clock position.
TROUBLESHOOTING: If the unit does not arm, the magnet may need to be re-aligned or shimmed closer to the EAX-300. If the unit fails to operate correctly, restart the device by removing the battery for approximately five seconds.
LOW BATTERY ALERT: Simultaneous siren chirps and red LED flashes occur at 45 second intervals when battery reaches approximately 7 volts. Cut the LV Opt jumper if low battery alert is not desired.
STATUS INDICATOR: With the Status indicator (SWITCH B) ‘ON’: red LED flashes every six seconds when armed; green LED flashes every six seconds when disarmed.
CHANGING DOOR PROP TIMING:
Note: *Device must be magnet handed. *LED indications will flash a total of 3 times before the timing is changed.
Step 1: Turn the key CW to the ‘OFF’ position, remove the unit from the door and disconnect the battery.
Step 2: Turn the key CCW to the ‘ON’ position.

Step 3: While holding the OKC lever in the closed position (by rotating lever to the left stop), reconnect the battery.
The device will chirp the siren once and the LEDs will flash the currently selected door prop time (See Table B). Release the OKC switch lever and turn the key to the ‘OFF’ position.

Step 4: Close then release the OKC switch lever to cycle to the next highest door prop time. Table B lists the available door prop times and their corresponding LED indications. For example, to indicate the default 15 second door prop time, the red LED would flash once, followed by 5 green LED flashes. To indicate 2 minutes, the red and green LEDs would flash simultaneously two times. Once the desired timing is selected, wait approximately 15 seconds for the unit to flash the selection three times. The timing has successfully been changed upon hearing the siren chirp four times. This new timing selection is retained in memory even with battery removal.
Table B
| Door Prop Timer | LED indication |
| 1 second | 1 GREEN flash |
| 15 seconds (Default) | 1 RED flash – 5 GREEN flashes |
| 30 seconds | 3 RED flashes |
| 45 seconds | 4 RED flashes – 5 GREEN flashes |
| 1 minute | 1 RED & GREEN simultaneous flash |
| 2 minutes | 2 RED & GREEN simultaneous flashes |
| 4 minutes | 4 RED & GREEN simultaneous flashes |
Step 5: Reinstall the device on the door.
TROUBLESHOOTING
| PROBLEM | PROBABLE CAUSE | ACTION |
| Device is not powering up. | 1) Battery not properly installed. | 1) Remove battery and firmly reinstall. |
| Device not arming. | 1) Magnet not aligned correctly. 2) Battery is dead. 3) Cylinder had wrong cam installed. 4) Cylinder microswitch lever broken. 5) Cylinder installed incorrectly. | 1) Use magnet locator to install magnet. See magnet handing. 2) Replace battery. 3) Requires standard Yale cam. 4) Microswitch needs to be replaced. Remove PCB and return to Detex Repair. 5) Check cylinder installation. Make sure key is turned counter-clockwise all the way to ON. |
| Chirp every 45 seconds | Low battery | Install new battery. |
| External magnet not working. | Device is not set for external magnet. | Cut JP1 jumper. With battery connected, short “Test mode” pins, listen for 5 chirps. See RE-HANDING section. |
| No connector for external magnet. | Weatherized device. | Weatherized device can not be used with external contact. |
DOOR PROP
| PROBLEM | PROBABLE CAUSE | ACTION |
| After arming and door is opened, the device chirps 4 times then shuts off. | The device is setup as Door Chime. | Reset device, slide Switch A to the OFF position. |
DOOR CHIME
| PROBLEM | PROBABLE CAUSE | ACTION |
| After arming and door is opened, the device blinks red. | The device is setup as Door Prop | Reset device, slide Switch A to the ON position. |

























