VENTS-US CFV 6000 Airvents CFV

Product Information
Airvents CFV
The Airvents CFV is an air handling unit designed for integration into central mechanical ventilation systems. The unit is rated for continuous operation and comes in various sizes ranging from AV01 to AV12. The unit has a counterflow or rotary core type and can be installed in a ceiling, double-deck, vertical,or rooftop setting. The nominal airflow ranges from 1000 to 9000, and the unit may or may not have a heater or cooling coil.
The Airvents CFV is not suitable for exhausting hazardous or explosive materials and vapors, flammable mixtures, evaporation of chemicals, sticky substances, fibrous materials, coarse dust, soot and oil particles or environments favourable for the formation of hazardous substances (toxic substances, dust, pathogenic germs). It is also not suitable for use in fire-rated installations and is intended for use in one- and two-family dwellings only.
The unit comes with a delivery set that includes a user manual,technical data sheet, automation wiring, control panel, user’s manual for automation, and packing box. The full technical data list is stated in the supplied technical data sheet.
Product Usage Instructions
Airvents CFV
Before removing the guard from the unit, ensure that it is switched off from the supply mains. Follow the regulations stipulated in the user manual to ensure long and trouble-free operation of the unit.
For general ventilating use only. Do not use the unit to exhaust hazardous or explosive materials and vapors. The product must be disposed of separately at the end of its service life and should not be disposed of as unsorted domestic waste.
When servicing or cleaning the unit, switch off the power at the service panel and lock the service disconnecting means to prevent power from being switched on accidentally. If the service disconnecting means cannot be locked, securely fasten a prominent warning device, such as a tag, to the service panel.
If you have any questions regarding the usage of the unit,contact the manufacturer. User’s warranty claims shall be subject to review only upon presentation of the unit, the payment document,and the user’s manual with the purchase date stamp.
This user’s manual is a main operating document intended for technical, maintenance, and operating staff.
The manual contains information about purpose, technical details, operating principle, design, and installation of the Airvents CFV unit and all its modifications.
Technical and maintenance staff must have theoretical and practical training in the field of ventilation systems and should be able to work in accordance with workplace safety rules as well as construction norms and standards applicable in the territory of the country.
SAFETY REQUIREMENTS
- THE UNIT MUST BE GROUNDED!
- DO NOT BEND THE POWER CABLE.
- AVOID DAMAGING THE POWER CABLE.
- DO NOT PUT ANY FOREIGN OBJECTS ON THE POWER CABLE.
- DO NOT USE DAMAGED EQUIPMENT OR CABLES WHEN CONNECTING THE UNIT TO POWER MAINS.
- DO NOT TOUCH THE UNIT CONTROLS WITH WET HANDS.
- DO NOT CARRY OUT THE INSTALLATION AND MAINTENANCE OPERATIONS WITH WET HANDS.
- DO NOT ALLOW CHILDREN TO OPERATE THE UNIT.
- DO NOT STORE ANY EXPLOSIVE OR HIGHLY FLAMMABLE SUBSTANCES IN CLOSE PROXIMITY TO THE UNIT.
- DO NOT OPEN THE UNIT DURING OPERATION.
- DO NOT BLOCK THE AIR DUCT WHEN THE UNIT IS SWITCHED ON.
- DO NOT SIT ON THE UNIT AND AVOID PLACING FOREIGN OBJECTS ON IT. UNPACK THE UNIT WITH CARE.
- WHILE INSTALLING THE UNIT, FOLLOW THE SAFETY REGULATIONS SPECIFIC TO THE USE OF ELECTRIC TOOLS.
- DO NOT LAY THE POWER CABLE OF THE UNIT IN CLOSE PROXIMITY TO HEATING EQUIPMENT.
- DO NOT OPERATE THE UNIT OUTSIDE THE TEMPERATURE RANGE STATED IN THE USER’S MANUAL.
- DO NOT OPERATE THE UNIT IN AGGRESSIVE OR EXPLOSIVE ENVIRONMENTS. DO NOT WASH THE UNIT WITH WATER.
- PROTECT THE ELECTRIC PARTS OF THE UNIT AGAINST INGRESS OF WATER. DISCONNECT THE UNIT FROM POWER MAINS PRIOR TO ANY TECHNICAL MAINTENANCE.
- WHEN THE UNIT GENERATES UNUSUAL SOUNDS, ODOR, OR EMITS SMOKE, DISCONNECT IT FROM POWER SUPPLY AND CONTACT THE SELLER.
- DO NOT DIRECT THE AIR FLOW PRODUCED BY THE UNIT TOWARDS OPEN FLAME OR IGNITION SOURCES.
- IN CASE OF CONTINUOUS OPERATION OF THE UNIT, PERIODICALLY CHECK THE SECURITY OF MOUNTING.
- USE THIS UNIT ONLY IN THE MANNER INTENDED BY THE MANUFACTURER. IF YOU HAVE QUESTIONS,CONTACT THE MANUFACTURER.
- THE UNIT SHOULD NOT BE OPERATED BY CHILDREN OR PERSONS WITH REDUCED PHYSICAL, MENTAL, OR SENSORY CAPACITIES, OR THOSE WITHOUT THE APPROPRIATE TRAINING.
- THE CHOICE OF UNIT INSTALLATION LOCATION MUST PREVENT UNAUTHORIZED ACCESS BY UNATTENDED CHILDREN.
- READ THE USER’S MANUAL BEFORE INSTALLING THE UNIT.
- INSTALLATION WORK AND ELECTRICAL WIRING MUST BE DONE BY QUALIFIED PERSON(S).
- WHEN CUTTING OR DRILLING INTO WALL OR CEILING, DO NOT DAMAGE ELECTRICAL WIRING AND OTHER HIDDEN UTILITIES.
- DO NOT MOUNT ROOM-TO-ROOM FAN IN A FIRE-RATED WALL.
- POWER OFF THE POWER SUPPLY PRIOR TO ANY OPERATIONS WITH THE UNIT. THE UNIT MUST BE CONNECTED TO POWER SUPPLY BY A QUALIFIED ELECTRICIAN.
- THE RATED ELECTRICAL PARAMETERS OF THE UNIT ARE GIVEN ON THE MANUFACTURER’S LABEL.
- ANY TAMPERING WITH THE INTERNAL CONNECTIONS IS PROHIBITED AND WILL VOID THE WARRANTY.
- INSTALLATION ONLY BY EXPERTS AND ONLY IN ACCORDANCE WITH
- LOCAL REQUIREMENTS AND NATIONAL ELECTRICAL CODE.
- DISCONNECT THE UNIT FROM POWER SUPPLY BEFORE ANY MAINTENANCE OPERATIONS!
- ENSURE THAT THE UNIT IS SWITCHED OFF FROM THE SUPPLY MAINS BEFORE REMOVING THE GUARD.
- FOLLOWING THE REGULATIONS STIPULATED HEREIN WILL ENSURE A LONG AND TROUBLE-FREE OPERATION OF THE UNIT.
- USER’S WARRANTY CLAIMS SHALL BE SUBJECT TO REVIEW ONLY UPON PRESENTATION OF THE UNIT, THE PAYMENT DOCUMENT AND THE
- USER’S MANUAL WITH THE PURCHASE DATE STAMP.
- TO REDUCE THE RISK OF FIRE, ELECTRIC SHOCK, OR INJURY TO PERSONS, OBSERVE THE FOLLOWING:
- USE THIS UNIT ONLY IN THE MANNER INTENDED BY THE MANUFACTURER. IF YOU HAVE QUESTIONS, CONTACT THE MANUFACTURER.
- BEFORE SERVICING OR CLEANING THE UNIT, SWITCH POWER OFF AT THE SERVICE PANEL AND LOCK THE SERVICE DISCONNECTING MEANS TO PREVENT POWER FROM BEING SWITCHED ON ACCIDENTALLY. WHEN THE SERVICE DISCONNECTING MEANS CANNOT BE
- LOCKED, SECURELY FASTEN A PROMINENT WARNING DEVICE, SUCH AS A TAG, TO THE SERVICE PANEL.
- FOR GENERAL VENTILATING USE ONLY. DO NOT USE TO EXHAUST
- HAZARDOUS OR EXPLOSIVE MATERIALS AND VAPORS.
PURPOSE
CAUTION!
FOR GENERAL VENTILATING USE ONLY.
DO NOT USE TO EXHAUST HAZARDOUS OR EXPLOSIVE MATERIALS AND VAPORS AS WELL AS FLAMMABLE MIXTURES, EVAPORATION OF CHEMICALS, STICKY SUBSTANCES, FIBROUS MATERIALS, COARSE DUST, SOOT AND OIL PARTICLES OR ENVIRONMENTS FAVOURABLE FOR THE FORMATION OF HAZARDOUS SUBSTANCES (TOXIC SUBSTANCES, DUST, PATHOGENIC GERMS).
FOR USE IN NON FIRE RATED INSTALLATIONS ONLY.
FOR USE IN ONE- AND TWO-FAMILY DWELLINGS ONLY.
The air handling unit with heat recovery is designed for integration into central mechanical ventilation systems.
The unit is rated for continuous operation.
Transported air must not contain any flammable or explosive mixtures, evaporation of chemicals, sticky substances, fibrous materials, coarse dust, soot and oil particles or environments favourable for the formation of hazardous substances (toxic substances, dust, pathogenic germs).
DESIGNATION KEY
| TM | Casing size | Core type | Installation | Nominal airflow | Heater type | Heat exchanger type | Cooling coil type | Service side | Controller |
| Airvents | AV01 | CF – counterflow | P – ceiling | 1000 | HE – electric | E – enthalpy heat | CDX – DX-coil | L – left | A30 – Kvent |
| AV02 | R – rotary | H – double-deck | 1200 | HW – water | exchanger | CW – water coil | R – right | with thTune | |
| AV03 | V – vertical | 1500 | _ – no heater | _ – sensible heat | _ – no cooling | A31 – Kvent | |||
| AV07 | T – rooftop | 2500 | exchanger | A32 – Kvent | |||||
| AV12 | 3500 | with pGDE | |||||||
| 5000 | A21 – wireless | ||||||||
| 6000 | control system | ||||||||
| 9000 | A25 – control | ||||||||
| panel with | |||||||||
| touch screen | |||||||||
TECHNICAL DATA
The unit is designed for indoor or sheltered use. Outdoor unsheltered mounting is allowed provided an extra cover and weather hoods are installed on the air ducts (not included in the delivery set). The frost protection for the water drainage and connected pipelines must be provided during sub-zero ambient temperatures (if the unit is equipped with air cooler). The heat medium temperature in the water heat exchangers (if available) must be sufficient to prevent its freezing.
Hazardous parts access and water ingress protection rating:
- IP54 for the unit motors
- IP40 for the assembled unit connected to the air ducts without extra cover or weather hoods
- IP00 for the unit not connected to the air ducts
The unit design is constantly being improved, thus some models may be slightly different from those described in this manual.

| Model | A | B | B1 | B2 | B3 | D |
| AV01 CFV 800(1200) | 49 3/16 | 55 1/8 | 31 1/2 | 25 13/16 | 27 1/2 | 12 3/8 |

| Model | A | A1 | B | B1 |
| AV02 CFV 1500(2500) | 71 3/ 4 | 61 | 76 3/ 4 | 29 1/ 2 |
| AV03 CFV 3500 | 81 1/ 2 | 70 7/ 8 | 86 5/ 8 | 35 1/ 16 |
| AV07 CFV 5000(6000) | 81 1/ 2 | 70 7/ 8 | 91 3/ 4 | 54 3/ 4 |
The full technical data list is stated in the supplied technical data sheet.
UNIT

- drain pipe;
- water heater (only for the units with water heater) ;
- electric heater (only for the units with electric heater);
- supply fan;
- supply filter;
- extract fan;
- heat exchanger;
- extract fan;
- air flow control damper with electric actuator;
- bypass damper;
- control unit;
- removable holder
The unit design provides change of the air duct positioning. For this purpose the side walls are plugged.

To change positioning of the air ducts use the plugs from the side walls for the front panel.

INSTALLATION AND SET-UP
The units are available in left- and right-sided modifications with the right or left service side.
All the assembly units are accessible on the service side.

Connection of the air ducts is shown with the stickers of the respective colours: yellow for the extract air duct, green for the intake air duct,red for the supply air duct and brown for the exhaust air duct.
During installation works sufficient maintenance and service access must be provided.
The recommended minimum distances from the unit to the walls are shown below.

The delivery set includes removable levelling feet to adjust horizontal levelling of the unit and provide required clearance from the floor to enable correct mounting of the condensed water drainage.

Condensate drainage
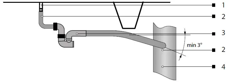
The unit is equipped with drain pipes to remove condensed water outside of the unit. U-traps must be connected to the drain pipes.
Dimensions of the U-trap must be selected based on air pressure in the section and are stated in the table.

| Total Fan Pressure | Size H | Size h | |||
| [Pa] | [inWG] | [mm] | [in] | [mm] | [in] |
| <600 | < 2.4 | 100 | 3 15/16 | 50 | 1 15/16 |
| 600-1000 | 2.4-4 | 140 | 5 1/2 | 70 | 2 3/4 |
| 1000-1400 | 4-5.6 | 190 | 7 1/2 | 95 | 3 3/4 |
| 1400-1800 | 5.6-7.2 | 240 | 9 7/16 | 120 | 4 3/4 |
| 1800-2200 | 7.2-8.8 | 290 | 11 7/16 | 145 | 5 11/16 |
| 2200-2600 | 8.8-10 | 340 | 13 3/8 | 170 | 6 11/16 |
Connect the drain pipe, U-trap and sewage system using metal, plastic or rubber connecting pipes.

Prior to starting operation make sure that water has unobstructed flow in the sewage system.
Fill the U-trap with water before operation.
Connection of the water heater (only for the models with water heater)
While connecting the water heater keep the straight air duct section length not less than 15 3/4 mm from the unit. Otherwise the maintenance panel cannot be opened!

CONNECTION TO POWER MAINS
Connection to power mains must be conducted in compliance with the automation user’s manual.
TECHNICAL MAINTENANCE
WARNING – TO REDUCE THE RISK OF FIRE, ELECTRIC SHOCK, OR INJURY TO PERSONS, OBSERVE THE FOLLOWING:
BEFORE REMOVING THE FILTERS, SWITCH OFF THE EXTERNAL AUTOMATIC CIRCUIT BREAKER AND LOCK THE SERVICE DISCONNECTING MEANS, THEN OPEN THE HINGED SERVICE PANEL AND REMOVE THE FILTERS CAREFULLY.
IT IS POSSIBLE TO CLEAN FILTERS WITH A VACUUM CLEANER OR RINSE THEM WITH WATER AND DRY.
MAKE SURE FILTERS ARE COMPLETELY DRY BEFORE THEY HAVE BEEN INSTALLED BACK INTO THE UNIT.
OPEN THE UNIT FOR INSPECTION AND SERVICE NOT LESS THAN 2 MINUTES AFTER COMPLETE DEENERGIZING OF THE UNIT.
THE FANS ROTATION MAY BE STILL PRESENT.
IN CASE OF ANY ABNORMAL NOISE, SMELL AND COMPONENT DEFORMATION IMMEDIATELY CUT OFF POWER SUPPLY TO THE UNIT AND CONTACT A SERVICE PROVIDER OR THE UNIT SELLER.
The unit operation requires regular inspection, dry cleaning of inner components, check-up and replacement of air filters in case of filter contamination. 3-6 months after commissioning of the unit it must be inspected by a service expert for planned preventive maintenance of the unit. Next maintenance operations must be conducted at least every 6-12 months.
Maintenance periodicity is determined by a service expert depending on operation conditions of the unit.
Dust deposits on the inner parts of the unit, especially in the electric heater, may lead to unpleasant odours.
It is not a malfunction. Clean the unit to troubleshoot unpleasant odours.
Open the service doors to access the filters.

To access the heat exchanger remove the holder 13 (see page 7).
Loosen the screws (1) on the retaining clamps (2) using a hexagon wrench.

Pull the heat exchanger out.

STORAGE AND TRANSPORTATION REGULATIONS
- Store the unit in the manufacturer’s original packaging box in a dry closed ventilated premise with temperature range +41 ˚F…+104 ˚F at RH not exceeding 70%.
- Storage environment must not contain aggressive vapours and chemical mixtures provoking corrosion, insulation, and sealing deformation.
- Use suitable hoist machinery for handling and storage operations to prevent possible damage to the unit.
- Follow the handling requirements applicable for the particular type of cargo.
- The unit can be carried in the original packaging by any mode of transport provided proper protection against precipitation and mechanical damage. The unit can be transported only in the working position.
- Avoid sharp blows, scratches, or rough handling during loading and unloading.
- Prior to the initial power-up after transportation at sub-zero temperatures, allow the unit to warm up at operation temperatures for at least 3-4 hours.
MANUFACTURER’S WARRANTY
Production meets standard operating requirements in the USA and Canada.
Vents US warrants to the original purchaser of the unit that it will be free from defects in materials or workmanship for a period of 24 months from the date of original purchase. The Vents US warrants to the original purchaser of the unit that the integrated control unit will be free from defects in materials and workmanship for a period of 24 months from the date of original purchase.
THERE ARE NO OTHER WARRANTIES, EXPRESS OR IMPLIED, INCLUDING, BUT NOT LIMITED TO, IMPLIED WARRANTIES OF MERCHANTABILITY OR FITNESS FOR A PARTICULAR PURPOSE.
During the stated warranty period, Vents US will, at its option, repair or replace, without charge, any product or part which is found to be defective under normal use and service. This warranty does not cover (a) normal maintenance and normal service or (b) any products or parts which have been subject to misuse, negligence, accident, improper maintenance or repair (other than by Vents US), faulty installation or installation contrary to recommended installation instructions. Labor to remove and replace products is not covered. The duration of any implied warranty is limited to the time period specified for the express warranty. Some states do not allow limitations on how long an implied warranty lasts, so the above limitation may not apply to you.
VENTS US OBLIGATION TO REPAIR OR REPLACE, AT VENTS US OPTION, SHALL BE THE PURCHASER’S SOLE AND EXCLUSIVE REMEDY UNDER THIS WARRANTY. VENTS US SHALL NOT BE LIABLE FOR INCIDENTAL, CONSEQUENTIAL OR SPECIAL DAMAGES ARISING OUT OF OR IN CONNECTION WITH PRODUCT USE OR PERFORMANCE.
Some states do not allow the exclusion or limitations of incidental or consequential damages, so the above limitation or exclusion may not apply to you. This warranty gives you specific legal rights, and you may also have other rights which vary from state to state. This warranty supersedes all prior warranties. If proof of sales date is absent, warranty period is calculated from the production date. The unit can be exchanged at the following address:
Vents-US
400 Murray Road, Cincinnati, OH 45217, USA
Tel: 1-888-640-0925, 513-583-5786, Fax: 513-268-4597
E-mail: [email protected]
www.vents-us.com
Please follow guidelines in this manual for product problem-free operation.
FOLLOWING THE REGULATIONS STIPULATED HEREIN WILL ENSURE A LONG AND TROUBLE-FREE OPERATION OF THE UNIT.
USER’S WARRANTY CLAIMS SHALL BE SUBJECT TO REVIEW ONLY UPON PRESENTATION OF THE UNIT, THE PAYMENT DOCUMENT AND THE USER’S MANUAL WITH THE PURCHASE DATE STAMP.
CERTIFICATE OF ACCEPTANCE
| Unit Type | Air handling unit |
| Model | |
| Serial Number | |
| Manufacture Date | |
| Quality Inspector’s Stamp |
SELLER INFORMATION
| Seller | |
| Address | |
| Phone Number | |
| Purchase Date | |
| This is to certify acceptance of the complete unit delivery with the user’s manual. The warranty terms are acknowledged and accepted. | |
| Customer’s Signature | |
INSTALLATION CERTIFICATE
| The unit is installed pursuant to the requirements stated in the present user’s manual. | ||
| Company name | ||
| Address | ||
| Phone Number | ||
| Installation Technician’s Full Name | ||
| Installation Date: | Signature: | |
| The unit has been installed in accordance with the provisions of all the applicable local and national construction, electrical and technical codes and standards. The unit operates normally as intended by the manufacturer. | ||
| Signature: | ||
WARRANTY CARD
| Unit Type | Air handling unit |
| Model | |
| Serial Number | |
| Manufacture Date | |
| Purchase Date | |
| Warranty Period | |
| Seller |



















