VENTS VUT 200 V EC Air Handling Unit

This user’s manual is a main operating document intended for technical, maintenance, and operating staff.
The manual contains information about purpose, technical details, operating principle, design, and installation of the VUT/VUE 200/250 V(B) EC unit and all its modifications.
Technical and maintenance staff must have theoretical and practical training in the field of ventilation systems and should be able to work in accordance with workplace safety rules as well as construction norms and standards applicable in the territory of the country.
SAFETY REQUIREMENTS
- All user’s manual requirements, as well as the provisions of all the applicable local and national construction, electrical, and technical norms and standards, must be observed when installing and operating the unit.
- Disconnect the unit from the power supply prior to any connection, servicing, maintenance, and repair operations.
- Only qualified electricians with a work permit for electrical units up to 1000 V are allowed for installation and maintenance. The present user’s manual should be carefully read before beginning works.
- Check the unit for any visible damage of the impeller, the casing, and the grille before starting installation. The casing internals must be free of any foreign objects that can damage the impeller blades.
- While mounting the unit, avoid compression of the casing! Deformation of the casing may result in motor jam and excessive noise.
- Misuse of the unit and any unauthorised modifications are not allowed.
- Do not expose the device to adverse atmospheric agents (rain, sun, etc.).
- Transported air must not contain any dust or other solid impurities, sticky substances, or fibrous materials.
- Do not use the unit in a hazardous or explosive environment containing spirits, gasoline, insecticides, etc.
- Do not close or block the intake or extract vents in order to ensure the efficient airflow.
- Do not sit on the unit and do not put objects on it.
- The information in this user’s manual was correct at the time of the document’s preparation. The Company reserves the right to modify the technical characteristics, design, or configuration of its products at any time in order to incorporate the latest technological developments. Never touch the unit with wet or damp hands.
- Never touch the unit when barefoot.
- This appliance is not intended for use by persons (including children) with reduced physical, sensory or mental capabilities, or lack of experience and knowledge unless they have been given supervision or instruction concerning use of the appliance by a person responsible for their safety.
- Children should be supervised to ensure that they do not play with the appliance.
- If the supply cord is damaged, it must be replaced by the manufacturer, its service agent, or similarly qualified persons in order to avoid a safety hazard.
- Ensure that the appliance is switched off from the supply mains before removing the guard.
- Precautions must be taken to avoid the back-flow of gases into the room from the open flue of gas or other fuel-burning appliances.
THE PRODUCT MUST BE DISPOSED SEPARATELY AT THE END OF ITS SERVICE LIFE. DO NOT DISPOSE THE UNIT AS UNSORTED DOMESTIC WASTE.
PURPOSE
The unit is designed to ensure continuous mechanical air exchange in houses, offices, hotels, cafes, conference halls, and other utility and public spaces as well as to recover the heat energy contained in the air extracted from the premises to warm up the filtered stream of intake air.
The unit is not intended for organizing ventilation in swimming pools, saunas, greenhouses, summer gardens, and other spaces with high humidity.
Due to the ability to save heating energy by means of energy recovery, the unit is an important element of energy-efficient premises. The unit is a component part and is not designed for stand-alone operation. It is rated for continuous operation.
Transported air must not contain any flammable or explosive mixtures, evaporation of chemicals, sticky substances, fibrous materials, coarse dust, soot and oil particles or environments favourable for the formation of hazardous substances (toxic substances, dust, pathogenic germs).
DELIVERY SET
Name Number
Air handling unit 1 pc.
User’s manual 1 pc.
Control panel user’s manual Control panel 1 pc.
Drain pipe 1 pc.
Mounting bracket 1 pc.
F7 label 1 pc.
Packing box 1 pc.
DESIGNATION KEY

TECHNICAL DATA
The unit is designed for indoor application with the ambient temperature ranging from +1 °C up to +40 °C and relative humidity up to 60 % without condensation. In cold, damp rooms, there is a possibility of freezing or condensation inside and outside the casing.
In order to prevent condensation on the internal walls of the unit, it is necessary that the surface temperature of the casing is 2-3 °C above the dew point temperature of the transported air.
The unit should be operated continuously, and in cases where ventilation is not necessary, reduce the air flow of the fans to a minimum (20%). This will ensure a favorable indoor climate and reduce the amount of condensation inside the unit, which can damage electronic components. Never use the unit for dehumidification, for example, of new buildings.
The unit is rated as a Class I electrical appliance.
Hazardous parts access and water ingress protection rating:
IP20 for the unit connected to the air ducts
IP44 for the unit motors
The unit design is constantly being improved, thus some models may be slightly different from those described in this manual.
| Parameter | VUT 200 V EC | VUE 200 V EC | VUT 200 VB EC | VUE 200 VB EC | VUT 250 V EC | VUE 250 V EC | VUT 250 VB EC | VUE 250 VB EC |
| Unit voltage [V/50 (60) Hz] | 1~ 230 | |||||||
| Maximum unit power [W] | 112 | 115 | ||||||
| Unit current [A] | 0.9 | 0.9 | ||||||
| Maximum air flow [m3/h] | 250 | 290 | ||||||
| Sound pressure level at a distance of 3 m [dBA] | 24 | 25 | ||||||
| RPM [min-1] | 2050 | |||||||
| Transported air temperature [°С] | from -25 up to +40 | from -25 up to +40 | from -25 up to +40 | from -25 up to +40 | ||||
| Casing material | polymer coated steel | polymer coated steel | polymer coated steel | polymer coated steel | ||||
| Insulation | 25 mm, mineral wool | 25 mm, mineral wool | 30 mm, mineral wool | 30 mm, mineral wool | ||||
| Extract filter | G3 | G3 | G4 | G4 | ||||
| Supply filter | G3 | G3 | G4, F7 | G4, F7 | ||||
| Connected air duct diameter [mm] | Ø125 | Ø125 | Ø160 | Ø160 | ||||
| Weight [kg] | 45 | 45 | 51 | 51 | ||||
| Heat recovery efficiency [%] | 83-98 | 74-94 | 83-98 | 74-94 | 85-94 | 77-90 | 85-94 | 77-90 |
| Heat exchanger type | counter-flow | counter-flow | counter-flow | counter-flow | ||||
| Heat exchanger material | polystyrene | enthalpy | polystyrene | enthalpy | polystyrene | enthalpy | polystyrene | enthalpy |
| SEC class | A+ | A | A+ | A | A+ | A+ | A+ | A+ |
Overall and connecting dimensions [mm]

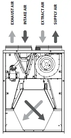
DESIGN AND OPERATING PRINCIPLE
- bypass damper (VUT/VUE 200/250 VB EC)
- supply fan
- HV1 or HV2 humidity sensor (installed at the request of the customer)
- control unit
- extract fan
- supply filter
- extract filter
- freeze protection sensor
- counter-flow heat exchanger
- drain pan
- drain pipe
- detachable service plates for filter maintenance operations

- terminal box
- bypass damper (VUT/VUE 200/250 VB EC)
- supply fan
- HV1 or HV2 humidity sensor (installed at the request of the customer)
- extract fan
- internal control unit
- supply filter
- extract filter
- supply filter
- counter-flow heat exchanger
- freeze protection sensor
- drain pan
- drain pipe
- SETUP MODE button (for the units with A21 automation)
- detachable service plates for filter maintenance operations
The unit casing is made of rigidly fixed panels. The panels are made of painted steel sheet and galvanized steel sheet with a heat- and sound-insulating layer of mineral wool between them.
The front panel of the unit has removable plates to enable filter replacement. Location of the service side may be changed.
The difference between the supply and extract air flow temperatures in the VUT 200/250 V(B) EC units leads to condensate generation. Condensate is collected in the drain pan and is removed outside through the drain pipe.
The VUE 200/250 V(B) EC units are equipped with an enthalpy heat exchanger and do not require condensate drainage.
Accessories for the unit are available on a separate order.
- Humidity sensor. The unit with an installed humidity sensor maintains a set indoor humidity level. As the extract air humidity rises above the setpoint, the system automatically switches to the maximum speed. As the humidity drops down below the set point, the unit returns to the previous mode.
- CO2 sensor. Measures the level of concentration of carbon dioxide in the room and generates a signal that controls the performance of the fan. Air capacity control based on CO2 concentration is an efficient energy-saving solution.
- VOC sensor. Qualitative assessment of air saturation with contaminants (cigarette smoke, exhaled air, solvent and detergent vapours). The sensor sensitivity can be adjusted with regards to the expected maximum level of air pollution. Enables on-demand ventilation which results in considerable energy savings as air is exchanged only upon reaching the preset level of pollution.
- NKP duct heater for intake air preheating. The heater maintains the air temperature in the intake duct at a level that prevents the heat exchanger from freezing. Heater installation and connection to the unit are described in the heater user’s manual
- NKD duct reheater. The heater maintains the room temperature set by the user. Heater installation and connection to the unit are described in the heater user’s manual.
Compatibility table of optional equipment and unit models

UNIT OPERATION MODES
Heat Recovery mode
Air from the room flows into the unit, where it is filtered by the extract filter, then air flows through the heat exchanger and is exhausted outside by the exhaust fan. Air from outside flows into the unit, where it is cleaned in the supply filter. Then the air flows through the heat exchanger and is directed to the room with the supply fan. Intake air is heated in the heat exchanger by transferring the heat energy of warm and humid extract air to the cold fresh air. The air flows are fully separated while flowing through the heat exchanger. Heat recovery minimizes heat losses, which reduces the cost of space heating in the cold season.
Freeze protection (danger of freezing appears when the exhaust air temperature downstream of the heat exchanger is lower than +5 °C and intake air temperature upstream of the heat exchanger is lower than -3 °C for the units with preheating, and when exhaust temperature downstream of the heat exchanger is lower than +3 °C for the units without preheating). To protect the heat exchanger from freezing in the cold season, the unit has a Frost Protection mode based on the temperature sensor readings. The temperature sensor is installed in the exhaust air duct downstream of the heat exchanger.
The Frost Protection mode is activated at an exhaust air temperature of +3 ˚С. After temperature increase the unit returns to the previous operation mode. In units with an A11 or A19 control panel, the frost protection mode must be activated, see the User’s manual of the control panel. In case of freezing danger, the supply fan is turned off in the units with an A14 control panel. After temperature increase the unit returns to the previous operation mode. The VUT/VUE 250 V(B) EC A21 units have three frost protection modes: gradual reduction of the supply fan speed; with the bypass; with the electric preheater (if the unit is equipped with a duct preheater). Mode selection and settings are described in the A21 control system user’s manual.
Summer Cooling mode (ventilation)
The extract air flows through the bypass duct and does not come in contact with the heat exchanger. The air duct is opened with the bypass damper. The intake air temperature remains constant.
AIRFLOW DIRECTION
The air flow direction depending on the operation mode of the VUT/VUE 200 V(B) EC unit is shown below.
| Heat Recovery mode | Freeze protection | Summer Cooling mode | |
| Supply fan is off | Bypass duct is opened | Bypass duct is opened | |
| VUT/VUE 200 V(B) EC VUT/VUE 250 V(B) EC | VUT/VUE 200 V(B) EC VUT/VUE 250 V(B) EC | VUT/VUE 200 V(B) EC VUT/VUE 250 V(B) EC | VUT/VUE 200 V(B) EC VUT/VUE 250 V(B) EC |
![]() | ![]() | ![]() | ![]() |
MOUNTING AND SET-UP
READ THE USER’S MANUAL BEFORE INSTALLING THE UNIT.
HUMIDITY SENSOR MOUNTING IN THE EXTRACT AIR DUCT
CAUTION!
The humidity sensor must be installed in the air duct prior to the unit mounting.
HV1 humidity sensor mounting sequence:
- Remove the screws that retain the panel on side of the extract spigot and remove it.
- Place the humidity sensor in the mount.
- Connect the humidity sensor connector to the connector with a cable from the control unit. The connector is mounted by the manufacturer.

HV2 humidity sensor mounting sequence:
- Remove the screws that retain the panel on side of the extract spigot and remove it
- Place the humidity sensor in the mount.
- Connect the humidity sensor connector to the connector with a cable from the control unit. The connector is mounted by the manufacturer.

HV2 humidity sensor mounting sequence:
- Unscrew the front panel on the service side and the back panel.
- Remove the panels and change their positions. Attach the panels with screws to the casing.

The delivery set includes a label indicating the filter type and the air flow direction. Stick it on a removable plate (only for the VUT/VUE 250 V(B) EC units).

Note: service side change is shown by the example of the VUT/VUE 250 V(B) EC unit.
UNIT INSTALLATION
To get the best performance of the unit and to minimize turbulence-induced air pressure losses, connect the straight air duct section to the spigots on both sides of the unit while installing. Minimum straight air duct length:
- equal to 1 air duct diameter on the intake side
- equal to 3 air duct diameters on outlet side

If the air ducts are too short or not connected, protect the unit parts from ingress of foreign objects. To prevent uncontrollable access to the fan, the spigots may be covered with a protecting grille or other protecting devices with mesh width not more than 12.5 mm. While installing the unit, ensure convenient access for subsequent maintenance and repair. The unit must be mounted on a plane wall. Installing the unit to an uneven surface could lead to the unit’s casing distortion and operation disturbance.
UNIT WALL MOUNTING
Dowels and screws for wall mounting of the unit are not included in the delivery set, must be purchased separately.
When selecting the dowels, it is necessary to take into account the material of the mounting surface and the weight of the unit (see the technical data). Dowels must be selected by the installer.
Install the dowels in the wall.
Fix the wall bracket with screws at the required level. Hang the unit onto the bracket.

Note: mounting is shown by the example of the VUT/VUE 200 V(B) EC unit.
UNIT FLOOR MOUNTING
Install the unit on the pre-mounted floor supports, minimum 150 mm height, to ensure sufficient access for the drain pipe connection to the U-trap and for condensate drain system installation.
CONDENSATE DRAINAGE
Condensate drainage is required for the VUT 200/250 V(B) EC units.
The hole for the drain pipe is at the bottom of the unit. Remove the plug from the hole, open the service panel and install the drain pipe from the delivery set into the hole, then connect the drain pipe to the sewage system using the SG-32 U-trap kit (available upon separate order). The drain pipe must have a minimum slope of 3˚.

Note: installation of the drain pipe is shown on the example of the VUT 200 V(B) EC unit.
CONNECTION TO POWER MAINS
POWER OFF THE POWER SUPPLY PRIOR TO ANY OPERATIONS WITH THE UNIT.
THE UNIT MUST BE CONNECTED TO POWER SUPPLY BY A QUALIFIED ELECTRICIAN.
THE RATED ELECTRICAL PARAMETERS OF THE UNIT ARE GIVEN ON THE MANUFACTURER’S LABEL.
ANY TAMPERING WITH THE INTERNAL CONNECTIONS IS PROHIBITED AND WILL VOID THE WARRANTY.
The unit is rated for connection to 1~230 V/50 (60) Hz power mains.
The external power input must be equipped with an automatic circuit breaker built into the stationary wiring to open the electric circuit in case of overload or short-circuit. The circuit breaker installation place must provide quick access for emergency shutdown of the unit. The trip current of the automatic circuit breaker must exceed the maximum current consumption of the unit (refer to the technical data table). The recommended trip current of the circuit breaker is the next current in the standard trip current row following the maximum current of the connected unit. The automatic circuit breaker is not included in the delivery set.
Access to the control unit

- Unscrew the front panel on the service side and remove it.
- Remove the heat exchanger.
- Remove the screws that retain the electric mounting plate and push it downwards.
For VUT/VUE 200 V(B) EC models both terminal blocks X1 and X2 are located on the electric mounting plate of the internal control unit.
For VUT/VUE 250 V(B) EC models the terminal block X1 is located on the electric mounting plate.
Access to the terminal box (only for the VUT/VUE 250 V(B) EC units)

- The X2 terminal block is located in the external terminal box on the unit casing.
- To access the X2 terminal block, remove the screws on the terminal box and remove the lid.

ELECTRIC SHOCK HAZARD!
| Designation | Name | Cable type | Maximum cable length | Note |
| SМ1* | Supply air damper actuator | 2×0.75 mm2 | 20 m | LF 230 |
| SМ2* | Extract air damper actuator | 2×0.75 mm2 | 20 m | LF 230 |
| РК* | Contact from fire alarm panel | 2×0.75 mm2 | 20 m | no |
| Р1 | Control panel | 4×0.25 mm2 | 10 m |
Is not included in the delivery set.

ELECTRIC SHOCK HAZARD!

- Is not included in the delivery set.
- Maximum connecting cable length is 20 m!.

| Designation | Name | Model | Wire |
| *CCU | DX cooler | NO | 2×0.75 mm2 |
| *SМ1 | Supply air damper actuator | LF 230 | 2×0.75 mm2 |
| *SМ2 | Extract air damper actuator | LF 230 | 2×0.75 mm2 |
| *РК1 | Contact from fire alarm panel | NO | 2×0.75 mm2 |
| *КН | Contact from kitchen hood | NO | 2×0.75 mm2 |
| Р1 | External control panel |
The unit is not included in the delivery set.

| Designation | Name | Model | Wire*** | Note |
| SМ1* | Supply air damper actuator | NO | 2 x 0.75 mm2 | 3 A, 30VDC/~250 AC |
| SМ2 * | Extract air damper actuator | NO | 2 x 0.75 mm2 | 3 A, 30VDC/~250 AC |
| РК1* | Contact from fire alarm panel | NC | 2 x 0.75 mm2 | |
| CCU* | CCU control | NO | 2 x 0.75 mm2 | 3 A, 30VDC/~250 AC |
| Р1* | External control panel | 4 x 0.25 mm2 | ||
| Boost* | Contacts ON/OFF Boost | NO | 2 x 0.75 mm2 | |
| CO2* | Outdoor CO2 sensor | 3 x 0.75 mm2 |
- Is not included in the delivery set
- The supply voltage U of the SM1 and SM2 external dampers is selected depending on the type of dampers.
Maximum connecting cable length is 20 m!
Output parameters: terminals 16-21 – 3 A, 30VDC / ~ 250VAC (“dry contact”).
TECHNICAL MAINTENANCE
DISCONNECT THE UNIT FROM POWER SUPPLY BEFORE ANY MAINTENANCE OPERATIONS!
The unit must undergo technical maintenance 3 to 4 times a year. Maintenance includes general cleaning of the unit and the following operations:
- Filter maintenance (3-4 times per year).
Dirty filters increase air resistance in the system and reduce supply air volume. The filters require cleaning not less than 3-4 times per year.
Cleaning of F7 filters
Remove the dirty filters from the unit. Clean the filters with a vacuum cleaner and install them back to the unit.
After two cleanings filters must be replaced. For new filterscontact the Seller.
Cleaning of G4 filters
Remove the dirty filters from the unit. Then remove the retaining clamps to pull the filters from the frames. Rinse the filters with water and leave them dry out. After drying, reassemble the filters in the reverse order and place them back into the unit.
Note: access to the filters is shown on the example of the VUT/VUE 250 V(B) EC unit.
- Heat exchanger maintenance (once a year).
Some dust may accumulate on the heat exchanger block even in case of regular maintenance of the filters. To maintain the high heat recovery efficiency, regular cleaning is required.
Wet cleaning of the heat exchanger
To clean the heat exchanger, pull it out, flush the heat exchanger with warm detergent solution. After cleaning install the dry heat exchanger back to the unit.
Dry cleaning of the heat exchanger
Remove the clogged heat exchanger out of the unit, clean it with a vacuum cleaner and install the heat exchanger back to the unit.
Note: access to the heat exchanger is shown on the example of the VUT/VUE 250 V(B) EC unit. - Fan maintenance (once a year).
Even in case of regular maintenance of the filters, some dust may accumulate inside the fans and reduce the fan performance and supply air flow. Clean the fans with a soft brush or cloth. Do not use water, aggressive solvents, or sharp objects as they may damage the impeller. - Technical maintenance of condensate drainage system (once a year).
The condensate drainage (drain line) may get clogged by dirt and dust particles contained in the exhaust air. Pour some water inside the drain pan to check the pipe for clogging. Clean the U-trap and the drain pipe if required. - Technical maintenance of air duct system (every 5 years).
Even regular fulfilling of all the prescribed above maintenance operations may not completely prevent dirt accumulation in the air ducts which reduces the unit capacity. Duct maintenance means regular cleaning or replacement. - Control unit maintenance (if necessary).
The control unit maintenance must be performed by an expert qualified for unassisted operations with electrical installations with the voltage up to 1000 V after careful reading of the user’s manual.
TROUBLESHOOTING
IF UNIDENTIFIED NOISES OR ODOURS SHOULD ARISE AND IN CASE OF DEFORMATION OF ELEMENTS, VIBRATION, TERMINATION OF AIR SUPPLY/EXTRACTION OR REDUCED SYSTEM PERFORMANCE, IMMEDIATELY DISCONNECT THE UNIT FROM POWER SUPPLY AND CONTACT THE SELLER FOR THE VENTILATION SYSTEM DIAGNOSTICS DIAGNOSTICS MUST BE CARRIED OUT BY QUALIFIED SPECIALISTS
| Problem | Possible reasons | Troubleshooting |
| The fan(s) does not start when the unit is on. | No power supply. | Make sure the power supply line is connected correctly, otherwise troubleshoot the connection error. |
| The mode in which the fans are turned off is set. | Change the mode with the help of the control panel. | |
|
Low air flow. | Low set fan speed. | Set higher speed. |
| The filters and the fans are clogged, the heat exchanger is clogged. | Clean or replace the filters, clean the fans and the heat exchanger. | |
| Ventilation system elements (air ducts, diffusers, louver shutters, grilles) are clogged, damaged, or closed. | Clean or replace the ventilation system elements, such as air ducts, diffusers, louver shutters, grilles. | |
| Cold supply air. | The extract filter is soiled. | Clean or replace the extract filter. |
| Noise, vibration. | The fan or casing screw connection is loose. | Tighten the screw connection of the fans or the casing. |
| No anti-vibration connectors on air duct pipe flanges. | Install anti-vibration connectors. | |
| Water leakage (only for the VUT VB EC units) | The drainage system is soiled, damaged, or installed incorrectly. | Clean the drain line. Check the drain line slope angle. Make sure that the U-trap is filled with water and the drain pipes are frost protected. |
If troubleshooting steps have failed, contact the Seller of the product.
In case of faults not described in the table, contact the Seller for further information.
STORAGE AND TRANSPORTATION REGULATIONS
- Store the unit in the manufacturer’s original packaging box in a dry closed ventilated premise with temperature range + 5 ˚С…+40 ˚С and relative humidity up to 70 %.
- Storage environment must not contain aggressive vapors and chemical mixtures provoking corrosion, insulation, and sealing deformation.
- Use suitable hoist machinery for handling and storage operations to prevent possible damage to the unit.
- Follow the handling requirements applicable for the particular type of cargo.
- The unit can be carried in the original packaging by any mode of transport provided proper protection against precipitation and mechanical damage. The unit must be transported only in the working position.
- Avoid sharp blows, scratches, or rough handling during loading and unloading.
- Prior to the initial power-up after transportation at low temperatures, allow the unit to warm up at operating temperature for at least 3-4 hours.
MANUFACTURER’S WARRANTY
The product is in compliance with EU norms and standards on low voltage guidelines and electromagnetic compatibility. We hereby declare that the product complies with the provisions of Electromagnetic Compatibility (EMC) Directive 2014/30/EU of the European Parliament and of the Council, Low Voltage Directive (LVD) 2014/35/EU of the European Parliament and of the Council and CE-marking Council Directive 93/68/EEC. This certificate is issued following test carried out on samples of the product referred to above.
The manufacturer hereby warrants normal operation of the unit for 24 months after the retail sale date provided the user’s observance of the transportation, storage, installation, and operation regulations. Should any malfunctions occur in the course of the unit operation through the Manufacturer’s fault during the guaranteed period of operation, the user is entitled to get all the faults eliminated by the manufacturer by means of warranty repair at the factory free of charge. The warranty repair includes work specific to elimination of faults in the unit operation to ensure its intended use by the user within the guaranteed period of operation. The faults are eliminated by means of replacement or repair of the unit components or a specific part of such unit component.
The warranty repair does not include:
- routine technical maintenance
- unit installation/dismantling
- unit setup
To benefit from warranty repair, the user must provide the unit, the user’s manual with the purchase date stamp, and the payment paperwork certifying the purchase. The unit model must comply with the one stated in the user’s manual. Contact the Seller for warranty service.
The manufacturer’s warranty does not apply to the following cases: - User’s failure to submit the unit with the entire delivery package as stated in the user’s manual including submission with missing component parts previously dismounted by the user.
- Mismatch of the unit model and the brand name with the information stated on the unit packaging and in the user’s manual.
- User’s failure to ensure timely technical maintenance of the unit.
- External damage to the unit casing (excluding external modifications as required for installation) and internal components caused by the user.
- Redesign or engineering changes to the unit.
- Replacement and use of any assemblies, parts and components not approved by the manufacturer.
- Unit misuse.
- Violation of the unit installation regulations by the user.
- Violation of the unit control regulations by the user.
- Unit connection to power mains with a voltage different from the one stated in the user’s manual.
- Unit breakdown due to voltage surges in power mains.
- Discretionary repair of the unit by the user.
- Unit repair by any persons without the manufacturer’s authorization.
- Expiration of the unit warranty period.
- Violation of the unit transportation regulations by the user.
- Violation of the unit storage regulations by the user.
- Wrongful actions against the unit committed by third parties.
- Unit breakdown due to circumstances of insuperable force (fire, flood, earthquake, war, hostilities of any kind, blockades).
- Missing seals if provided by the user’s manual.
- Failure to submit the user’s manual with the unit purchase date stamp.
- Missing payment paperwork certifying the unit purchase.
FOLLOWING THE REGULATIONS STIPULATED HEREIN WILL ENSURE A LONG AND TROUBLE-FREE OPERATION OF THE UNIT.
USER’S WARRANTY CLAIMS SHALL BE SUBJECT TO REVIEW ONLY UPON PRESENTATION OF THE UNIT, THE PAYMENT DOCUMENT AND THE USER’S MANUAL WITH THE PURCHASE DATE STAMP.
CERTIFICATE OF ACCEPTANCE
| Unit Type | Air handling unit |
| Model | VUT/VUE V |
| Serial Number | |
| Manufacture Date | |
| Quality Inspector’s Stamp |
SELLER INFORMATION
| Seller | |
| Address | |
| Phone Number | |
| Purchase Date | |
| This is to certify acceptance of the complete unit delivery with the user’s manual. The warranty terms are acknowledged and accepted. | |
| Customer’s Signature | |

INSTALLATION CERTIFICATE
| The VUT/VUE V unit is installed pursuant to the requirements stated in the present user’s manual. | ||
| Company name | ||
| Address | ||
| Phone Number | ||
| Installation Technician’s Full Name | ||
| Installation Date: | Signature: | |
| The unit has been installed in accordance with the provisions of all the applicable local and national construction, electrical and technical codes and standards. The unit operates normally as intended by the manufacturer. | ||
| Signature: | ||

WARRANTY CARD
| Unit Type | Air handling unit |
| Model | VUT/VUE V |
| Serial Number | |
| Manufacture Date | |
| Purchase Date | |
| Warranty Period | |
| Seller |



























