
Your fridge freezer conforms to current safety requirements. Inappropriate use can lead to personal injury and damage to property. To avoid the risk of damage read this manual carefully before using your fridge freezer for the first time. It contains important safety information on the installation, safety, use and maintenance of your Fridge Freezer. Retain this manual for future use.
FIRE
Warning; Risk of fire / flammable materials
GENERAL WARNINGS
WARNING:
- Keep the ventilation openings of the Fridge clear from obstruction.
- Do not use mechanical devices or other means to accelerate the defrosting process.
- Do not use other electrical appliances inside the Fridge.
- Do not damage the refrigerant circuit.
- When positioning the appliance, ensure the supply cord is not trapped or damaged.
- Do not locate multiple portable socket outlets or portable power supplies at the rear of the appliance.
- To avoid personal injury or damage this appliance must be installed in accordance with the manufacturer’s instructions.
The small quantity of refrigerant used in this fridge is eco-friendly R600a (an isobutene) and is flammable and explosive if ignited in enclosed conditions.
- While carrying and positioning the fridge, do not damage the cooler gas circuit.
- Do not store any containers with flammable materials, such as spray cans or fire extinguisher refill cartridges in the vicinity of the fridge.
- This appliance is intended for domestic use only.
- Your fridge requires a 220-240V, 50Hz mains supply. Do not use any other supply. Before connecting your fridge, ensure that the information on the data plate (voltage and connected load) matches the mains electricity supply. If in doubt, consult a qualified electrician)
- This appliance can be used by children aged from 8 years and above and persons with reduced physical, sensory or mental capabilities or lack of experience and knowledge if they have been given supervision or instruction concerning use of the appliance in a safe way and understand the hazard involved. Children shall not play with the appliance.
Cleaning and user maintenance, shall not be made by children without supervision. - Children aged from 3 to 8 years are allowed to load and unload refrigerating appliances. Children are not expected to perform cleaning or user maintenance of the appliance, very young children (0-3 years old) are not expected to use appliances, young children (3-8 years old) are not expected to use appliances safely unless continuous supervision is given, older children (8-14 years old) and vulnerable people can use appliances safely after they have been given appropriate supervision or instruction concerning use of the appliance. Very vulnerable people are not expected to use appliances safely unless continuous supervision is given.
- A damaged power cord /plug can cause fire or give you an electric shock. When damaged it must be replaced, this should only be done by qualified personnel.
- This appliance is not intended for use at altitudes exceeding 2000 m.
To avoid contamination of food, please respect the following instructions: - Opening the door for long periods can cause a significant increase of the temperature in the compartments of the appliance.
- Regularly clean surfaces that can come in contact with food and accessible drainage systems.
- Store raw meat and fish in suitable containers in the refrigerator, so that it is not in contact with or drip onto other food.
- If the refrigerating appliance is left empty for long periods, switch off, defrost, clean, dry, and leave the door open to prevent mould developing within the appliance.
Disposal
- All packaging and materials used are environmentally friendly and recyclable. Please dispose of any packaging in an environmentally friendly manner. Consult your local council for further details.
- When the appliance is ready to be scrapped, cut off the electrical supply cable and destroy the plug and cable. Disable the door catch in order to prevent children getting trapped inside.
- A cut-off plug inserted into a 16 amp socket is a serious safety (shock) hazard. Please ensure the cut-off plug is disposed of safely.
For Denmark products:
The appliance is equipped with a plug approved in the EU ( EU-Schuko Plug) and can be used in Finland, Norway and Sweden. In Denmark, the appliance is only approved for use with a wall outlet type E or type CEE7 // 7-S with a ground leg. If there is only wall outlet type K at the connection point, Replacing EU-Schuko plug with the Danish plug must be performed by only an authorized service personel. Alternatively, connect a suitable and approved power adapter to transition between Schuko plug and Danish earth system. This adapter (min. 10 amps and up to max. 13 amps) can be ordered via at well assorted whitegoods dealer or authorized electrician. Only with one of these methods it can be ensured that the appliance is the correct safety ground. In the absence of earthing installation, an authorised electrician should carry out an earthing installation. In the case of use without earthing installed, we will not be responsible for any loss of use that may occur.
Disposal of your old appliance
This symbol on the product or package shows that the product should not be treated as domestic waste. Instead, it should be taken to applicable waste collection sites that recycle electrical and electronic equipment. Recycling materials will help preserve our natural resources. For more detailed information regarding recycling this product, please contact your local authority, domestic waste disposal service, or the shop where you purchased the product.
Please ask your local authority about the disposal of WEEE for reuse, recycle and recovery purposes.
Notes:
- Please read the instruction manual carefully before installing and using your appliance. We are not responsible for damage resulting from misuse.
- Follow all instructions for your appliance, and keep this manual handy in order to resolve any problems that may occur in the future.
- This appliance is produced to be used in homes and can only be used in domestic environments and for the specified purposes. It is not suitable for commercial use. Such use will nullify the warranty and our company will not be responsible for any losses that occur.
- This appliance is produced for home use and it is only suitable for cooling / storing foods. It is not suitable for commercial or use and/or for storing any substances except for food. Our company is not responsible for any losses due to improper use.
Safety warnings
- Do not use an extension cord to connect your fridge freezer to the mains electricity supply.
- Do not use plug adapter.
- A damaged power cord / plug can cause fire or give you an electric shock. if damaged it must be replaced; this should only be done by qualified personnel.
- Never kink the power cord.
- Never touch the power cord / plug with wet hands as this could cause electric shock.
- Do not place glass bottles or beverage cans in the freezer compartment. Bottles or cans may explode.
- When removing ice made in the freezer compartment, do not touch it because it ice may cause frostbite and / or cuts due to ice formed with sharp edge.
- Do not remove items from the freezer if your hands are damp or wet. This could cause skin abrasions or frostbite.
- Do not refreeze food once it has thawed.
Installation Information
Before unpacking and manoeuvring your fridge freezer please take some time to familiarise yourself with the following points. - Position your fridge freezer out of direct sunlight and away from any heat source such as a radiator.
- Your appliance should be at least 50 cm away from stoves, gas ovens and heater cores, and should be at least 5 cm away from electrical ovens.
- Do not expose your fridge freezer to moisture or rain.
- Your fridge freezer should be positioned at least 20mm away from another freezer.
- Clearance of at least 150 mm is required at the top of your appliance. Do not place anything on top of your appliance.
- For safe operation, it is important that your fridge freezer is seated securely and balanced. The adjustable feet are used to level your fridge freezer. Make sure that your appliance is level before placing any foodstuffs inside it.

- We recommend that you wipe all shelving and trays with a cloth soaked in warm water mixed with a teaspoon of bicarbonate of soda before use. After cleaning, rinse with warm water and dry.
- Install using the plastic distance guides, which can be found at the rear of the appliance. Turn 90 degrees (as shown in the diagram). This will keep the condenser from touching the wall.
- Refrigerator should be placed against a wall with a free distance not exceeding 75 mm.
SAFETY INSTRUCTIONS
Electrical information (For UK type plug)
Warning! This appliance must be earthed.
The mains lead of this appliance has been fitted with a specially earthed plug.
Important: Do not use the appliance without the fuse cover in position. Should the fuse need to be replaced, it must be replaced with a 13A fuse, ASTA approved to BS1362.
The plug must be used with a specially earthed socket of 13 amperes. If there is no such socket in your house, please have one installed by an authorised electrician.

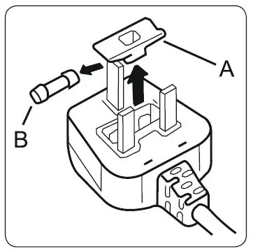
The mains lead of this appliance has been fitted with a BS 1363A 13A fused plug. To change a fuse in this type of plug, follow the steps below:
- Remove the fuse cover and fuse.
- Fit replacement 13A fuse, ASTA approved to BS 1362 type, into the fuse cover.
- Replace fuse cover.
During Usage
- Do not connect your fridge freezer to the mains electricity supply using an extension lead.
- Do not use damaged, torn or old plugs.
- Do not pull, bend or damage the cord.
- Do not use plug adapter.
- This appliance is designed for use by adults. Do not allow children to play with the appliance or hang off the door.
- Never touch the power cord/plug with wet hands. This may cause a short circuit or electric shock.
- Do not place glass bottles or cans in the ice-making compartment as they will burst when the contents freeze.
- Do not place explosive or flammable material in your fridge. Place drinks with high alcohol content vertically in the fridge compartment and make sure their tops are tightly closed.
- When removing ice from the ice-making compartment, do not touch it. Ice may cause frost burns and/or cuts.
- Do not touch frozen goods with wet hands. Do not eat ice-cream or ice cubes immediately after they are removed from the ice-making compartment.
- Do not re-freeze thawed frozen food. This may cause health issues such as food poisoning.
Before Using your Fridge

- Before setting up your fridge freezer, check for any visible damage. Do not install or use your fridge freezer if it is damaged
- When using your fridge freezer for the first time, keep it in an upright position for at least 3 hours before plugging into the mains. This will allow efficient operation and prevents damage to the compressor.
- You may notice a light odour when using your fridge freezer for the first time. This is perfectly normal and will fade away as the fridge starts to cool.
YOUR FRIDGE FREEZER
This appliance is not intended to be used as a built-in appliance.

This figure has been drawn for information purposes to show the various parts and accessories in the appliance. Parts may vary according to the model of the appliance.
A) Fridge compartment
B) Freezer compartment
- Thermostat box (When the thermostat is positioned on side)
- Fridge compartment shelves
- Crisper cover
- Crisper
- Freezer drawers
- Freezer glass shelves *
- Bottle shelf
- Adjustable door shelf (Adapti-Lift)* / Door shelf
- Door upper shelves
- Egg holder
- Ice box tray
- Ice scraper*
In some models
General notes:
Fresh Food Compartment (Fridge): Most efficient use of energy is ensured in the configuration with the drawers in the bottom part of the appliance, and shelves evenly distributed, the position of the door bins does not affect energy consumption.
Freezer Compartment (Freezer): Most Efficient use of energy is ensured in the configuration with the drawers and bins positioned as supplied.
Information on NanoFrost Technology
Thanks to the wrap around evaporator, NanoFrost technology offers more efficient cooling, less manual defrost requirement, and more flexible storage.
Thermostat setting
The thermostat automatically regulates the temperature inside the fridge and freezer compartments. To change the temperature the knob can be rotated from position 1 to 5 (5 being the coldest).

- For short-term storage of food in the freezer compartment, you can set the knob between 1 and 3 position.
- For long-term storage of food in the freezer compartment, you can set the knop to the 3-4 position.
If Super Switch is available
Super freezing: For maximum freezing capacity, please turn on this switch 24 hours before adding fresh food. After placing fresh food in the freezer, 24 hours in the ON position is generally sufficient. In order to save energy, please turn off this switch after 24 hours after adding fresh food.
Winter Switch: If the ambient temperature is below 16 oC, this switch can be used to keep your fridge above 0 oC with the freezer below -18 oC.
Warnings for temperature settings
- The ambient temperature, temperature of the freshly stored food and how often the door is opened, affects the temperature in the refrigerator compartment. If required,change the temperature setting.
- It is not recommended that you operate your fridge in environments colder than 10°C.
- The thermostat setting should be set by taking into consideration how often the fresh food and freezer doors are opened and closed, how much food is stored in the refrigerator and the environment in which and the positioning of the appliance.
- We recommend that when first using the fridge freezer it should be left running for 24 hours uninterrupted to ensure it is completely cooled. Do not open the fridge doors, or put food inside for this period.
- Your fridge freezer has a 5 minute built-in delay function, designed to prevent damage to the compressor. When power is applied to your fridge freezer, it will begin to operate normally after 5 minutes.
- Your fridge is designed to operate in the ambient temperature intervals stated in the standards, according to the climate class stated in the information label. It is not recommended that your fridge is operated in the environments which are out of the stated temperature intervals in terms of cooling efficiency.
- This appliance is designed for use at an ambient temperature within the 10 °C – 38 °C range.
Climate class and meaning
T (tropical): This refrigerating appliance is intended to be used at ambient temperatures ranging from 16 °C to 43 °C.
ST (subtropical): This refrigerating appliance is intended to be used at ambient temperatures ranging from 16 °C to 38 °C.
N (temperate): This refrigerating appliance is intended to be used at ambient temperatures ranging from 16 °C to 32 °C.
SN (extended temperate): This refrigerating appliance is intended to be used at ambient temperatures ranging from 10 °C to 32 °C.
Temperature indicator

In order to help you better set your refrigerator, we have equipped it with a temperature indicator located in the coldest area.
To better store the food in your refrigerator, especially in the coldest area, make sure the message “OK” appears on the temperature indicator. If « OK » does not appear, this means temperature has not been set properly
It may be difficult to see the indicator, make sure it is properly lit.Each time the temperature setting device is changed, wait for the stabilisation of the temperature inside the appliance before proceeding, if necessary, with a new temperature setting. Please change the position of the temperature setting device progressively and wait at least 12 hours before starting a new check and potential change.
NOTE: Following repeated openings (or prolonged opening) of the door or after putting fresh food into the appliance, it is normal for the indication “OK” not to appear in the temperature setting indicator. If there is an abnormal build up of ice crystals of ice crystals (bottom wall of the appliance) on the refrigerator compartment, evaporator (overloaded appliance, high room temperature, frequent door openings), put the temperature setting device on a lower position until compressor off periods are obtained again.
Store food in the coldest area of the refrigerator.
Your food will be better stored if you put it in the most appropriate cooling area. The coldest area is just above the crisper.
The following symbol indicates the coldest area of your refrigerator.
To be sure to have a low temperature in this area, make sure the shelf is located at the level of this symbol, as shown in the illustration.

The upper limit of the coldest area is indicated by the lower side of the sticker (head of the arrow). The coldest area upper shelf must be at the same level with the arrow head. The coldest area is below this level.
As these shelves are removable, make sure they are always at the same level with these zone limits described on the stickers, in order to guarantee temperatures in this area.
Accessories
Ice tray
- Fill the ice tray with water and place in the freezer compartment.
- After the water has completely turned into ice, you can twist the tray as shown below to get the ice cube.

Adapti-Lift Door Shelf (In some models)

Six different height adjustments can be made to adapt the space to your needs.
To change the position of Adapti-Lift ;
Hold the bottom of the shelf and pull the buttons on the side of the door shelf direction as indicated. (Fig.1)
Position door shelf to the required height by moving up or down. Once the shelf is in the required position, release the buttons on the side of the door shelf (Fig.2) Before releasing the door shelf, move it up down and make sure the door shelf is fixed.

Note: Before moving a loaded door shelf, you must hold the shelf by supporting the bottom. Otherwise, the door shelf could fall off the rails due to the weight.
Adapti-Shelf (In some models)
The ADAPTI-Shelf mechanism provides higher storage spaces with a simple movement.

- To cover the glass shelf, push it. (Fig. 1)
- You can place your food as you lilke in the resulting extra space. (Fig. 2)
- To bring the shelf to its original position, pull it towards you. (Fig. 1)
The Fresh Dial (In some models)
If the crisper is full, the fresh dial located in front of the crisper should be opened. This allows the air in the crisper and the humidity rate to be controlled, to increase the life of food within.

The dial, located behind the shelf, must be opened if any condensation is seen on the glass shelf.
Cleaning
- Before cleaning your fridge freezer, turn your mains supply off and remove the plug from the socket.
- Do not wash your fridge freezer by pouring water on to it.
- Use a warm, soapy cloth or sponge to wipe the interior and exterior of your fridge freezer.
- Carefully remove all shelves and drawers by sliding upwards or outwards and clean with soapy water. Do not wash in a washing machine or dishwasher.
- Do not use solvents, abrasive cleaners, glass cleaners or all purpose cleaning agents to clean your fridge freezer. This may cause damage to the plastic surfaces and other components with the chemicals they contain.
- Clean the condenser at the back of your fridge freezer at least once a year with a soft brush or vacuum cleaner.
Make sure that your fridge is unplugged while cleaning.
Defrosting
Refrigerator compartment;

- Defrosting occurs automatically in the refrigerator compartment during operation ; water is collected by the evaporating tray and evaporates automatically.
- The evaporating tray and the defrost water drain hole should be cleaned periodically to prevent the water from collecting on the bottom of the refrigerator.
Freezer compartment

- The frost, which covers the shelves of the freezer compartment, should be removed periodically.
- Do not use sharp metal objects for this operation. They could puncture the refrigerator circuit and cause irreparable damage to the unit. Use the plastic scraper provided.
- When there is more than 5 mm of frost on the shelves, defrosting must be done.
- Before defrosting operation, place the frozen food in a cool place after wrapping them in sheets of newspaper in order to obtain its temperature steady for long time.
- To accelerate the defrosting process place one or more basins of warm water in the freezer compartment.
- Dry the inside of the compartment with a sponge or a clean cloth.
- Once the unit has been defrosted, place the food into freezer and remember to consume them in a short period of time.
Replacing LED Lighting
If your fridge freezer has LED lighting contact the Sharp help desk as this should be changed by authorized personnel only.
FOOD STORAGE GUIDANCE
The Fridge Compartment:
- To reduce frost build-up never place liquids in unsealed containers in the fridge compartment.
- Allow warm or hot food to cool down before storing. This helps reduce power consumption.
- To avoid frost buildup ensure that nothing is stored touching the back wall.
- The coldest area of the refrigerator is the bottom. We recommend to use this area to store food that will perish easily, such as fish, ready meals, baked goods or dairy products. The warmest area is the top shelf of the door.
We recommend you store butter or cheese there. - For normal working conditions, it will be sufficient to adjust the temperature setting of your refrigerator to +4 °C.
- The temperature of the fridge compartment should be in the range of 0-8 °C, fresh food below 0 °C is iced
- and will rot, bacterial load increases above 8 °C, and spoils.
- Do not put hot food in the refrigerator immediately, wait for it to cool down first. Hot foods increase
- the temperature of your refrigerator and may cause food poisoning and spoil the food.
- Meat, fish, etc. should be stored in the chiller compartment, and the vegetable compartment is designed for vegetables. (if available)
- To prevent cross-contamination, meat products and fruit vegetables should not stored together.
Food should be placed in the refrigerator in closed containers or covered to prevent moisture and odours.
The table below is a quick guide, showing you the most efficient way to store the major food groups in your refrigerator compartment.
| Food Storage Duration Location | ||
| Fruits and Vegetables | 1 week | Loose in Vegetable Holder |
| Fish and Meat | 2-3 Days | Wrapped on Glass Shelf |
| Fresh Cheese | 3-4 Days | Top Door Shelf |
| Butter and Margarine | 1 Week | Top Door Shelf |
| Bottles, Yogurt and Milk | Refer to Packaging | Top Door Shelf |
| Eggs | 1 month | In Egg Holder |
Freezer compartment
- Use the freezer to store frozen foods for long periods of time and make ice cubes.
- To freeze fresh food – ensure that as much of the surface of food to be frozen is in contact with the cooling surface.
- Do not put fresh food on either side of frozen food as it can thaw it.
- While freezing fresh foods(i.e meat,fish and mincemeat),divide into portion sizes.
- Once the unit has been defrosted replace the foods into freezer and remember to consume them in a short period of time.
- Never place warm food in the freezer compartment.
- The instructions shown on frozen food packages should always be followed carefully and if no information is provided food should not be stored for more than 3 months from the purchased date.
- When buying frozen foods ensure that these have been frozen at suitable temperatures and that the packing is intact.
- Frozen foods should be transported in appropriate containers to maintain the quality of the food and should be stored in the freezer as soon as possible.
- If a package of frozen food shows signs of humidity and abnormal swelling it has been previously stored at an unsuitable temperature and that the contents have deteriorated.
- The storage life of frozen foods depends on the room temperature, thermostat setting, how often the door is opened, the type of food and the length of time required to transport the product from the shop to your home.
Always follow the instructions printed on the package and never exceed the maximum storage life indicated.
That; If you decide to open the freezer door again immediately after closing, it may be difficult to re-open. This is normal and after the freezer has reached an equilibrium condition the door will open easily.
Important note:
- Frozen foods, when thawed, should be cooked just like fresh foods. If they are not cooked after being thawed they must NEVER be re-frozen.
- The taste of some spices found in cooked dishes (anise, basilica, watercress, vinegar, assorted spices, ginger, garlic, onion, mustard, thyme, marjoram, black pepper, etc.) changes and they assume a strong taste when they are stored for a long period. Therefore, only add a small amount of spice if planning to freeze, or the desired spice should be added after the food has been thawed.
- The storage period of food is dependent on the oil used. The suitable oils are margarine, calf fat, olive oil and butter and the unsuitable oils are peanut oil and pig fat.
- The food in liquid form should be frozen in plastic cups and the other food should be frozen in plastic folios or bags.
| Food | Preparation | Storage Duration (Months) | Thawing Period at Room Temperature (Hours) |
| Beef Steak | Cut into single Portions | 6-10 | 1-2 or until completely thawed |
| Lamb | Cut into single Portions | 6-8 | 1-2 or until completely thawed |
| Minced Meat | Packed in convenient Portions | 1-3 | 2-3 or until completely thawed |
| Sausage | Must be packed | 1-2 | Until completely thawed |
| Chicken and Turkey | Packed in convenient portions | 1-2 | 10-12 or until completely thawed |
| Peas | Shelled and washed | 12 | May Be Used From Frozen |
| Freshwater Fish (such as trout) | Cleaned well inside and scaled. Washed and dried. Cut off head and tail where necessary | 2 | Until completely thawed |
| Lean Fish (such as Sea Bass) | 4-8 | Until completely thawed | |
| Fatty fish (such as Mackerel) | 2-4 | Until completely thawed |
WARNING: Do not re-freeze frozen food once it has thawed. It may be a danger to your health.
DOOR REVERSAL
Repositioning the door
- It depends on which fridge freezer you have as to whether it is possible the reverse the doors.
- It is not possible where handles are attached at the front of the appliance.
- If your model does not have handles it is possible to reverse the doors, but this needs to be completed by authorised personnel. Please call Sharp service.
TROUBLESHOOTING
If your fridge freezer is not operating as expected, there may be a simple solution.
If your refrigerator is not working.
Check that ;
- Is there a power failure?
- Is the plug connected to the socket correctly?
- Is the fuse of the socket to which the plug is connected or the main fuse blown?
- Is there any failure at the socket? To check this, plug your refrigerator into a known working socket.
If the different compartments of the fridge do not get cold enough:
Check that ;
- You have not overloaded the appliance ,
- The doors are closed perfectly ,
- There is no dust on the condenser ,
- There is enough space at the rear and side walls.
Your fridge freezer is too noisy.
The cooling gas which circulates in the refrigerator circuit may make a slight noise(bubbling sound) even when the compressor is not running. Do not worry this is quite normal. If these sounds are different check that ;
The appliance is well levelled ,
- Nothing is touching the rear.
If there is water in the lower part of the refrigerator ;
Check that ;
The drain hole for defrost water is not clogged insert a space please (Use defrost drain plug to clean the drain hole)
Recommendations
- In instances of a power cut unplug the appliance. This prevents damage to the compressor. You should delay plugging in 5 – 10 minutes after you regain power supply. This will avoid damage to components.
- The cooling unit of your refrigerator is hidden in the rear wall. Therefore, water droplets or ice may occur on the rear surface of your fridge due to the operation of the compressor in specified intervals. This is normal. There is no need to perform a defrosting operation unless the ice is excessive.
- If you will not use your fridge for a long time (e.g. in summer holidays) unplug it. Clean your fridge according to Part 4 and leave the door open to prevent humidity and smell.
- The appliance you have purchased is designed for home type use and can be used only at home and for the stated purposes. It is not suitable for commercial or common use. If the consumer use the appliance in a way that does not comply with these features, we emphasise that the producer and the dealer shall not be responsible for any repair and failure within the guarantee period.
- If the problem persists after you have followed all the instructions above, please consult an authorised service provider.
TIPS FOR SAVING ENERGY

- Always allow food to cool before storing in the appliance.
- Thaw food in the fridge compartment, this helps save energy.
- Energy consumption of your appliance is declared without drawers and a fully loaded freezer compartment.
- For saving energy, do not use volume between the load limit and the door, along the load limit line. The load limit line is also used for energy consumption declarations.
INFORMATION FOR TEST INSTITUTES
Appliances for EcoDesign verification should be compliant with EN 62552.
Ventilation requirements, recess dimensions and minimum rear clearances shall be as stated in this User Manual in Chapter 2. Please contact the manufacturer for any other further information, including loading plans.
SERVICE & WARRANTY
If you are unable to resolve a problem using the checks covered in the last few pages, do not attempt to service this fridge freezer yourself.
In the unlikely event of the product requiring repair, please contact the Customer Support Centre. Telephone: 0333 577 7230 Lines are open Mon to Fri 09.00 to 17.00
Vestel UK the licence partner for Sharp guarantees that for a period of 2 years from the date of purchase the enclosed product will be free from defects in materials and workmanship. Vestel UK agrees to provide for the repair or, at its option, the replacement of a defective product. Vestel UK reserves the right to replace defective parts, or the product, with new or refurbished items. Items that are replaced become the property of Vestel UK. To benefit from this guarantee, any fault that occurs must be notified to Vestel UK, or it’s appointed Service Facility, within two years from
the date the product was purchased. Proof of purchase, such as a receipt or invoice, must be provided. If the product is exchanged, the replacement shall be covered by the unexpired portion of the original guarantee.
This guarantee shall only apply to faults that are due to an electrical or mechanical breakdown. It does not cover faults or damage caused by accident, misuse, fair wear and tear, neglect, tampering with the product, or repair other than by a Service Facility appointed by Vestel UK.
The product is intended for private domestic use only. The guarantee will not apply if the product is used in the course of a business, trade or profession.
TECHNICAL DATA
The technical information is situated in the rating plate on the internal side of the appliance and on the energy label.
The QR code on the energy label supplied with the appliance provides a web link to the information related to the performance of the appliance in the EU EPREL database.
Keep the energy label for reference together with the user manual and all other documents provided with this appliance.
It is also possible to find the same information in EPREL using the link https://eprel.ec.europa.eu and the model name and product number that you find on the rating plate of the appliance.
See the link www.theenergylabel.eu for detailed information about the energy label.
CUSTOMER CARE AND SERVICE
Always use original spare parts.
When contacting our Authorised Service Centre, ensure that you have the following data available: Model, Serial Number and Service Index.
The information can be found on the rating plate. Subject to change without notice.
The original spare parts for some specific components are available for a minimum of 7 or 10 years, based on the type of component, from the placing on the market of the last unit of the model.
Service & Support
Visit Our Website
sharphomeappliances.com



















