
SAFETY INSTRUCTIONS
WARNING: Keep the ventilation openings of the Fridge clear from obstruction. Do not use mechanical devices or other means to accelerate the defrosting process.
Do not use other electrical appliances inside the Fridge. Do not damage the refrigerant circuit. When positioning the appliance, ensure the supply cord is not trapped or damaged. Do not locate multiple portable socket-outlets or portable power supplies at the rear of the appliance. To avoid personal injury or damage this appliance must be installed in accordance with the manufacturer instructions. The small quantity of refrigerant used in this fridge is eco-friendly R600a (an isobutene) and is flammable and explosive if ignited in enclosed conditions.
- While carrying and positioning the fridge, do not damage the cooler gas circuit.
- Do not store any containers with flammable materials, such as spray cans or fire extinguisher refill cartridges in the vicinity of the fridge.
- This appliance is intended for domestic use only.
- Your fridge requires a 220-240V, 50Hz mains supply. Do not use any other supply. Before connecting your fridge, ensure that the information on the data plate (voltage and connected load) matches the mains electricity supply. If in doubt, consult a qualified electrician)
- This appliance can be used by children aged from 8 years and above and persons with reduced physical, sensory or mental capabilities or lack of experience and knowledge if they have been given supervision or instruction concerning use of the appliance in a safe way and understand the hazard involved. Children shall not play with the appliance. Cleaning and user maintenance, shall not be made by children without supervision.
- Children aged from 3 to 8 years are allowed to load and unload refrigerating appliances. Children are not expected to perform cleaning or user maintenance of the appliance, very young children (0-3 years old) are not expected to use appliances, young children (3-8 years old) are not expected to use appliances safely unless continuous supervision is given, older children (8-14 years old) and vulnerable people can use appliances safely after they have been given appropriate supervision or instruction concerning use of the appliance. Very vulnerable people are not expected to use appliances safely unless continuous supervision is given.
- A damaged power cord /plug can cause fire or give you an electric shock. When damaged it must be replaced, this should only be done by qualified personnel.
- This appliance is not intended for use at altitudes exceeding 2000 m.
To avoid contamination of food, please respect the following instructions: - Opening the door for long periods can cause a significant increase of the temperature in the compartments of the appliance.
- Regularly clean surfaces that can come in contact with food and accessible drainage systems.
- Store raw meat and fish in suitable containers in the refrigerator, so that it is not in contact with or drip onto other food.
- If the refrigerating appliance is left empty for long periods, switch off, defrost, clean, dry, and leave the door open to prevent mould developing within the appliance.
Installation warnings
Before using your fridge freezer for the first time, please pay attention to the following points: - The operating voltage for your fridge freezer is 220-240 V at 50Hz.
- The plug must be accessible after installation.
- Your fridge freezer may have an odour when it is operated for the first time. This is normal and the odour will fade when your fridge freezer starts to cool.
- Before connecting your fridge freezer, ensure that the information on the data plate (voltage and connected load) matches that of the mains electricity supply. If in doubt, consult a qualified electrician.
- Insert the plug into a socket with an efficient ground connection. If the socket has no ground contact or the plug does not match, we recommend you consult a qualified electrician for assistance.
- The appliance must be connected with a properly installed fused socket. The power supply (AC) and voltage at the operating point must match with the details on the name plate of the appliance (the name plate is located on the inside left of the appliance).
- We do not accept responsibility for any damages that occur due to ungrounded usage.
- Place your fridge freezer where it will not be exposed to direct sunlight.
- Your fridge freezer must never be used outdoors or exposed to rain.
- Your appliance must be at least 50 cm away from stoves, gas ovens and heater cores, and at least 5 cm away from electrical ovens.
- If your fridge freezer is placed next to a deep freezer, there must be at least 2 cm between them to prevent humidity forming on the outer surface.
- Do not cover the body or top of fridge freezer with lace. This will affect the performance of your fridge freezer.
- Clearance of at least 150 mm is required at the top of your appliance. Do not place anything on top of your appliance.
- Do not place heavy items on the appliance.
- Clean the appliance thoroughly before use (see Cleaning and Maintenance).
- Before using your fridge freezer, wipe all parts with a solution of warm water and a teaspoon of sodium bicarbonate. Then, rinse with clean water and dry. Return all parts to the fridge freezer after cleaning.
- The installation procedure into a kitchen unit is given in the installation manual. This product is intended to be used in proper kitchen units only.
Electrical information (For UK type plug)
Warning
This appliance must be earthed. The mains lead of this appliance has been fitted with a specially earthed plug.
Important:
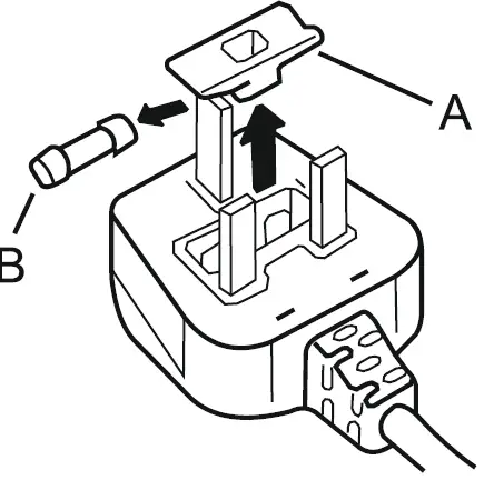
Do not use the appliance without the fuse cover in position. Should the fuse need to be replaced, it must be replaced with a 13A fuse, ASTA approved to BS1362.
The plug must be used with a specially earthed socket of 13 amperes. If there is no such socket in your house, please have one installed by an authorized electrician.
The mains lead of this appliance has been fitted with a BS 1363A 13A fused plug. To change a fuse in this type of plug, follow the steps below:
- Remove the fuse cover and fuse.
- Fit replacement 13A fuse, ASTA approved to BS 1362 type, into the fuse cover.
- Replace fuse cover.
Warning This appliance must be earthed. The mains lead of this appliance has been fitted with a specially earthed plug.
Important:
Do not use the appliance without the fuse cover in position. Should the fuse need to be replaced, it must be replaced with a 13A fuse, ASTA approved to BS1362.
The plug must be used with a specially earthed socket of 13 amperes. If there is no such socket in your house, please have one installed by an authorized electrician.
The mains lead of this appliance has been fitted with a BS 1363A 13A fused plug. To change a fuse in this type of plug, follow the steps below:
During Usage
- Do not connect your fridge freezer to the mains electricity supply using an extension lead.
- Do not use damaged, torn or old plugs.
- Do not pull, bend or damage the cord.
- Do not use plug adapter.
- This appliance is designed for use by adults. Do not allow children to play with the appliance or hang off the door.
- Never touch the power cord/plug with wet hands. This may cause a short circuit or electric shock.
- Do not place glass bottles or cans in the ice-making compartment as they will burst when the contents freeze.
- Do not place explosive or flammable material in your fridge. Place drinks with high alcohol content vertically in the fridge compartment and make sure their tops are tightly closed.
- When removing ice from the ice-making compartment, do not touch it. Ice may cause frost burns and/or cuts.
- Do not touch frozen goods with wet hands. Do not eat ice-cream or ice cubes immediately after they are removed from the ice-making compartment.
- Do not re-freeze thawed frozen food. This may cause health issues such as food poisoning.
Before Using your Fridge
- Before setting up your fridge freezer, check for any visible damage. Do not install or use your fridge freezer if it is damaged
- When using your fridge freezer for the first time, keep it in an upright position for at least 3 hours before plugging into the mains. This will allow efficient operation and prevents damage to the compressor.
- You may notice a light odour when using your fridge freezer for the first time. This is perfectly normal and will fade away as the fridge starts to cool.
Old and Out-of-order Fridges
- If your old fridge or freezer has a lock, break or remove the lock before discarding it, because children may get trapped inside it and may cause an accident.
- Old fridges and freezers contain isolation material and refrigerant with CFC. Therefore, take care not to harm environment when you are discarding your old fridges.
CE Declaration of conformity
We declare that our products meet the applicable European Directives, Decisions and Regulations and the requirements listed in the standards referenced.
Disposal of your old appliance
The symbol on the product or on its packaging indicates that this product may not be treated as household waste. Instead it shall be handed over to the applicable collection point for the recycling of electrical and electronic equipment. By ensuring this product is disposed of correctly, you will help prevent potential negative consequences for the environment and human health, which could otherwise be caused by inappropriate waste handling of this product. For more detailed information about recycling of this product, please contact your local city office, your household waste disposal service or the shop where you purchased the product.
Packaging and the Environment
Packaging materials protect your machine from damage that may occur during transportation. The packaging materials are environmentally friendly as they are recyclable. The use of recycled material reduces raw material consumption and therefore decreases waste production.
Notes: - Please read the instruction manual carefully before installing and using your appliance. We are not responsible for the damage occurred due to misuse.
- Follow all instructions on your appliance and instruction manual, and keep this manual in a safe place to resolve the problems that may occur in the future.
- This appliance is produced to be used in homes and it can only be used in domestic environments and for the specified purposes. It is not suitable for commercial or common use. Such use will cause the guarantee of the appliance to be cancelled and our company will not be responsible for any losses incurred.
- This appliance is produced to be used in houses and it is only suitable for cooling / storing foods. It is not suitable for commercial or common use and/or for storing substances except for food. Our company is not responsible for any losses incurred by inappropriate usage of the appliance.
Information on the Frost Free Technology
The Frost Free refrigerators have a different operating system to static refrigerators. In normal (static) fridges, the humidity entering the fridge due to opening the door, and the humidity inherent in the food, causes frost build-up in the freezer compartment. To defrost the frost and ice in the freezer compartment, you are required to periodically switch off the fridge, place the frozen food in a separate cooled container, then remove the ice gathered in the freezer compartment. The situation is completely different in No-frost fridges. A built-in fan blows dry and cold air evenly throughout the cooler and freezer compartments. The cold air disperses uniformly between the shelves, ensuring all your food is cooled equally, thus preventing humidity and frost build-up. Therefore, your No-frost fridge allows ease of use, in addition to its huge capacity and stylish appearance.
DESCRIPTION OF THE APPLIANCE

A) Refrigerator compartment
B) Freezer compartment
- Thermostat knob
- Lamp cover
- Turbo fan *
- Wine rack *
- Refrigerator shelves
- Crisper cover
- Crisper
- Freezer upper flap / Drawer
- Freezer drawers
- Ice box tray
- Freezer glass shelves*
- Bottle shelf
- Adapti-Lift door shelf * / door shelf
- Door shelves
- Egg holder
- In some models This presentation is only for information about the parts of the appliance. Parts may vary according to the appliance model.
General notes:
Fresh Food Compartment (Fridge):
Most efficient use of energy is ensured in the configuration with the drawers in the bottom part of the appliance, and shelves evenly distributed, the position of the door bins does not affect energy consumption.
Freezer Compartment (Freezer):
Most Efficient use of energy is ensured in the configuration with the drawers and bins positioned as supplied.
USING THE APPLIANCE
Thermostat Setting
The thermostat automatically regulates the temperature inside the refrigerator and freezer compartments. Cooler temperatures can be obtained by rotating the knob to higher numbers, 1 to 5.
Thermostat Settings
- Set the knob to a low/medium position, up to 3, for short-term storage of food in the appliance.
- Set the knob to a medium position, 3 or 4, for long-term storage of food in the appliance.
- Set the knob to 5 position for freezing the fresh food. The appliance will run for colder temperatures.
Note that:
The ambient temperature, the temperature of freshly stored food, and how often the door is opened all affect the temperature in the appliance. If required, change the temperature setting.
- Lamp cover
- Thermostat knob
Temperature Settings Warnings - The ambient temperature, temperature of the freshly stored food and how often the door is opened affects the temperature in the refrigerator compartment. If required, change the temperature setting.
- It is not recommended that you operate your fridge in environments colder than 10°C in terms of its efficiency.
- When setting the thermostat, take into consideration how often the appliance doors are opened and closed, how much food is stored in the refrigerator, and the environment in which the refrigerator is located.
- When the appliance is first switched on, allow it to run for 24 hours in order to reach operating temperature. During this time, do not open the door and do not keep a large quantity of food inside.
- Unplug your appliance during a power cut to prevent damage to the compressor. Once power is restored, delay plugging in your appliance for 5 to 10 minutes. This will help prevent damage to the appliance’s components.
- Your appliance is designed to operate in the ambient temperature ranges stated in the standards, according to the climate class stated in the information label. It is not recommended that your fridge is operated in the environments which are outside of the stated temperature ranges. This will reduce the cooling efficiency of the appliance.
Climate class and meaning:
T (tropical):
This refrigerating appliance is intended to be used at ambient temperatures ranging from 16 °C to 43 °C. ST (subtropical): This refrigerating appliance is intended to be used at ambient temperatures ranging from 16 °C to 38 °C.
N (temperate):
This refrigerating appliance is intended to be used at ambient temperatures ranging from 16 °C to 32 °C.
SN (extended temperate):
This refrigerating appliance is intended to be used at ambient temperatures ranging from 10 °C to 32 °C. The Turbo Fan (if available) Do not block the air inlet and outlet openings when storing food, otherwise air circulation provided by the turbo fan will be impaired.
- Turbo fan
Accessories
Ice tray
- Fill the ice tray with water and place in the freezer compartment.
- After the water has completely turned into ice, you can twist the tray as shown below to get the ice cube.

The Bottle Holder (In some models) Use the bottle holder to prevent bottles from slipping or falling over.
USING YOUR FRIDGE FREEZER
Adapti-Lift Door Shelf (In some models)
Six different height adjustments can be made to provide storage areas that you need by Adapti-Lift door shelf. To change the position of Adapti-Lift door shelf ; Hold the bottom of the shelf and pull the buttons on the side of the door shelf direction of arrow. Position door shelf the height you need by moving up and down. After you get the position that you want the door shelf, release the buttons on the side of the door shelf Before releasing the door shelf, move up down and make sure the door shelf is fixed.
Note:
Before moving door shelf is loaded, you must hold the shelf by supporting the bottom. Otherwise, door shelf could fall off the rails due to the weight. So damage may occur on the door shelf or rails.
The Fresh Dial (In some models)
If the crisper is full, the fresh dial located in front of the crisper should be opened. This allows the air in the crisper and the humidity rate to be controlled, to increase the life of food within. The dial, located behind the shelf, must be opened if any condensation is seen on the glass shelf.
- Fresh dial
FOOD STORAGE
Refrigerator Compartment
- To reduce humidity and avoid the consequent formation of frost, always store liquids in sealed containers in the refrigerator. Frost tends to concentrate in the coldest parts of the evaporating liquid and, in time, your appliance will require more frequent defrosting.
- Never place warm food in the refrigerator. Warm food should be allowed to cool at room temperature and should be arranged to ensure adequate air circulation in the refrigerator compartment.
- Make sure no items are in direct contact with the rear wall of the appliance as frost will develop and packaging will stick to it. Do not open the refrigerator door frequently.
- We recommend that meat and clean fish are loosely wrapped and stored on the glass shelf just above the vegetable bin where the air is cooler, as this provides the best storage conditions.
- Store loose fruit and vegetable items in the crisper containers.
- Store loose fruit and vegetables in the crisper.
- Storing fruit and vegetables separately helps prevent ethylene-sensitive vegetables (green leaves, broccoli, carrot, etc.) being affected by ethylene-releaser fruits (banana, peach, apricot, fig etc.).
- Do not put wet vegetables into the refrigerator.
- Storage time for all food products depends on the initial quality of the food and an uninterrupted refrigeration cycle before refrigerator storage.
- To avoid cross-contamination do not store meat products with fruit and vegetables. Water leaking from meat may contaminate other products in the refrigerator. You should package meat products and clean any leakages on the shelves.
- Consume packaged foods before the recommended expiry date.
- For normal working conditions, it will be sufficient to adjust the temperature setting of your refrigerator to +4 °C.
- The temperature of the fridge compartment should be in the range of 0-8 °C, fresh foods below 0 °C are iced and rotted, bacterial load increases above 8 °C, and spoils.
- Do not put hot food in the refrigerator immediately, wait for the temperature to pass outside. Hot foods increase the degree of your refrigerator and cause food poisoning and unnecessary spoiling of the food.
- Meat, fish, etc. should be store in the chiller compartment of the food, and the vegetable compartment is preferred for vegetables. (if available)
- To prevent cross contamination, meat products and fruit vegetables are not stored together.
- Foods should be placed in the refrigerator in closed containers or covered to prevent moisture and odors.
NOTE:
Potatoes, onions and garlic should not be stored in the refrigerator.
The table below is a quick guide to show you the most efficient way to store the major food groups in your refrigerator compartment.
| Food | Maximum storage time | How and where to store |
| Vegetables and fruits | 1 week | Vegetable bin |
| Meat and fish | 2 – 3 Days | Wrap in plastic foil, bags, or in a meat container and store on the glass shelf |
| Fresh cheese | 3 – 4 Days | On the designated door shelf |
| Butter and margarine | 1 week | On the designated door shelf |
| Bottled products e.g. milk and yoghurt | Until the expiry date recommended by the producer | On the designated door shelf |
| Eggs | 1 month | On the designated egg shelf |
| Cooked food | 2 days | All shelves |
Freezer Compartment
- The freezer is used for storing frozen food, freezing fresh food, and making ice cubes.
- For freezing fresh food; wrap and seal fresh food properly, that is the packaging should be air tight and shouldn’t leak. Special freezer bags, aluminium foil polythene bags and plastic containers are ideal.
- Do not store fresh food next to frozen food as it can thaw the frozen food.
- Before freezing fresh food, divide it into portions that can be consumed in one sitting.
- Consume thawed frozen food within a short period of time after defrosting
- Never place warm food in the freezer compartment as it will thaw the frozen food.
- Always follow the manufacturer’s instructions on food packaging when storing frozen food. If no information is provided food, should not be stored for more than 3 months from the date of purchase.
- When purchasing frozen food, make sure that it has been stored under appropriate conditions and that the packaging is not damaged.
- Frozen food should be transported in appropriate containers and placed in the freezer as soon as possible.
- Do not purchase frozen food if the packaging shows signs of humidity and abnormal swelling. It is probable that it has been stored at an unsuitable temperature and that the contents have deteriorated.
- The storage life of frozen food depends on the room temperature, the thermostat setting, how often the door is opened, the type of food, and the length of time required to transport the product from the shop to your home. Always follow the instructions printed on the packaging and never exceed the maximum storage life indicated.
- The maximum amount of fresh food (in kg) that can be frozen in 24 hours is indicated on the appliance label.
- To use the maximum capacity of the freezer compartment, use the glass shelves for the upper and middle section, and use the lower basket for the bottom section.
- Use the fast freezing shelf to freeze home cooking (and any other food which needs to be frozen quickly) more quickly because of the freezing shelf’s greater freezing power. Fast freezing shelf is the bottom drawer of the freezer compartment.
NOTE:
If you attempt to open the freezer door immediately after closing it, you will find that it will not open easily. This is normal. Once equilibrium has been reached, the door will open easily.
Important note:
- Never refreeze thawed frozen food.
- The taste of some spices found in cooked dishes (anise, basilica, watercress, vinegar, assorted spices, ginger, garlic, onion, mustard, thyme, marjoram, black pepper, etc.) changes and they assume a strong taste when they are stored for a long period of time. Therefore, add small amounts of spices to food to be frozen, or the desired spice should be added after the food has thawed.
- The storage time of food is dependent on the type of oil used. Suitable oils are margarine, calf fat, olive oil and butter. Unsuitable oils are peanut oil and pig fat.
- Food in liquid form should be frozen in plastic cups and other food should be frozen in plastic folios or bags. The table below is a quick guide to show you the most efficient way to store the major food groups in your freezer
Meat and fish Preparation Maximum storage time (months) Steak Wrap in foil 6 – 8 Lamb meat Wrap in foil 6 – 8 Veal roast Wrap in foil 6 – 8 Veal cubes In small pieces 6 – 8 Lamb cubes In pieces 4 – 8 Minced meat In packaging without using spices 1 – 3 Giblets (pieces) In pieces 1 – 3 Bologna sausage/salami Should be kept packaged even if it has a membrane Chicken and turkey Wrap in foil 4 – 6 Goose and duck Wrap in foil 4 – 6 Deer, rabbit, wild boar In 2.5 kg portions or as fillets 6 – 8 Freshwater fish (Salmon, Carp, Crane, Catfish) After cleaning the bowels and scales of the fish, wash and dry it. If necessary, remove the tail and head. 2
Lean fish (Bass, Turbot,
Flounder)
4 Fatty fishes (Tuna, Mackerel, Bluefish, Anchovy) 2 – 4
Shellfish Clean and in a bag 4 – 6 Caviar In its packaging, or in an aluminium or plastic container 2 – 3 Snails In salty water, or in an aluminium or plastic container 3 NOTE: Thawed frozen meat should be cooked as fresh meat. If the meat is not cooked after defrosting, it must not be re-frozen. Vegetables and Fruits Preparation Maximum storage time (months) String beans and beans Wash, cut into small pieces and boil in water 10 – 13 Beans Hull, wash and boil in water 12 Cabbage Clean and boil in water 6 – 8 Carrot Clean, cut into slices and boil in water 12 Pepper Cut the stem, cut into two pieces, remove the core and boil in water 8 – 10 Spinach Wash and boil in water 6 – 9 Vegetables and Fruits Preparation Maximum storage time (months) Cauliflower Remove the leaves, cut the heart into pieces and leave it in water with a little lemon juice for a while 10 – 12 Eggplant Cut into pieces of 2cm after washing 10 – 12 Corn Clean and pack with its stem or as sweet corn 12 Apple and pear Peel and slice 8 – 10 Apricot and Peach Cut into two pieces and remove the stone 4 – 6 Strawberry and Blackberry Wash and hull 8 – 12 Cooked fruits Add 10 % of sugar to the container 12 Plum, cherry, sourberry Wash and hull the stems 8 – 12 Maximum storage time (months) Thawing time at room temperature (hours) Thawing time in oven (minutes) Bread 4 – 6 2 – 3 4-5 (220-225 °C) Biscuits 3 – 6 1 – 1,5 5-8 (190-200 °C) Pastry 1 – 3 2 – 3 5-10 (200-225 °C) Pie 1 – 1,5 3 – 4 5-8 (190-200 °C) Phyllo dough 2 – 3 1 – 1,5 5-8 (190-200 °C) Pizza 2 – 3 2 – 4 15-20 (200 °C) Dairy products Preparation Maximum storage time (months) Storage conditions Packet (Homogenized) Milk In its own packet 2 – 3 Pure Milk – in its own packet Cheese – excluding white cheese
In slices
6 – 8
Original packaging may be used for short-term storage. Keep wrapped in foil for longer periods. Butter, margarine In its packaging 6 CLEANING AND MAINTENANCE
- Disconnect the unit from the power supply before cleaning.
- Do not wash your appliance by pouring water on it.
- Do not use abrasive products, detergents or soaps for cleaning the appliance. After washing, rinse with clean water and dry carefully. When you have finished cleaning, reconnect the plug to the mains supply with dry hands.
- Make sure that no water enters the lamp housing and other electrical components.
- The appliance should be cleaned regularly using a solution of bicarbonate of soda and lukewarm water.
- Clean the accessories separately by hand with soap and water. Do not wash accessories in a dish washer.
- Clean the condenser with a brush at least twice a year. This will help you to save on energy costs and increase productivity.
- The power supply must be disconnected during cleaning.
Defrosting
- Your appliance performs automatic defrosting. The water formed as a result of defrosting passes through the water collection spout, flows into the vaporisation container behind your appliance and evaporates there.
- Make sure you have disconnected the plug of your appliance before cleaning the vaporization container.
- Remove the vaporization container from its position by removing the screws as indicated. Clean it with soapy water at specific time intervals. This will prevent odours from forming.

Replacing LED Lighting
If your fridge has LED lighting contact the Sharp help desk as this should be changed by authorized personnel only.
SHIPMENT AND REPOSITIONING
Transportation and Changing Positioning
- The original packaging and foam may be kept for re-transportation (optional).
- Fasten your appliance with thick packaging, bands or strong cords and follow the instructions for transportation on the packaging.
- Remove all movable parts (shelves, accessories, vegetable bins, and so on) or fix them into the appliance against shocks using bands when re-positioning or transporting۔
- Always carry your appliance in the upright position.
CHAPTER -7: BEFORE CALLING AFTER-SALES SERVICE
If you are experiencing a problem with your refrigerator, please check the following before contacting the after-sales service.
Your refrigerator does not operate Check if:
- Your fridge is plugged in and switched on
- The fuse has blown
- The thermostat setting is on position ‘1’
- The socket is faulty. To check this, plug another working appliance into the same socket.
Your refrigerator is performing poorly Check if: - The appliance is overloaded
- The doors are closed properly
- There is any dust on the condenser
- There is an adequate distance between the appliance and surrounding walls
Your refrigerator is operating noisily
The following noises can be heard during normal operation of the appliance.
Cracking (ice cracking) noise occurs: - During automatic defrosting.
- When the appliance is cooled or warmed (due to expansion of appliance material).
Clicking noise occurs: When the thermostat switches the compressor on/off.
Motor noise: Indicates the compressor is operating normally. The compressor may cause more noise for a short time when it is first activated.
Bubbling noise and splashing occurs: Due to the flow of the refrigerant in the tubes of the system.
Water flowing noise occurs: Due to water flowing to the evaporation container. This noise is normal during defrosting.
Air blowing noise occurs: During normal operation of the system due to the circulation of air.
There is a build-up of humidity inside the fridge Check if:
All food is packed properly. Containers must be dry before being placed in the fridge. - The fridge doors are opened frequently. Humidity of the room will enter the fridge each time the doors are opened. Humidity increases faster if the doors are opened frequently, especially if the humidity of the room is high.
- There is a build-up of water droplets on the rear wall. This is normal after automatic defrosting (in Static Models).
The doors are not opening or closing properly Check if: - There is food or packaging preventing the door from closing
- The door compartments, shelves and drawers are placed properly
- The door gaskets are broken or torn
- Your fridge is level.
The edges of the fridge in contact with the door joint are warm Especially during summer (warm weather), the surfaces in contact with the door joint may become warmer during operation of the compressor. This is normal.
Important Notes: - In the case of a power failure, or if the appliance is unplugged and plugged in again, the gas in the cooling system of your refrigerator will destabilise, causing the compressor protective thermal element to open. Your refrigerator will start to operate normally after 5 minutes.
- If the appliance will not be used for a long period of time (such as during holidays), disconnect the plug. Defrost and clean the refrigerator, leaving the door open to prevent the formation of mildew and odour.
- If the problem persists after you have followed all the instructions above, please consult the nearest Authorised Service Centre.
- This appliance is designed for domestic use and for the stated purposes only. It is not suitable for commercial or common use. If the consumer uses the appliance in a way that does not comply with these instructions, we emphasize that the manufacturer and the dealer will not be responsible for any repair or failure within the guarantee period.
TIPS FOR SAVING ENERGY
- Install the appliance in a cool, well-ventilated room, but not in direct sunlight and not near a heat source (such as a radiator or oven) otherwise an insulating plate should be used.
- Allow warm food and drinks to cool before placing them inside the appliance.
- Place thawing food in the refrigerator compartment. The low temperature of the frozen food will help cool the refrigerator compartment while the food is thawing. This will save energy. Frozen food left to thaw outside of the appliance will result in a waste of energy.
- Drinks or other liquids should be covered when inside the appliance. If left uncovered, the humidity inside the appliance will increase, therefore the appliance uses more energy. Keeping drinks and other liquids covered helps preserve their smell and taste.
- Avoid keeping the doors open for long periods and opening the doors too frequently as warm air will enter the appliance and cause the compressor to switch on unnecessarily often.
- Keep the covers of the different temperature compartments (such as the crisper and chiller) closed.
- The door gasket must be clean and pliable. In case of wear, if your gasket is detachable, replace the gasket. If not detachable, you have to replace the door.
INFORMATION FOR TEST INSTITUTES
Appliances for Eco Design verification should be compliant with EN 62552. Ventilation requirements, recess dimensions and minimum rear clearances shall be as stated in this User Manual in Chapter 2. Please contact the manufacturer for any other further information, including loading plans.
SERVICE & WARRANTY
If you are unable to resolve a problem using the checks covered in the last few pages, do not attempt to service this fridge freezer yourself. In the unlikely event of the product requiring repair, please contact the Customer Support Centre. Telephone: 0333 577 7230 Lines are open Mon to Fri 09.00 to 17.00 Vestel UK the licence partner for Sharp guarantees that for a period of 2 years from the date of purchase the enclosed product will be free from defects in materials and workmanship. Vestel UK agrees to provide for the repair or, at its option, the replacement of a defective product. Vestel UK reserves the right to replace defective parts, or the product, with new or refurbished items. Items that are replaced become the property of Vestel UK. To benefit from this guarantee, any fault that occurs must be notified to Vestel UK, or it’s appointed Service Facility, within two years from the date the product was purchased. Proof of purchase, such as a receipt or invoice, must be provided. If the product is exchanged, the replacement shall be covered by the unexpired portion of the original guarantee. This guarantee shall only apply to faults that are due to an electrical or mechanical breakdown. It does not cover faults or damage caused by accident, misuse, fair wear and tear, neglect, tampering with the product, or repair other than by a Service Facility appointed by Vestel UK.
The product is intended for private domestic use only. The guarantee will not apply if the product is used in the course of a business, trade or profession.
TECHNICAL DATA
The technical information is situated in the rating plate on the internal side of the appliance and on the energy label. The QR code on the energy label supplied with the appliance provides a web link to the information related to the performance of the appliance in the EU EPREL database. Keep the energy label for reference together with the user manual and all other documents provided with this appliance. It is also possible to find the same information in EPREL using the link https://eprel.ec.europa.eu and the model name and product number that you find on the rating plate of the appliance. See the link www.theenergylabel.eu for detailed information about the energy label.
CUSTOMER CARE AND SERVICE
Always use original spare parts. When contacting our Authorised Service Centre, ensure that you have the following data available: Model, Serial Number and Service Index.
The information can be found on the rating plate. You can find the rating label inside the fridge zone on the left lower side. The original spare parts for some specific components are available for a minimum of 7 or 10 years, based on the type of component, from the placing on the market of the last unit of the model.
Visit our website to:
www.sharphomeappliances.com

Warning This appliance must be earthed. The mains lead of this appliance has been fitted with a specially earthed plug.




















