
Your fridge freezer conforms to current safety requirements. Inappropriate use can lead to personal injury and damage to property. To avoid the risk of damage read this manual carefully before using your fridge freezer for the first time. Itcontains important safety information on the installation, safety, use and maintenance of your Fridge Freezer. Retain this manual for future use.
FIRE
Warning; Risk of fire / flammable materials
GENERAL WARNINGS
- WARNING: Keep the ventilation openings of the Fridge clear from obstruction.
- WARNING: Do not use mechanical devices or other means to accelerate the defrosting process.
- WARNING: Do not use other electrical appliances inside the Fridge.
- WARNING: Do not damage the refrigerant circuit.
- WARNING: When positioning the appliance, ensure the supply cord is not trapped or damaged.
- WARNING: Do not locate multiple portable socket-outlets or portable power supplies at the rear of the appliance.
- WARNING: To avoid personal injury or damage this appliance must be installed in accordance with the manufacturer instructions.
- The small quantity of refrigerant used in this fridge is ecofriendly R600a (an isobutene) and is flammable and explosive if ignited in enclosed conditions
- While carrying and positioning the fridge, do not damage the cooler gas circuit.
- Do not store any containers with flammable materials, such as spray cans or fire extinguisher refill cartridges in the vicinity of the fridge.
- This appliance is intended to be used in household and similar applications such as;
- staff kitchen areas in shops, offices and other working environments which can be equated with ordinary household
- farm houses and by clients in hotels, motels and other residential type environments which can be equated with ordinary household
- bed and breakfast type environments which can be equated with ordinary household
- catering and similar non-retail applications which can be equated with ordinary household
- Your fridge requires a 220-240V, 50Hz mains supply. Do not use any other supply. Before connecting your fridge, ensure that the information on the data plate (voltage and connected load) matches the mains electricity supply. If in doubt, consult a qualified electrician)
- This appliance can be used by children aged from 8 years and above and persons with reduced physical, sensory or mental capabilities or lack of experience and knowledge if they have been given supervision or instruction concerning use of the appliance in a safe way and understand the hazard involved. Children shall not play with the appliance. Cleaning and user maintenance, shall not be made by children without supervision.
- Children aged from 3 to 8 years are allowed to load and unload refrigerating appliances. Children are not expected to perform cleaning or user maintenance of the appliance, very young children (0-3 years old) are not expected to use appliances, young children (3-8 years old) are not expected to use appliances safely unless continuous supervision is given, older children (8-14 years old) and vulnerable people can use appliances safely after they have been given appropriate supervision or instruction concerning use of the appliance. Very vulnerable people are not expected to use appliances safely unless continuous supervision is given.
- A damaged power cord /plug can cause fire or give you an electric shock. When damaged it must be replaced, this should only be done by qualified personnel.
- This appliance is not intended for use at altitudes exceeding 2000 m.
To avoid contamination of food, please respect the following instructions:
- Opening the door for long periods can cause a significant increase of the temperature in the compartments of the appliance.
- Clean regularly surfaces that can come in contact with food and accessible drainage systems.
- Store raw meat and fish in suitable containers in the refrigerator, so that it is not in contact with or drip onto other food.
- Two-star frozen-food compartments are suitable for storing pre-frozen food, storing or making ice cream and making ice cubes.
- One-, two- and three-star compartments are not suitable for the freezing of fresh food.
- If the refrigerating appliance is left empty for long periods, switch off, defrost, clean, dry, and leave the door open to prevent mould developing within the appliance.
Disposal
- All packaging and materials used are environmentally friendly and recyclable. Please dispose of any packaging in an environmentally friendly manner. Consult your local council for further details.
- When the appliance is ready to be scrapped, cut off the electrical supply cable and destroy the plug and cable. Disable the door catch in order to prevent children getting trapped inside.
- A cut-off plug inserted into a 16 amp socket is a serious safety (shock) hazard. Please ensure the cut-off plug is disposed of safely.
For Denmark products:
The appliance is equipped with a plug approved in the EU ( EU-Schuko Plug) and can be used in Finland, Norway and Sweden. In Denmark, the appliance is only approved for use with a wall outlet type E or type CEE7 // 7-S with a ground leg. If there is only wall outlet type K at the connection point, Replacing EU-Schuko plug with the Danish plug must be performed by only an authorized service personel. Alternatively, connect a suitable and approved power adapter to transition between Schuko plug and Danish earth system. This adapter (min. 10 amps and up to max. 13 amps) can be ordered via at well assorted whitegoods dealer or authorized electrician. Only with one of these methods it can be ensured that the appliance is the correct safety ground. In the absence of earthing installation, an authorised electrician should carry out an earthing installation. In the case of use without earthing installed, we will not be responsible for any loss of use that may occur. Disposal
The symbol of the crossed-out wheeled bin shown on the product or its packaging means that the device must not be disposed of with other household waste but requires separate collection. You can dispose of the device free of charge at your local waste return and collection system. The addresses can be obtained from your responsible city council or local government. Regarding the return of waste electrical and electronic equipment (WEEE) at certain retailers free of charge, please contact your retailer.
Returned WEEE can be prepared for recycling to reduce waste and save resources. Please note that the device may contain substances which are harmful for the environment and human health if not used according to environmental protection standards. The separate collection and recycling of WEEE helps to prevent negative consequences for the environment and human health. If possible, please remove all batteries and accumulators as well as all removable lamps before disposing of the device. Please note that you are responsible for deleting all personal data on the device to be disposed of.
Notes:
- Please read the instruction manual carefully before installing and using your appliance. We are not responsible for damage resulting from misuse.
- Follow all instructions for your appliance, and keep this manual handy in order to resolve any problems that may occur in the future.
- This appliance is produced to be used in homes and can only be used in domestic environments and for the specified purposes. It is not suitable for commercial use. Such use will nullify the warranty and our company will not be responsible for any losses that occur.
- This appliance is produced for home use and it is only suitable for cooling / storing foods. It is not suitable for commercial or use and / or for storing any substances except for food. Our company is not responsible for any losses due to improper use.
Safety warnings
- Do not use an extension cord to connect your fridge freezer to the mains electricity supply.
- Do not use plug adapter.
- A damaged power cord / plug can cause fire or give you an electric shock. if damaged it must be replaced; this should only be done by qualified personnel.
- Never kink the power cord.
- Never touch the power cord / plug with wet hands as this could cause electric shock.
- Do not place glass bottles or beverage cans in the freezer compartment. Bottles or cans may explode.
- When removing ice made in the freezer compartment, do not touch it because it ice may cause frostbite and / or cuts due to ice formed with sharp edge.
- Do not remove items from the freezer if your hands are damp or wet. This could cause skin abrasions or frostbite.
- Do not refreeze food once it has thawed.
Installation Information
Before unpacking and manoeuvring your fridge freezer please take some time to familiarise yourself with the following points.
- Position your fridge freezer out of direct sunlight and away from any heat source such as a radiator.
- Your appliance should be at least 50 cm away from stoves, gas ovens and heater cores, and should be at least 5 cm away from electrical ovens.
- Do not expose your fridge freezer to moisture or rain.
- Your fridge freezer should be positioned at least 20mm away from another freezer.
- Clearance of at least 150 mm is required at the top of your appliance. Do not place anything on top of your appliance.
- For safe operation, it is important that your fridge freezer is seated securely and balanced. The adjustable feet are used to level your fridge freezer. Make sure that your appliance is level before placing any foodstuffs inside it.
- We recommend that you wipe all shelving and trays with a cloth soaked in warm water mixed with a teaspoon of bicarbonate of soda before use. After cleaning, rinse with warm water and dry.
- Install using the plastic distance guides, which can be found at the rear of the appliance. Turn 90 degrees (as shown in the diagram). This will keep the condenser from touching the wall.
- Refrigerator should be placed against a wall with a free distance not exceeding 75 mm.

Before Using your Fridge

- Before setting up your fridge freezer, check for any visible damage. Do not install or use your fridge freezer if it is damaged
- When using your fridge freezer for the first time, keep it in an upright position for at least 3 hours before plugging into the mains. This will allow efficient operation and prevents damage to the compressor.
- You may notice a light odour when using your fridge freezer for the first time. This is perfectly normal and will fade away as the fridge starts to cool.
Information about new-generation cooling technology
Fridge freezers with new-generation cooling technology have a different working system than static fridge freezers. In normal fridge freezers, humid air entering the freezer and the water vapour emanating from the foods, turns into frost in the freezer compartment. In order to melt this frost, in other words defrost, the fridge has to be unplugged. In order to keep foods cold during the defrosting period, the user must store the food elsewhere and the user must clear the remaining ice and accumulated frost. The situation is completely different in freezer compartments equipped with new-generation cooling technology. With the aid of fan, cold and dry air is blown throughout the freezer compartment. As a result of the cold air that is blown easily throughout the compartment – even in the spaces between shelves – foods are frozen equally and properly. And there will be no frost. The configuration in the refrigerator compartment will be nearly same as the freezer compartment. Air emitted by the fan located at the top of refrigerator compartment is cooled while passing through the gap behind the air duct. At the same time, air is blown out through the holes on the air duct so that cooling process is successfully completed in the refrigerator compartment. Holes on the air duct are designed for even air distribution throughout the compartment. Since no air passes between the freezer and refrigerator compartment, odours will not mix. As a result, your fridge with new-generation cooling technology is easy to use and it offers you an access to a huge volume and aesthetic appearance.
YOUR FRIDGE FREEZER
This appliance is not intended to be used as a built-in appliance.


This figure has been drawn for informational purposes to show the various parts and accessories in the appliance. Parts may vary according to the appliance model.
General notes:
Fresh Food Compartment (Fridge): Most efficient use of energy is ensured in the configuration with the drawers in the bottom part of the appliance, and shelves evenly distributed, position of door bins does not affect energy consumption. Freezer Compartment (Freezer): Most Efficient use of energy is ensured in the configuration with the drawers and bins are on stock position.
USING YOUR FRIDGE FREEZER
Display and Control Panel
Using the Control Panel
- Enables the setting of the freezer.
- Enables the setting of the cooler.
- Freezer set value screen.
- Cooler set value screen.
- Economy mode symbol.
- Super freeze symbol.
- Alarm symbol.

Operating your Fridge Freezer
Lighting (If available)
When the product is plugged in for the first time, the interior lights may turn on 1 minute late due to opening tests. Once you have plugged in the product, all symbols will be displayed for 2 seconds and the initial values will be shown as -18 °C on the freezer adjustment indicator, and +4 °C on the fridge adjustment indicator.
Freezer Temperature Settings
- The initial temperature value for the freezer setting indicator is -18 °C.
- Press the freezer set button once.
When you first press the button, the previous value will blink on the screen.

- Whenever you press the same button, a lower temperature will be set (-16 °C, -18 °C, -20 °C, -22 °C or -24 °C).
- If you continue to press the button, it will restart from -16 °C.
NOTE: Eco mode gets activated automatically when the temperature of the freezer compartment is set to -18°C.
Cooler Temperature Settings
- The initial temperature value for the cooler setting indicator is +4 °C.
- Press the cooler button once.
- Whenever you press the button, a lower temperature will be set (+8 °C, +6 °C, +5 °C, +4 °C, or +2 °C).
- If you continue to press the button, it will restart from +8 °C.
Super Freeze Mode
Purpose
- To freeze a large quantity of food that cannot fit on the fast freeze shelf.
- To freeze prepared foods.
- To freeze fresh food quickly to retain freshness

How to use
To enable the super freeze mode, press and hold the freezer temperature setting button for 3 seconds. Once the super freeze mode has been set, the super freeze symbol on the indicator will be lit and the machine will beep to confirm the mode has been switched on.
During Super Freeze Mode:
- The temperature of the Cooler may be adjusted. In this case, Super Freeze mode will continue.
- Economy mode cannot be selected.
- Super Freeze mode can be cancelled in the same way it is selected.
Notes:
- The maximum amount of fresh food (in kilograms) that can be frozen within 24 hours is shown on the appliance label.
- For optimal appliance performance in maximum freezer capacity, activate super freeze mode 3 hours before you put fresh food into the freezer.
- Super freeze mode will automatically cancel after 24 hours or when the freezer sensor temperature drops below -32 °C.
Recommended Settings for the Freezer and Cooler Compartment Temperature
| Freezer Compartment | Cooler Compartment | Remarks |
| -18 oC | 4 oC | For regular use and best performance. |
| -20 oC, -22 oC or -24 oC | 4 oC | Recommended when environmental temperature exceeds 30 °C. |
| Super Freeze mode | 4 oC | Must be used when you wish to freeze food in a short period of time. |
| -18 oC, -20 oC, -22 oC or -24 oC | 2 oC | These temperature settings must be used when the environmental temperature is high or if you think the refrigerator compartment is not cool enough becuse the door is being opened frequently. |
Door open alarm function
If cooler or freezer door is opened more than 2 minutes , appliance sounds ‘beep beep’.
Warnings About Temperature Adjustments
- It is not recommended that you operate your fridge in environments colder than 10°C.
- Temperature adjustments should be made according to the frequency of door openings, the quantity of food kept inside the fridge and ambient temperature of the placement of your fridge.
- Your fridge should be operated up to 24 hours according to the ambient temperature without interruption after being plugged in, this is so it is completely cooled. Do not open the doors of your fridge and do not place food inside it during this period.
- A 5 minute delay function is applied to prevent damage to the compressor of your fridge, when you take the plug out and then plug it back in again after an energy breakdown has occurred. Your fridge will start to operate normally after 5 minutes.
- Your fridge is designed to operate in the ambient temperature intervals stated in the standards, according to the climate class stated in the information label. We do not recommend operating your fridge out of the stated temperatures value limits in terms of cooling effectiveness.
- This appliance is designed for use at an ambient tem-perature within the 10°C – 43°C range.
Climate class and meaning
- T (tropical): This refrigerating appliance is intended to be used at ambient temperatures ranging from 16 °C to 43 °C.
- ST (subtropical): This refrigerating appliance is intended to be used at ambient temperatures ranging from 16 °C to 38 °C.
- N (temperate): This refrigerating appliance is intended to be used at ambient temperatures ranging from 16 °C to 32 °C.
- SN (extended temperate): This refrigerating appliance is intended to be used at ambient temperatures ranging from 10 °C to 32 °C.
Important installation instructions
This appliance is designed to work in difficult climate conditions (up to 43 degrees C or 110 degrees F) and is powered with ‘Freezer Shield’ technology which ensures that the frozen food in the freezer will not defrost even if the ambient
temperature falls as low as -15 °C. So you may then install your appliance in an unheated room without having to worry about frozen food in the freezer being spoilt. When the ambient temperature returns to normal, you may continue using the appliance as usual.
Important installation instructions
This appliance is designed to work in difficult climate conditions and is powered with ‘Freezer Shield’ technology which
ensures that the frozen food in the freezer will not defrost even if the ambient temperature falls as low as -15 °C. So you may then install your appliance in an unheated room without having to worry about frozen food in the freezer being spoilt. When the ambient temperature returns to normal, you may continue using the appliance as usual.
Temperature indicator
In order to help you better set your refrigerator, we have equipped it with a temperature indicator located in the coldest area. To better store the food in your refrigerator, especially in the coldest area, make sure the message “OK” appears on the temperature indicator. If « OK » does not appear, this means temperature has not been set properly
It may be difficult to see the indicator, make sure it is properly lit.Each time the temperature setting device is changed, wait for the stabilisation of the temperature inside the appliance before proceeding, if necessary, with a new temperature setting. Please change the position of the temperature setting device progressively and wait at least 12 hours before starting a new check and potential change.

NOTE: Following repeated openings (or prolonged opening) of the door or after putting fresh food into the appliance, it is normal for the indication “OK” not to appear in the temperature setting indicator. If there is an abnormal build up of ice crystals of ice crystals (bottom wall of the appliance) on the refrigerator compartment, evaporator (overloaded appliance, high room temperature, frequent door openings), put the temperature setting device on a lower position until
compressor off periods are obtained again.
Store food in the coldest area of the refrigerator.
Your foods will be better stored if you put them in the most appropriate cooling area. The coldest area is just above the crisper. The following symbol indicates the coldest area of your refrigerator To be sure to have a low temperature in this area, make sure the shelf is located at the level of this symbol, as shown in the illustration.

The upper limit of the coldest area is indicated by the lower side of the sticker (head of the arrow). The coldest area upper shelf must be at the same level with the arrow head. The coldest area is below this level. As these shelves are removable, make sure they are always at the same level with these zone limits described on the stickers, in order to guarantee temperatures in this area.
Accessories
Ice Tray
- Fill the ice tray with water and place in the freezer compartment.
- After the water has completely frozen, you can twist the tray as shown below to remove the ice cubes.

The Freezer Box
The freezer box allows food to be accessed more easily.
Removing the freezer box:

- Pull the box out as far as possible
- Pull the front of the box up and out
Carry out the opposite of this operation when refitting the sliding compartment. Always keep hold of the handle of the box while removing
Zero Degree Zone (In some models)
Keeping food in the Chiller compartment, instead of the freezer or refrigerator compartments, allows food to retain freshness and flavour for longer, while preserving its fresh appearance. When the Chiller tray becomes dirty, remove it and wash with water. (Water freezes at 0°C, but food containing salt or sugar freezes at temperatures lower than this). The Chiller compartment is usually used for storing foods such as raw fish, lightly pickled food, rice, and so on. Do not put food you want to freeze or ice trays (to make ice) in the Chiller compartment.
To remove the Chiller Shelf:

- Pull the chiller shelf towards you by sliding it on the rails.
- Pull the chiller shelf up from the rail and remove it from the fridge.
- After the chiller shelf has been removed, it can support a maximum 20 kg load.
Maxi-fresh preserver (In some models)
Maxi Fresh Preserver technology helps to remove ethylene gas (a bioproduct released naturally from fresh foods) and unpleasant odors from the crisper. In this way, food stays fresh for a longer time.

- Maxi Fresh Preserver must be cleaned once in a year. The filter should be waited for 2 hours at 65°C in a oven.
- To clean the filter, please remove the back cover of the filter box by pulling it in the direction of the arrow.
- The filter should not be washed with water or any detergent.

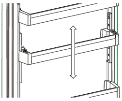
Adapti-Lift Door Shelf (In some models)
Six different height adjustments can be made to provide storage areas that you need by Adapti-Lift.
To change the position of Adapti-Lift ;

Hold the bottom of the shelf and pull the buttons on the side of the door shelf direction of arrow (Fig.1) Position door shelf the height you need by moving up and down. After you get the position that you want the door shelf, release the buttons on the side of the door shelf (Fig.2) Before releasing the door shelf, move up down and make sure the door shelf is fixed

Note: Before moving door shelf is loaded, you must hold the shelf by supporting the bottom. Otherwise, door shelf could fall off the rails due to the weight. So damage may occur on the door shelf or rails. Visual and text descriptions on the accessories section may vary according which model you have.
The Fresh Dial (In some models)
If the crisper is full, the fresh dial located in front of the crisper should be opened. This allows the air in the crisper and the humidity rate to be controlled, to increase the life of food within. The dial, located behind the shelf, must be opened if any condensation is seen on the glass shelf.

Roller storage box (In some models)
You can use this compartment for two different functions.
Note: Your fridge is delivered to you with the shown section in the open position. The declared energy consumption and volume are according to this setting.
- To use for 0 °C Department: If you want to use this compartment as 0 °C box you must take the sliding part (cover, which is indicated in picture) from closed position to open position.
- To use for Crisper Department: If you want to use this compartment as crisper, you must take the sliding part (cover, which is indicated in picture) from open position to closed position.
- While this compartment is used as an 0 °C compartment, food retains freshness and for longer.
- Pull the chiller shelf out toward you. The cover will open automatically.
Please note; this is not a freezer compartment.

Visual and text descriptions on the accessories section may vary according which model you have..
- Make sure to unplug the fridge before starting to clean it.
- Do not wash your fridge by pouring water.
- You can wipe the inner and outer sides with a soft cloth or a sponge using warm and soapy water.
- Remove the parts individually and clean with soapy water. Do not wash in washing machine.
- Never use flammable, explosive or corrosive material like thinner, gas, acid for cleaning.
- You should clean the condenser with broom at least once a year in order to provide energy saving and increase the productivity.
Make sure that your fridge is unplugged while cleaning.
Defrosting
Your refrigerator automatically defrosts. The water formed as a result of defrosting passesthrough the water collection spout, flows into the vaporization container behind your refrigerator and evaporates by itself in there.

FOOD STORAGE GUIDANCE
Refrigerator compartment
- To reduce the humidity and consequently increase frost, never place liquids in unsealed containers in the refrigerator. Frost tends to concentrate in the coldest parts of the evaporator and, in time, will require more frequent defrosting.
- Never place warm food in the refrigerator. Warm food should be allowed to cool at room temperature and should be arranged to ensure adequate air circulation in the refrigerator compartment.
- Nothing should touch the back wall as this will cause frost and the packages may stick to the back wall. Do not open the refrigerator door too frequently.
- Arrange the meat and cleaned fish(wrapped in packages or sheets of plastic) which you will use in 1-2 days, in the bottom section of the refrigerator compartment (that is above the crisper) as this is the coldest section and will ensure the best storing conditions.
- You can put fruits and vegetables into the crisper without packing.
- For normal working conditions, it will be sufficient to adjust the temperature setting of your refrigerator to +4 °C.
- The temperature of the fridge compartment should be in the range of 0-8 °C, fresh foods below 0 °C are iced and rotted, bacterial load increases above 8 °C, and spoils.
- Do not put hot food in the refrigerator immediately, wait for the temperature to pass outside. Hot foods increase the degree of your refrigerator and cause food poisoning and unnecessary spoiling of the food.
- Meat, fish, etc. should be store in the chiller compartment of the food, and the vegetable compartment is preferred for vegetables. (if available)
- To prevent cross contamination, meat products and fruit vegetables are not stored together.
- Foods should be placed in the refrigerator in closed containers or covered to prevent moisture and odors.
Freezer compartment
- Please use the deep freeze compartment of your refrigerator for storing frozen food for a long time and for producing ice.
- To get maximum capacity for the freezer compartment, please just use glass shelves for upper and middle section. For the bottom section, please use lower basket.
- Please do not place the food you that needs to be frozen next to the already frozen food.
- You should freeze the food to be frozen (meat, minced meat, fish, etc.) by dividing it into portions in such a way that they can be consumed once.
- Please do not refreeze the frozen food once it has already thawed. It may pose a danger to your health as it may cause food poisoning.
- Do not place the hot meals in your deep freeze before they become cold. You would cause the other food frozen beforehand in the deep freeze to become putrefied.
- When you buy frozen food, makes sure that they were frozen under appropriate conditions and that the package is not torn.
- While storing frozen food, the storage conditions on the package should certainly be observed. If there is no additional information, the food must be consumed within the shortest time possible.
- If the frozen food package was subject to humidity and has a foul smell, it might have been previously stored under unsuitable conditions and gone rotten. Do not purchase this type of food!
- The storage durations of frozen food change depending on the ambient temperature, the frequency of the opening and closing of the doors, thermostat settings, food type and the time elapsed from the purchase time of the food to the time it is placed into the freezer. Always follow the instructions on the package and never exceed the indicated storage duration.
- During long lasting power failures, do not open the door of the deep freeze compartment. During longer power failures, do not refreeze your food and consume it as soon as possible.
- Please note: if you want to open the freezer door immediately after closing it, it will not open easily. This is a normal occurrence. After reaching equilibrium condition, the door will open easily.
Important note:
- Frozen foods, when thawed, should be cooked just as fresh foods. If they are not cooked after being thawed they must NEVER be re-frozen.
The taste of some spices found in cooked dishes (anise, basil, watercress, vinegar, assorted spices, ginger, garlic, onion, mustard, thyme, marjoram, black pepper, etc.) changes and they assume a stronger taste when they are stored for a long period. Therefore, just a small amount of the spice should be added or the desired spice should be added after the food has been thawed.
- The food storage period is dependent on the oil used. Suitable oils include: margarine, half fat, olive oil and butter and the unsuitable oils include: peanut oil and lard.
- food in liquid form should be frozen in plastic cups and other food should be frozen in plastic folios or bags.
DOOR REVERSAL
Repositioning the door
- It depends on which fridge freezer you have as to whether it is possible the reverse the doors.
- It is not possible where handles are attached at the front of the appliance.
- If your model does not have handles it is possible to reverse the doors, but this needs to be completed by authorised personnel. Please call Sharp service.
TROUBLESHOOTING
Errors
Your fridge will warn you if the temperatures for the cooler and freezer are at improper levels or if a problem occurs with the appliance. Warning codes are displayed in the freezer and cooler indicators.
| ERROR TYPE | MEANING | WHY | WHAT TO DO |
| E01 | Sensor warning | Contact the Sharp help desk as soon as possible. | |
| E02 | Sensor warning | Contact the Sharp help desk as soon as possible. | |
| E03 | Sensor warning | Contact the Sharp help desk as soon as possible. | |
| E06 | Sensor warning | Contact the Sharp help desk as soon as possible. | |
| E07 | Sensor warning | Contact the Sharp help desk as soon as possible. | |
|
E08 |
Low Voltage Warning |
Power supply to the device has dropped to below 170W. | – This is not a device failure, this error helps to prevent damages to the compressor. – The voltage needs to be increased back to required levels If this warning continues, contact the Sharp help desk as soon as possible. |
|
E09 |
Freezer compartment is not cold enough |
Likely to occur after long term power failure. | 1. Set the freezer temperature to a colder value or set Super Freeze. This should remove the error code once the required temperature has been reached. Keep doors closed to improve time taken to reach the correct temperature. 2. Remove any products which have thawed/defrosted during this error. They can be used within a short period of time. 3. Do not add any fresh produce to the freezer compartment until the correct temperature has been reached and the error is no longer. If this warning continues, contact the Sharp help desk as soon as possible. |
| ERROR TYPE | MEANING | WHY | WHAT TO DO |
|
E10 |
Fridge compartment is not cold enough |
Likely to occur after: – Long term power failure. – Hot food has been left in the fridge. | 1. Set the fridge temperature to a colder value or set Super Cool. This should remove the error code once the required temperature has been reached. Keep doors closed to improve time taken to reach the correct temperature. 2. Please empty the location at the front area of air duct channel holes and avoid putting food close to the sensor. If this warning continues, contact the Sharp help desk as soon as possible. |
|
E11 |
Fridge compartment is too cold |
Various | 1. Check is Super Cool mode is activated 2. Reduce the fridge compartment temperature 3. Check to see if vents are clear and not clogged If this warning continues, contact the Sharp help desk as soon as possible. |
If you are experiencing a problem with your refrigerator, please check the following before contacting the after-sales service. Your refrigerator does not operate
Check if
- Your fridge is plugged in and switched on
- The fuse has blown
- The thermostat setting is on position ‘1’
- The socket is faulty. To check this, plug another working appliance into the same socket.
Your refrigerator is performing poorly
Check if:
- The appliance is overloaded
- The doors are closed properly
- There is any dust on the condenser
- There is an adequate distance between the appliance and surrounding walls
Your refrigerator is operating noisily
The following noises can be heard during normal operation of the appliance.
Cracking (ice cracking) noise occurs:
- During automatic defrosting.
- When the appliance is cooled or warmed (due to expansion of appliance material).
- Clicking noise occurs: When the thermostat switches the compressor on/off.
- Motor noise: Indicates the compressor is operating normally. The compressor may cause more noise for a short time when it is first activated.
- Bubbling noise and splashing occurs: Due to the flow of the refrigerant in the tubes of the system.
- Water flowing noise occurs: Due to water flowing to the evaporation container. This noise is normal during defrosting.
- Air blowing noise occurs: During normal operation of the system due to the circulation of air.
There is a build-up of humidity inside the fridge Check if:
- All food is packed properly. Containers must be dry before being placed in the fridge.
- The fridge doors are opened frequently. Humidity of the room will enter the fridge each time the doors are opened. Humidity increases faster if the doors are opened frequently, especially if the humidity of the room is high.
TROUBLESHOOTING
There is a build-up of water droplets on the rear wall. This is normal after automatic defrosting (in Static Models).
The doors are not opening or closing properly Check if:
- There is food or packaging preventing the door from closing
- The door compartments, shelves and drawers are placed properly
- The door gaskets are broken or torn
- Your fridge is level.
The edges of the fridge in contact with the door joint are warm
Especially during summer (warm weather), the surfaces in contact with the door joint may become warmer during operation of the compressor. This is normal.
Important Notes:
- In the case of a power failure, or if the appliance is unplugged and plugged in again, the gas in the cooling system of your refrigerator will destabilise, causing the compressor protective thermal element to open. Your refrigerator will start to operate normally after 5 minutes.
- If the appliance will not be used for a long period of time (such as during holidays), disconnect the plug. Defrost and clean the refrigerator, leaving the door open to prevent the formation of mildew and odour.
- If the problem persists after you have followed all the instructions above, please consult the nearest Authorised Service Centre.
- This appliance is designed for domestic use and for the stated purposes only. It is not suitable for commercial or common use. If the consumer uses the appliance in a way that does not comply with these instructions, we emphasise that the manufacturer and the dealer will not be responsible for any repair or failure within the guarantee period.
TIPS FOR SAVING ENERGY
- Always allow foodstuffs to cool before storing in the appliance.
- Thaw food in the fridge compartment, this helps save energy.
- Energy consumption of your appliance is declared without drawers and fully loaded in freezer compartmant.
TECHNICAL DATA
The technical information is situated in the rating plate on the internal side of the appliance and on the energy label. The QR code on the energy label supplied with the appliance provides a web link to the information related to the performance of the appliance in the EU EPREL database. Keep the energy label for reference together with the user manual and all other documents provided with this appliance. It is also possible to find the same information in EPREL using the link https://eprel.ec.europa.eu and the model name and product number that you find on the rating plate of the appliance. See the link www.theenergylabel.eu for detailed information about the energy label.
CUSTOMER CARE AND SERVICE
Always use original spare parts. When contacting our Authorised Service Centre, ensure that you have the following data available: Model, Serial Number and Service Index. The information can be found on the rating plate. You can find the rating label inside the fridge zone on the left lower side. The original spare parts for some specific components are available for a minimum of 7 or 10 years, based on the type of component, from the placing on the market of the last unit of the model.
Visit our website to: www.sharphomeappliances.com
Service &Support
Visit Our Website sharphomeappliances.com

















