
USER’S MANUAL
VUT 270 V5B EC VUE 270 V5B EC
VUT 270 V5 EC VUE 270 V5 EC
Air handling unit
This user’s manual is a main operating document intended for technical, maintenance, and operating staff.
The manual contains information about the purpose, technical details, operating principle, design, and installation of the VUT/VUE 270 V5(B) EC unit and all its modifications.
Technical and maintenance staff must have theoretical and practical training in the field of ventilation systems and should be able to work in accordance with workplace safety rules as well as construction norms and standards applicable in the territory of the country.
SAFETY REQUIREMENTS
This appliance can be used by children aged 8 years and above and persons with reduced physical, sensory or mental capabilities or lack of experience and knowledge if they have been given supervision or instruction concerning use of the appliance in a safe way and understand the hazards involved
Cleaning and user maintenance shall not be made by children without supervision Children shall not play with the appliance.
If the supply cord is damaged, it must be replaced by the manufacturer, its service agent, or similarly qualified persons in order to avoid a safety hazard.
Ensure that the unit is switched off from the supply mains before removing the guard. Precautions must be taken to avoid the back-flow of gases into the room from the open flue of gas or other fuel-burning appliances.
All operations described in this manual must be performed by qualified personnel only, properly trained and qualified to install, make electrical connections and maintain ventilation units. Do not attempt to install the product, connect it to the mains, or perform maintenance yourself. This is unsafe and impossible without special knowledge.
Disconnect the power supply prior to any operations with the unit.
All user’s manual requirements as well as the provisions of all the applicable local and national construction, electrical, and technical norms and standards must be observed when installing and operating the unit.
Disconnect the unit from the power supply prior to any connection, servicing, maintenance, and repair operations.
Only qualified electricians with a work permit for electrical units up to 1000 V are allowed for installation. The present user’s manual should be carefully read before beginning works.
Check the unit for any visible damage of the impeller, the casing, and the grille before starting installation. The casing internals must be free of any foreign objects that can damage the impeller blades.
While mounting the unit, avoid compression of the casing! Deformation of the casing may result in motor jams and excessive noise.
Misuse of the unit and any unauthorized modifications are not allowed.
Do not expose the unit to adverse atmospheric agents (rain, sun, etc.).
Transported air must not contain any dust or other solid impurities, sticky substances, or fibrous materials.
Do not use the unit in a hazardous or explosive environment containing spirits, gasoline, insecticides, etc.
Do not close or block the intake or extract vents in order to ensure efficient airflow.
Do not sit on the unit and do not put objects on it.
The information in this user’s manual was correct at the time of the document’s preparation.
The Company reserves the right to modify the technical characteristics, design, or configuration of its products at any time in order to incorporate the latest technological developments. Never touch the unit with wet or damp hands. Never touch the unit when barefoot.
THE PRODUCT MUST BE DISPOSED OF SEPARATELY AT THE END OF ITS SERVICE LIFE. DO NOT DISPOSE OF THE UNIT AS UNSORTED DOMESTIC WASTE.
PURPOSE
The unit is designed to ensure continuous mechanical air exchange in houses, offices, hotels, cafes, conference halls, and other utility and public spaces as well as to recover the heat energy contained in the air extracted from the premises to warm up the filtered stream of intake air.
The unit is not intended for organizing ventilation in swimming pools, saunas, greenhouses, summer gardens, and other spaces with high humidity.
Due to the ability to save heating energy by means of energy recovery, the unit is an important element of energy-efficient premises.
The unit is a component part and is not designed for stand-alone operation. It is rated for continuous operation.
Transported air must not contain any flammable or explosive mixtures, evaporation of chemicals, sticky substances, fibrous materials, coarse dust, soot and oil particles or environments favorable for the formation of hazardous substances (toxic substances, dust, pathogenic germs).
THE UNIT SHOULD NOT BE OPERATED BY CHILDREN OR PERSONS WITH REDUCED PHYSICAL, MENTAL, OR SENSORY CAPACITIES, OR THOSE WITHOUT THE APPROPRIATE TRAINING.
THE UNIT MUST BE INSTALLED AND CONNECTED ONLY BY PROPERLY QUALIFIED PERSONNEL AFTER THE APPROPRIATE BRIEFING.
THE CHOICE OF UNIT INSTALLATION LOCATION MUST PREVENT UNAUTHORISED ACCESS BY UNATTENDED CHILDREN.
DELIVERY SET
| NAME | NUMBER |
| Air handling unit | 1 pc. |
| User’s manual | 1 pc. |
| Control unit user’s manual | 1 pc. |
| Control panel* | 1 pc. |
| Installation kit | 1 pc. |
| Packing box | 1 pc. |
DESIGNATION KEY

TECHNICAL DATA
The unit is designed for indoor application with the ambient temperature ranging from +1 °C up to +40 °C and relative humidity up to 60 % without condensation. In cold, damp rooms, there is a possibility of freezing or condensation inside and outside the casing. In order to prevent condensation on the internal walls of the unit, it is necessary that the surface temperature of the casing is 2-3 °C above the dew point temperature of the transported air.
The unit should be operated continuously, and in cases where ventilation is not necessary, reduce the airflow of the fans to a minimum (20%). This will ensure a favorable indoor climate and reduce the amount of condensation inside the unit, which can damage electronic components. Never use the unit for dehumidification, for example, of new buildings. The unit is rated as a Class I electrical appliance. Hazardous parts access and water ingress protection rating:
IP22 for the unit connected to the air ducts IP44 for the unit motors The unit design is constantly being improved, thus some models may be slightly different from those described in this manual.
| MODEL | VUT 270 V5(B) EC | VUE 270 V5(B) EC |
| Unit voltage [V/50 (60) Hz] | 1 ~ 230 | |
| Maximum fan power [W] | 162 | |
| Maximum unit current (without a heater) [A] | 1.2 | |
| Maximum air capacity [m3/h] | 300 | |
| Sound pressure level at a distance of 3 m [dBA] | 34 | |
| Transported air temperature [°C] | from -25 to +40 | |
| Casing material | EPP | |
| Heat insulating material | EPP 15…26 mm | |
| Filtering class of the extract filter | G4 | |
| Filtering class of the supply filter | G4 (optionally F8) | |
| Connected spigot diameter | 125 | |
| Weight [kg] | 13 | 13.5 |
| Heat recovery efficiency [%] | 87-98 | 72-94 |
| Heat exchanger type | counter-flow | |
| Heat exchanger material | polystyrene | enthalpy |
| SEC Class for the VUT/VUE 270 V5B EC A14, VUT/VUE 270 V5B EC A21 units | A+ | A |
| SEC Class for the VUT/VUE 270 V5 EC EC A2 units | B | |

| Model | Dimensions [mm] | ||||||||||||||
| Ø D | Ø D1 | B | L | L1 | L2 | H | H1 | H2 | L3 | L4 | L5 | H3 | H4 | H5 | |
| VUT/VUE 270 V5(B) EC A2/A14 | 125 | 15 | 590 | 316 | 118 | 288 | 852 | 893 | 41 | — | — | — | — | — | — |
| VUT/VUE 270 V5B EC A21 | 125 | 15 | 590 | 316 | 118 | 288 | 852 | 893 | 41 | 324 | 313 | 93 | 180 | 330 | 196 |
DESIGN AND OPERATING PRINCIPLE
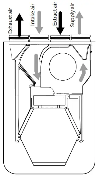
The unit has the following operating logic: warm stale extract air from the room flows into the unit, where it is filtered by the extract filter, then air flows through the heat exchanger and is exhausted outside by the extract fan. Cold fresh air from the outside flows into the unit, where it is cleaned by the supply filter.
Then the air flows through the heat exchanger and is directed to the room with the supply fan. Heat energy of warm extract air is transferred to clean intake fresh air from the outside and warms it up. The air flows are fully separated while flowing through the heat exchanger. Heat recovery minimizes heat losses, which reduces the cost of space heating in the cold season.

- exhaust fan;
- control unit (for VUT/VUE 270 V5(B) EC A2/A14 units);
- supply air filter;
- counter-flow heat exchanger;
- drain pipe (VUT 270 V5(B) EC);
- supply fan;
- bypass damper (only for VUT/VUE 270 V5B EC);
- extract air filter;
- drain pan;
- external control unit (for VUT/VUE 270 V5B EC A21 units);
- SETUP MODE button (for VUT/VUE 270 V5B EC A21 units).
The service side of the unit is equipped with a detachable plate for filter and heat exchanger cleaning and replacement operations. The control unit is positioned inside the unit casing. The power cable and grounding cables are connected to the control unit via the cable gland at the side of the unit. The temperature differential between the supply and extract air flows leads to condensate generation. Condensate is collected in the drain pan and is removed outside through the drain pipe.
Additional components (not included in the delivery set, optionally available for purchase):
Humidity sensor (HV2 is connected to the terminal block, HR-S is connected to the controller).
Based on the humidity sensor readings the unit keeps the set indoor humidity level. When the extract air humidity crosses the set humidity point, the unit goes automatically to high speed. When the indoor humidity drops below the set point, the unit reverts to the previous operation mode. CO2 sensor (connected to the controller).
Measures indoor CO2 concentration and sends a control signal to control the fan capacity. Air capacity control based on CO2 concentration is an efficient energy-saving ventilation solution. VOC sensor (connected to the controller).
Used for quantification of indoor air saturation with cigarette smoke, exhaled air, vapors of solvents, and cleaning agents for setting sensitivity with respect to expected maximum air pollution; for local demand controlled ventilation for energy saving, as air exchange takes place only in case of exceeding the set point of air pollution.
UNIT OPERATION MODES 
Heat recovery
Warm stale extract air from the room flows into the unit, where it is filtered by the exhaust filter, then air flows through the heat exchanger and is exhausted outside by the exhaust fan. Cold fresh air from the outside flows into the unit, where it is cleaned by the supply filter. Then the air flows through the heat exchanger and is directed to the room with the supply fan.
Supply air is heated in the heat exchanger by transferring the heat energy of warm and humid extract air to the cold fresh air. The air flows are fully separated while flowing through the heat exchanger. Heat recovery minimizes heat losses, which reduces the cost of space heating in the cold season.
Freeze protection
The heat exchanger freeze protection function of the unit is implemented with a temperature sensor installed in the exhaust air duct downstream of the heat exchanger. In case of a freezing danger the supply fan is turned off and the heat exchanger is warmed up with warm extract air flow. The recommended sensor or thermostat operating temperature is +3 °C (exhaust air temperature behind the heat exchanger). If necessary, this set point can be edited using the software. After the temperature increase, the unit returns to the previous operation mode. 
Summer Cooling mode
The bypass dampers are open and both air flows do not come in contact with the heat exchanger.
INSTALLATION AND SET-UP
READ THE USER’S MANUAL BEFORE INSTALLING THE UNIT.
BEFORE INSTALLING ADDITIONAL EXTERNAL DEVICES, READ THE RELEVANT USER MANUALS
HV2 HUMIDITY SENSOR INSTALLATION AND CONNECTION (FOR UNITS WITH A14 AND A21 CONTROL)
The HV2 humidity sensor is not included in the delivery set and is available as a specially ordered accessory.
The humidity sensor must be installed prior to the unit mounting.
Install the humidity sensor through the extract spigot into the mount on the extract air duct panel. After that connect the humidity sensor plug to the respective socket on the control unit, refer to the External wiring diagram.
UNIT INSTALLATION
To attain the best performance of the unit and to minimize turbulence-induced air pressure losses, connect the straight air duct section to the spigots while installing.
Minimum straight air duct length:
- equal to 1 air duct diameter on the intake side
- equal to 3 air duct diameters on the outlet side
The air ducts must be slipped over the unit flanges until tight. Flexible air ducts must be rigidly fixed with a metal worm clamp.
If the air ducts are too short or not connected, protect the unit parts from the ingress of foreign objects.
To prevent uncontrollable access to the fans, the spigots may be covered with a protecting grille or another protecting device with a mesh width not more than 12.5 mm.
While installing the unit, ensure convenient access for subsequent maintenance and repair. The unit must be mounted on a flat floor.
Installing the unit to an uneven surface could lead to the unit’s casing distortion and operation disturbance. Do not expose the unit to direct sunlight.
The plate opposite to the service side must be fixed with screws (included in the delivery set) before installation.
Install the unit on the pre-mounted floor supports, minimum 150 mm height, to ensure sufficient access for the drain pipe connection to the U-trap and for condensate drain system installation.
Unit wall mounting
Fasteners (dowels, self-tapping screws) for wall mounting are not included in the delivery set and must be ordered separately. While choosing fasteners consider the material of the mounting surface as well as the weight of the unit, refer to the Technical data section. Fasteners for unit installation should be selected by a qualified technician.
Secure the wall bracket at the required height. Hang the unit on the wall bracket and secure it with a screw.
Control unit mounting for VUT/VUE 270 V5B EC A21
Fasteners (dowels, self-tapping screws) for the control unit mounting are not included in the delivery set, must be purchased separately.
While choosing fasteners consider the material of the mounting surface. Fasteners for unit installation should be selected by a qualified technician.
To fix the control unit on the mounting surface, the mounting brackets are provided. If necessary, the mounting brackets can be removed.
The design of hinges allows changing the opening side of a control unit cover. Unscrew the fixing screws, open the cover and unhinge it. Fix the cover to the opposite hinges, tighten the fixing screws.
CONDENSATE DRAINAGE
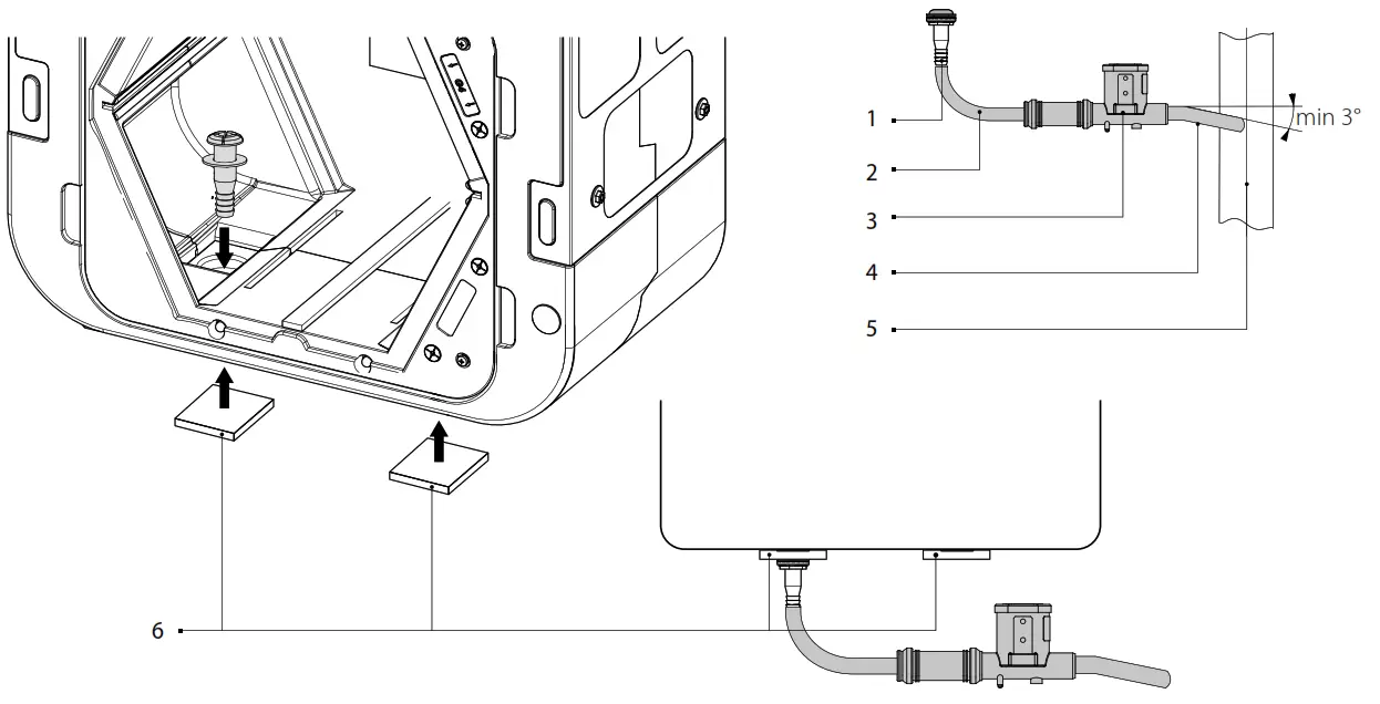
Condensate drainage is required for the VUT 270 V5(B) EC unit series. The VUE 270 V5(B) EC units are equipped with an enthalpy membrane heat exchanger. No condensate is generated in heat exchangers of this type, therefore, no condensate drainage is required. The hole for the drain pipe connection is located at the bottom of the unit in the exhaust air duct.
Open the service panel, remove the heat exchanger and the filters. Glue extra insulation sheet material (supplied) to the outside of the unit where the plastic plugs are located. Drill a 22 mm hole in the plastic plug and install the drain pipe (supplied) in the hole. Then connect the drain pipe to the sewage system using a U-trap kit (purchased separately). The pipe slope downwards must be at least 3°.
1 – drain pipe; 2, 4 – drain hose; 3 – U-trap; 5 – sewage system; 6 – additional insulation.
The condensate drainage system is designed for normal operation in premises with air temperatures above 0 °C! If the expected ambient air temperatures are below 0 °C, the condensate drainage system must be equipped with heat insulation and pre-heating facilities.
Make sure of the correct unit service side selection. Unit mounting position should enable free excess to the opening plate for maintenance and service operations. The plate opposite to the service side must be fixed with screws (included in the delivery set).
CONNECTION TO POWER MAINS
TURN OFF THE POWER SUPPLY PRIOR TO ANY OPERATIONS WITH THE UNIT.
THE UNIT MUST BE CONNECTED TO THE POWER SUPPLY BY A QUALIFIED ELECTRICIAN.
THE RATED ELECTRICAL PARAMETERS OF THE UNIT ARE GIVEN ON THE MANUFACTURER’S LABEL.
ANY TAMPERING WITH THE INTERNAL CONNECTIONS IS PROHIBITED AND WILL VOID THE WARRANTY.
DO NOT LAY THE POWER CABLE OF THE UNIT IN CLOSE PROXIMITY TO THE CONTROL PANEL CABLE! DO NOT COIL THE CABLE FROM THE CONTROL PANEL IN LOOPS WHILE LAYING IT.
The unit is rated for connection to single-phase AC 230 V/50 (60) Hz power mains.
Connect the unit to power mains using the supplied power cable with the mains plug (included in the delivery set)..
The external power input must be equipped with an automatic circuit breaker built into the stationary wiring to open the circuit in the event of overload or short-circuit. The position of the external circuit breaker must ensure free access for quick power-off of the unit. The trip current must be in compliance with the consumption current, refer to Technical data. Complete the electrical connections through the terminal block in the control unit as shown in the external wiring diagram.
EXTERNAL WIRING DIAGRAM FOR UNITS VUT/VUE 270 V5B EC A14
| Designation | Name | Model | Wire** |
| NO | External control device contacts | 2 x 0.75 mm 2 | |
| SM1* | Supply air damper actuator | LF230 | 2 x 0.75 mm 2 |
| SM2 * | Extract air damper actuator | LF230 | 2 x 0.75 mm 2 |
| PK* | Contact from fire alarm panel | NO | 2 x 0.75 mm2 |
*Is not included in the delivery set.
** Maximum connecting cable length is 20 m!
EXTERNAL WIRING DIAGRAM FOR UNITS VUT/VUE 270 V5B EC A21
| Designation | Name | Type | Wire** |
| SM1* | Supply air damper actuator | NO | 2 x 0.75 mm2 |
| SM2 * | Extract air damper actuator | NO | 2 x 0.75 mm2 |
| PK1* | Contact from fire alarm panel | NC | 2 x 0.75 mm2 |
| CCU* | Cooler control | NO | 2 x 0.75 mm2 |
| P1 | External control panel | 4 x 0.75 mm2 | |
| Boost | On/Off Boost contacts | NO | |
| Kamin | On/Off Kamin contacts | NO |
*Is not included in the delivery set.
** Maximum connecting cable length is 20 m!
WIRING DIAGRAM FOR CONNECTION OF THE EXTERNAL CONTROL UNIT TO VUT/VUE 270 V5B EC A21UNITS
K1: Connection cable for M1, M2 motors and Y1,Y2 actuators.
K2: Cable for connection of the control signals for M1, M2 motors and RH humidity sensor.
K3: Connection cable for temperature sensors.
EXTERNAL WIRING DIAGRAM FOR UNITS VUT/VUE 270 V5 EC A2
| Name | Wire* |
| Speed controller | 3 x 0.25 mm2 |
** Maximum connecting cable length is 20 m!
TECHNICAL MAINTENANCE
DISCONNECT THE UNIT FROM THE POWER SUPPLY BEFORE
ANY MAINTENANCE OPERATIONS.
FOLLOW THE SAFETY REGULATIONS WHEN CARRYING OUT MAINTENANCE.
Maintenance operations of the unit are required 3-4 times per year. It includes general cleaning of the unit and the following operations:
- Filter maintenance (3-4 times per year).
Dirty filters increase air resistance in the system and reduce supply air volume. The filters require cleaning not less than 3-4 times per yearVacuum cleaning is allowed. After two consecutive cleanings filters must be replaced. For new filters, contact the Seller.
To clean or replace the filters, detach the removable plates located on the service side of the unit. After cleaning install the filters and the detachable plates in the reverse order. - Heat exchanger maintenance (once per year).
Some dust may accumulate on the heat exchanger even in case of regular maintenance of the filters. To maintain the high heat recovery efficiency, regular cleaning is required. Before removing the heat exchanger, detach the removable plate located on the service side of the unit.
Remove the heat exchanger and the drain pan from the unit. Flush the heat exchanger with warm detergent solution. After cleaning install the dry heat exchanger with the drain pan back to the unit. - Drain system maintenance (once per year)
The condensate drainage (drain line) may get clogged by dirt and dust particles contained in the exhaust air. Pour some water inside the drain pan to check the pipe for clogging. Clean the U-trap and the drain pipe if required. - Technical maintenance of air duct system (every 5 years).
Even regular fulfilling of all the maintenance operations prescribed above may not completely prevent dirt accumulation in the air ducts, which reduces the unit capacity. Duct maintenance means regular cleaning or replacement. - Control unit maintenance (if necessary).
The control unit maintenance must be performed by an expert qualified for unassisted operations with electrical installations with the voltage up to 1000 V after careful reading of the user’s manual.
TROUBLESHOOTING
| Problem | Possible reasons | Troubleshooting |
| The fan(s) does not start when the unit is on. | No power supply. | Make sure the power supply line is connected correctly, otherwise troubleshoot the connection error. |
| The motor is jammed, the impeller blades are soiled. | Turn the unit off. Troubleshoot the motor jam and the impeller clogging. Clean the blades. Restart the unit. | |
| Alarm in the system. | Turn the unit off. Contact the Seller. | |
| Automatic circuit breaker trips following the unit turning on. | Overcurrent as a result of short circuit in the electric circuit. | Turn the unit off. Contact the Seller. |
| Low air flow. | Low set fan speed. | Set higher speed. |
| The filters and the fans are clogged, the heat exchanger is clogged. | Clean or replace the filters, clean the fans, and the heat exchanger. | |
| Ventilation system elements (air ducts, diffusers, louver shutters, grilles) are clogged, damaged, or closed. | Clean or replace the ventilation system elements, such as air ducts, diffusers, louver shutters, grilles. | |
| Cold supply air. | The extract filter is soiled. | Clean or replace the extract filter. |
| Noise, vibration. | The impeller(s) is soiled. | Clean the impeller(s). |
| The fan or casing screw connection is loose. | Tighten the screw connection of the fans or the casing all the way. | |
| No anti-vibration connectors on air duct pipe flanges. | Install anti-vibration connectors. | |
| Water leakage (only for the VUT 270 V5(B) EC units). | The drainage system is soiled, damaged, or installed incorrectly. | Clean the drain line if necessary. Check the drain line slope angle. Make sure that the U-trap is filled with water and the drain pipes are frost protected. |
STORAGE AND TRANSPORTATION REGULATIONS
- Store the unit in the manufacturer’s original packaging box in a dry closed ventilated premise with a temperature range +5 …+40 ˚С and relative humidity up to 70 %.
- The storage environment must not contain aggressive vapors and chemical mixtures provoking corrosion, insulation, and sealing deformation.
- Use suitable hoist machinery for handling and storage operations to prevent possible damage to the unit.
- Follow the handling requirements applicable for the particular type of cargo.
- The unit can be carried in the original packaging by any mode of transport provided proper protection against precipitation and mechanical damage. The unit must be transported only in the working position.
- Avoid sharp blows, scratches, or rough handling during loading and unloading.
- Prior to the initial power-up after transportation at low temperatures, allow the unit to warm up at operating temperature for at least 3-4 hours.
MANUFACTURER’S WARRANTY
The product is in compliance with EU norms and standards on low voltage guidelines and electromagnetic compatibility. We hereby declare that the product complies with the provisions of the Electromagnetic Compatibility (EMC) Directive 2014/30/EU of the European Parliament and of the Council, Low Voltage Directive (LVD) 2014/35/EU of the European Parliament and of the Council and CE-marking Council Directive 93/68/EEC. This certificate is issued following test carried out on samples of the product referred to above. The manufacturer hereby warrants normal operation of the unit for 24 months after the retail sale date provided the user’s observance of the transportation, storage, installation, and operation regulations. Should any malfunctions occur in the course of the unit operation through the Manufacturer’s fault during the guaranteed period of operation, the user is entitled to get all the faults eliminated by the manufacturer by means of warranty repair at the factory free of charge. The warranty repair includes work specific to the elimination of faults in the unit operation to ensure its intended use by the user within the guaranteed period of operation. The faults are eliminated by means of replacement or repair of the unit components or a specific part of the such unit component.
The warranty repair does not include:
- routine technical maintenance
- unit installation/dismantling
- unit setup
To benefit from warranty repair, the user must provide the unit, the user’s manual with the purchase date stamp, and the payment paperwork certifying the purchase. The unit model must comply with the one stated in the user’s manual. Contact the Seller for warranty service.
The manufacturer’s warranty does not apply to the following cases:
- User’s failure to submit the unit with the entire delivery package as stated in the user’s manual including submission with missing component parts previously dismounted by the user.
- Mismatch of the unit model and the brand name with the information stated on the unit packaging and in the user’s manual.
- User’s failure to ensure timely technical maintenance of the unit.
- External damage to the unit casing (excluding external modifications as required for installation) and internal components caused by the user.
- Redesign or engineering changes to the unit.
- Replacement and use of any assemblies, parts and components not approved by the manufacturer.
- Unit misuse.
- Violation of the unit installation regulations by the user.
- Violation of the unit control regulations by the user.
- Unit connection to power mains with a voltage different from the one stated in the user’s manual.
- Unit breakdown due to voltage surges in power mains.
- Discretionary repair of the unit by the user.
- Unit repair by any persons without the manufacturer’s authorization.
- Expiration of the unit warranty period.
- Violation of the unit transportation regulations by the user.
- Violation of the unit storage regulations by the user.
- Wrongful actions against the unit were committed by third parties.
- Unit breakdown due to circumstances of insuperable force (fire, flood, earthquake, war, hostilities of any kind, blockades).
- Missing seals if provided by the user’s manual.
- Failure to submit the user’s manual with the unit purchase date stamp.
- Missing payment paperwork certifying the unit purchase.
FOLLOWING THE REGULATIONS STIPULATED HEREIN WILL ENSURE A LONG AND TROUBLE-FREE OPERATION OF THE UNIT.
USER’S WARRANTY CLAIMS SHALL BE SUBJECT TO REVIEW ONLY UPON PRESENTATION OF THE UNIT, THE PAYMENT DOCUMENT AND THE USER’S MANUAL WITH THE PURCHASE DATE STAMP.
CERTIFICATE OF ACCEPTANCE
| Unit Type | Air handling unit |
| Model | |
| Serial Number | |
| Manufacture Date | |
| Quality Inspector’s Stamp |
SELLER INFORMATION
| Seller | |
| Address | |
| Phone Number | |
| Purchase Date | |
| This is to certify acceptance of the complete unit delivery with the user’s manual. The warranty terms are acknowledged and accepted. | |
| Customer’s Signature | |

| The _____________________________________ unit is installed pursuant to the requirements stated in the present user’s manual. | ||
| Company name | ||
| Address | ||
| Phone Number | ||
| Installation Technician’s Full Name | ||
| Installation Date: | Signature: | |
| The unit has been installed in accordance with the provisions of all the applicable local and national construction, electrical and technical codes and standards. The unit operates normally as intended by the manufacturer. | ||
| Signature: | ||

INSTALLATION CERTIFICATE
| Unit Type | Air handling unit |
| Model | |
| Serial Number | |
| Manufacture Date | |
| Purchase Date | |
| Warranty Period | |
| Seller |
V170-1EN-07
http://vents.ua/
www.ventilation-system.com



















