nVent RAYCHEM SS3-EX SSR Modules Certified for Hazardous Area Zone 2

Product Information:
The nVent RAYCHEM Solid-state relay (SSR) assembly is certified product for hazardous area Zone 2. It has been approved and certified by CSA and IECEx for use in Class I, Div 2, Groups A,B,C,D areas. The SSR module is available in two versions – 32 Amp and 63 Amp. The product comes with lock ring, sealing gasket, and heat sink/SSR assembly parts.
Approvals/Certifications:
- CSANe 20ATEX3280X
- CSAE 21UKEX3630X
- II 2G Ex ec IIC T4 Gc
- IECEx CSA 20.0010X Ex ec IIC T4 Gc
- Class I, Div 2, Groups A,B,C,D; CSA22CA80090563X EX ec IIC T4
Gc Class I, Zone 2; AEx ec IIC T4 Gc TYPE 4X
Conditions of Safe Use:
- The equipment shall only be used in an area of at least pollution degree 2, as defined in EN/IEC 60664-1.
- The equipment shall be protected from exposure to UV light.
- The equipment shall be connected in compliance with IEC 60079-14 to an enclosure providing and maintaining a degree of protection of at least IP54 according to IEC 60079-0 and IEC 60079-7 requirements. Field wiring shall be terminated in this enclosure using appropriate connection methods in accordance with IEC 60097-7.
- For the installation in North America, the equipment shall be connected to an enclosure which shall provide and maintain a degree of protection of at least IP54 according to CSA/UL 60079-0 requirements and TYPE 4X. The flying leads supplied for field wiring shall be terminated in this enclosure using appropriate connection methods in accordance with CSA/UL 60079-7.
- The equipotential bonding of the equipment relies upon the factory installed cables which must be connected in accordance with the user instructions.
- Install per local electrical code.
- For the installation in North America, the equipment shall be connected to a controller which has been evaluated to UL 508/CSA 14 or equivalent.
Product Usage Instructions:
- Before installation, make the manufacturer aware of any external effects or aggressive substances that the equipment may be exposed to.
- Read and understand all the installation instructions and important warnings carefully before installing the product.
- Ensure that all personnel involved in installation, servicing, and programming are qualified and familiar with electrical equipment, their ratings, and proper practices and codes.
- Multiple voltages and signal levels may be present during the installation, operation, and servicing of this product. Do not power the product until the safety provisions outlined in the controller manual have been observed.
- De-energize all power sources before performing any maintenance on a controller circuit.
- Follow the conditions of safe use listed above.
- Connect the equipment to an enclosure providing and maintaining a degree of protection of at least IP54 according to the requirements listed above.
- Terminate field wiring in the enclosure using appropriate connection methods in accordance with the requirements listed above.
- Connect the factory-installed cables in accordance with the user instructions to ensure proper equipotential bonding.
- Install the product per local electrical code.
- If installing the product in North America, connect it to a controller which has been evaluated to UL 508/CSA 14 or equivalent.
DESCRIPTION

The nVent RAYCHEM Solid-state relay (SSR) assembly is suitable for ATEX / IECEx / UKEx Zone 2.
- Control input: 4-32 VDC supplied by an external device (typically a controller).
- Enclosure Type: Type 4X, IP66
- Ingress Protection: IP66
- Ambient Operating Temperature Range: –40°C to +60°C*
- for 32A rated modules max. ambient temperature is +40°C at 32A and +60°C at 16A
- for 63A rated modules max. ambient temperature is +40°C at 63A and +60°C at 32A
TOOLS REQUIRED
- Drill, drill bits
- Diagonal cutters
- Wire strippers
- ¾ in. NPT knockout punch
- Channel lock pliers
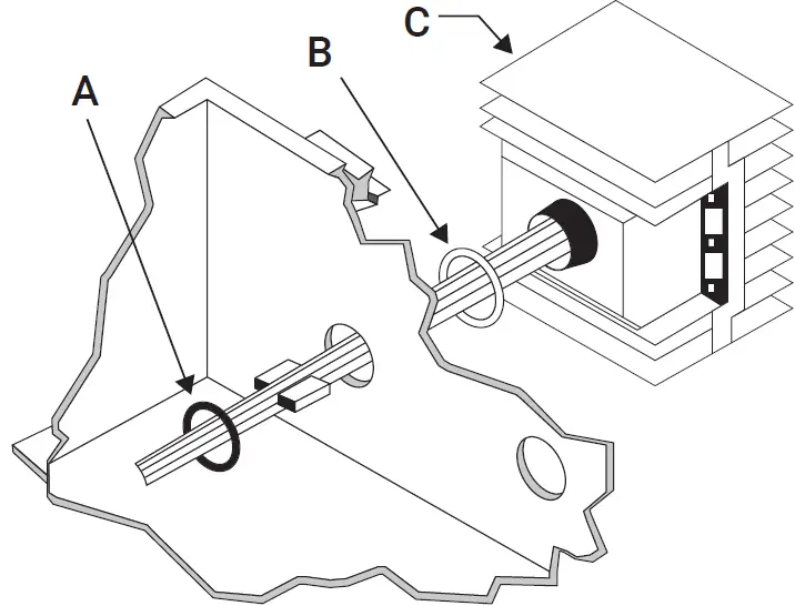
PARTS
| Part | Quantity | |
| 32 Amp SSR | 63 Amp SSR | |
| Lock Ring (A) | 1 | 2 |
| Sealing Gasket (B) | 1 | 2 |
| Heat Sink/SSR assembly (C) | 1 | 1 |
VERSIONS AND RATINGS OF THE SSRS:
| List of items | Description |
| SS3-EX | Standard 32A 277 Vac module, 6 mm² cable |
| SS3Z-EX | Standard 32A 277 Vac module, 6 mm² cable, Low Smoke Zero Halogen |
| SS3L-EX | Standard 32A 277 Vac module, 10 mm² cable |
| SS3LZ-EX | Standard 32A 277 Vac module, 10 mm² cable, Low Smoke Zero Halogen |
| SS3R-EX | Standard 32A 277 Vac, high in-rush module, 6 mm² cable |
| SS3RZ-EX | Standard 32A 277 Vac, high in-rush module, 6 mm² cable, Low Smoke Zero Halogen |
| SS3RL-EX | Standard 32A 277 Vac, high in-rush module, 10 mm² cable |
| SS3RLZ-EX | Standard 32A 277 Vac, high in-rush module, 10 mm² cable, Low Smoke Zero Halogen |
| SSH3-EX | High voltage 32A 690 Vac module, 6 mm² cable |
| SSH3Z-EX | High voltage 32A 690 Vac module, 6 mm² cable Low Smoke Zero Halogen |
| SSH3L-EX | High voltage 32A 690 Vac module, 10 mm² cable |
| SSH3LZ-EX | High voltage 32A 690 Vac module, 10 mm² cable Low Smoke Zero Halogen |
| SSH6L-EX | High voltage, 63A 690 Vac module, 10 mm² |
| SSH6LZ-EX | High voltage, 63A 690 Vac module, 10 mm² Low Smoke Zero Halogen |
WARNING:
The purchaser should make the manufacturer aware of any External effects or Aggresive substances that the equipment may be exposed to.
Fire Hazard: The contents of the component kit must be installed correctly to ensure proper operation and to prevent unsafe conditions. Be sure to read and understand these important warnings and carefully follow all the installation instructions.
Be sure all personnel involved in installation, servicing, and programming are qualified and familiar with electrical equipment, their ratings and proper practices and codes. Multiple voltages and signal levels may be present during the installation, operation, and servicing of this product. Do not power the product until the safety provisions outlined in the controller manual have been observed. Many wiring configurations will use more than one power source, and all must be de-energized prior to performing any maintenance on a controller circuit.
IMPORTANT:
- Maintain proper spacing between SSR assemblies
- Tighten the lock ring to maintain the weatherproof seal, but not so much as to strip the threads or crack the hub. Apply 8.13 Nm when tightening the locknut.
- Ensure the ground wire is installed in the grounding bar.
- Strip all wires the proper length for the terminals being used.
- Wire the SSR assemblies following the included diagrams.
- Misuse and/or false installation will impair the protection provided by the equipment.
CONDITIONS OF SAFE USE
The nVent RAYCHEM Solid-state relay (SSR) assembly is suitable for ATEX / IECEx / UKEx Zone 2. The equipment shall only be used in an area of at least pollution degree 2, as defined in EN/IEC 60664-1.
- This equipment has a non-conducting enclosure and may generate an ignition-capable level of electrostatic charge under certain extreme conditions. The user shall take the necessary precautions to minimize the risk from electrostatic discharge.
For example: control of the environmental humidity of the installation to minimize the generation of static electricity; protection from direct airflow that could cause a transfer of charge to the surface of the equipment; suitable electrical bonding and earth provisions; cleaning of the equipment only with a damp cloth - The equipment shall be protected from exposure to UV light
- The equipment shall be connected in compliance with IEC 60079-14 to an enclosure providing and maintaining a degree of protection of at least IP54 according to IEC 60079-0 and IEC 60079-7 requirements. Field wiring shall be terminated in this enclosure using appropriate connection methods in accordance with IEC 60097-7
- For the installation in North America, the equipment shall be connected to an enclosure which shall provide and maintain a degree of protection of at least IP54 according to CSA/UL 60079-0 requirements and TYPE 4X. The “flying leads” supplied for field wiring shall be terminated in this enclosure using appropriate connection methods in accordance with CSA/UL 60079-7
- The equipotential bonding of the equipment relies upon the factory installed cables which must be connected in accordance with the user instructions
- Install per local electrical code
- For the installation in North America, the equipment shall be connected to a controller which has been evaluated to UL 508/CSA 14 or equivalent
WARNING: Many wiring configurations will use more than one power source, and all must be de-energized prior to performing any maintenance on a controller circuit.
INITIAL INSPECTION
Inspect the packaging for damage. If the packaging or cushioning material is damaged it should be kept until the contents of the shipment have been verified for completeness and the equipment has been checked mechanically and electrically. Procedures for configuring and operating the heat trace controller are given in the manual of the controller. If the shipment is incomplete, there is mechanical damage or a defect, or the switch does not pass the electrical performance tests, notify the nearest nVent representative. If the packaging is damaged, or the cushioning material shows signs of stress, notify the carrier as well as your nVent representative. Keep the shipping materials for the carrier’s inspection.
- This device is OPEN type equipment that must be used with a suitable end-use system enclosure, the interior of which is accessible only through the use of a tool. This enclosure must provide ingress protection to the level of IP54 or greater, and be compliant with the requirements of CAN/CSA C22.2 No. 60079-0 or be certified as having protection method of Ex ec, Ex dc, or greater. The suitability of the enclosure is subject to investigation by the local Authority Having Jurisdiction at the time of installation.
- Wiring to or from this device, which enters or leaves the system enclosure, must utilize wiring methods suitable for Class I, Division 2 and Zone 2 Hazardous Locations, as appropriate for the installation. :
Mounting Procedures
- Follow this mounting hole pattern to maintain the spacing required for proper heat dissipation; also note the minimum mounting height from the top of the enclosure.

- To mount the SSR at the outside of the panel drill a hole with the dimensions as marked on the drawing. Make sure that the notch is at the bottom of the hole drilled.
If you are adding a multi pole circuit, you must place all on the same side of the enclosure (due to wire length).
- Install the heat sink assembly C as shown. Make sure the gasket B is between the enclosure and the switch, and the boss on the plastic hub fits in the notch at the bottom of the knockout hole. After the SSR assembly is positioned in the hole, carefully feed the lock ring A over the wires, and thread onto the hub finger tight. Using channel lock pliers, tighten the ring enough to maintain a weatherproof seal, but not so tight as to crack the plastic hub. About ¼ turn past finger tight should be adequate.


POWER CONNECTIONS
One SSR Application
The SSR module has two control wires (14-16 AWG), 2 black wires (6 mm² / 10 mm²) and one yellow/green wire (6 mm² / 10 mm²) connected to it. Connect the wiring as follows:
- Connect the yellow/green earth wire to the earth bar in the panel
- Connect the two black wires to the L1 incoming and L1 outgoing terminals in the panel
- Connect the attached male control wire to lose control wire (is included in package) and terminate these into the SSR output terminals of the controller. BE AWARE: Yellow wire is + V, blue wire is -V
Remark: It is allowed to shorten all cables to length.
Two pole SSR Application
A two pole SSR application will be controlled via one control signal coming from the controller. As such, the control cable shall be connected in parallel. Due to limitation in length of the control cables both SSRs need to be placed above or next to each other. The SSR module wires consist of the following: two control wires (14-16 AWG), 2 black power wires (6 mm² / 10 mm²) and one yellow/green earth wire (6 mm² / 10 mm²). Connect all wiring as follows:
- Connect the yellow/green earth wires to the earth bar in the panel
- Connect the two black wires of the first SSR to the L1 incoming and L1 outgoing terminals in the panel
- Connect the two black wires of the second SSR to the L2/N incoming and L2/N outgoing terminals of that same circuit in the panel
- Connect the attached male control wire to lose control wire(is included in package) and terminate these into the SSR output terminals of the controller. BE AWARE: Yellow wire is +V, blue wire is -V
- Connect the female control connector of the first SSR to the male connector of the second SSR.
Remark: It is allowed to shorten all cables to length. See Figure B for more information.
Three pole Switch Application
The three SSR assembly application follows the same instructions as for the two SSR application, with the addition of one more SSR assembly. After the first two SSR’s are wired ,
add the third one the same way. Make sure to plug the two mating connectors together (from SSR 2 & 3) to daisy chain the control signals to the last SSR assembly. The wire sizes are equal as described in the one pole and two pole switch application (control wires 14-16 AWG, black power wires 6 mm² / 10 mm² and yellow/green earth wire 6 mm² / 10 mm²).
Note: Always be sure that all terminals are adequately tightened according to the terminal manufacturer’s specification. A loose terminal can cause arcing and damage to the terminal or incorrect operation of the controller.
- Make sure that power terminals are re-tightened several days after installation. Stranded wire will tend to compress when initially installed, therefore the terminals should be checked for tightness several times after the system is installed to ensure that a good connection is maintained. Be certain to use the proper size screwdriver for the terminal blocks to minimize the chance of damage to the terminals.
INITIAL POWER UP
Note: Ensure the SSR is rated for the connected load before applying power to the controller. If the total load is not known, disconnect load prior to applying power to the controller. The load should only be connected once controller has been suitably programmed for safe and correct operation.
CAUTION: DO NOT DISCONNECT WHILE CIRCUIT IS LIVE UNLESS AREA IS KNOWN TO BE NON-HAZARDOUS.
Contact your nVent representative for service and a Return Authorization number if required
North America
nVent
899 Broadway
Redwood City, CA 94063
United States
Tel +1 800 545 6258
Fax +1 800 527 5703
[email protected]
Europe, Middle East, Africa
nVent
Romeinse straat 14
3001 Leuven
Belgium
Tel +32 16 213 511
Fax +32 16 213 604
[email protected]
Asia Pacific
Tel +86 21 2412 1688
Fax +86 21 5426 3167
[email protected]
Latin America
Tel +1 713 868 4800
Fax +1 713 868 2333
[email protected]
©2022 nVent. All nVent marks and logos are owned or licensed by nVent Services GmbH or its affiliates. All other trademarks are the property of their respective owners. nVent reserves the right to change specifications without notice.
RAYCHEM-IM-EU1707-ATEXIECExZN2SSRMod-EN-2207























