nVent RAYCHEM RayClic Connection System User Guide
Installation Instructions

APPROVALS
718K Pipe Heating Cable
877Z De-Icing and Snow Melting
Not UL Listed with XL-Trace Edge heating cable for buried piping
For HWAT and IceStop only
Hazardous Locations: For IceStop (GM-XT) only
Class I, Div. 2, Groups A, B, C, D
DESCRIPTION
DESCRIPTION
nVent RAYCHEM RayClic-PC Power Connection and End Seal Kit
nVent RAYCHEM RayClic-PS Powered Splice and End Seal Kit
nVent RAYCHEM RayClic-PT Powered Tee and End Seal Kit
These kits are for use with nVent RAYCHEM IceStop,
XL-Trace Edge and HWAT heating cables. The connection is designed to be strapped to the pipe or mounted on the wall at the start of the heating cable circuit. These installation instructions should be used in conjunction with the IceStop, XL-Trace Edge and HWAT System Installation and Operation Manuals.
For technical support, contact your nVent representative or call nVent (800) 545-6258
TOOLS REQUIRED
- Wire cutters
- TORX® T20 screw driver
- Utility knife
- Wrenches (2)
WARNING
This component is an electrical device that must be installed correctly to ensure proper operation and to prevent shock or fire. Read these important warnings and carefully follow all the installation instructions.
- To minimize the danger of fire from sustained electrical arcing if the heating cable is damaged or improperly installed, and to comply with the requirements of nVent, agency certifications, and national electrical codes, ground fault equipment protection must be used. Arcing may not be stopped by conventional circuit breakers.
- Bus wires will short if they contact each other. Keep bus wires separated.
- Keep components and heating cable ends dry before and during installation.
- The black heating cable core is conductive and can short. It must be properly insulated and kept dry.
- Component approvals and performance are based on the use of nVent-specified parts only. Do not use substitute parts or vinyl electrical tape.
- Leave these instructions with end user for reference and future use.
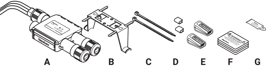
KIT CONTENTS
RAYCLIC-PC POWER CONNECTION KIT
| Item | Qty | Description |
| A | 1 | Power connection |
| B | 1 | Pipe mounting bracket |
| C | 2 | Plastic cable ties |
| D | 1 | Clip |
| E | 1 | End seal |
| F | 4 | Labels (1 HWAT, 1 De-Icing & Snow Melting, 2 Warning) |
| G | 1 | Cable lubricant |
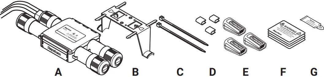
RAYCLIC-PS POWERED SPLICE KIT
| Item | Qty | Description |
| A | 1 | Powered splice |
| B | 1 | Pipe mounting bracket |
| C | 2 | Plastic cable ties |
| D | 2 | Clips |
| E | 2 | End seals |
| F | 4 | Labels (1 HWAT, 1 De-Icing & Snow Melting, 2 Warning) |
| G | 1 | Cable lubricant |
RAYCLIC-PT POWERED TEE KIT
| Item | Qty | Description |
| A | 1 | Powered splice |
| B | 1 | Pipe mounting bracket |
| C | 2 | Plastic cable ties |
| D | 3 | Clips |
| E | 3 | End seals |
| F | 4 | Labels (1 HWAT, 1 De-Icing & Snow Melting, 2 Warning) |
| G | 1 | Cable lubricant |
Power Connection, Splice and Tee Installation
- Using the plastic cable ties, attach* the bracket to the pipe.
- For roof-mounted applications, follow steps 3 through 9 (pages 3–4), then turn to “Roof Installation” on page 6.

- For the RayClic-PC power connection, fold up the four outer snaps, then position the connector over the snaps and press down.

- For the RayClic-PS powered splice and the RayClic-PT powered tee, fold up two center snaps, then position the connector over the snaps and press down.

- Allow enough extra heating cable to make service loops as required.
- Make sure the end of the heating cable is cut clean.

- Score around and down the outer jacket of the heating cable 3 1/8 inches from the end.

- Remove the outer jacket.
- Place the metal clip over the base of the exposed braid.

- Using wire cutters, cut away 1 inch of the braid.
- Pull exposed braid back over metal clip.

- Using wire cutters, cut away aluminum wrap

- Pull exposed braid back over metal clip

- Apply a small amount of lubricant to the jacket surface near the end of the cable.
- Avoid using large amounts of lubricant on the exposed end of the cable.

- Insert prepared heating cable end into connector. Push until heating cable is fully inserted and end is visible through opening in connection cover plate.

Note: RayClic connection kits are designed to be installed only once; the heating cable cannot be removed once installed.
- Apply HWAT label on insulated hot water tank.
- Securely tighten the two connection screws, alternating as they are being tightened.
- For Powered Splice and Tee kits, repeat steps 3 through 8 for all remaining heating cable entries

- Close the lid and snap the lever shut. Do not force lid closed; if lid does not close, check the connection to ensure all screws are fully tightened.
- Tighten the nuts on the heating cable entries until grommets are compressed.

- Using two wrenches, attach user-supplied 1/2 inch conduit. To avoid breaking housing, do not exceed 15 ft-lbs of torque. Broken connectors must be replaced.

- Using glass cloth tape, attach heating cable to pipe.
- Apply insulation, cladding and warning labels.
- Terminate power wiring in user-supplied junction box.

- Using glass cloth tape, attach heating cable to pipe.
- Apply insulation, cladding and warning labels.
- Terminate power wiring in user-supplied junction box.

- Using glass cloth tape, attach heating cable to pipe.
- Apply insulation, cladding and warning labels.
- Terminate power wiring in user-supplied junction box.

- Mount flat (wall-mounting) bracket by installing screws through the center holes. Do not mount in gutter or where it may be immersed in water.

- Position attachment clips on mounting bracket based on the type of connector being installed.

- Connect heating cable as detailed in steps 3 through 9 (pages 3–4

- Attach the connector to the mounting bracket by pressing until it snaps in place.
- Complete heating cable installation and install a drip loop as shown.
- Protect heating cable from sharp edges.

- Connect user-supplied 1/2 inch conduit by following step 11 on page 5.
- Apply Electric De-Icing and Snow Melting label on or near junction box.

End Seal Installation
- Score down and around outer jacket 1 inch from the end.
- Remove the outer jacket.
- Do not cut or damage inner jacket.

- Remove exposed braid.

- Using wire cutters, cut away aluminum wrap close to braid and outer jacket.

- Push end seal completely onto heating cable.

Note: The end seal can be installed only once; it cannot be removed from the heating cable. Do not use until ready for final installation.
Troubleshooting Guide
| Problem | Solution |
| Braid clips are missing. | The braid clips are attached to the cardboard packing insert under the lid. The braid clips must be used to ensure a ground connection. If clips are missing or lost, call nVent at (800) 545-6258. |
| Mounting bracket is missing. | A pipe mounting bracket is supplied with the Power Connection, Powered Splice and Powered Tee kits. A wall mounting bracket or additional pipe mounting bracket may be ordered using one of the catalog numbers listed under “Optional Accessories” on the front page of these instructions when you place your order. |
| Connector does not snap onto bracket. | The bracket has two sets of attachment clips. Fold up the four outer clips for the Power Connection kit. Fold up only the center clips for the Powered Splice and Powered Tee kits. |
| Heating cable type not mentioned. | nVent RAYCHEM RayClic connection kits are approved for use only with HWAT, XL-Trace Edge, and IceStop heating cables. Do not use with other heating cables. |
| Braid clip does not fit. | Be sure the clip is installed on the metal braid, not on the outer jacket. |
| Heating cable does not have aluminum wrap. | Only HWAT heating cables have the aluminum wrap under the braid. Skip the aluminum wrap removal step for XL-Trace Edge and IceStop heating cables. |
| Heating cable cannot be inserted into connector. | Check for the following:• Apply cable lubricant to the heating cable primary (white) jacket.• Outer jacket strip length is 3 1/8 inches.• Braid clip is installed on top of the metal braid, not on the outer jacket.• Braid is pulled back over braid clip.• For HWAT, 1 inch of braid is removed.• Sealing nut is loose (but not removed).• Connection screws are loose. |
| Lid does not close. | Be sure all screws are fully tightened before closing the lid. |
| Heating cable cannot be inserted into end seal. | The outer jacket must be removed from the heating cable before the end seal is installed (see the “End Seal Installation” instructions on page 7). Make sure 1 inch of the outer jacket, braid, and aluminum wrap (HWAT only) are removed. |
| Heating cable cannot be removed. | The power connection and end seal are designed to be installed only once; the heating cable cannot be removed once installed. Additional nVent RAYCHEM RayClic -E end seals can be ordered from nVent. |
Heating Cable Circuit Testing
The RayClic Power Connection Kits (RayClic-PC, RayClic-PS and RayClic-PT) now include test ports in the blank module. Voltage can measured at these points to confirm continuity or power to the installed heating cable circuit. For detail heating cable operation refer to the appropriate installation and operating manual.
Instructions:
- Open the RayClic Cover.
- Set multimeter to AC voltage function.
- Insert multimeter test probes into the two test ports.
WARNING: To avoid shock do not cross the test probes or touch them to the metal pressure plate when measuring voltage.



North America
Tel +1.800.545.6258
Fax +1.800.527.5703
[email protected]
Europe, Middle East, Africa
Tel +32.16.213.511
Fax +32.16.213.604
[email protected]













































