AnyTone AT-5555N II 10 Meter Amateur Radio

FUNCTIONS & FEATURES
- Big LCD displays frequency and all kinds of information
- FM、AM、USB、LSB、PA mode
- Frequency Tuning Step 100Hz、1KHz、10KHz、100KHz、1MHz
- ±1.5KHz CLARLFILER Adjustment
- Flexible Menu Function and PC Program Software
- ECHO Function
- SQ, ASQ Function (FM and AM mode only)
- RF GAIN Adjustment
- RF PWR Adjustment
- SCAN Function
- Programmable RB Function
- NB/ANL Function
- DW DUAL-WATCH Function
- Offset Frequency Function
- BEEP Voice Prompt
- +10KHZ Function
- SIG、PWR、SWR Function
- TOT function
- HI-CUT Function
- EMG Channel Function
- SWR Protection
- Power Supply Voltage Protection
- Key-Lock Function
- Six(6) Groups Memory Channel
- Model Name Customized Function
- CTCSS/DCS Code
- VOX Function
- RX compander: Noise blanker
- Noise gate setting: Mic noise adjustable
- TX and RX Noise Reduction
- Compatible with electronic and dynamic MIC type
- WX weather channel
- Weather Alert
STANDARD ACCESSORIES

INSTALLATION
Choose the most appropriate setting from a simple and practical point of view. Your radio should not interfere with the driver or crash the driver’s knee or leg when rush brake.

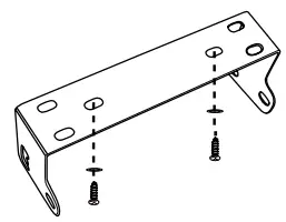
- Using the self-tapping screws and pads(2 sets) to fix
the bracket. - Put the Non-slip mat on the 2 ends of the bracket and put in the radio. Then insert the adjusting screws and check careful each screws, make sure the screws and machine will not loose when the car shaking.
- Choose suitable angle by the 3 screw holes in the two ends of bracket.

- Microphone connection
- Plug microphone connector into jack.
- Pull on the screw for microphone connector.

- ANTENNA INSTALLATION
Before using this radio, please install a high efficent and harmonious adjusted CB antenna, suitable antenna type and correct installation will bring excellent communication.
To match with the radio, the antenna and cable shall with characteristic impedance of 50ohm, or the antenna system will not efficient enough and will disturb TV, radio or other electronics.- Screw the antenna connector into the antenna jack.
- Grounding the antenna system to ensure best performance of this radio.

WARNING - Connect antenna firstly before transmiting, or it might damage the radio.
- To avoid the risk of fire, electric shock, radio damage, all base station shall equip of lightning protector
- Be sure choose a matching antenna, you may enquiry our dealers.
- The position of antenna can be put as following example:

- POWER CONNECTION
This radio adopt 13.8V power supply, never connect it to 24V battery, And the 13.8V car battery shall with sufficient current, or the LCD will become dark and Transmit power will drop down.- Connect positive red power cable with the + terminal of the battery.
- Connect negative black power cable with the – terminal of the battery.
- Connect the DC power cable to the transceiver’s power supply connector.
- We suggest not use cigar lighter as it often bring down the voltage.
- Locate the power cable away from high temperature, moisture, portfire and cable insulator.
- Use a full power cable even it is longer than need, do not take off the fuse holder from the cable.

- Replacing Fuse
- This radio adopt 15A, 250V fuse.
- If the fuse blows, determine the reason, then correct the problem.
- After the problem is resolved, replace the fuse. If newly installed fuses continue to blow, disconnect the power cable and contact your autho-rized dealer or an authorized servicecenter:
- Pull the two fuse cover in difference direction and open it.

- Replace the broke fuse with good one, and close the fuse holder.
- Be sure to use suggested fuse, or it might damage the radio.

- Pull the two fuse cover in difference direction and open it.
- Install Microphone Hanger
Choose a ideal location which will not interfere the driver. Using supplied self-tapping screws and pads(2 sets) to fix the hanger. - Install External Speaker
If use an external speaker, please choose 8ohm speaker with 3.50mm mono band (doulbe cable) plug.- Locate the external speaker in a suitable place.
- Plug into the speaker jack.

GETTING ACQUAINTED
- Front Panel

No. Key Functions 1 FRQ Switch between channel mode and frequency mode、offset setup 2 BAND Switch band: A-I、ECHO setup 3 MENU Function Menu key 4 MODE Switch mode(FM、AM、USB、LSB、PA)、TSQ setup 5 DW Dual-watch scan、Frequency+10K function 6 RB RB function、Beep voice prompt function 7 NB NB function、HI-CUT function 8 SCAN Scan、Scan add、Scan delete 9 MEM Use, store or delete memory channel 10 EMG Emergency Channel; Keypad lock. 11 PWR RF Power Control 12 RFG RF Gain Control 13 SQ Squelch Control 14 CLAR SSB Clarifier switch 15 VOL Power On/Off; Volume Control. 16 CH Channel Switch, Push key. 17 Microphone Jack 18 LCD Display - Rear Panel

No. Functions 19 External SP Jack 20 External PA Jack 21 Antenna Jack 22 Power Supply Jack 23 Programming jack - Microphone

- LCD Display


HOW TO USE YOUR RADIO
- OFF/ON Radio
- Turn VOL clockwise to switch on the radio, the radio emit a beep. When the LCD displays frequency or channel, the radio is on.
- Turn VOL anti-clockwise to switch off the radio, the radio is OFF when hear Ka Ta from the switch.
- Volume Control
When the radio is turned on, turn VOL clockwise will increase the volume, turn VOL anti-clockwise will reduce the volume. The LCD displays VOL: XX (XX stands for the volume level, total 1-36 levels).
Note: Adjust the volume during communication to get suitable level. - RF Power Control
When the radio is transmitting, turn PWR outer shaft to adjust power. Turn it clockwise to increase power, anti-clockwise to reduce power. - RF Gain Control
When the radio is receiving, turn RFG inner shaft to adjust RF gain. Turn it clockwise to increase gain, anti-clockwise to reduce gain. - SQUELCH Control
When the radio is standby, turn SQ outter shaft clockwise to adjust squelch level. The LCD displays SQ: XX. (XX stands for the squelch level, total 1-36 levels). - SSB Clarifier control
When the radio is transmitting or receiving, turn CLAR inner shaft to adjust USB/LSB TX or RX frequency. Turn it clockwise to increase frequency, anti-clockwise to reduce frequency. - Channel Selection
When radio is in channel mode, turn channel knob to select desired channel. Clockwise to increase, anti-clockwise to reduce channel.
Note: In channel display mode, each press【PUSH】key will increase the frequency by 10 times of channel step size. - Frequency control
- In frequency mode, press【PUSH】key, then you can adjust frequency for present channel.
- When the frequency is flashing, turn CH clockwise to increase frequency, anti-clockwise to reduce frequency.
- When the frequency is flashing, press【PUSH】again to adjust frequency step size.
KEYPAD FUNCTION
- 【MENU+MODE】
Press【MENU】and【MODE】together to enter weather channel mode. - 【FRQ/REP】
Short press【FRQ】to switch between frequency display mode and channel display mode.Offset Direction Function- Long press【FRQ】for 2 seconds to enter offset direction function, LCD displays “REP”;
- Press【PUSH】to select offset, turn channel switch to select;
- REPOF: Turn off offset direction function;
- REP+: Turn on offset direction function, TX frequency>RX frequency;
- REP-: Turn on offset direction function, RX frequency>TX frequency;
- Press【PUSH】to store and exit.
- 【BAND/TONE】
- Band Selection Function
Short press【BAND】to choose band A-B-C-D-E-F-G-H-I. - Echo Function
- Long press【BAND】for 2 seconds to enter ECHO function, LCD displays “ECHO”;
- Long press【BAND】for 2 seconds to turn off ECHO function.
- Band Selection Function
- 【MENU】
- Modulation Mode
Short press【MODE】to choose mode FM-AM-USB-LSB-PA. - CTCSS/DCS Function
- Long press【MODE】for 2 seconds to enter CTCSS/DCS function, LCD displays “CTCSS” or “DCS”;
- Press【PUSH】to set CTCSS/DCS, turn channel switch to select CTCSS/DCS, then Press【PUSH】to store and exit.
- OFF: Turn off CTCSS/DCS function;
- CTCSS: 67.0~250.3Hz, Total 38 groups;
- DCS: D023N~D754N, Total 104 groups;
Note: This function is available only when install Optional CTCSS board.
- Modulation Mode
- 【DW/+10K】
Dual-Watch function- Short press【DW】to turn on Dual watch, LCD displays “DW”;
- Short press【DW】again or press PTT to exit DW mode;
Frequency+10KHz function - Long press【DW】for 2 seconds to turn on frequency +10KHz function, LCD
displays “10K”; - Long press【DW】for 2 seconds again to turn off frequency +10KHz function.
- 【RB/BEEP】
- RB function
- Short press【RB】to turn on RB function, LCD displays “RB”;
- Press【PUSH】to select RB frequency, turn on channel switch to select.
OFF~5, total 6 groups.
OFF: Turn off RB function; - Press 【PUSH】 to store and exit.
- BEEP Voice Prompt function
- Long press【RB】for 2 seconds to enter BEEP voice prompt function, LCD displays “RB”;
- Long press【RB】for 2 seconds again to turn off BEEP voice prompt function.
- RB function
- NB/HCUT】
- NB function
- Short press【NB】to enter NB function, LCD displays “NB”;
- Short press【NB】again to turn off NB function.
- HI-CUT function
- Long press【NB】for 2 seconds to enter HI-CUT function, LCD displays “HIC”;
- Long press【NB】for 2 seconds again to turn off HI-CUT function
- NB function
- 【SCAN/SKP】
- Scan function
- Short press【SCAN】to enter scan function, LCD displays “SC”;
- In scan mode, Turn channel switch will change scan direction.
- Short press【SCAN】again to exit.
- Add/delete scan list function
- Long press【SCAN】for 2 seconds to add or delete the current channel from scan list;
- When LCD displays “●”, current channel is not added to scan list; When LCD does not display “●”, current channel is added to scan list.
- Scan function
- 【MEM/STOR】
- Using memory channel:
- Short press【MEM】to enter memory channel, turn channel switch to choose memory channel. M1-M6, Total 6 memory channels.
- Short press【MEM】again to exit memory channel mode.
- Store/Delete memory channel:
- Store memory channel
When the radio is not in memory channel mode, choose the channel to be stored, and hold【MEM】enter storage mode, the channel number flashes, Turn Channel switch to choose the location to be stored (M1-M6), then hold【MEM】
until the flashing channel number disappear, the storage is done. - Delete memory channel
In channel mode, hold【MEM】for over 2 seconds, the memory channel number flashes, turn the CH switch to choose the memory to be deleted. Then hold【MEM】until the flashing channel number disappea,r the delete is done.
- Store memory channel
- Using memory channel:
- 【EMG/LOCK】
- Choose EMG channel:
Short press【EMG】to use Emergency channel, LCD displays “EMG”.- Short press【EMG】once to choose CH9;
- Short press【EMG】again to choose CH19;
- Short press【EMG】thrice to return to last normal channel.
- Keypad Lock Function:
- Long press【EMG】to lock keys, LCD displays ” “;
- Long press【EMG】again to unlock the keys.
Note: When this function is turned on, only PTT button is valid.
- Choose EMG channel:
- Press【MENU】for 2 seconds to enter menu list;
- Turn Channel switch to select menu No.1 to No.10;
- Press【PUSH】to enter the menu setup;
- Turn channel switch to select wanted setup;
- Press any other key or wait 5 seconds, the setting will be stored and exit.


SPECIFICATIONS
| GENERAL | |
| Frequency Range | 28.000-29.700MHz(Programmable) |
| Frequency Band | A/B/C/D/E/F/G/H/I |
| Channel | 40channels(programmable)in each band |
| Frequency Control | Phase-Locked-Loop Synthesizer |
| Frequency Step | 100Hz、1KHz、10KHz、100KHz、1MHz |
| Frequency Tolerance | ±5.00ppm |
| Temperature Range | -20℃ to +50℃ |
| Microphone | with push-to-talk /UP/DN and coiled cord |
| Input Voltage | 13.8V |
| Dimensions (in mm) | 283(L)x200(W)x60(H) |
| Weight | 1.75kg |
| Antenna Connector | UHF, SO239 |
| TRANSMITTER | |
| Power Output | AM PEP: 60W / FM: 50W / SSB: 60W(PEP) |
| Drain | 10A(with modulation) |
| Modulation | AM/FM/USB/LSB |
| Inter-modulation Distortion | SSB: 3rd order, more than -25dB; 5th order, more than -35dB |
| SSB Carrier Suppression | 55dB |
| Unwanted Sideband | 50dB |
| Frequency Response | AM/FM: 300 to 3000Hz SSB: 450 to 2500Hz |
| Output Impedance | 50ohms, unbalanced |
| RECEIVER | |
|
Sensitivity | SSB: 0.25μV for 10dB(S+N)/N at greater than 1/2-watt of audio output AM:1.0μV for 10dB(S+N)/N at greater than 1/2watt of audio output FM: 1.0μV for 20 dB (S+N)/N at greater than 1/2 watt of audio output |
| Adjacent-Channel Selectivity | AM/FM: 60dB SSB: 70dB |
| Image Rejection | More than 65dB |
| IF Frequency | AM/FM: 10.695MHz 1st IF, 455KHz 2nd IF SSB: 10.695MHz |
| RF Gain Control | 45dB adjustable for optimum signal reception |
| Automatic Gain Control(AGC) | Less than 10dB change in audio output for inputs from 10 to 100,000 microvolt. |
| Squelch | Adjustable; threshold less than 1.0μV. Automatic Squelch Control(only AM/FM)1.0μV |
| Audio Output Power | 3 watts into 8 ohms |
| Frequency Response | AM/FM: 300 to 3000Hz SSB: 450 to 2500Hz |
| Built-in Speaker | 8 ohms, round. |
| External Speaker(Not Supplied) | 8 ohms; disables internal speaker when connected. |
| WX channels | |
| WX-01 | 162.550MHz |
| WX-02 | 162.400MHz |
| WX-03 | 162.475MHz |
| WX-04 | 162.425MHz |
| WX-05 | 162.450MHz |
| WX-06 | 162.500MHz |
| WX-07 | 162.525MHz |
FCC Statment
Any Changes or modifications not expressly approved by the party responsible for complia nee could void the user’s authority to operate the equipment.
This device complies with part 15 of the FCC Rules. Operation is subject to the following two conditions:
- This device may not cause harmful interference,and
- this device must accept any interference received, including interference that may cause undesired operation.
Note: This equipment has been tested and found to comply with the limits for a Class B digital device, pursuant to part 15 of the FCC Rules. These limits are designed to provide reasonable protectionagainst harmful interference in a residential installation. This equipment generates, uses and can radiate radio frequency energy and, if not installed and used in accordance with the instructions, may cause harmful interference to radio communications. However, there is no guarantee that interference will not occur in a particular installation. If this equipment does cause harmful interference to radio or television reception, which can be determined by turning the equipment off and on, the user is encouraged to try to correct the interference by one or more of the following measures:
- Reorient or relocate the receiving antenna.
- Increase the separation between the equipment and receiver.
- Connect the equipment into an outlet o.n a circuit different from that to which the receiver is connected.
- Consult the dealer or an experienced radio/Tv technician for help.


































