AnyTone ARES II SSB Radio

Product Information
- Product Name: ARES II CB Radio
- Manufacturer: Qixiang Electron Science & Technology Co.,Ltd.
- Website: www.anytone.net
- Model Number: A2.230222
WARNING: MODIFICATION OF THIS DEVICE TO RECEIVE CELLULAR RADIOTELEPHONE SERVICE SIGNALS IS PROHIBITED UNDER FCC RULES AND FEDERAL LAW.
FUNCTIONS & FEATURES
- PA/FM/AM/USB/LSB mode
- Weather Channel 150-170MHz programmable(Optional)
- CTCSS/DCS Code
- PWR, RX RSSI S-Meter
- PC programmable
- Echo Function
- SQ, ASQ Function
- RF Gain Adjustment
- Mike Gain Adjustment
- RF PWR Adjustment
- Programmable RB
- NB/ANL Function
- Offset Function
- Beep Voice Prompt
- +10KHz Function
- TOT Function
- HI-CUT Function
- Busy channel lock
- Monitor
- LED Brightness Adjustment
- SWR Protection
- Voltage Protection
- VOX Function
- RX noise reduction
- TX noise reduction
- NPC function
- SCAN function
STANDARD ACCESSORIES

OPTIONAL ACCESSORIES

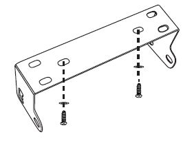
INSTALLATION
Choose the most appropriate setting from a simple and practical point of view. Your radio should not interfere with the driver or crash the driver’s knee or leg when rush brake.

- Using the self-tapping screws and pads(2 sets) to fix the bracket.
- Put the Non-slip mat on the 2 ends of the bracket and put in the radio. Then insert the adjusting screws and check carefully each screw, making sure the screws and machine will not loose when the car shakes.
- Choose a suitable angle by the 3 screw holes in the two ends of the bracket.

Microphone connection
- Plug the microphone connector into the jack.
- Pull on the screw for the microphone connector.

ANTENNA INSTALLATION POWER
Before using this radio, please install a high efficient and harmonious adjusted CB antenna, suitable antenna type and correct installation will bring excellent communication.
To match with the radio, the antenna, and cable shall with a characteristic impedance of 50ohm, or the antenna system will not be efficient enough and will disturb TV, radio or other electronics.
- Screw the antenna connector into the antenna jack.
- Grounding the antenna system to ensure the best performance of this radio.
WARNING
- Connect the antenna first before transmitting, or it might damage the radio.
- To avoid the risk of fire, electric shock, and radio damage, all base stations shall equip with a lightning protector
- Be sure to choose a matching antenna, you may inquiry our dealers.
- The position of the antenna can be put as the following example:

POWER CONNECTION
This radio adopts a 13.8V power supply, never connect it to a 24V battery, And the 13.8V car battery shall with sufficient current, or the LCD will become dark and Transmit power will drop down.
- Connect the positive red power cable with the + terminal of the battery.
- Connect the negative black power cable with the – terminal of the battery.
- Connect the DC power cable to the transceiver’s power supply connector.
- We suggest not using a cigar lighter as it often bring down the voltage.
- Locate the power cable away from high temperature, moisture, portfire, and cable insulator.
- Use a full power cable even it is longer than needed, do not take off the fuse holder from the cable.

Replacing Fuse
This radio adopts a 10A, 250V fuse. If the fuse blows, determine the reason, then correct the problem. After the problem is resolved, replace the fuse. If newly installed fuses continue to blow, disconnect the power cable and contact your authorized dealer or an authorized service center:
- Pull the two fuse cover in a different direction and open it.

- Replace the broken fuse with a good one, and close the fuse holder.
- Be sure to use the suggested fuse, or it might damage the radio.

GETTING ACQUAINTED
Front Panel

No. Functions
- S-Meter
- Control NB/ANL function on/off
- NRC function on/off /set
- Control Monitor/10K on/off
- ECHO function on/off /set
- Choose H and L, band group
- TX/RX indicator
- Channel display
- Mike connector
- Power on/off volume level control
- Squelch level control
- SSB frequency FINE function
- Control RF gain level
- Choose PA/FM/AM/USB/LSB mode
- Choose working band
- Control Mike’s gain level
- Control power level
- Channel Switch
- External SP Jack

- PC programming port
- External PA Jack
- Antenna Jack
- Power Supply Jack
Microphone

HOW TO USE YOUR RADIO
OFF/ON Radio
- Turn VOL clockwise to switch on the radio, the radio emits a beep. When the LED displays the frequency or channel, the radio is on.
- Turn VOL anti-clockwise to switch off the radio, the radio is OFF when hear Ka Ta from the switch.
Volume Control
When the radio is turned on, turn VOL clockwise will increase the volume, turn VOL anti-clockwise will reduce the volume.
Note: Adjust the volume during communication to get a suitable level.
Squelch Control
When the radio is on standby, turn SQ outer shaft clockwise to adjust the squelch level.
Mic Gain Control
When the radio is transmitting, turn MIG inner shaft to adjust the Mic gain. Turn it clockwise to increase gain, and anti-clockwise to reduce the gain.
RF Gain Control
When the radio is receiving, turn RFG outer shaft to adjust RF gain. Turn it clockwise to increase gain, and anti-clockwise to reduce gain.
RF POWER Concentric
Valid for AM and FM mode only. Reducing the power for communication with a radio without RF gain, a default set to maximum for normal use.
Scan Function CB Channels Scan (long press 7 seconds)
- In CB mode, press and hold the [UP/DN] keys in the microphone for 7 seconds until hear a beep sound, the CB scan function starts.
The dot between the two channel digits flashes to indicate that the scanning is active. - Rotary channel switch or [UP/DN] keys in the microphone to change scan direction.
- short press [PTT] to exit the scan.
WX Channels Scan (long press 3 seconds)
- In WX mode, press and hold the [UP/DN] keys in the microphone for 3 seconds until hear a beep sounds to start the WX scan function.
The dot between the two channel digits flashes to indicate that the scanning is active. - Rotary channel switch or [UP/DN] keys in the microphone to change scan direction.
- Short press [PTT] to exit the scan.
Working Mode Control
Turn the mode switch to choose PA/FM/AM/USB/LSB mode.
Working Band Control
Turn the band switch to choose the A/B/C/D/E/F band.
Channel Selection
Turn the channel knob to select the desired channel.
Clockwise to increase, anti-clockwise to reduce channel.
SLIDE SWITCH

- Press the [UP] key of the microphone to enter the radio function menu.
- Rotate the channel switch or press the [UP/DN] key of the microphone to select the menu function options.
- Press the [PTT] key of the microphone to enter the menu setting.
- Rotate the channel switch to select the desired setting.
- Turn off to save and exit the function settings.

ERROR CODE
When the RX/TX indicator light on yellow, the LED displays a code, which means the radio meets the problem.
- E1: Voltage too low
- E2: Voltage too high
- E3: WX function invalid
- E4: Current BAND invalid
- E5: TX SWR too high
SPECIFICATIONS
GENERAL
- Frequency Range: 28.000-29.695MHz(Programmable)
- Frequency Band: L band: A/B/C/D/E/F H band: A/B/C/D/E/F
- Channel: 40channels(programmable)in each band
- Frequency Control: Phase-Locked-Loop Synthesizer
- Frequency Tolerance: ± 5.0 ppm
- Temperature Range: -20℃to +50℃
- Microphone: with push-to-talk /UP/DN and coiled cord
- Input Voltage: 13.8V
- Dimensions (in mm): 287(L)x200(W)x61(H)
- Weight:1.5kg
- Antenna Connector: UHF, SO239
TRANSMITTER
- Power Output: AM:1-12W(adjustable) FM:1-40W(adjustable) USB/LSB:1-35W(adjustable)
- Drain: 8A(with modulation)
- Modulation: FM/AM/SSB
- Inter-modulation Distortion: SSB: 3rd order, more than -25dB; 5th order, more than -35dB
- SSB Carrier Suppression: 55dB
- Unwanted Sideband: 50dB
- Frequency Response: AM/FM: 450 to 2500Hz
- Output Impedance: 50ohms, unbalanced
RECEPTION

Note: Specifications are subject to change without notice due to advancements in technology.
FCC Compliance Statements
This device complies with part 15 of the FCC Rules. Operation is subject to the following two conditions:
- This device may not cause harmful interference, and
- this device must accept any interference received, including interference that may cause undesired operation.
This equipment has been tested and found to comply with the limits for a Class B digital device, pursuant to part 15 of the FCC Rules. These limits are designed to provide reasonable protection against harmful interference in a residential installation. This equipment generates, uses and can radiate radio frequency energy and, if not installed and used in accordance with the instructions, may cause harmful interference to radio communications. However, there is no guarantee that interference will not occur in a particular installation. If this equipment does cause harmful interference to radio or television reception, which can be determined by turning the equipment off and on, the user is encouraged to try to correct the interference by one or more of the following measures:
- Reorient or relocate the receiving antenna.
- Increase the separation between the equipment and the receiver.
- Connect the equipment to an outlet on a circuit different from that to which the receiver is connected.
- Consult the dealer or an experienced radio/TV technician for help.





















