AnyTone Ares II High Power 10 Meter CB Radio Instruction Manual
FUNCTIONS & FEATURES
- PA/FM/AM/USB/LSB mode
- Weather Channel 150-170MHz programmable(Optional)
- CTCSS/DCS Code(Optional)
- PWR, RX RSSI S-Meter
- PC programmable
- Echo Function
- SQ, ASQ Function
- RF Gain Adjustment
- Mike Gain Adjustment
- H/L power
- Programmable RB
- NB/ANL Function
- Offset Function
- Beep Voice Prompt
- +10KHz Function
- TOT Function
- HI-CUT Function
- Busy channel lock
- Monitor
- LED Brightness Adjustment
- SWR Protection
- Voltage Protection
- VOX Function
- RX noise reduction
- TX noise reduction
STANDARD ACCESSORIES
- Radio

- Microphone

- Mounting Bracket

- Microphone Hanger

- Non-slip Mat

- DC Power Cable

- Screws for bracket

- Pads for bracket

- Adjusting screws

- Spare Fuses (10A,250V)

- Self-tapping Screws

- Pads

OPTIONAL ACCESSORIE
- USB Programming Cable

- External Speaker

INSTALLLATON
Choose the most appropriate setting from a simple and practical point of view. Your radio should not interfere with the driver or crash the driver’s knee or leg when rush brake.
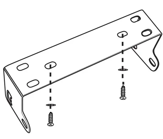
- Using the self-tapping screws and pads(2 sets) to fix the bracket.
- Put the Non-slip mat on the 2 ends of the bracket and put in the radio. Then insert the adjusting screws and check careful each screws, make sure the screws and machine will not loose when the car shaking.
- Choose suitable angle by the 3 screw holes in the two ends of bracket.

Microphone connection
- Plug microphone connector into jack.
- Pull on the screw for microphone connector.

ANTENNA INSTALLATION
Before using this radio, please install a high efficent and harmonious adjusted CB antenna, suitable antenna type and correct installation will bring excellent communication.
To match with the radio, the antenna and cable shall with characteristic impedance of 50ohm, or the antenna system will not efficient enough and will disturb TV, radio or other electronics.
- Screw the antenna connector into the antenna jack.
- Grounding the antenna system to ensure best performance of this radio.

WARNING:- Connect antenna firstly before transmiting, or it might damage the radio.
- To avoid the risk of fire, electric shock, radio damage, all base station shall equip of lightning protector
- Be sure choose a matching antenna, you may enquiry our dealers.
- The position of antenna can be put as following example:

POWER CONNECTION
This radio adopt 13.8V power supply, never connect it to 24V battery, And the 13.8V car battery shall with sufficient current, or the LCD will become dark and Transmit power will drop down.
- Connect positive red power cable with the + terminal of the battery.
- Connect negative black power cable with the – terminal of the battery.
- Connect the DC power cable to the transceiver’s power supply connector.
- We suggest not use cigar lighter as it often bring down the voltage.
- Locate the power cable away from high temperature, moisture, portfire and cable insulator.
- Use a full power cable even it is longer than need, do not take off the fuse holder from the cable.

Replacing Fuse
This radio adopt 10A, 250V fuse.
If the fuse blows, determine the reason, then correct the problem.
After the problem is resolved, replace the fuse. If newly installed fuses continue to blow, disconnect the power cable and contact your autho-rized dealer or an authorized servicecenter:
- Pull the two fuse cover in difference direction and open it.

- Replace the broke fuse with good one, and close the fuse holder.
- Be sure to use suggested fuse, or it might damage the radio.

Install Microphone Hanger
Choose a ideal location which will not interfere the driver. Using supplied self-tapping screws and pads(2 sets) to fix the hanger.
Install External Speaker
If use an external speaker, please choose 8ohm speaker with 3.50mm mono band
(doulbe cable) plug.
- Locate the external speaker in a suitable place.
- Plug into the speaker jack.

GETTING ACQUAINTED
Front Panel
| No. | Functions |
| 1 | S-Meter |
| 2 | Control NB/ANL function on/off |
| 3 | Control power level |
| 4 | Control Monitor/10K on/off |
| 5 | Control LED brightness |
| 6 | Choose H and L band group |
| 7 | TX/RX indicator |
| 8 | Channnel display |
| 9 | Mike connector |
| 10 | Power on/off volume level control |
| 11 | Squelch level control |
| 12 | Control Mike gain level |
| 13 | Control RF gain level |
| 14 | Choose PA/FM/AM/USB/LSB mode |
| 15 | Choose working band |
| 16 | SSB frequency FINE function |
| 17 | SSB frequency COARSE function |
| 18 | Channel Switch |
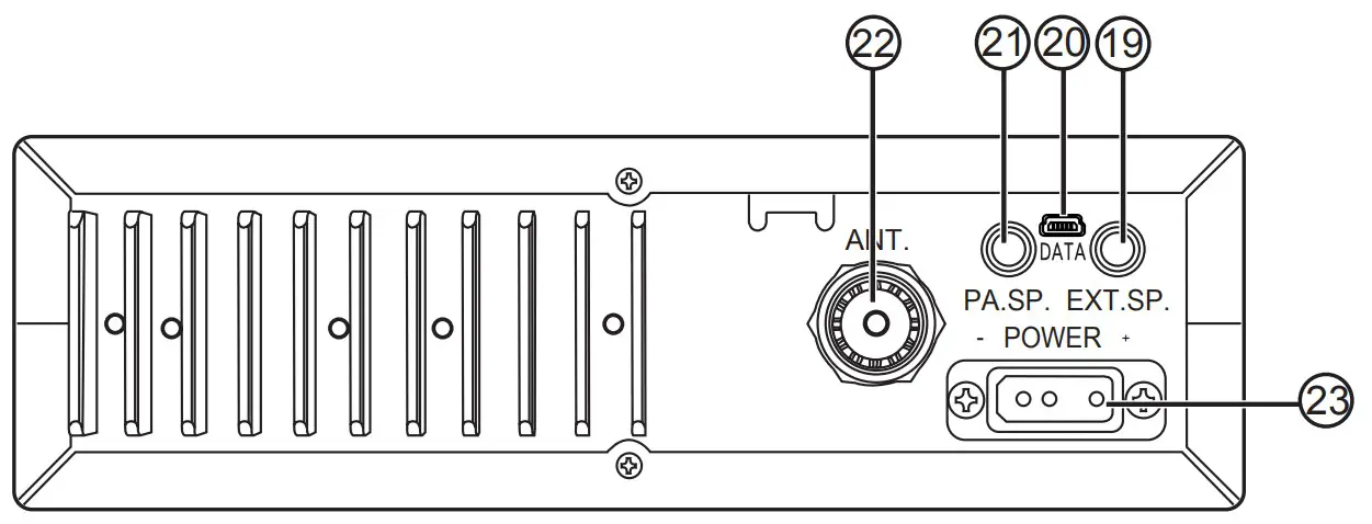
Rear Panel
| No. | Functions |
| 19 | External SP Jack |
| 20 | PC programming port |
| 21 | External PA Jack |
| 22 | Antenna Jack |
| 23 | Power Supply Jack |
Microphone
HOW TO USE YOUR RADIO
OFF/ON Radio
- Turn VOL clockwise to switch on the radio, the radio emit a beep. When the LED displays frequency or channel, the radio is on.
- Turn VOL anti-clockwise to switch off the radio, the radio is OFF when hear Ka Ta from the switch.
Volume Control
When the radio is turned on, turn VOL clockwise will increase the volume, turn VOL anti-clockwise will reduce the volume.
Note: Adjust the volume during communication to get suitable level.
Squelch Control
When the radio is standby, turn SQ outter shaft clockwise to adjust squelch level.
Mic Gain Control
When the radio is transmiting, turn MIG inner shaft to adjust Mic gain. Turn it clockwise to increase gain, anti-clockwise to reduce gain.
RF Gain Control
When the radio is receiving, turn RFG outter shaft to adjust RF gain. Turn it clockwise to increase gain, anti-clockwise to reduce gain.
Working mode Control
Turn the mode switch to choose PA/FM/AM/USB/LSB mode
Working Band Control
Turn the band switch to choose A/B/C/D/E/F band.
Channel Selection
Turn the channel knob to select desired channel.
Clockwise to increase, anti-clockwise to reduce channel.
SLIDE SWTICH
| No. | Function | Position | Description |
| 1 | NB/ANL | ![]() | Trun on NB and ANL function |
![]() | Turn on ANL fucntion | ||
![]() | Turn off NB/ANL fucntion | ||
| 2 | RF Power | ![]() | Set on high RF power AM: 12W FM: 12W |
![]() | Set on super RF power AM: 12W FM: 40W | ||
![]() | Set on low RF power AM: 4W FM: 4W | ||
| 3 | MON+ 10K | ![]() | Turn on MON, 32 levels available by programming |
![]() | No function | ||
![]() | Turn on +10KHz function | ||
| 4 | DIM | ![]() | LED brightness is high level |
![]() | LED brightness is middle level | ||
![]() | LED brightness is low level | ||
| 5 | BAND | ![]() | Choose higher frequency band group |
![]() | Choose lower frequency band group | ||
![]() | Turn on Weather channel function(Optional) |
- Press the [UP] key of the microphone to enter into the radio function menu.
- Rotate the channel switch or press the [UP/DN] key of the microphone to select the menu function options.
- Press the [PTT] key of the microphone to enter into the menu setting.
- Rotate the channel switch to select the desired setting.
- Turn off to save and exit the function settings.
| No. | Function | LCD Display | Description |
| 1 | VOX sensitivity level setting | ![]() | total have oF, 01-09 levels for choose , oF closes the VOX function Default: oF |
| 2 | VOX delay time setting | ![]() | total have 01-09 levels for choose Default: 03 |
| 3 | RX noise reduction function setting | ![]() | There are oF and 01-05 levels to choose from, oF closes the RX noise reduction function Default: oF |
| 4 | TX noise reduction function setting | ![]() | There are oF, 01-05 levels to choose from, oF closes the TX noise reduction functionDefault: oF |
| 5 | MIC type selection | ![]() | EL: electronic microphone DY: dynamic microphone Default: EL |
| 6 | ECHO function selection | ![]() | oF: turn off ECHO functionon: open turn off ECHO function Defaukt: oF |
| 7 | Echo volume | ![]() | 01~32: Total 32 Levels for echo volume. Default:19 |
| 8 | Echo delay | ![]() | 01~32: Total 32 Levels for echo delay time set. Default:19 |
| 9 | FINE function setting | ![]() | oF: turn off the frequency FINE function r: turn on RX frequency FINE function t: turn on TX frequency FINE functionrt: turn on RX/TX frequency FINE function at the same time Default: rt(frequency range ±300Hz) |
| 10 | COARSEfunction setting | ![]() | oF: turn off the frequency COARSE function r: turn on RX frequency COARSE function t: turn on TX frequency COARSE functionrt: turn on RX/TX frequency COARSE function at the same time Default: rt(frequency range ±3KHz) |
| 11 | Reset Function | ![]() | Turn NB/ANL switch to OFF, all functions setup reset to factory default, except the channel setting. Turn NB/ANL switch to NB/ANL, all channel setting and all functions setup reset to factory default. |
ERROR CODE
When the RX/TX indicator light on yellow, LED displays code, means the radio meet problem.
E1: Voltage too low
E2: Voltage too high
E3: WX function invalid
E4: Current BAND invalid
E5: TX SWR too high
SPECIFICATIONS
| GENERAL | |
| Frequency Range | 28.000-29.695MHz(Programmable) |
| Frequency Band | L band: A/B/C/D/E/F H band : A/B/C/D/E/F |
| Channel | 40channels(programmable)in each band |
| Frequency Control | Phase-Locked-Loop Synthesizer |
| Frequency Tolerance | ± 5.0 ppm |
| Temperature Range | -20℃to +50℃ |
| Microphone | with push-to-talk /UP/DN and coiled cord |
| Input Voltage | 13.8V |
| Dimensions (in mm) | 287(L)x200(W)x61(H) |
| Weight | 1.5kg |
| Antenna Connector | UHF, SO239 |
| TRANSMITTER | |
| Power Output | AM: 4W/12WFM: 4W/12W/40W SSB: 4W/35W |
| Drain | 8A(with modulation) |
| Modulation | FM/AM/SSB |
| Inter-modulation Distortion | SSB: 3rd order, more than -25dB; 5th order, more than -35dB |
| SSB Carrier Suppression | 55dB |
| Unwanted Sideband | 50dB |
| Frequency Response | AM/FM: 450 to 2500Hz |
| Output Impedance | 50ohms, unbalanced |
| RECEPTION | |
| Sensitivity | AM:1.0μV for 10 dB(S+N)/N at greater than 1/2wattof audio output.FM: 1.0 μV for 20 dB (S+N)/N at greater than 1/2watt of audio output.SSB: 0.25μV for 10dB(S+N)/N at greater than 1/2-watt of audio output. |
| Selectivity | AM/FM:6dB@3KHz,50dB @9KHzSSB: 6 [email protected],60dB @3.3KHz |
| Adjacent-Channel Selectivity | 60dB AM/FM &70 dB SSB |
| Image Rejection | More than 65dB |
| IF Frequency | AM/FM: 10.695 MHz 1st IF, 455 KHz 2nd IF SSB: 10.695 MHz |
| RF Gain Control | 45dB adjustable for optimum signal reception |
| Automatic Gain Control(AGC) | Less than 10dB change in audio output for inputs from 10 to 100,000 microvolt |
| Squelch | Adjustable; threshold less than 0.5 μV. Automatic Squelch Control(only AM/FM)0.5 μV |
| ANL | Switchable |
| Noise Blanker | RF type, effective on AM/FM and SSB |
| Audio Output Power | 3 watts into 8 ohms |
| Frequency Response | AM/FM: 300 to 2800Hz |
| Built-in Speaker | 8 ohms, round |
| External Speaker(Not Supplied) | 8 ohms, disables internal speaker when connected |
Note: Specifications are subject to change without notice due to advancements in technology.






















































