AnyTone AT-5555N II 10 Meter Radio

FUNCTIONS & FEATURES
- Big LCD displays frequency and all kinds of information
- FM, AM, USB, LSB, PA mode
- Frequency Tuning Step 1 00Hz, 1 KHz, 10KHz, 100KHz, 1 MHz
- ±1.SKHz CLARLFILER Adjustment
- Flexible Menu Function and PC Program Software
- ECHO Function
- SQ, ASQ Function (FM and AM mode only)
- RF GAIN Adjustment
- RF PWR Adjustment
- SCAN Function
- Programmable RB Fum:;uon
- NB/ANL Function
- OW DUAL-WATCH Functional
- Offset Frequency Function
- BEEP Voice Prompt
- +10KHZ Function
- SIG, PWR, SWR Function
- TOT function
- HI-CUT Function
- EMG Channel Function
- SWR Protection
- Power Supply Voltage Protection
- Key-Lock Function
- Six(6) Groups Memory Channel
- Model Name Customized Function
- CTCSS/DCS Code
- VOX Function
- TX and RX Noise Reduction
- Compatible with electronic and dynamic MIC type
- WX weather channel
- Weather Alert
STANDARD ACCESSORIES
INSTALLATION
Choose the most appropriate setting from a simple and practical point of view. Your radio should not interfere with the driver or crash the driver’s knee or leg when rush brake.
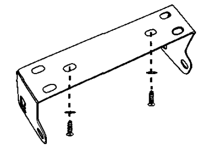
- Using the self-tapping screws and pads(2 sets) to fix the bracket.
- Put the Non-slip mat on the 2 ends of the bracket and put in the radio. Then insert the adjusting screws and check carefully each screw, to make sure the screws and machine will not lose when the car shakes.
- Choose a suitable angle by the 3 screw holes in the two ends of bracket.

Microphone connection
- Plug microphone connector into jack.
- Pull on the screw for the microphone connector.

ANTENNA INSTALLATION
Before using this radio, please install a high efficient and harmonious adjusted CB antenna, suitable antenna type and correct installation will bring excellent communication.
To match with the radio, the antenna, and cable shall with a characteristic impedance of 50ohm, or the antenna system will not be efficient enough and will disturb TV, radio or other electronics.
- Screw the antenna connector into the antenna jack.
- Grounding the antenna system to ensure the best performance of this radio.

WARNING:- Connect the antenna first before transmitting, or it might damage the radio.
- To avoid the risk of fire, electric shock, and radio damage, all base stations shall equip of lightning protector
- Be sure to choose a matching antenna, you may inquiry our dealers.
- The position of the antenna can be put as the following example:

POWER CONNECTION
This radio adopts 13.BV power supply, never connects it to 24V battery, And the 13.BV car battery shall with sufficient current, or the LCD will become dark and Transmit power will drop down.
- Connect the positive red power cable with the + terminal of the battery.
- Connect the negative black power cable with the – terminal of the battery.
- Connect the DC power cable to the transceiver’s power supply connector.
- We suggest not use cigar lighter as it often bring down the voltage.
- Locate the power cable away from high temperature, moisture, portfire and cable insulator.
- Use a full power cable even it is longer than need, do not take off the fuse holder from the cable.

Replacing Fuse
This radio adopt 15A, 250V fuse.
If the fuse blows, determine the reason, then correct the problem.
After the problem is resolved, replace the fuse. If newly installed fuses continue to blow, disconnect the power cable and contact your autho-rized dealer or an authorized servicecenter:
- Pull the two fuse cover in different direction and open it.

- Replace the broke fuse with good one, and close the fuse holder.
- Be sure to use the suggested fuse, or it might damage the radio.

Install Microphone Hanger
Choose a ideal location which will not interfere the driver. Using supplied self-tapping screws and pads(2 sets) to fix the hanger.
Install External Speaker
If use an external speaker, please choose Bohm speaker with 3.50mm monoband (doulbe cable) plug .
- Locate the external speaker in a suitable place .
- Plug into the speaker jack.

GETTING ACQUAINTED
Front Panel
| FRQ | Switch between channel mode and frequency mode, offset setup | |
| 2 | BAND | Switch band: A-I, ECHO setup |
| 3 | MENU | Function Menu key |
| 4 | MODE | Switch mode(FM, AM, USB, LSB, PA), TSQ setup |
| 5 | DW | Dual-watch scan, Frequency+10K function |
| 6 | RB | RB function, Beep voice prompt function |
| 7 | NB | NB function, HI-CUT function |
| 8 | SCAN | Scan, Scan add, Scan delete |
| 9 | MEM | Use, store or delete memory channel |
| 10 | EMG | Emergency Channel; Keypad lock. |
| 11 | PWR | RF Power Control |
| 12 | RFG | RF Gain Control |
| 13 | SQ | Squelch Control |
| 14 | CLAR | SSB Clarifier switch |
| 15 | VOL | Power On/Off; Volume Control. |
| 16 17 | CH | Channel Switch, Push key. Microphone Jack |
| 18 | LCD Display |
Rear Panel 

Microphone 
LCD Display 

HOW TO USE YOUR RADIO
- OFF/ON Radio
- Turn VOL clockwise to switch on the radio, the radio emits a beep. When the LCD displays the frequency or channel, the radio is on.
- Turn VOL anti-clockwise to switch off the radio, the radio is OFF when hear Ka Ta from the switch.
- Volume Control
When the radio is turned on, turn VOL clockwise will increase the volume, turn VOL anti-clockwise will reduce the volume. The LCD displays VOL: XX (XX stands for the volume level, total 1-36 levels).
Note: Adjust the volume during communication to get suitable level. - RF Power Control
When the radio is transmitting, turn PWR outer shaft to adjust power. Turn it clockwise to increase power, and anti-clockwise to reduce power. - RF Gain Control
When the radio is receiving, turn RFG inner shaft to adjust RF gain. Tum it clockwise to increase gain, and anti-clockwise to reduce gain. - SQUELCH Control
When the radio is on standby, turn SQ outter shaft clockwise to adjust the squelch level.
The LCD displays SQ: XX.•(XX stands for the squelch level, total 1-36 levels). - SSB Clarifier control
When the radio is transmitting or receiving, tum CLAR inner shaft adjusts USB/ LSB TX or RX frequency. Turn it clockwise to increase frequency, and anti-clockwise to reduce frequency. - Channel Selection
When radio is in channel mode, turn the channel knob to select the desired channel.
Clockwise to increase, anti-clockwise to reduce channel.
Note: In channel display mode, each press [ PUSH J key will increase the frequency by 10 times of channel step size - Frequency control
- In frequency mode, press [ PUSH ] key, then you can adjust frequency for present channel;
- When the frequency is flashing, turn CH clockwise to increase frequency, anticlockwise to reduce frequency.
- When the frequency is flashing, press [ PUSH ] again to adjust frequency step size
KEYPAD FUNCTION
- [MENU+MODE]
Press [ MENU] and [ MODE] together to enter weather channel mode. - [ FRQ/REP]
Short press [ FRQ ] to switch between frequency display mode and channel display mode.
Offset Direction Function- Long press [ FRQ] for 2 seconds to enter offset direction function, LCD displays “REP”;
- Press [ PUSH ] to select offset, turn channel switch to select;
REPOF: Turn off offset direction function;
REP+: Turn on offset direction function, TX frequency>RX frequency;
REP-: Turn on offset direction function, RX frequency>TX frequency; - Press [ PUSH ] to store and exit.
- [BANDfTONE]
Band Selection Function
Short press [ BAND ] to choose band A-B-C-D-E-F-G-H-1. Echo Function- Long press [ BAND ] for 2 seconds to enter ECHO function, LCD displays “ECHO”;
- Long press [ BAND ] for 2 seconds to turn off ECHO function.
- [MENU]
Long press [ MENU ] for 2 seconds to enter menu list. - [ MODEfTSQ ]
Modulation Mode
Short press [ MODE ] to choose mode FM-AM-USB-LSB-PA. - CTCSS/DCS Function
- Long press [ MODE] for 2 seconds to enter CTCSS/DCS setting.
- Press Push to choose turn on or off CTCSS/DCS function.
- When CTCSS/DCS is turned on, the LCD displays CTC or DCS.
- [ DW/+10K]
Dual-Watch function- Short press [ DW] to turn on Dual watch, LCD displays “DW”;
- Short press [ DW ] again or press PTT to exit OW mode;
- Frequency+1 0KHz function
- Long press [ DW] for 2 seconds to turn on frequency +10KHz function, LCD displays “10K”;
- Long press [ DW] for 2 seconds again to turn off frequency +10KHz function.
- [RB/BEEP]
RB function- Short press [RB] to turn on RB function, LCD displays “RB”;
- Press [ PUSH ] to select RB frequency, turn on channel switch to select.
OFF-5, total 6 groups.
OFF: Turn off RB function; - Press [ PUSH ] to store and exit.
- BEEP Voice Prompt function
- Long press [RB] for 2 seconds to enter BEEP voice prompt function, LCD displays “RB”;
- Long press [ RB ] for 2 seconds again to turn off BEEP voice prompt function.
- [ NB/HCUT]
NB function- Short press [NB] to enter NB function, LCD displays “NB”;
- Short press [ NB ] again to turn off NB function.
- HI-CUT function
- Long press [NB] for 2 seconds to enter HI-CUT function, LCD displays “HIC”;
- Long press [ NB ] for 2 seconds again to turn off HI-CUT function
- [ SCAN/SKP ]
Scan function- Short press [ SCAN ] to enter scan function, LCD displays “SC”
- In scan mode, Turn channel switch will change scan direction.
- Short press [ SCAN ] again to exit.
- Add/delete scan list function
- Long press [ SCAN ] for 2 seconds to add or delete the current channel from scan list;
- When LCD displays “•”, current channel is not added to scan list; When LCD does not display”•”, current channel is added to scan list.
- [ MEM/STOR ]
Using memory channel:- Short press [ MEM ] to enter memory channel, turn channel switch to choose memory channel. M1-M6, Total 6 memory channels.
- Short press [ MEM ] again to exit memory channel mode.
- Store/Delete memory channel:
- Store memory channel
When the radio is not in memory channel mode, choose the channel to be stored, and hold [ MEM ] enter storage mode, the channel number flashes, Turn Channel switch to choose the location to be stored (M1-M6), then hold [ MEM] until the flashing channel number disappear, the storage is done. - Delete memory channel
In channel mode, hold [ MEM] for over 2 seconds, the memory channel number flashes, turn the CH switch to choose the memory to be deleted. Thenhold [ MEM ] until the flashing channel number disappear, the delete is done.
- Store memory channel
- [ EMG/LOCK]
Choose EMG channel:
Short press [ EMG ] to use Emergency channel, LCD displays “EMG”.- Short press [ EMG ] once to choose CH9;
- Short press [ EMG] again to choose CH19;
- Short press [ EMG ] thrice to return to last normal channel.
- Keypad Lock Function:
- Long press [ EMG] to lock keys, LCD displays”
- Long press [ EMG ] again to unlock the keys.
Note: When this function is turned on, only PTT button is valid.
BACKGROUND FUNCTION MENU OPERATION
- Press [ MENU ] for 2 seconds to enter menu list;
- Turn Channel switch to select menu list;
- Press [ PUSH ] to enter the menu setup;
- Turn channel switch to select wanted setup;
- Press any other key or wait 5 seconds, the setting will be stored and exit




SPECIFICATIONS



CTCSS/DCS CHART
38 SETS ANALOG FRQ LIST(CTCSS) 
104 SETS DIGITAL FRQ LIST(DCS) 
Qixiang Electron Science & Technology Co.,Ltd. www.anytone.net

































