INSTALLATION INSTRUCTION
MU0029

Safety Caution
Please read this instruction carefully before installation.
If you do not understand these instructions or have doubts about the safety of the installation, assembly or use of this product, please contact us.
- This product is designed for use in wood studs and solid concrete wall.
– DO NOT install into drywall alone. - The wall must be capable of supporting five times the weight of the TV and mount combined.
- Do not apply this product to any purpose not indicated by MOUNTUP.
- Incorrect installation may result in product damage or bodily injury. MOUNTUP shall bear no responsibility
for any damage or injury resulted from incorrect installation, incorrect assembly, or misuse.
WARNING: This product contains small items that could be a choking hazard if swallowed. Before starting assembly, verify all parts are included and undamaged. For parts shortage or damage, please contact us.
Must Check Before Getting Started

Installation Tools (Not Included)

Hardware Included


Step 1-1 Select TV screw diameter
Thread screws by hand into the threaded holes on the back of your TV to select which screw diameter fits your TV.

Step 1-2 Select TV screw length
When attaching brackets to the flat screen, be careful not to over tighten screws and be sure that screws do not bottom out in the mounting holes.

Step 2 Mesure your TV pattern
Measure and note the width and the height of the square or rectangle formed from the VESA holes pattern.
75mm ≈ 3in.
100mm ≈ 4in.
150mm ≈ 6in.
200mm ≈ 8in.

Step 3-1 Select monitor plate configuration
Select the configuration A, B, or C to use based on the measurement from step 2

| VESA Patter (WxH) | Configuration |
| 75mm x 75mm | A |
| 100mm x 100mm | A |
| 150mm x 150mm | B |
| 200mm x 100mm | B |
| 200mm x 200mm | B |
| 100mm x 200mm | C |

Step 3-2 Assemble monitor plate and extenders
If your TV hole pattern is greater than 100x100mm, attach extenders [03] to monitor plate [02]using Nut [C] and Bolt [D].
Step 3-3 Attach the brackets

Step 4A Wallplate installation (wood stud)
Locate your studs. Verify and mark the center of the stud by finding the stud edges using an awl, a thin nail, or an edge-to-edge stud finder.

Position the wall plate 01 at your desired height and line up the holes with your stud centerline. Level the wall plate and mark the pilot hole locations x2.
Drill pilot holes using a 5/32 in. (4 mm) diameter drill bit.
IMPORTANT:
Pilot holes must be drilled to a depth of 2 3/4 in (70 mm). Be sure to drill into the center of the stud.

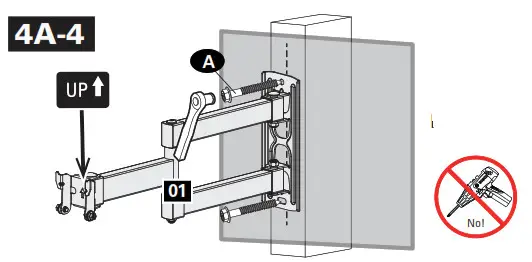
Install wall plate 01using lag bolts A with Socket Wrench, NO Electrodrill. Tighten the lag bolts A until they are pulled firmly against the wall plate01.

Step 4B Wallplate installation (concrete or brick)
Position the wall plate 01 at your desired height, level the wall plate, and mark the pilot hole locations x2.

Install wall plate 01 using lag bolts A and anchors (not included) with Socket Wrench, NO Electrodrill. Tighten the lag bolts A until they are pulled firmly against the wall plate 01. Tighten the lag A bolts until they are pulled firmly against the wall plate 01.

Step 5 Lift and hang TV with brackets onto the wall bracket
5-1 Remove 2 preassembled screws and washers before hang TV onto the wall bracket and save them for use in to the next step.
5-2 Lift and hang TV assembly onto arm and wall plate.
5-3 Secure the monitor plate to the arm and wall plate with the removed screws and washers from the previous step.

Adjustments
Tilting angle adjustment (+3° / -10°)
Adjust TV to your desired angle then fasten tilting screws with an open-end wrench.
Leveling adjustment
If needed, the TV can be leveled via adjusting the screw with the open-end wrench B or screwdriver.
Switch screen horizontally and vertically
If needed, the TV can be rotated ±90 degrees for switching screen between horizontally and vertically.

Product dimensions:

















