MU0008
INSTALLATION INSTRUCTION

If you have any questions, please contact us.
Safety Caution
Please read this instruction carefully before installation.
If you do not understand these instructions or have doubts about the safety of the installation, assembly or use of this product, please contact us.
- This product is designed for use in wood studs and solid concrete wall.
– DO NOT install into drywall alone. - The wall must be capable of supporting five times the weight of the TV and mount combined.
- Do not apply this product to any purpose not indicated by MOUNTUP.
- Incorrect installation may result in product damage or bodily injury. MOUNTUP shall bear no responsibility for any damage or injury resulted from incorrect installation, incorrect assembly, or misuse.
WARNING: This product contains small items that could be a choking hazard if swallowed.
Before starting assembly, verify all parts are included and undamaged. For parts shortage or damage, please contact us.
Must Check Before Getting Started

CAUTION: DO NOT install into drywall alone.
Installation Tools (Not Included)

Supplied Parts and Hardware

STEP 1 Attach the TV Brackets
1-1 Select TV Screws

1-2 Need Spacer?I Yes, choose the appropriate screws, washers, and spacers for your TV.

II No, just choose the screws, washers.

1-3 Attach the TV Brackets

STEP 2 Attach Wall Plate to Wall
Use Wrench (C) to fasten the Nut (F) tightly.

OPTION A: Wood Stud Installation
![]() | ![]()
|
CAUTION: To avoid potential personal injury or property damage:
All 4 lag bolts A MUST BE firmly tightened to prevent unwanted movement of the wall plate assembly. Ensure the wall plate assembly is securely fastened to the wall before continuing on to the next step.
![]() | Install wall plate using lag bolts and washer with Socket Wrench, NO Electrodrill. |
![]() | CAUTION: Do not use in drywall or wood |
OPTION B: Solid Concrete Wall Installation
![]() | ![]()
|
CAUTION: To avoid potential personal injury or property damage:
All 4 lag bolts A MUST BE firmly tightened to prevent unwanted movement of the wall plate assembly. Ensure the wall plate assembly is securely fastened to the wall before continuing on to the next step.
Install wall plate using lag bolts, washer and anchor with Socket Wrench, NO Electrodrill.
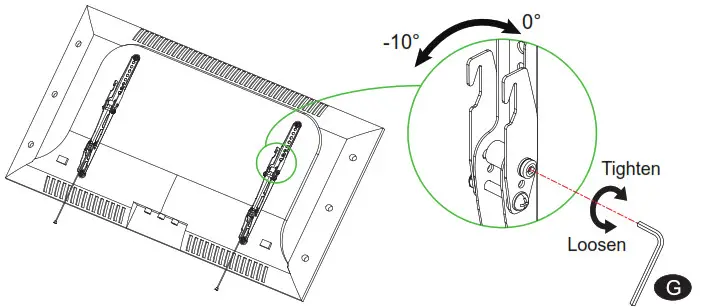
STEP 3 Adjustments
Tilting adjustment (-10°~0°)
Pull brackets to your desired angle then fasten 2 tilting bolts with Allen Key (G).

Option: To keep a TV in a vertical position, please use two M4 screws MA to insert the holes on two brackets respectively (as shown the below image).

STEP 4 Hang and Secure TV to Wall Plate
4-1 Wall Plate Installation Integrity Test
Before hanging TV, please conduct a “wall plate installation integrity test” first.

4-2 Hang and Secure TV to Wall Plate

Takedown the TV from the Mount (If necessary)

Product Dimensions





















